Device for preventing the formation of liquid plugs in a gas collection system or in a non-straight gas well
- Authors: Muktasipov D.R.1, Safiullina E.U.1
-
Affiliations:
- Saint Petersburg Mining University
- Issue: Vol 335, No 10 (2024)
- Pages: 111-119
- Section: Articles
- URL: https://ogarev-online.ru/2500-1019/article/view/271031
- DOI: https://doi.org/10.18799/24131830/2024/10/4474
- ID: 271031
Cite item
Full Text
Abstract
Relevance. Almost all gas fields, both in Russia and in the world, are developed under water-pressure conditions, which means that sooner or later the field operator is faced with the problem of well watering and liquid accumulation at their bottom. The control methods proposed at this stage of development of science and technology and the useful models and inventions applied for this, although they show their effectiveness in removing droplet liquid from the production wellbore, do not contribute to the further advancement of the removed fluid through the system for collecting and preparing products. Because of this fact, a number of problems arise, for example, the formation of local resistance in the form of ice or hydrate plugs, the cause of which is the fluid removed from the wellbore.
Aim. Development of a universal device that can be used both in the production collection and preparation system and inside production wells, capable of injecting produced water into the gas flow in order to prevent the formation of “stagnant zones” of liquid.
Objects. Flooded gas wells, the gas pressure in which is not enough to remove droplet liquid from the wellbore or transport this liquid to the place of product preparation.
Methods. Assessment and analysis of existing devices to prevent the formation of liquid plugs in a gas collection system, identifying their main shortcomings, as well as mathematical modeling of the proposed model, in which these shortcomings are eliminated.
Results and conclusions. The paper introduces a brief description of the problem under study and studies and discusses the main methods of preventing the formation of liquid plugs, used in gas fields both in Russia and in other countries. The authors have proposed the design of a universal device, which is devoid of the main identified disadvantages of analogue devices, and carried out its simplified mathematical calculation.
Full Text
Введение
Современные условия разработки газовых и газоконденсатных месторождений характеризуются значительными трудностями: распространением преимущественно низкопроницаемых коллекторов [1], падением добычи газа и конденсата, выработкой значительной части запасов, трудностями в подборе жидкости глушения с минимальной кольматацией призабойной зоны [2], снижением пластового давления, изношенностью эксплуатационного фонда [3], необходимостью минимизации углеродного следа [4], истощением сырьевой базы Российской Федерации [5]. Так как по мере отбора газа из продуктивного пласта газоводяной контакт (ГВК) поднимается и увеличивается относительная фазовая проницаемость по воде [6], оператор месторождения неизбежно сталкивается с процессом обводнения практически всего фонда газовых скважин [7]. Это значительно усложняет условия эксплуатации, требует значительных затрат для очистки и подготовки попутно добываемой воды [8], удорожает себестоимость добычи и вызывает ряд сопутствующих проблем, связанных с добычей и транспортировкой полезного ископаемого (например, увеличивается вероятность образования газовых гидратов как внутри скважины, так и в системе устьевых трубопроводов [9]). Поэтому в современной промысловой практике известны разнообразные по своей природе способы удаления жидкости с забоя газовых скважин, среди которых [10]:
- продувка скважины в атмосферу или в горизонтальную факельную установку;
- введение газа в затрубное пространство добывающей скважины (газлифт) [11];
- применение концентрических лифтовых колонн (КЛК);
- применение твердых и жидких поверхностно-активных веществ (ПАВ) [12];
- плунжерный лифт [13];
- использование глубинного насоса [14].
Большинство из применяемых способов не раз доказали свою эффективность по выносу капельной жидкости из ствола скважины на разных газовых промыслах по всей территории России [15]. Но перечисленные выше способы лишь доставляют скопившуюся на забое жидкость до устья скважины, которое зачастую не оборудовано специальными устройствами для приема или утилизации попутной воды, поэтому поднимаемая жидкость поступает в систему трубопроводов вместе с добываемым газом и транспортируется до установки комплексной подготовки газа (УКПГ) [16]. В связи с этим возникает ряд трудностей, связанных, например, с обмерзанием внутрипромысловых трубопроводов и манифольдов скважин, мониторинг которых требует высокотехнологичного оборудования и значительных затрат [17]. Это становится возможным из-за того, что зачастую расстояния от устья скважины до УКПГ являются значительными, а напора добываемого газа не хватает для транспортировки всей выносимой жидкости, так как она не диспергирована в потоке добываемого флюида. То же самое можно сказать для непрямолинейного участка газовой скважины, где иногда случается так, что напора газа не хватает для выноса жидкости из ствола скважины [18]. В результате образуются локальные скопления капельной жидкости (застойные зоны), которая в условиях низких температур быстро замерзает с образованием «ледяных пробок» (внутри скважины же вырастает вероятность образования газовых гидратов), препятствующих нормальной разработке газовой залежи (проходное сечение трубопроводов или участка скважины сужается вплоть до полного перекрытия потока). В результате компания должна тратить значительные средства на поиск таких пробок и их устранение [19].
Существующие способы решения проблемы
Для того чтобы предложить рациональное решение существующей проблемы, необходимо провести детальный анализ существующих на данный момент устройств. Укрупненно все современные решения можно поделить на две большие группы: внутрискважинные (хорошо реализуемые именно в вертикальных трубопроводах) и поверхностные (лучше показывают свою эффективность именно в горизонтальных трубопроводах).
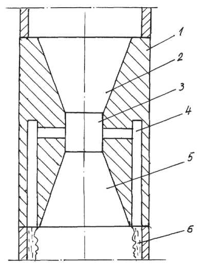
Что касается внутрискважинных устройств, можно сказать, что они не получили широкого распространения. Одним из наиболее известных устройств такого типа является диспергатор для выноса водных скоплений из газовых скважин. Общий вид представлен на рис. 1 [20].
Рис. 1. Диспергатор для выноса водных скоплений из газовых скважин [20] (1 – корпус; 2, 5 – усеченные конусы; 3 – цилиндрическая вставка; 4 – каналы)
Fig. 1. Dispersant for removing water accumulations from gas wells [20] (1 – body; 2, 5 – truncated cones; 3 – cylindrical insert; 4 – channels)
Принцип работы устройства основан на законе Бернулли: в широкой части скорость потока газа ниже, но давление выше, а в цилиндрической вставке – 3, наоборот, скоростной напор газа становится выше с некоторым снижением пьезометрического напора. В результате образуется разность давлений, благодаря которой скопившаяся жидкость по каналам – 4 поступает в цилиндрическую вставку – 3, где происходит впрыскивание. Недостатком данного устройства является низкое качество смешивания жидкости и газа ввиду слабой турбулизации потока. Более того, расположенные по всей окружности каналы для впрыскивания жидкости значительно уменьшают эффективную площадь трубопровода, что приводит к значительным потерям напора газа [21].
Другим не менее известным внутрискважинным устройством является диспергатор в виде кольца с конусообразной поверхностью, который устанавливается каждые 200–250 м внутри основной лифтовой колонны (ОЛК) при эксплуатации скважины по технологии КЛК. Общий вид представлен на рис. 2 [22].
Рис. 2. Диспергатор в виде кольца с конусообразной поверхностью [22] (5 – диспергаторное кольцо; 7 – торец ОЛК; a – ширина кольца; h – высота конуса кольца; D, d – внутренний и внешний диаметры кольца соответственно)
Fig. 2. Dispersant in the form of a ring with a cone-shaped surface [22] (5 – dispersant ring; 7 – MPS end; a – ring width; h – ring cone height; D, d – inner and outer diameters of the ring, respectively)
Принцип работы диспергаторного кольца основан на явлении гидродинамической неустойчивости Рэлея–Тейлора и связанного с ней турбулентного перемешивания. Такое кольцо позволяет вернуть в поток восходящего газа стекающую по стенкам вниз жидкость, тем самым обеспечив ее полное извлечение из ствола скважины. Очевидным недостатком данного устройства является невозможность его применения на горизонтальных участках скважины и трубопроводах, а также значительные потери давления при большой глубине залежи.
Говоря о поверхностных устройствах, наибольшее распространение из них получили устройства вихревого типа (рис. 3, слева [23]), различные варианты миксеров (рис. 3, справа [24]), а также оборудование в виде витиеватой щетки (рис. 4).
Рис. 3. Устройства для преобразования расслоенного потока в дисперсный [23, 24]
Fig. 3. Devices for converting stratified flow into dispersed flow [23, 24]
Рис. 4. Устройство в виде витиеватой щетки [24]
Fig. 4. Device in the form of a rotating brush [24]
Принцип работы всех представленных выше устройств схож: они предназначены для турбулизации потока с целью перемешивания газовой и жидких фаз. Общий недостаток всех турбулизаторов такого типа – большая площадь соприкосновения с потоком добываемого флюида и, как следствие, значительные потери напора на этом участке.
Исходя из анализа существующих решений, можно кратко сформулировать требования, предъявляемые к универсальному устройству для предотвращения формирования жидкостных пробок в системе сбора газа или в непрямолинейной газовой скважине:
1) редлагаемое устройство должно быть применимо на горизонтальных участках скважин и наземных трубопроводах системы сбора газа;
2) устройство должно хорошо турболизировать поток, чтобы обеспечить диспергирование капель жидкости в потоке газа;
3) потери напора на устройстве не должны быть значительными.
Предлагаемое устройство
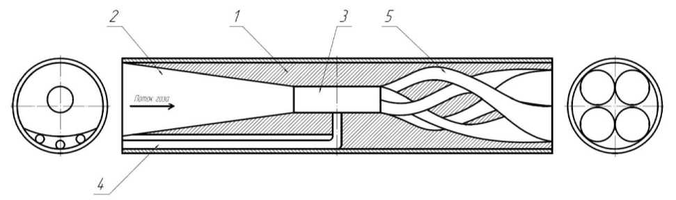
Основываясь на приведенных требованиях, предлагается использовать запатентованное авторами устройство [25], которое представлено на рис. 5.
Рис. 5. Предлагаемое устройство (1 – корпус; 2 – входная часть; 3 – узкая часть; 4 – каналы для впрыскивания жидкости; 5 – турбулизирующие каналы)
Fig. 5. Proposed device (1 – body; 2 – inlet part; 3 – narrow part; 4 – channels for liquid injection; 5 – turbulizing channels)
Устройство работает следующим образом. Корпус устройства – 1 устанавливается вместо участка трубопровода системы сбора газа или как участок горизонтального окончания газовой скважины. Для предотвращения излишних потерь напора рекомендуется принимать длину устройства lу ≥ 5dтр, где dтр – наружный диаметр трубопровода (скважины) [26]. Поток газа из скважины попадает во входную часть – 2. Ее наибольший линейный размер 0,85 выбирается также из соображения минимизации потерь напора газа.
Для описания работы устройства необходимо применить закон Бернулли к данному случаю (потери напора по длине здесь пренебрежимо малы [27], поэтому они не учитываются):
, (1)
где p1 – избыточное давление потока газа во входной части, Па; – скорость газа во входной части, м/с; pц – избыточное давление потока газа в узкой части, Па; – скорость газа в узкой части, м/с; ρ – плотность газа (ввиду малого изменения давления принимается постоянной), кг/м3; ξ – коэффициент местных потерь давления [28].
Согласно этому закону, при движении газа во входной части – 2 его давление уменьшается, а скорость увеличивается. Максимальную скорость и минимальное давление поток газа будет иметь как раз в узкой части – 3. В результате этого образуется некоторая разность давлений р:
. (2)
Эта разность давлений заставит двигаться скопившуюся в трубопроводе (скважине) жидкость по каналам для впрыскивания жидкости – 4, в конце которых эта жидкость инжектируется в поток газа в узкой части – 3 [29]. Каналы для впрыскивания жидкости – 4 расположены в нижней части устройства, так как внутри трубопровода существует гравитационное расслоение потока газа и жидкости. Их количество зависит от суточного объема вынесенной из скважины жидкости (в представленном примере их три).
После этого поток газа вместе с впрыснутой в него жидкостью попадают в турбулизирующие каналы – 5, где происходит их взаимное перемешивание для более надежной диспергации капель жидкости в потоке газа и предотвращения дальнейшего расслоения. Турбулизирующие каналы представляют собой расширяющиеся винтовые трубопроводы, которые в конце соединяются в один поток. В приведенном примере устройство содержит четыре таких турбулизирующих канала. Такое количество каналов обусловлено необходимостью минимизации пульсации трубопроводов в условиях их прокладки на участках с мерзлыми грунтами [30].
После прохождения через представленное устройство поток газа с диспергированной в нем жидкостью доходит до УКПГ, где происходит их разделение.
Далее необходимо провести расчет устройства. Для примера использована скважина с устойчивым выносом жидкости на Ямбургском нефтегазоконденсатном месторождении [31]. Подразумевается установка устройства в качестве участка газосборного коллектора (ГСК) на кусте скважин. Исходные данные: давление в ГСК – pГСК = 2 Мпа; TГСК = 273 К; Tкр = 190,49 К; pкр = 4,572 Мпа; ρг = 0,677 кг/м3, ρв = 1017 кг/м3; dГСК = 0,2 м, Qг = 4160 м3/ч, Qв = 20 м3/сут.
Суть расчета сводится к вычислению разности давлений р по формуле (2), чтобы оценить эффективность инжекции жидкости в поток газа. Для этого необходимо рассчитать давление в узкой части – 3, что можно сделать при помощи уравнения (1). Скорость газа в трубопроводе определяется по формуле [32]:
, (3)
где u – скорость потока, м/с; Q – дебит газа, м3/ч; T – температура газа, К; z – коэффициент сверхсжимаемости газа; Р – давление газа, МПа; d – внутренний диаметр трубопровода, мм.
Коэффициент сверхсжимаемости газа определяется по зависимости Платонова–Гуревича [33]:
,
где Tпр – приведенная температура,
;
– приведенное давление,
Таким образом, скорость в ГСК потока газа равна 1,78 м/с. Известно, что максимально допустимая скорость газа в газопроводах составляет 25 м/с [34]. Зная этот параметр и приняв его за максимально допустимую скорость в узкой части – 3, при помощи формулы (3) можно рассчитать диаметр узкой части – 3. Он равен =60 мм.
Значение коэффициента местных сопротивлений ξ выбирается исходя из рекомендаций, основанных на изменении диаметров сечений и плавности их изменения [35], и определяется ξ = 0,1.
Плотность газа рассчитывается через уравнения состояния реального газа. При заданных термобарических условиях она равна = 12,631 кг/м3.
Подставляя имеющиеся значения в уравнение Бернулли, можно найти давление в узкой части – 3:
.
Имеющаяся разница давлений:
.
Применив же уравнение Бернулли к скопившейся жидкости, можно рассчитать, с какой скоростью она будет двигаться по каналам всасывания – 4, и, как следствие, какой расход будет через эти каналы. Это уравнение запишется в виде (потерями напора на местное сопротивление в каналах всасывания – 4 можно пренебречь ввиду малой величины):
,
где hдл – потери напора по длине, м; uв – скорость жидкости в узкой части – 3, м/с.
Пропуская промежуточные вычисления, рассчитывается скорость жидкости в узкой части – 3:
.
Тогда суточный расход воды через один канал всасывания жидкости:
Тогда три канала всасывания жидкости способны инжектировать:
.
Таким образом, предлагаемое устройство способно инжектировать 25,53 м3/сут выносимой жидкости в сутки, что больше заданного значения суточного дебита по жидкости, а значит оно работает эффективно.
Заключение
Проблема обводнения газовых скважин наблюдается повсеместно, поэтому разрабатывается все больше способов освобождения ствола газовой скважины от пластовой жидкости. Большинство из них действительно эффективны и способны продлить жизнь скважине, позволяя выносить капельную жидкость с их забоя. Но в то же время практически ни один из существующих способов не учитывает возможность дальнейшего продвижения вынесенной жидкости по системе сбора и подготовки продукции, из-за чего возникает ряд трудностей при эксплуатации газовых промыслов.
В данной работе предлагается применение универсального устройства для предотвращения формирования жидкостных пробок в системе сбора газа или в непрямолинейной газовой скважине, которое дополняет решение проблемы эксплуатации обводняющихся газовых скважин. Использование предлагаемого устройства с любым способом освобождения ствола скважины от скопившейся жидкости представляет собой комплексный подход в решении рассматриваемой проблемы.
About the authors
Damir R. Muktasipov
Saint Petersburg Mining University
Author for correspondence.
Email: chuxarev96@mail.ru
Student
Russian Federation, Saint PetersburgElena U. Safiullina
Saint Petersburg Mining University
Email: safiullinaeu@yandex.com
Cand. Sc., Associate Professor
Russian Federation, Saint PetersburgReferences
- Syah B.R., Alizadeh S., Nurgalieva K., Grimaldo J., Nasution M. A laboratory approach to measure enhanced gas recovery from a tight gas reservoir during supercritical carbon dioxide injection. Sustainability, 2021, vol. 13, pp. 1–14. doi: 10.3390/su132111606.
- Islamov S., Bondarenko A., Korobov G., Podoprigora D. Complex algorithm for developing effective kill fluids for oil and gas condensate reservoirs. International Journal of Civil Engineering and Technology, 2019, vol. 10, pp. 2697–2713. DOI: http://www.iaeme.com/ijciet/issues.asp?JType=IJCIET&VType=10&IType=01.
- Gasumov R.A., Minchenko Yu.S., Gasumov E.R. Development of technological solutions for reliable killing of wells by temporarily blocking the productive formation in ANPD conditions (using the example of Cenomanian gas deposits). Journal of Mining Institute, 2022, vol. 258, pp. 895–905. (In Russ.) DOI: https://doi.org/10.31897/PMI.2022.99.
- Buslaev G., Morenov V., Konyaev Y., Kraslawski A. Reduction of carbon footprint of the production and field transport of high-viscosity oils in the arctic region. Chemical Engineering and Processing – Process Intensification, 2021, vol. 159, pp. 1–26. doi: 10.1016/j.cep.2020.108189.
- Bosikov I., Maier A. Comprehensive assessment and analysis of the oil and gas potential of meso-cenozoic sediments in the north Caucasus. Journal of Mining Institute, 2021, vol. 251, pp. 648–657. (In Russ.) doi: 10.31897/PMI.2021.5.4.
- Akbarifard M.G., Azdarpour A., Aboosadi Z.A., Honarvar B., Nabipour M. Investigation of the origins of rapid gas-water contact rise and excess water production in naturally fractured reservoirs: a case study. Energy Sources, Part A: Recovery, Utilization, and Environmental Effects, 2021, pp. 1–12. doi: 10.1080/15567036.2021.1912854.
- Sizova E.M. Reasons for water flooding of gas wells. Questions of science and education, 2017, vol. 1, pp. 23–24. (In Russ.) Available at: https://www.elibrary.ru/item.asp?id=29238324 (accessed: 8 October 2023).
- Savenok O., Povarova L., Berezovsky D. Prospects for the use of physico-chemical and mathematical modeling for the development of highly efficient integrated technology for the treatment and preparation of produced waters. Ecology and Industry of Russia, 2019, vol. 23, pp. 66–71. (In Russ.) DOI: https://doi.org/10.18412/1816-0395-2019-3-66-71.
- Gizatullin R., Dvoynikov M., Romanova N., Nikitin V. Drilling in gas hydrates: managing gas appearance risks. Energies, 2023, vol. 16, pp. 1–13. (In Russ.) doi: 10.3390/en16052387.
- Lee J. Operation of flooded gas wells. Technological solutions for removing fluid from wells. Translation from English. Moscow, Premium Engineering LLC Publ., 2008. 384 p. (In Russ.)
- Nguyen V.T., Aleksandrov A., Rogachev M. An extensive solution to prevent wax deposition formation in gas-lift wells. Journal of Applied Engineering Science, 2022, vol. 20, pp. 1–12. doi: 10.5937/jaes0-31307. doi: 10.5937/jaes0-31307.
- Van't Westende J., Ajani A., Kelkar M. The use of surfactants for gas well deliquification: a comparison of research projects and developed models. Paper presented at the 18th International Conference on Multiphase Production Technology. Cannes, France, June 2017. pp. 161–182.
- Beauregard E., Paul L. Introduction to plunger lift: applications, advantages and limitations. Paper presented at the SPE Rocky Mountain Regional Meeting. Billings, Montana, May 1982. DOI: https://doi.org/10.2118/10882-MS.
- Amani M. Hydraulic gas pump and gas well de-watering system: two new artificial-lift systems for oil and gas wells. Paper presented at the SPE Production Operations Symposium. Oklahoma City, Oklahoma, March 1993. DOI: https://doi.org/10.2118/25422-MS.
- Hutlas E.J., William R.G. A practical approach to removing gas well liquids. J Pet Technol., 1972, vol. 24, pp. 916–922. DOI: https://doi.org/10.2118/3473-PA.
- Kolovertnov G.Yu. Automation of the process of removing liquid from gas wells and plumes. Territory Neftegaz, 2015, vol. 9, pp. 70–76. (In Russ.) Available at: https://cyberleninka.ru/article/n/avtomatizatsiya-protsessa-udaleniya-zhidkosti-iz-gazovyh-skvazhin-i-shleyfov/viewer (accessed: 10 October 2023).
- Shammazov I., Dzhemilev E., Sidorkin D. Improving the method of replacing the defective sections of main oil and gas pipelines using laser scanning data. Applied Sciences (Switzerland), 2023, vol. 13, pp. 1–26. doi: 10.3390/app13010048.
- Belfroid S., Schiferli W., Alberts G., Veeken C., Biezen E. Prediction onset and dynamic behaviour of liquid loading gas wells. Paper presented at the SPE Annual Technical Conference and Exhibition. Denver, Colorado, USA, September 2008. DOI: https://doi.org/10.2118/115567-MS.
- Yarkeeva N.R. Analysis of pilot tests to combat hydrate formations using the example of a gas condensate field in the Republic of Kazakhstan. Oil and Gas Business, 2019, vol. 17, pp. 72–79. doi: 10.17122/ngdelo-2019-4-72-79.
- Gumerov A.G. Dispersant for removing water accumulations from gas wells. Patent RF, no. 66413, 2007. (In Russ.)
- Abdulameer L.S., Dzhumagulova N., Algretawee H., Zhuravleva L. Comparison between Hazen–Williams and Darcy–Weisbach equations to calculate head loss through conveyancing treated wastewater in Kerbala City, Iraq. Eastern-European Journal of Enterprise Technologies, 2022, vol. 1, pp. 36–43. DOI: https://doi.org/10.15587/1729-4061.2022.251385.
- Sarkarov R.A., Seleznev V.V. Method of operating a water-flooded gas or gas condensate well. Patent RF, no. 270843, 2018. (In Russ.)
- Cheng fluid system. Flow conditioning technology: CRV & LAD. Available at: http://www.chengfluid.com/flow_conditioner (accessed 8 October 2023).
- StaMIXco. Plug flow reactors. Available at: https://www.stamixco-usa.com/plug-flow-reactors (accessed 8 October 2023).
- Muktasipov D.R. Device for preventing the formation of liquid plugs. Patent RF, no. 221928, 2023. (In Russ.)
- Nikolaev A.K., Zaripova N.А. Substantiation of analytical dependences for hydraulic calculation of high-viscosity oil transportation. Journal of Mining Institute, 2021, vol. 252, pp. 885–895. doi: 10.31897/PMI.2021.6.10.
- Urazakov K.R., Belozerov V.V., Latypov B.M. Study of the dynamics for gas accumulation in the annulus of production wells. Journal of Mining Institute, 2021, vol. 250, pp. 606–614. doi: 10.31897/PMI.2021.4.14.
- Zmrhal V., Schwarzer J. Numerical simulation of local loss coefficients of ventilation duct fittings. Eleventh International IBPSA Conference. Glasgow, Scotland, July 27–30, 2009. DOI: https://www.researchgate.net/publication/266893943
- Drozdov А.N., Gorelkina Е.I. Development of a pump-ejector system for SWAG injection into reservoir using associated petroleum gas from the annulus space of production wells. Journal of Mining Institute, 2022, vol. 254, pp. 191–201. doi: 10.31897/PMI.2022.34
- Shammazov I., Batyrov A., Sidorkin D., Nguyen V. T. Study of the effect of cutting frozen soils on the supports of above-ground trunk pipelines. Applied Sciences, 2023, vol. 13, pp. 1–18. doi: 10.3390/app13053139.
- Kuzmuk L.G. On the peculiarities of watering wells in the peripheral areas of the Cenomanian gas deposit of the Yamburg field during its operation. Scientific and technical collection “News of Gas Science”, 2010, vol. 2, pp. 68–75. (In Russ.)
- SS R 55472. Natural gas distribution networks. Moscow, Standartinform Publ., 2019. 32 p. (In Russ.)
- Malyshev V.L. Analysis of the effectiveness of using various methods for determining the supercompressibility coefficient of natural gas. XII All-Russian Congress on fundamental problems of theoretical and applied mechanics. Collection of works in 4 vol. Ufa, August 19–24, 2019. Ufa, Bashkir State University Publ., 2019. pp. 1061–1062. (In Russ.)
- Kovalev B.K. Determination of the throughput capacity of GDS pipelines. Bulletin of Gazprommash, 2023, vol. 5. (In Russ.) Available at: http://www.gazprommash.ru/factory/vestnik/vestnik5/vestnik5_st12/ (accessed: 10 November 2023).
- Fayziev Z.Kh. Pressure losses in Venturi pipes, their rational forms and coefficients of local resistance. AIP Conf. Proc, 2022, vol. 2762, pp. 1–7. DOI: https://doi.org/10.1063/5.0128505.
Supplementary files






