Технология плазменного разрядного синтеза нитрит-ионов для очистки сточных вод от водорастворимых соединений реакционного азота
- Авторы: Цхе А.А.1, Мостовщиков А.В.2, Пилипец Н.В.2, Цхе А.А.3
-
Учреждения:
- ООО «Инжиниринговый химико-технологический центр»
- Национальный исследовательский Томский политехнический университет
- Томский государственный архитектурно-строительный университет
- Выпуск: Том 335, № 5 (2024)
- Страницы: 194-201
- Раздел: Статьи
- URL: https://ogarev-online.ru/2500-1019/article/view/263285
- DOI: https://doi.org/10.18799/24131830/2024/5/4634
- ID: 263285
Цитировать
Полный текст
Аннотация
В настоящее время критическая ситуация по содержанию водорастворимых соединений азота наблюдается в водоемах большинства стран. В мировой практике принято считать, что наиболее перспективным методом удаления соединений азота из сточных вод является анаммокс-технология, основанная на биохимическом процессе окисления аммония нитритом в бескислородных условиях. В общем виде в ходе бактериального анаммокса происходит рекомбинация нитрит-иона и иона аммония, в результате которой они превращаются в молекулярный азот. Однако анаммокс-бактерии отличаются низкой скоростью роста и требуют специфических условий выращивания. В качестве альтернативы бактериальной анаммокс-технологии предложена технология плазменного СВЧ-разрядного синтеза нитрит-ионов NO2– из воздуха, осуществляемого в плазме СВЧ-разряда в плазмотроне магнетронного типа для очистки сточных вод от водорастворимых соединений реакционного азота. Уникальные возможности неравновесной низкотемпературной плазмы, как среды для протекания химических реакций, и, в частности, плазмы СВЧ-разряда, являются основой новых перспективных технологий. В условиях турбулентности СВЧ-разряда ионизированные молекулы азота N2+ и кислорода О2–, приблизившись друг к другу, взаимодействуют, запуская лавинообразный каскад реакций с образованием двух молекул монооксида азота NО, что является пусковым для перехода из электронно-ударной стадии плазмохимических реакций в стадию лавинообразного фотолитического синтеза оксидов азота NОх. Исходя из результатов изучения концентрации конечных продуктов плазмохимических реакций в зоне СВЧ-разряда, преобладающее значение имеет синтез нитрит-ионов NO2–. Проведены экспериментальные исследования воздействия полученного на выходе плазмотрона потока нитрит-ионов NO2– на модельный раствор гидрата аммиака (NH4OH) в концентрации 150 мг/л. Наиболее оптимальным явилось время воздействия ионизированного газа на модельный раствор в течение 5 минут, эффективность удаления ионов аммония при этом составила 99,83 %. Таким образом, технология плазменного СВЧ-разрядного синтеза нитрит-ионов NO2– может являться альтернативой биологической анаммокс-технологии и отличается простотой технической реализации.
Ключевые слова
Полный текст
Азот является основным компонентом земной атмосферы, а анаммокс – один из ключевых микробных процессов в его круговороте.
Проблема загрязнения рек и озёр водорастворимыми соединениями реакционного азота носит глобальный характер. Критическая ситуация по превышению их концентрации наблюдается практически во всех водоёмах развитых стран [1]. Известно [2, 3], что основными источниками загрязнения гидросферы водорастворимыми соединениями реакционного азота являются хозяйственно-бытовые и промышленные стоки, поверхностные и внутрипочвенные смывы азотных удобрений, а также разложение отмерших организмов и органики растительного происхождения. Конечным продуктом природного катаболизма азотсодержащих соединений является химически устойчивый гидрат аммиака NH3·H2O (NH4OH), который в растворе обладает способностью диссоциировать на ион аммония NH4+ и гидроксильную группу ОН–, процесс его образования находится в соответствии с реакцией (1):
NH3+H2O > NH3H2O>NH4++OH–. (1)
Накопление иона аммония NH4+ наносит значительный вред окружающей среде и здоровью людей.
Мировая практика очистки сточных вод от органических загрязнений и загрязнений воды от водорастворимых соединений реакционного азота, в частности, представлена методикой биологической очистки, в основу которой положен способ отстаивания загрязнённых стоков в резервуарах-отстойниках, где посредством добавки коагулянтов и других реагентов связываются и осаждаются находящиеся в стоках вредные примеси. Это длительный и энергозатратный процесс, который не может обеспечить в короткие сроки качественную очистку больших объёмов загрязнённых стоков. Поэтому с конца XX в. приобретает популярность более прогрессивный метод очистки сточных вод от водорастворимых соединений реакционного азота – метод бактериального анаммокса [4, 5], основанный на окислении анаэробными бактериями ионов аммиака, где главную роль играют анаммокс-бактерии, относящиеся к типу планктомицетов. Следует отметить, что эти бактерии были случайно открыты в 90-е гг. прошлого века [6]. Открытие анаммокс-бактерий запустило процесс развития новых технологий удаления азота из сточных вод, характеризующихся высоким содержанием аммония. Использование процесса анаммокс при очистке фильтрационных вод полигонов твердых бытовых отходов, иловой воды метантенков, стоков пищевой промышленности позволяет исключить стадию денитрификации и значительно уменьшает стоимость аэробной нитрификации. Технологический аспект функционирования анаммокс-бактерий к настоящему времени изучен хорошо и является достаточно эффективным способом борьбы с реакционным азотом в сточных водах, что и позволило на его основе реализовать различные технологии удаления азота из стоков с применением анаммокс-процесса, а именно Sharon-anammox, Canon, Deamox и т. д. В его основе лежит биохимический процесс. Анаэробные анаммокс-бактерии получают энергию за счет анаэробного окисления аммония нитрит-анионом NO2–, вырабатываемым аммоксосомой – специализированной бактериальной органеллой, имеющейся только у этих бактерий. В результате реакционный азот, взятый из внешнего субстрата, связывается нитрит-ионом биохимического генезиса в молекулы химически инертного молекулярного азота по обобщённой реакции (2):
NH4++NO2−→N2+2H2O. (2)
При более детальном рассмотрении бактериального анаммокса можно видеть, что он состоит из двух раздельных процессов.
Первый заключается в нитрификации анаммокс-бактериями, окисляющими аммиак, половины исходного аммония до нитрита (3):
2NH4++3O2→2NO2−+4H++2H2O. (3)
Далее остатки аммония и нитриты в ходе бактериального анаммокса, осуществляемого второй группой бактерий, превращаются в нитрит и молекулярный азот (4):
NH4++NO2−→N2+2H2O. (4)
Оба процесса реализуются бактериями двух разных групп в специальных тэнках-реакторах. Выращивание гранулярной биомассы или биоплёнки из бактерий для анаммокса требует специфических условий (температура, давление, газовый состав и т. д.), при несоблюдении которых бактерии погибают. Анаммокс-бактерии отличаются поразительно низкой скоростью роста: время удвоения численности составляет от 7 до 22 дней. Поэтому достаточный для анаммокса объём бактериальной культуры выращивается как минимум на протяжении 20 дней [7–9]. Таким образом, целю является разработка научных основ и экспериментальная проверка возможности плазменного разрядного синтеза нитрит-ионов для очистки сточных вод от водорастворимых соединений реакционного азота.
Экспериментальная часть
Учитывая, что бактериальный анаммокс функционирует исключительно благодаря биогенному синтезу нитрит-ионов, научный коллектив Томского политехнического университета разработал альтернативный метод технического синтеза нитрит-ионов NO2– из воздуха, осуществляемый в плазме СВЧ-разряда в плазмотроне магнетронного типа [10], который способен полностью заменить функцию анаммокс-бактерий по генерации нитрит-ионов.
В основе предлагаемого метода лежит механизм синтеза оксидов азота NOx в плазме СВЧ-разряда, где плазмообразующим газом является воздух. Химический состав воздуха: N2 78 %, О2 21 %, другие газы 1 %.
Процесс генерации нитрит-ионов NO2– начинается с образования в разрядной камере плазмотрона электронно-ударных ионов. При некотором статистическом допущении одна из ста молекул азота, проходящего через плазмотрон воздуха, не возбуждается как остальные 99 молекул, а ионизируется с образованием иона N2+. Одновременно с этим в плазме СВЧ-разряда существует высокая вероятность образования из воздуха и ионизированной молекулы кислорода (5) [11, 12]:
О2+е→О2–. (5)
Тогда в условиях турбулентности СВЧ-разряда эти ионы, приблизившись друг к другу, взаимодействуют, запуская лавинообразный каскад реакций, в основе которого лежит контакт этих единичных ионов: N2+ и О2–, в результате образуются две молекулы монооксида азота NО, что является пусковым для перехода из электронно-ударной стадии плазмохимических реакций в стадию лавинообразного фотолитического синтеза оксидов азота NОх [13–17].
Единичные молекулы монооксида азота NO окисляются возбуждённым кислородом О2*, образуя молекулы диоксида азота NO2. После этого синтез оксидов азота в плазме СВЧ-разряда мог бы закончиться, но, так как возбуждённые электроны в плазме СВЧ-разряда являются вторичными, а переменное электромагнитное поле первичным плазмоформирующим фактором, основным энергоносителем в плазме всегда будет электромагнитное поле с заданными параметрами, которое определяется энергией дискретных частиц плазмы фотонов-квантов. Следовательно, основная функция по образованию и преобразованию вещества в плазме принадлежит именно фотонам-квантам [18, 19]. Таким образом, вновь образованные в результате ударной ионизации ионы азота и кислорода, объединившиеся в единичное количество молекул диоксида азота NO2, начнут выполнять функцию «затравочных» ионов в стадии фотолизных лавинообразных реакций синтеза оксидов азота NOx. Объясняется это тем, что молекулы диоксида азота NO2 по своей физической природе являются активными сенсибилизаторами (S) (накопителями) энергии электромагнитного излучения. Они в широком частотном диапазоне поглощают кванты электромагнитного излучения, которые с избытком генерируют возбуждённые электромагнитным излучением метастабильные молекулы и атомы плазмообразующего воздуха.
Молекулы диоксида азота NO2* генерируют кванты электромагнитного излучения со строго определённой длиной волны – 260 нм, которые избирательно поглощаются молекулами триплетного кислорода О2, в результате чего изменяется их электронная конфигурация с образованием синглетного кислорода 1О2, обладающего мощнейшим реакционным потенциалом:
NO2исх+hv=NO2*NO2*+3О2=NO2исх+1О2; NO2исх+hv=NO2*NO2*+3O2=NO2исх+1O2; NO2исх+hv=NO2*NO2*+3O2=NO2исх+1O2.
Из приведённых выше физико-химических реакций видно, что одна и та же молекула диоксида азота NO2исх последовательно участвует в образовании трёх молекул синглетного кислорода 1О2. А так как концентрация высокоэнергетических квантов в плазме СВЧ-разряда чрезвычайно высокая и скорость плазмохимических реакций измеряется долями наносекунд, то те единичные молекулы NO2, которые образовались на начальном этапе плазмохимических реакций, практически мгновенно переводят весь находящийся в объёме разрядника плазмотрона триплетный кислород 3О2 в его синглетную модификацию 1О2, который мгновенно вступает в реакцию с молекулами присутствующего в зоне СВЧ-разряда метастабильного азота N2* [20–23].
Таким образом, реакция перевода триплетного кислорода 3О2 квантами возбуждённых молекул диоксида азота NO2* в молекулы синглетного кислорода 1О2 приобретает лавинообразный характер, и нарастание этого процесса ограничивается только скоростью протока исходного молекулярного кислорода через плазмотрон и его концентрацией в плазмообразующем газе. Так как скорость плазмохимических реакций в зоне СВЧ-разряда (в плазмотроне) не превышает наносекунды, то теоретическая продуктивность реакций фотолитического синтеза синглетного кислорода в плазме СВЧ-разряда очень высокая. В результате в плазме СВЧ-разряда появляется большое количество синглетного кислорода 1О2, и после начальной электронно-ударной стадии ионизации небольшого числа исходных молекул кислорода и азота процесс фотолитического синтеза диоксидов азота NOx приобретает лавинообразный характер [24, 25].
Исходя из результатов изучения концентрации конечных продуктов плазмохимических реакций в зоне СВЧ-разряда, представленных на рис. 1, преобладающее значение имеет синтез нитрит-ионов NO2–. Их концентрация на порядок превышает концентрацию образующихся нитрат-ионов NO3–. Следует отметить, что в результате диссоциации в зоне СВЧ-разряда молекулярного азота N2 (не более 1 %) происходит и синтез аммиака NH3, но ввиду того, что его концентрация чрезвычайно низкая, процесс носит побочный характер. Также в результате диссоциации в зоне СВЧ-разряда незначительного количества молекулярного кислорода О2 образуется озон О3, но его концентрация настолько мала, что присутствие озона в продуктах плазмохимических реакций носит следовой характер [26–29].
Рис. 1. Скорость нарастания концентрации нитрит-ионов в плазмообразующем газе в зависимости от разогрева плазмотрона
Fig. 1. Rate of increase in concentration of nitrite ions in the plasma-forming gas depending on plasmatron heating
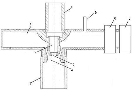
Основным аппаратом экспериментальной установки явился СВЧ-плазмотрон, спроектированный и сконструированный в Лаборатории «Радиационные и плазменные технологии» НИ ТПУ. Схема СВЧ-плазмотрона представлена на рис. 2 [10].
Рис. 2. Схема СВЧ-плазмотрона: 1 – прямоугольный волновод; 2 – внутренний проводник коаксиальной линии; 3 – внешний проводник коаксиальной линии; 4 – разрядная камера; 5 – трубопровод; 6 – сопло; 7 – магнетрон; 8 – циркулятор; 9 – патрубок
Fig. 2. Microwave plasmatron circuit: 1 is the rectangular waveguide; 2 is the inner conductor of a coaxial line; 3 is the outer conductor of a coaxial line; 4 is the discharge chamber; 5 is the pipeline; 6 is the nozzle; 7 is the magnetron; 8 is the circulator; 9 is the branch pipe
Экспериментальная установка работает следующим образом. В разрядной камере – 4 включается система инициирования СВЧ-разряда. По трубопроводу – 5 через сопло – 6 в разрядную камеру подается воздух и включается магнетрон. По волноводу – 1 через коаксиально-волноводный переход СВЧ-энергия от магнетрона подается в разрядную камеру. В зоне сопла – 6 из-за падающей и отраженной электромагнитных волн происходит увеличение напряженности электрического поля до пробивного значения. В результате зажигается СВЧ-разряд в атмосфере воздуха и образуется неравновесная низкотемпературная плазма [10].
В качестве модельного раствора был выбран водный раствор гидрата аммиака (NH4OH) в концентрации 150 мг/л как пример основной азотсодержащей примеси в сточных водах. Плазмообразующий газ – воздух.
Один литр модельного раствора в течение 1, 3, 5, 10 минут барботировали полученным на выходе плазмотрона потоком нитрит-ионов NO2–. Усреднённая концентрация доставляемых в модельный раствор нитрит-ионов составила 50 мг в минуту.
Результаты эксперимента представлены в таблице и на рис. 3.
Таблица. Изменение концентрации гидрата аммиака после взаимодействия с ионизированным газом
Table. Change in ammonia hydrate concentration after interaction with ionized gas
Исходная концентрация, мг/л Initial concentration, mg/L | Концентрация после барботирования ионизированным газом, мг/л Concentration after bubbling with ionized gas, mg/L | |||
1 мин/min | 3 мин/min | 5 мин/min | 10 мин/min | |
150 | 117, 6 | 51,1 | 1,1 | 0,3 |
Рис. 3. Результаты взаимодействия исследуемого раствора с ионизированным газом в течение 1, 3, 5, 10 минут
Fig. 3. Results of the test solution interaction with ionized gas within 1, 3, 5, 10 minutes
Исходя из результатов эксперимента, наиболее оптимальным явилось воздействие ионизированного газа на модельный раствор в течение 5 минут, в дальнейшем, при увеличении времени контакта раствора с нитрит-ионами, наблюдалось незначительное снижение концентрации ионов аммония. Эффективность удаления ионов аммония составила 99,83 %.
Заключение
Таким образом, эффективность удаления ионов аммония обусловлена генерацией ионизированных нитрит-ионов в плазме СВЧ-разряда, которые нейтрализуют ионы аммония в воде по реакции:
NH4++NO2−→N2+2H2O.
Основой биологической анаммокс-технологии является бактериальный синтез нитрит-иона NO2–. Для этого требуется специальное оборудование и крайне специфические условия при выращивании бактериальной массы. Длительные сроки и непредсказуемость результатов процесса не создают предпосылок для широкого применения такой технологии, а значит, не решают проблемы устранения водорастворимых соединений азота в водоёмах.
Разработанная и апробированная технология плазменного СВЧ-разрядного синтеза нитрит-ионов NO2–, которая ввиду простоты конструкции и эксплуатации лишена этих недостатков, является альтернативой этим процессам.
Об авторах
Анна Александровна Цхе
ООО «Инжиниринговый химико-технологический центр»
Автор, ответственный за переписку.
Email: tskhe@ect-center.com
помощник директора
Россия, г. ТомскАндрей Владимирович Мостовщиков
Национальный исследовательский Томский политехнический университет
Email: pasembellum@mail.ru
ORCID iD: 0000-0001-6401-9243
доктор технических наук, профессор отделения химической инженерии
Россия, 634050, г. Томск, пр. Ленина, 30Наталья Викторовна Пилипец
Национальный исследовательский Томский политехнический университет
Email: chemy@tpu.ru
кандидат технических наук, заведующая лабораторией НПЛ «Чистая вода»
Россия, 634050, г. Томск, пр. Ленина, 30Александр Алексеевич Цхе
Томский государственный архитектурно-строительный университет
Email: pktb23@mail.ru
кандидат технических наук, доцент кафедры теплогазоснабжения и инженерных систем в строительстве
Россия, г. Томск, пл. Соляная, 2Список литературы
- Ahmed J., Thakur A., Goyal A. Biological treatment of industrial wastewater // The Royal Society of Chemistry. – 2022. – P. 1–14.
- Кондратьева Л.M. Экологический риск загрязнения водных экосистем / под ред. К.П. Караванова. – Владивосток: Дальнаука, 2005. – 299 с.
- Analysis of the content of nitrogen-containing compounds in waste and surface waters in the urbanized territories of the Kaluga region / K. Gorbunov, A.Yu. Loginova, N.A. Silaeva, S.A. Kusacheva, M.E. Safronova // AIP Conference Proceedings. – 2022. – Vol. 2647. – № 1. doi: 10.1063/5.0106100.
- Candidatus «Jettenia moscovienalis» sp.nov. – новый вид бактерий, осуществляющих анаэробное окисление аммония / Ю.А. Николаев, М.Н. Козлов, М.В. Кевбрина, А.Г. Дорофеев, Н.В. Пименов, А.Ю. Каллистова, В.А. Грачев, Е.А. Казакова, А.В. Жарков, Б.Б. Кузнецов, Е.О. Патутина, Б.К. Бумажкин // Микробиология. – 2015. – Т. 84. – № 2. – С. 236–243.
- Cho S., Kambey C., Nguyen V. Performance of anammox processes for wastewater treatment: a critical review on effects of operational conditions and environmental stresses // Water. – 2019. doi: 10.3390/w12010020.
- Nitrogen removal by a ninritation-anammox bioreactor at low temperature / Z. Hu, T. Lotti, M. de Kreuk, R. Kleerebezem, M. van Loosdrecht, J. Kruit, M.S. Jetten, B. Kartal // Appl. Environ. Microbiol. – 2013. – Vol. 79. – № 8. – P. 2807–2812. doi: 10.1128/AEM.03987-12.
- Внесение экзогенного активного ила как способ повышения эффективности удаления азота в процессе Анаммокс / Н.В. Пименов, Ю.А. Николаев, А.Г. Дорофеев, В.А. Грачев, А.Ю. Каллистова, Т.А. Канапацкий, Ю.В. Литти, Е.В. Груздев, Ш.А. Бегматов, Н.В. Равин, А.В. Марданов. // Микробиология. – 2022. – Т. 91. – № 4. – С. 410–418.
- Anammox bacteria enrichment and characterization from municipal activated sludge / J.C. Araujo, A.C. Campos, M.M. Correa, E.C. Silva, M.H. Matte, G.R. Matte, M. von Sperling, C.A. Chernicharo // Water Science and Technology. – 2011. – Vol. 64. – № 7. – P. 1428–1434.
- Инновационная энергоэффективная и ресурсосберегающая технология очистки сточных вод от аммония в анаэробно-аноксидных условиях / Ю.А. Николаев, М.Н. Козлов, А.М. Гаврилин, М.В. Кевбрина, Н.В. Пименов, А.Г. Дорофеев, А.М. Агарев, А.Ю. Каллистова // Водоснабжение и санитарная техника. – 2016. – № 10. – С. 30–35.
- Деструкция органических соединений в газовой и жидкой средах в плазме СВЧ-разряда / А.Г. Жерлицын, В.П. Шиян, Л.Н. Шиян, С.О. Магомадова // Известия Томского политехнического университета. Инжиниринг георесурсов. – 2015. – Т. 326. – № 10. – С. 65–71.
- Животов В.К, Русанов В.Д., Фридман А.А. Химия плазмы / под ред. Б.М. Смирнова. – М.: Энергоатомиздат, 1984. – № 11. – 216 с.
- Быков Ю.В. Диссоциация кислорода и образование озона в самостоятельном СВЧ-разряде // Химия высоких энергий. – 1984. – Т. 18. – № 4. – С. 347–351.
- Глинка Н.Л. Общая химия / под ред. А.И. Ермакова. – М.: Интеграл-Пресс, 2003. – 728 с.
- Messerle V.E., Ustimenko A.B. Plasma // Encyclopedia of Plasma Technology / Ed. by J. Leon Shohet. – Boca Raton: CRC Press, 2017. – P. 269–283.
- Зарин A.C., Кузовников A.A., Шибкое В.М. Свободно локализованный СВЧ-разряд в воздухе. – М.: Нефть и газ, 1996. – 203 с.
- Крапивина С.А. Плазмохимические технологические процессы. – JI.: Химия, 1981. – 248 с.
- Русанов В.Д., Фридман А.А. Физика химически активной плазмы. – М.: Наука, 1984. – 415 с.
- Энциклопедия низкотемпературной плазмы / под ред. Ю.А. Лебедева. – М.: ЯНУС, 2005. – Т. VIII. – 576 с.
- Основы физических процессов в плазме и плазменных установках / С.К. Жданов, В.А. Курнаев, М.К. Романовский, И.В. Цветков / под ред. В.А. Курнаева. – М: МИФИ, 2007. – 368 с.
- Identification of mechanisms for decomposition of air pollutants by non-thermal plasma processing / В. Penetrante, M.C. Hsiao, J.N. Bardyless, B.T. Merrit, G.E. Vogtlin, A. Kuthi, C.P. Burkhart, J.R. Bayless // Plasma Sources Sci. Technol. – 1997. – Vol. 6. – P. 251–259.
- Pulsed microwave discharge at atmospheric pressure for NOx decomposition / M. Baeva, H. Gier, A. Pott, J. Uhlenbusch, J. Hoschele, J. Steinwandel // Plasma Sources Sci. Technol. – 2002. – Vol. 11. – P. 1–9.
- Non-thermal plasma remediation of SO2/NO using a dielectric-barrier discharge / W. Sun, B. Pashai, S.K. Dhali, F.I. Honea // Appl. Phys. – 1996. – Vol. 79. – P. 3438–3444.
- Gordiets B., Ricard A. Production of N, О and NO in N2-O2 flowing discharges Plasma // Sources Sci. Technol. – 1993. – Vol. 2. – P. 158–163.
- Influence of nitrogen on the oxygen dissociation in a DC discharge / A.R. de Souza, C.M. Mahlmann, J.L. Muzart, C.V. Speller // Appl. Phys. – 1993. – Vol. 26. – P. 2164–2167.
- Foner S.N., Hudson R.I. Metastable oxygen molecules produced by electrical discharges // Chem. Phys. – 1956. – Vol. 25. – P. 601–602.
- Азотное удобрение и способ его получения: пат. № 2650545C1 Российская Федерация, МПК C05C11/00, A01N59/00, A01N25/02, B01J19/08; заявл. 03.05.2017; опубл. 16.04.2018. – Бюл. № 11. – 15 с.
- Асанина С.Г., Корнеева М.А. Многомодовый режим генерации плазмы СВЧ-разряда в открытой магнитной ловушке // Физика плазмы. – 2022. – Т. 48. – № 2. – С. 116–120.
- Lee H.R., Lee Y.S. Antimicrobial effects of microwave plasma-activated water with skin protective effect for novel disinfectants in pandemic era // Scientific Reports. – 2022. – Vol. 12.
- Plasma generation by household microwave oven for surface modification and other emerging applications / B.K. Barnes, H. Ouro-Koura, J. Derickson, S. Lebarty, J. Omidokun, N. Bane, O. Suleiman, E. Omagamre, M.J. Fotouhi, A. Ogunmolasuyi, A. Dominguez, L. Gonick, K.S. Das. // Am. J. Phys. – 2021. – Vol. 89. – № 4. – Р. 372–382.
Дополнительные файлы





