Innovative nuclear power stations
- Authors: Rimshin V.I., Eryshev V.A., Guryanova A.V.
- Issue: Vol 9, No 6 (2021)
- Pages: 47-54
- Section: Articles
- Submitted: 12.02.2025
- Accepted: 12.02.2025
- URL: https://ogarev-online.ru/2311-2468/article/view/279833
- DOI: https://doi.org/10.15507/огарёв-online.v9i6.279833
- ID: 279833
Cite item
Full Text
Abstract
This review presents some inventions in the field of nuclear power generation that are related to the creation of nuclear power stations, their configuration and security as well as the reduction of the consequences in various emergency situations or the prevention of these situations. All of the considered technical solutions and drawings are part of the inventions that have patents, which certify the novelty, exclusivity, authorship and priority of the inventions by the current legislation of the Russian Federation.
Full Text
Строительство атомной электрической станции (АЭС) – сложнейший технологический вопрос, требующий профессионального подхода к выбору количество используемых энергоблоков, расчёту занимаемой площади, способу размещения конкретной АЭС, защите станции и других, не менее важных, составляющих.
В БД РИНЦ представлено 8 изобретений с названием «Атомная электрическая станция», разработанных как отдельными исследователями, так и авторскими коллективами. Задача данного патентного обзора состоит в рассмотрении ряда патентов с целью краткого изложения формулы изобретения каждого из них.
1. Атомная электрическая станция.
(авторское свидетельство SU 1828710 A3 [1], 30.12.1994 г.)
Сущность изобретения: ядерный реактор с парогенераторами снабжен гидравлической турбиной с электрическим генератором и установлен под землей на заданном нижнем геодезическом уровне. Водяной пар с парогенераторов подается по термостатированному паропроводу на паровую турбину с электрическим генератором, которая установлена на существенно более высоком геодезическом уровне по сравнению с нижним уровнем, а отработавшие вода и сконденсированный пар после паровой турбины по водоводу- трубопроводу подаются на гидравлическую турбину и далее снова на парогенераторы ядерного реактора.
Цель изобретения – повышение безопасности работы станции.
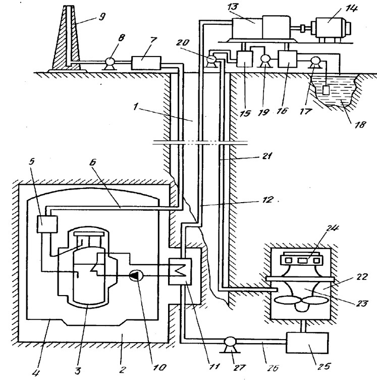
Рис. 1. Технологическая схема атомной электростанции. (авторское свидетельство SU 1828710 A3 [1])
Изобретение поясняется чертежом (см. рис. 1), где показана технологическая схема предлагаемой атомной электростанции с подземным размещением ядерной реакторной установки, где 1 – ствол атомной электрической станции; 2 – подземная камера; 3 – ядерный реактор; 4 – защитная оболочка реактора; 5 – устройство сжигания гремучего газа и вентиляции ядерного реактора; 6 – трубопровод (канал) для выдачи продуктов вентиляции на поверхность; 7 – установка тонкой очистки и нейтрализации продуктов вентиляции реактора; 8 – дутьевой вентилятор; 9 – вентиляционная труба и циркуляционная труба; 10 – циркуляционный насос второго контура ядерного реактора; 11 – парогенератор; 12 – термостатированный паропровод; 13 – паровая турбина с электрическим генератором 14; 15 – блок-накопитель; 16 – конденсатор; 17 – циркуляционный насос; 18 – пруд-охладитель; 19 и 20 – поверхностные питающие насосы; 21 – трубопровод-водовод; 22 – гидроагрегатная камера; 23 – гидравлическая турбина с электрическим генератором 24; 25 – накопительный резервуар; питающие трубопровод 26 и насос 27.
2. Атомная электрическая станция.
(патент на полезную модель RU 147663 U1 [2], 10.11.2014 г.)
Задачей полезной модели является повышение КПД атомной электростанции, за счет повышения надежности и эффективности работы паровой турбины при номинальных нагрузках и снижения теплового загрязнения окружающей среды.
Рис. 2. Технологическая схема атомной электростанции (патент на полезную модель RU 147663 U1 [2]).
Поставленная задача достигается за счет того, что атомная электрическая станция последовательно содержит (см. рис. 2) паровую турбину (1), сепаратор-пароперегреватель (2), абсорбционный тепловой насос (3), теплообменник-конденсатор абсорбционного теплового насоса (4), теплообменник-испаритель абсорбционного теплового насоса (5), конденсатор паровой турбины (6), конденсатный насос (7), подогреватели низкого давления (8), деаэратор (9),питательный насос (10), подогреватели высокого давления (11), парогенератор (12), при этом теплообменник-испаритель абсорбционного теплового насоса расположен на подающих и отводящих трубопроводах охлаждающей воды конденсатора паровой турбины, а теплообменник-конденсатор абсорбционного теплового насоса выполнен в едином корпусе с цилиндром низкого давления паровой турбины.
3. Атомная электрическая станция.
(патент на полезную модель RU 170194 U1 [3], 18.04.2017 г.)
Атомная электрическая станция отличается тем, что теплообменник-испаритель абсорбционного теплового насоса подключен через байпасный трубопровод к подающим и отводящим трубопроводам циркуляционной воды конденсатора паровой турбины, а теплообменник конденсатор абсорбционного теплового насоса расположен в едином корпусе с сетевым подогревателем теплофикационной установки.
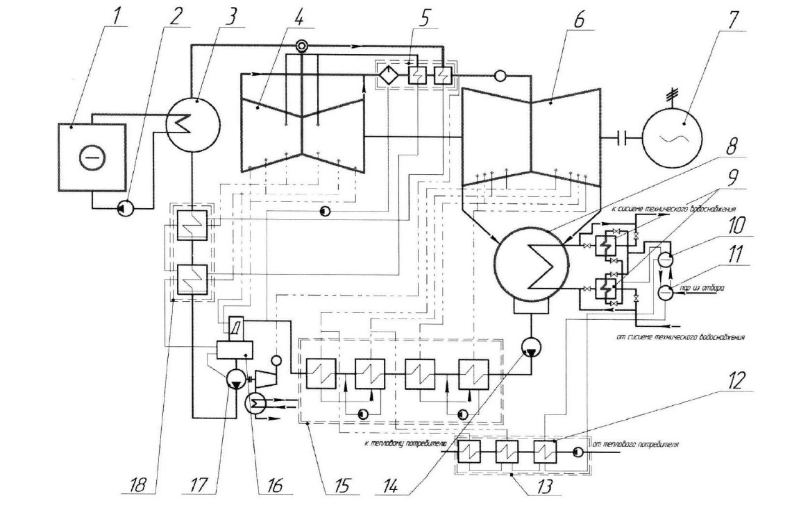
Рис. 3. Схема атомной электрической станции (патент на полезную модель RU 170194 U1 [3]).
Атомная электрическая станция (см. рис. 3) состоит из ядерного реактора (1), главного циркуляционного насоса (2), парогенератора (3), цилиндра высокого давления паровой турбины (4), сепаратора-пароперегревателя (5), цилиндров низкого давления паровой турбины (6), турбогенератора (7), конденсатора паровой турбины (8), абсорбционного теплового насоса (на чертеже не обозначен), состоящего из теплообменника-испарителя абсорбционного теплового насоса (9), абсорбера абсорбционного теплового насоса (10), генератора абсорбционного теплового насоса (11), теплообменника-конденсатора абсорбционного теплового насоса (12), а также теплофикационной установки (13), включающей сетевые подогреватели (на чертеже не обозначено), конденсатного насоса (14), подогревателей низкого давления (15), деаэратора (16), питательного насоса (17), подогревателей высокого давления (18).
4. Атомная электрическая станция.
(патент на изобретение RU 2638305 C1 [4], 13.12.2017 г.)
Атомная электрическая станция, содержащая реактор (1), компенсатор объема (8), парогенератор (7), паровую турбину (2), электрический генератор (3), конденсатор (4), питательный насос (5), подключенный к валу электродвигателя, циркуляционный насос (6), подключенный к валу другого электродвигателя, отличающаяся тем, что содержит насосную турбину (10), подключенную своим входом через редуктор (9) к выходу парогенератора (7), а выходом к конденсатору (4), подключенный к выходному валу насосной турбины циркуляционный насос (6), который подключен своим входом к выходу парогенератора (7), а выходом – к входу реактора (1), подключенный к выходному валу насосной турбины питательный насос (12), который подключен своим входом к выходу конденсатора (4), а выходом – к входу парогенератора (7), выход реактора (1) через задвижку (13) подключен к входу насосной турбины (10), выход конденсатора (4) через задвижку (14) подключен к входам циркуляционных насосов (11).
5. Атомная электрическая станция.
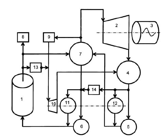
(патент на изобретение 2720212 C1 [5], 28.04.2020 г.)
Атомная электрическая станция (см. рис. 5), содержащая главный корпус с реакторным отделением, размещенные в нем реакторы в защитной металлической оболочке и технологический кран, машинное отделение с турбинами, помещения основного технологического, инженерно- технического и вспомогательного назначения, отличающаяся тем, что она выполнена в едином строительном объеме в виде сомкнутой компоновки, а главный корпус с реакторным отделением размещен в его центральной части, в отдельно стоящем здании размещено машинное отделение с турбинами и технологическими коммуникациями и соединено с главным корпусом, причем реакторы в реакторном отделении закрыты, по меньшей мере, двумя дополнительными контурами защиты, а покрытие реакторного отделения выполнено в виде двойного контура защиты от внутренних техногенных и внешних воздействий, вокруг реакторного отделения по его периметру выполнена внешняя защитная оболочка в виде пространственной сотовой конструкции для защиты от внешних воздействий.
Рис. 4. Схема атомной электрической станции (патент на изобретение RU 2638305 C1 [4]).
Внешняя защитная оболочка в виде пространственной сотовой конструкции выполнена из монолитных сталежелезобетонных конструкций посредством несъемной стальной модульной опалубки с возможностью размещения в ней помещений основного технологического, инженерно-технического и вспомогательного назначения, а также для дополнительной защиты реакторного отделения от внешних насильственных воздействий.
Рис. 5. Вертикальный разрез главного корпуса станции с защитными контурами ядерного реактора, реакторного отделения и контура защиты от внешних воздействий [6], где: 1 – реакторное отделение; 2 – реактор; 5 – защитная оболочка; 12 – вентиляционная труба; 13 – технологические помещения; 14 – диафрагмы жёсткости; 15 – второй контур защиты из сталежелезобетона; 16 – третий контур защиты из сталежелезобетона; 17 – контур защиты от внешних воздействий, 18 – модуль несъёмной стальной опалубки.
Второй и третий дополнительные контуры защиты каждого реактора выполнены в виде герметичных сталежелезобетонных защитных оболочек с использованием несъемной стальной модульной опалубки, которые изолируют реакторы в реакторном отделении и выполнены с возможностью воспринимать давление продуктов взрыва атомных реакторов и препятствовать выходу продуктов взрыва вовнутрь реакторного отделения и других помещений атомной станции. Внутренняя поверхность защитной оболочки первого контура каждого реактора дополнительно снабжена герметичной стальной облицовкой, которая выполнена, преимущественно, из высокопрочных легированных нержавеющих сплавов.
Пространственные «соты» внешней защитной оболочки выполнены в виде технологических помещений с технологическими коммуникациями, внутренние стенки и перекрытия в которых выполнены посредством несъемной стальной модульной опалубки со смещением как в плане, так и по высоте защитной оболочки. Контур защиты от внешних воздействий выполнен монолитным сталежелезобетонным посредством несъемной стальной модульной опалубки в форме свода и включает железобетонные ребра жесткости и защитную оболочку, внутренняя поверхность которой выполнена из несъемной стальной модульной опалубки.
Одна из основных задач инновационного и экономического развития Российской Федерации – повышение конкурентоспособности производимой продукции и оказываемых услуг на инвестиционно-строительных рынках за счет модернизации строительных технологий и технического перевооружения существующих производственных мощностей промышленности, включая строительные материалы и конструкции [7].
Поэтому формирование научного мнения о применимости инноваций по основным направлениям строительной деятельности, публикации материалов по передовым изобретениям в части технологий, продукции, изделий, материалов, конструктивных решений для строительной отрасли и сопутствующих отраслей экономики актуально для последующего развития российского общества.
About the authors
V. I. Rimshin
Author for correspondence.
Email: ogarevonline@yandex.ru
Russian Federation
V. A. Eryshev
Email: ogarevonline@yandex.ru
Russian Federation
A. V. Guryanova
Email: ogarevonline@yandex.ru
Russian Federation
References
- Ильюша А. В. Атомная электрическая станция // Авторское свидетельство SU 1828710 A3, 30.12.1994 г.
- Ефимов Н. Н., Скубиенко С. В., Янченко И. В. Атомная электрическая станция // Патент на полезную модель RU 147663 U1, 10.11.2014 г.
- Скубиенко С. В., Янченко И. В., Бабушкин А. Ю. Атомная электрическая станция // Патент на полезную модель RU 170194 U1, 18.04.2017.
- Лещенко В. В. Атомная электрическая станция // Патент на изобретение RU 2638305 C1, 13.12.2017 г.
- Анпилов С. М., Малинин С. М., Сахаров Г. С., Анпилов М. С., Римшин В. И., Сорочайкин А. Н., Китайкин А. Н.
- Атомная электрическая станция // Патент России 2720212. 2020. Бюл. № 13.Атомная электрическая станция с защитными контурами от внешних воздействий // С. М. Анпилов [и др.] // Опытно-конструкторские научные исследования: сб. ст. – Тольятти: ИССТЭ, 2021. – С. 13–15. doi: 10.51608/9785604461662_13
- Петров В. В., Мурашкин В. Г. О необходимости создания единой базы данных перспективных инновационных исследований в строительной отрасли // Эксперт: теория и практика. – 2021. – №1(10). – C. 11–12.
Supplementary files












