Elimination of high-frequency irregularity in polymer insulation diameter in cable manufacturing
- Authors: Limonov V.Y., Shishov О.V.
- Issue: Vol 12, No 13 (2024)
- Pages: 65-72
- Section: Articles
- Submitted: 03.02.2025
- Accepted: 03.02.2025
- URL: https://ogarev-online.ru/2311-2468/article/view/278807
- DOI: https://doi.org/10.15507/огарёв-online.v12i13.278807
- ID: 278807
Cite item
Full Text
Abstract
The reasons for high-frequency irregularity of polymer insulation diameter in cable manufacturing are considered. A scheme for regulating the speed of cable pulling through an extrusion line is proposed, taking into account the pressure gradient at the outlet of the dosing zone of the extruder, which allows eliminating irregularity in the cable diameter.
Full Text
При передаче электрических сигналов используются различные кабели, в том числе с полимерной изоляцией. Изоляция защищает от распространения тока за пределы жилы, предупреждает от ударов электротоком, короткого замыкания и возгорания кабеля. Основная характеристика хорошей кабельной изоляции – высокая прочность и минимальная диэлектрическая проницаемость. Качественная изоляция способна прослужить весь гарантийный срок без возникновения дефектов кабельного изделия и надежно защищая его от «прорыва» электрического тока наружу. Одним из важнейших параметров технологического процесса изготовления кабеля с полимерной изоляцией является поддержание ее заданной толщины.
Процесс изготовления кабелей включает в себя несколько этапов – катанка, отжиг, изоляция, охлаждение, скрутка, реализуемые соответствующими агрегатами (см. рис. 1).
Рис. 1. Этапы и оборудование линии по изготовлению кабеля с полимерной изоляцией.
В ходе технологического процесса на качество кабелей оказывает влияние целый ряд факторов – каков исходной материал; как обеспечивается температурный режим отжига медной жилы; площадь сечения кабельной жилы, но практика показывает, что главные критерия качества кабеля определяет процесс наложения полимерной изоляции.
Этот этап является сложным многооперационным процессом, но почти все определяется работой экструдера. Экструдер имеет три рабочие зоны: загрузки, плавления и дозирования (см. рис. 2).
Рис. 2. Общее устройство экструдера.
В первую очередь необходимо следить за параметрами зоны дозирования. На формирование диаметра и диэлектрической проницаемости изоляции влияют:
- температура расплава полимера на выходе экструдера;
- градиент давления расплава полимера;
- объемная производительность экструдера.
Толщина изоляции на большинстве предприятий, производящих кабель, регулируется путем изменения скорости протяжки кабеля через экструзионную линию, за счет управления приводом приемного устройства. Данная схема (рис. 3) устраняет низкочастотные нерегулярности диаметра полимерной изоляции, связанные с неравномерностью нагрева полимера.
Рис. 3. Схема регулировки скорости протяжки кабеля через экструзионную линию.
Но измерения диаметра кабеля на выходе экструзионной линии, проводимые специалистами на различных предприятиях отрасли, показывают, что кроме низкочастотных отклонений от номинального значения, часто наблюдаются регулярные высокочастотные колебания (рис. 3). Регулярный характер этих колебаний однозначно свидетельствует, что он связан с фазами работы технологического оборудования.
Рис. 4. Регулярные высокочастотные колебания диаметра кабеля.
Проведенные исследования показали, что высокочастотные нерегулярности диаметра полимерной изоляции связаны с градиентом давления на выходе зоны дозирования экструдера.
Для устранения высокочастотных нерегулярностей, градиент давления необходимо рассматривать как возмущающее воздействие в системе стабилизации, и его влияние на неоднородность диаметра изоляции может быть уменьшено. Иными словами, система автоматического управления должна, помимо управления скоростью протяжки кабеля, также осуществлять качественное управление такими параметрами как температура расплава полимера на выходе зоны дозирования и давление расплава полимера на выходе зоны дозирования экструдера.
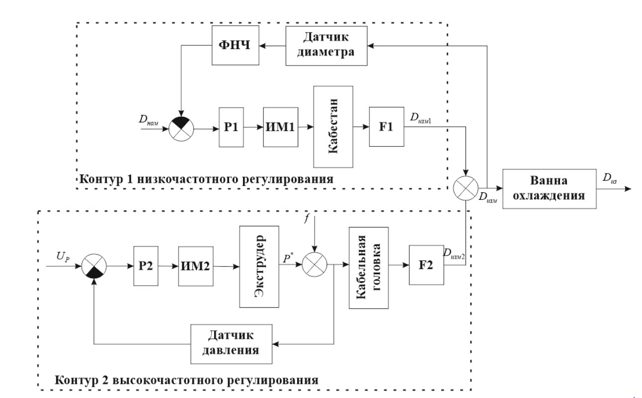
Предлагается использование двухконтурной системы управления (рис. 4). В ней кроме существующего контура регулирования дополнительно включен контур регулирования давления расплава полимера в зоне дозирования экструдера путем изменения скорости вращения шнека. Второй контур и служит для устранения высокочастотных нерегулярностей толщины изоляции.
Применение в системе управления производственной линии свободно программируемых контроллеров, позволило без особого труда ввести в ее компоненты необходимое для реализации второго контура системы стабилизации аппаратные средства и соответствующие программные модули. Разрабатываемое программное обеспечение системы управления было реализовано с учетом этих предложений.
Проведенные практические реализации использования данной модели показали хорошие результаты. Удалось добиться стабилизации диаметра изоляции с существенно меньшими средними погрешностями, что подтвердило правильность выводов об их источниках и направлениях борьбы с ними.
Рис. 5. Схема регулировки скорости протяжки кабеля через экструзионную линию с учетом градиента давления.
В процессе работы разработана структурная схема системы управления, включающая в себя программируемый логический контроллер, набор необходимых периферийных модулей и панель оператора. Общий алгоритм работы программы контроллера в проекте в целом аналогичен алгоритму работы систем управления, функционирующих на настоящий момент, но в них дополнительно введены программные компоненты, позволяющие реализовать в зоне дозирования экструдера регулирование давления расплава и регулирование его температуры. Кроме этого, разработано программное обеспечение по реализации человеко-машинного интерфейса и общецеховой диспетчеризации. Введена архивация данных для системы контроля параметров оборудования.
Представленный проект в настоящее время оформлен в виде развернутого предложения по модернизации линий на предприятиях кабельной отрасли.
About the authors
V. Yu. Limonov
Author for correspondence.
Email: ogarevonline@yandex.ru
О. V. Shishov
Email: ogarevonline@yandex.ru
References
- Шишов О. В. Современные средства АСУ ТП. – М.; Вологда: Инфра-Инженерия, 2021. – 532 с.
- Шишов О. В. Программируемые контроллеры в системах промышленной автоматизации. (Учебник). – М.: ИНФРА-М, 2016. – 365 с.
- Бульхин А. К., Кидяев В. Ф., Кижаев С. А. Автоматизация и наладка кабельного оборудования. – Самара: ИЦ «Книга», 2001. – 130 с.
Supplementary files











