Control of a Mobile Robotic System for the Maintenance of Vertical Surfaces
- Authors: Alhaddad M.1, Chashchukhin V.G.2
-
Affiliations:
- Moscow Institute of Physics and Technology, 141701, Dolgoprudny, Moscow Oblast, Russia
- Ishlinsky Institute for Problems in Mechanics, Russian Academy of Sciences (IPMech RAS), 119256, Moscow, Russia
- Issue: No 3 (2023)
- Pages: 156-176
- Section: ROBOTICS
- URL: https://ogarev-online.ru/0002-3388/article/view/136894
- DOI: https://doi.org/10.31857/S0002338823020038
- EDN: https://elibrary.ru/JGFQJB
- ID: 136894
Cite item
Full Text
Abstract
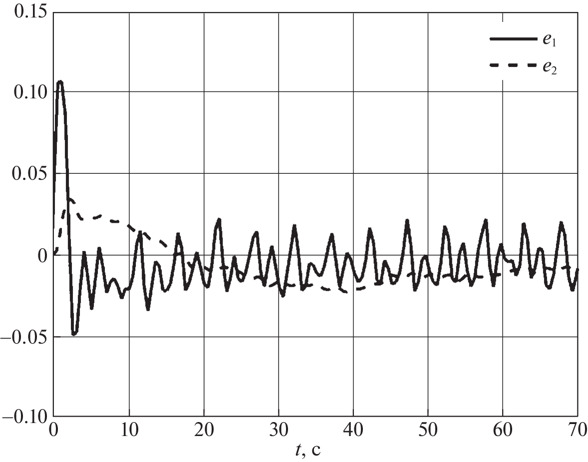
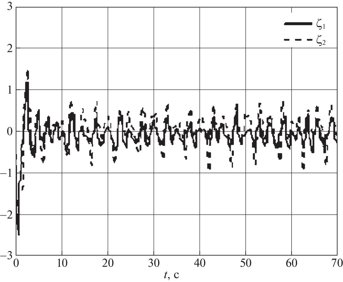
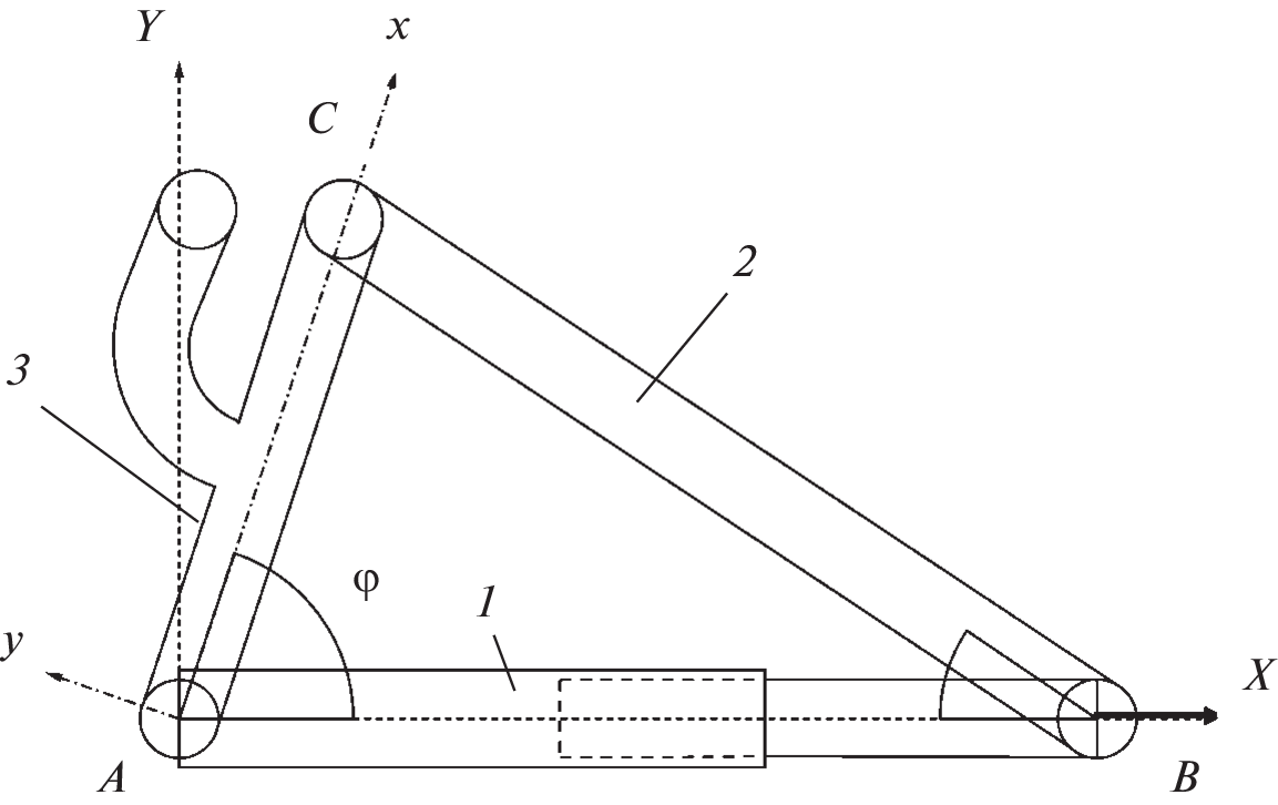
A robotic complex consisting of a transport-handling platform and a climbing robot installed on it is considered. The platform is designed to move the robot on a horizontal surface and place it on a vertical surface. The practical implementation of the platform control algorithm is described, which makes it possible to automate the process of placing the robot on a vertical surface.
About the authors
M. Alhaddad
Moscow Institute of Physics and Technology, 141701, Dolgoprudny, Moscow Oblast, Russia
Email: alkhaddad.m@phystech.edu
Россия, Москва
V. G. Chashchukhin
Ishlinsky Institute for Problems in Mechanics, Russian Academy of Sciences (IPMech RAS), 119256, Moscow, Russia
Author for correspondence.
Email: ketlk@mail.ru
Россия, Москва
References
- Нунупаров А.М., Чащухин В.Г. Система управления робота вертикального перемещения с аэродинамическим прижатием // Изв. РАН. ТиСУ. 2020. № 2. С. 168–176.
- Chashchukhin V.G. Orientation System of the Aerodynamically Adhesive Wall Climbing Robot // Extreme Robotics. 2019. V. 1. № 1. P. 145–148.
- Чащухин В.Г. Исследование параметров движения робота со скользящим уплотнением // Вестн. Нижегородск. ун-та им. Н.И. Лобачевского. 2011. № 4 (1.2). С. 347–349.
- Алхаддад М. Моделирование и управление движением манипулятора с замкнутой кинематической цепью и линейным приводом // Изв. РАН. ТиСУ. 2021. № 3. С. 168–176.
- Алхаддад М. Адаптивное управление движением мобильного колесного робота с учетом неидеальности приводов // Изв. РАН. ТиСУ. 2022. № 5. С. 144–158.
- Wang H., Fukao T., Adachi N. An Adaptive Tracking Control Approach for Nonholonomic Mobile Robot // IFAC Proceedings. 1999. V. 32. № 2. P. 8184–8189.
- Fukao T., Nakagawa H., Adachi N. Adaptive Tracking Control of a Nonholonomic Mobile Robot // IEEE Transactions on Robotics and Automation. 2000. V. 16. № 5. P. 609–615.
- Pourboghrat F., Karlsson M.P. Adaptive Control of Dynamic Mobile Robots with Nonholonomic Constraints // Computers and Electrical Engineering. 2002. V. 28. № 4. P. 241–253.
- Koubaa Y., Boukattaya M., Dammak T. An Adaptive Control for Uncertain Mobile Robot Considering Skidding and Slipping Effects // 5th Intern. Conf. on Systems and Control (ICSC). Marrakesh, 2016. P. 13–19.
- Wu J., Xu G., Yin Z. Robust Adaptive Control for a Nonholonomic Mobile Robot with Unknown Parameters // J. Control Theory Appl. 2009. V. 7. P. 212–215.
- Ye J. Adaptive Control of Nonlinear PID-based Analog Neural Networks for a Nonholonomic Mobile Robot // Neurocomputing. 2008. V. 71. P. 1561–1565.
- Canigur E., Ozkan M. Model Reference Adaptive Control of a Nonholonomic Wheeled Mobile Robot for Trajectory Tracking // Intern. Sympos. on Innovations in Intelligent Systems and Applications. Trabzon, 2012. P. 1–5.
Supplementary files


































