Определение угла трения между колосом пшеницы и очесывающей гребенкой
- Авторы: Савин В.Ю.1
-
Учреждения:
- Калужский филиал ФГБОУ ВО «Московский государственный технический университет имени Н. Э. Баумана»
- Выпуск: Том 30, № 3 (2020)
- Страницы: 413-425
- Раздел: Процессы и машины агроинженерных систем
- Статья получена: 20.08.2025
- Статья одобрена: 20.08.2025
- Статья опубликована: 12.09.2025
- URL: https://ogarev-online.ru/2658-4123/article/view/305294
- DOI: https://doi.org/10.15507/2658-4123.030.202003.413-425
- ID: 305294
Цитировать
Полный текст
Аннотация
Введение. Определение угла трения между гребенкой и колосом является важной задачей, направленной на поиск оптимальных параметров конструкции и режимов работ очесывающих устройств. При взаимодействии гребенки и колоса происходит уплотнение взаимного расположения колосковых чешуй, цветковых пленок и зерен, при этом изменяется шероховатость поверхности колосков.
Материалы и методы. Для определения углов трения между стальной гребенкой и колосьями пшеницы была произведена серия опытов. Для исследования выбраны сорта пшеницы «Московская 40» и «Московская 56». Экспериментальная измерительная установка представляет собой каркас с установленной на нем поворотной площадкой с возможностью регулировки угла поворота. Угломерная делительная головка обеспечивает возможность фиксации значения угла поворота площадки. Вес гири, подвешенной к стеблю растения, имитировал силы, возникающие в процессе очеса. Также измерялись и фиксировались ширина и толщина колоса.
Результаты исследования. Установлено влияние размеров колоса на угол трения. Результаты исследования разбиты на две группы. Получены следующие значения углов трения: 26,4–31,5° для пшеницы с шириной колоса менее 10,4 мм; 22,0–27,1° для пшеницы с шириной колоса более 10,4 мм.
Обсуждение и заключение. Получены углы трения колосьев по гребенке для сортов пшеницы, характерных для Центрального региона. Установлена зависимость угла трения от соотношения геометрических размеров колоса и ширины щели очесывающей гребенки. При ширине колоса менее 10,4 мм наблюдался эффект защемления колосков между зубьями гребенки, при этом коэффициент трения заметно возрастал.
Ключевые слова
Полный текст
Введение
Очес растений на корню – одна из альтернативных технологий уборки зерновых культур. В работах ряда исследователей отмечаются определенные достоинства и перспективы метода [1; 2]. Одним из базовых преимуществ использования технологии очеса при уборке зерновых является повышенное содержание зерна в первичном ворохе, то есть ворохе после жатки, традиционного или очесывающего типа [3]. Немаловажным является и то, что технология очеса лучше, чем традиционная, подходит для создания малогабаритных, в том числе прицепных, уборочных машин, так как в целом может совмещать в себе процессы отделения зерна и его транспортировки. Разработан и предложен ряд схем очесывающих устройств, из которых наибольшее распространение получили устройства гребневого типа [4; 5].
Очес зерновой массы – сложный процесс взаимодействия гребенки и колоса с учетом внутренних сил, возникающих между отдельными частями растения.
Разработаны методики для определения оптимальных параметров конструкции очесывающих рабочих органов уборочных машин. Одним из важнейших параметром конструкции является профиль гребенки очесывающего барабана.
Обзор существующих и перспективных конструкций очесывающих аппаратов позволяет выделить прямолинейные, криволинейные и комбинированные профили гребенок. Комбинированный профиль сочетает как криволинейные, так и прямолинейные участки. В одной из работ рассмотрен вопрос выбора оптимального профиля гребенки очесывающего барабана [6]. При этом рабочий процесс очесывающего устройства рассматривается как совокупность процессов очеса и транспортирования очесанной массы. Предложены две характерные зоны гребенки очесывающего аппарата: критическая зона очеса и рабочая зона очеса. Одним из параметров, определяющих рабочие зоны гребенок и, соответственно, выбор оптимального профиля гребенок, является угол трения гребенки о колос.
В работе М. А. Бурьянова предложена методика, в которой угол трения гребенки о колос, наряду с другими параметрами, позволяет оценить величину и направление начальной скорости движения зерновки после ее отрыва от колоса [7].
В статье А. А. Ковалева и соавторов коэффициент трения продукта очеса по поверхности лопасти указан как один из ключевых параметров, влияющих на угол поворота барабана, при котором начинается перемещение растения по гребню [8].
Таким образом, определение угла трения между гребенкой и колосом является важной задачей, направленной на поиск оптимальных параметров конструкции и режимов работ очесывающих устройств.
Проанализируем факторы, которые могут влиять на угол трения. В начальной стадии очеса колос движется по гребенке. При этом взаимодействуют поверхность гребенки и колосковые чешуи нижних колосков колоса. Колосковые чешуи разделяют по длине и форме. По длине выделяют короткие, средние и длинные. По форме чешуи делятся на овальные, яйцевидные, ланцетные. Учитывая, что пятна контакта колоса с гребенкой стремятся к двум линиям, можно предположить, что сила трения гребенки о колос не зависит от геометрических параметров и формы чешуй и, следовательно, от сорта пшеницы.
Введем такое понятие, как плотность взаимодействия гребенки и колосков колоса. Если расположить колос на гребенке вертикально, то при отсутствии связей пятно контакта гребенки с колосом будет стремиться к двум точкам. При этом собственный вес колоса достаточно мал и в целом картину взаимодействия не меняет. При реальном взаимодействии гребенки и колоса вследствие появления внешних и внутренних сил происходит уплотнение взаимного расположения колосковых чешуй, цветковых пленок и зерен. Меняется площадь пятна контакта гребенки и колоса и шероховатость поверхностей колосков. Таким образом, угол трения изменяется.
Одними из основных факторов, влияющих на угол трения, являются материал и шероховатость гребенки. В данной статье основное внимание будет уделено исследованию угла трения между колосом и стальной гребенкой.
Обзор литературы
Определение угла либо коэффициента трения – важная задача не только в рамках исследования процессов при очесе зерновых культур. Аналогичные задачи ставятся и при исследовании процессов высева семян, взаимодействия минеральных удобрений с криволинейными поверхностями и т. д.
В работе Н. И. Шестакова предложна методика определения коэффициента трения минеральных удобрений о криволинейную поверхность бункера [9]. Предлагается определять коэффициент трения графическими или численными методами, подставляя значения скоростей в решение дифференциального уравнения движения точки без сопротивления среды. Причем скорости, согласно методике, определяются с помощью скоростной видеосъемки. При этом гранула представлена как материальная точка. Для нашего случая взаимодействия упрощение колоса до материальной точки будет некорректным вследствие наличия сложной поверхности контакта колоса с гребенкой.
Методика определения коэффициента трения семян зерновых культур по поверхностям из стали, полиэтилена, технической резины, органического стекла предполагает использование наклонной плоскости [10; 11]. При этом в работе приведена схема наклонной плоскости с силами, действующими на материал, без указания конструкции устройства.
Коэффициент трения покоя семян сои определялся с помощью прибора, содержащего наклонную платформу, шарнирно закрепленную на станине, шкалу и тяговое устройство [12]. Платформа выполнена с продольными пазами полукруглой формы для исключения перекатывания частиц на наклонной плоскости [13].
Зарубежные авторы отмечают гетерогенную структуру зерновых культур, вследствие чего они проявляют высокую восприимчивость к внешним условиям [14]. Выделяются такие внешние факторы, влияющие на силу трения, как нагрузка, влажность и скорость. Также выделяются внешние факторы, такие как давление и скорость [15]. При этом авторы предлагают измерять коэффициенты трения при типичных значениях выделенных факторов. В указанном случае это давления и скорости, которые регистрируются при заполнении и опорожнении бункеров.
Ученые продемонстрировали влияние материалов очесывающей гребенки и обтекателя на качество выполняемого процесса [16]. При описании процессов, происходящих при контакте колоса с очесывающим зубом, указываются коэффициенты трения покоя для зерна и колоса озимой пшеницы сорта «Дмитрий» по поверхностям из стали и сверхвысокомолекулярного полиэтилена. При этом в статье приведена методика определения величины усилий, действующих на колос, движущийся по поверхности обтекателя, с использованием лабораторной установки с тензодатчиками. Не совсем четко описано, являются ли приведенные коэффициенты трения, представленные при описании процессов взаимодействия колоса с гребенкой, результатом исследования на лабораторной установке. Следует отметить, что колосья взаимодействуют с гребенкой и обтекателем различными поверхностями, поэтому и коэффициенты трения будут различаться.
В другой работе определялся коэффициент трения покоя зерна, половы и колоса озимой пшеницы с целью обоснования параметров и режимов работы очесывающей жатки [17]. Указано, что использовалось устройство, изготовленное с применением головки чертежного прибора. Методика определения коэффициентов трения и схема устройства не приведены.
Материалы и методы
Для определения углов трения между стальной гребенкой и колосьями пшеницы была произведена серия опытов. Экспериментальные исследования выполнены в Калужской области на полях Калужского научно-исследовательского института сельского хозяйства – филиала ФГБНУ «Федеральный исследовательский центр картофеля имени А. Г. Лорха». Для исследования выбраны характерные для Центрального региона сорта пшеницы: «Московская 40» и «Московская 56». Влажность зерна пшеницы составила 10–12 %.
Сорта «Московская 40» и «Московская 56» принадлежат к мягким озимым пшеницам. Пшеница «Московская 40» имеет веретеновидный колос, «Московская 56» – полубулавовидный. Колосья сорта «Московская 56» рыхлые, средней плотности. Колосья сорта «Московская 40» средней плотности, плотные. Средняя урожайность пшеницы сорта «Московская 40» в центральном регионе – 33,7 ц/га; 32,2 ц/га – у пшеницы сорта «Московская 56»1.
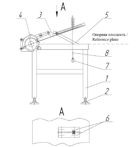
Экспериментальная измерительная установка (рис. 1) представляет собой каркас с размещенной на нем поворотной площадкой с возможностью регулировки угла поворота и состоит из рамы 1 с регулируемыми опорами 2, поворотной площадки 3 с закрепленными на ней пластинами 6, угломерной делительной головки 4, механизма фиксации 5. Регулируемые опоры необходимы для выставления опорной плоскости рамы в горизонтальном положении. Угломерная делительная головка обеспечивает возможность фиксации значения угла поворота площадки. Механизм фиксации обеспечивает неподвижность и жесткость поворотной площадки относительно рамы во время эксперимента. Пластины, установленные на поворотной площадке, имитируют зубья гребенки очесывающего устройства. Ширина щели между пластинами регулируется.
4 – угломерная головка; 5 – механизм фиксации; 6 – пластины; 7 – гиря; 8 – зажим
Fig. 1. Measuring device: 1– frame; 2 – adjustable feet; 3 – rotating platform; 4 – goniometer;
5 – locking mechanism; 6 – plates; 7 – weight; 8 – clamp
С целью получения структуры и шероховатости поверхности колоса в месте контакта с пластинами-имитаторами, идентичными структуре и шероховатости колоса при работе очесывающего аппарата, предложено подвешивать гирю 7 из набора разновесов за фрагмент стебля в соответствии с рисунком 1. Вес гири имитирует внутренние силы, возникающие в стебле при взаимодействии колоса и гребенки в процессе очеса. Вес гири был подобран опытным путем. Оптимальным признан вес, равный 100 г. При использовании гири большей массы угол трения и, соответственно, шероховатость пятна контакта не меняются, при этом появляются сложности, связанные с проведением опытов, в частности с креплением гири к стеблю.
Стальные гребенки и пластины экспериментальной установки изготавливаются из тонколистового проката качественной углеродистой стали без шлифовки поверхностей контакта с колосом. Если говорить о стальных гребенках, данный материал является наиболее технологичным. Шероховатость Ra поверхности тонколистового проката качественной углеродистой стали регламентируется ГОСТом 1625-97 и для матового состояния поверхности составляет не более 1,6 мкм. Для определения диапазона шероховатости используемых в экспериментальной установке пластин-имитаторов гребенок применялся профилограф профилометр «Абрис-ПМ7». Полученный диапазон шероховатости пластин Ra составил 1,56–1,68 мкм.
Методика исследования состоит в следующем. Во время регулирования опоры 2 выставлялась опорная плоскость измерительного устройства в горизонтальном положении. Для оценки соответствия опорной плоскости горизонтали использовался ватерпас. Ширина щели между пластинами-имитаторами выставлялась с использованием штангенциркуля. Описываемые измерения были выполнены с шириной щели, равной 7 мм. Далее площадка с пластинами поворачивалась в промежуточное положение, устанавливался колос, с использованием зажима 8 крепилась гиря 7 из набора разновесов. С использованием угломерной головки площадка поворачивалась до тех пор, пока колос не начинал скользить по пластинам. Определив примерный диапазон угла трения, исследуемый параметр уточнялся. Для этого площадка поворачивалась и фиксировалась в нескольких точках в районе определенного диапазона, и устанавливался угол трения.
С целью определения влияния размеров колоса на угол трения измерялись и фиксировались такие структурные показатели, как ширина и толщина колоса. Измерения производились с помощью штангенциркуля.
Результаты исследования
Структурные показатели пшеницы сортов «Московская 40» и «Московская 56» приведены в таблицах 1 и 2. Средние величины длины и ширины колоса чуть больше у пшеницы сорта «Московская 40».
Таблица 1 Структурные показатели колосьев пшеницы сорта «Московская 40»
Table 1 Structure indicators of ears of “Moskovskaya 40” wheat
Номер опыта / Experience number | Ширина, мм / Width, mm | Толщина, мм / Thickness, mm |
1 | 11,8 | 11,0 |
2 | 8,8 | 8,8 |
3 | 11,2 | 10,2 |
4 | 10,4 | 9,8 |
5 | 11,8 | 11,0 |
6 | 11,0 | 10,5 |
7 | 11,5 | 10,8 |
8 | 10,2 | 9,5 |
9 | 10,8 | 10,2 |
10 | 11,0 | 10,0 |
Таблица 2 Структурные показатели колосьев пшеницы сорта «Московская 56»
Table 2 Structure indicators of ears of “Moskovskaya 56” wheat
Номер опыта / Experience number | Ширина, мм / Width, mm | Толщина, мм / Thickness, mm |
1 | 10,4 | 9,8 |
2 | 10,6 | 10,2 |
3 | 9,5 | 9,0 |
4 | 8,8 | 8,2 |
5 | 10,2 | 10,0 |
6 | 10,5 | 10,1 |
7 | 10,2 | 9,5 |
8 | 10,5 | 10,1 |
9 | 10,2 | 10,0 |
10 | 9,7 | 9,5 |
Результаты измерения углов трения гребенки о колос пшеницы сорта «Московская 40» представлены на диаграмме рисунка 2. Как видно из диаграммы, угол трения изменялся от 22,0° до 33,4°.
Fig. 2. Diagram of friction angles of “Moskovskaya 40” wheat on stripper fingers
Результаты измерения углов трения гребенки о колос пшеницы сорта «Московская 56» представлены на диаграмме рисунка 3. Угол трения изменялся в диапазоне от 22,7° до 31,5°.
Fig. 3. Diagram of friction angles of “Moskovskaya 56” wheat on stripper fingers
Анализируя диаграммы, можно сделать вывод, что в целом углы трения для обоих сортов пшеницы изменяются в одинаковом диапазоне. При этом, если сопоставить структурные показатели колосьев, представленные в таблицах 1 и 2, и диаграммы углов трения, можно сделать определенные выводы. Меньшим размерам колоса соответствует больший угол трения. Разграничив опыты шириной колоса 10,4 мм, можно получить диаграммы, представленные на рисунке 4.
Fig. 4. Diagram of friction angles of wheat ears on stripper fingers:
1 – the ear with a width of less than 10.4 mm; 2 – the ear with a width of more than 10.4 mm
Если на диаграммах, представленных на рисунке 4, убрать по одному резко выделяющемуся результату, то можно установить следующие диапазоны углов трения: 26,4–31,5° для пшеницы с шириной колоса менее 10,4 мм; 22,0–27,1° для пшеницы с шириной колоса более 10,4 мм.
Для оценки тесноты зависимости угла трения от ширины колоса был выполнен корреляционный анализ. В его рамках определены следующие корреляционные отношения: 0,93 для сорта «Московская 40» и 0,97 для сорта «Московская 56». Данные результаты позволяют охарактеризовать связь между углом трения и шириной колоса как весьма высокую.
Очевидно, что коэффициент трения зависит не столько от геометрических размеров колоса, сколько от соотношения геометрических размеров и ширины щели между зубьями гребенки. Наблюдения в ходе опытов позволили установить природу данной зависимости. На рисунке 5 показаны два случая взаимодействия колоска колоса пшеницы с зубьями очесывающей гребенки: а) зубья взаимодействуют с колоском у его основания; б) зубья взаимодействуют с колоском ближе к его центру. Во втором случае имеет место эффект защемления колосков колоса пшеницы между гребенками. Этим и объясняется увеличение угла трения при малых размерах колоса относительно щели очесывающей гребенки.
а) зубья взаимодействуют с колоском у его основания;
b) зубья взаимодействуют с колоском ближе к его центру
Fig. 5. Scheme of interaction of a spikelet of wheat ear with stripper fingers:
a) stripper fingers interact with the spikelet at its base;
b) stripper fingers interact with the spikelet closer to its center
Таким образом, эффект защемления колоса позволяет объяснить определенный разброс результатов по полученным углам трения гребенки о колос и разделить результаты на две группы.
Обсуждение и заключение
Предложено в процессе экспериментальных исследований использовать гири, подвешенные к стеблю растения, вес которых имитировал силы, возникающие в процессе очеса.
В результате исследования получены углы трения колосьев озимой пшеницы сортов, характерных для Центрального региона, по гребенке очесывающего устройства. Угол трения колосьев пшеницы сорта «Московская 40» составил 22,0–33,4°. Угол трения колосьев пшеницы сорта «Московская 56» изменялся в диапазоне от 22,7° до 31,5°. Зависимость значения угла трения колоса по очесывающей гребенке от сорта пшеницы не установлена.
Установлена зависимость угла трения от соотношения геометрических размеров колоса и ширины щели очесывающей гребенки. При ширине колоса менее 10,4 мм и ширине щели гребенки, равной 7 мм, наблюдался эффект защемления колосков. При этом коэффициент трения заметно возрастал.
Результаты экспериментальных исследований разбиты на 2 группы. При отсутствии эффекта защемления колоса между зубьями гребенки угол трения изменялся в диапазоне 22,0–27,1°. При появлении эффекта защемления колоса угол трения увеличивался и составил 26,4–31,5°.
Полученные значения углов трения позволяют уточнить и подтвердить результаты работы по выбору профиля гребенки очесывающего барабана, где в качестве ориентировочного угла трения между колосом и очесывающей гребенкой был принят угол трения стеблей зерновых культур по шлифованной стали, равный 19,3° [6].
1 Государственный реестр селекционных достижений. Сорта культуры «Пшеница мягкая озимая» [Электронный ресурс]. URL: https://gossortrf.ru/wp-content/uploads/2020/03/FIN_reestr_dop_12_03_2020.pdf (дата обращения: 03.08.2020).
Об авторах
Владимир Юрьевич Савин
Калужский филиал ФГБОУ ВО «Московский государственный технический университет имени Н. Э. Баумана»
Автор, ответственный за переписку.
Email: savin.study@yandex.ru
ORCID iD: 0000-0002-2476-9768
ResearcherId: D-4378-2019
доцент кафедры тепловых двигателей и гидромашин, кандидат технических наук
Россия, 248000, г. Калуга, ул. Баженова, д. 2Список литературы
- Ковлягин, Ф. В. Уборка зерновых культур методом очеса / Ф. В. Ковлягин, Г. Г. Маслов //Механизация и электрификация сельского хозяйства. – 1991. – № 8. – С. 5–6.
- Жалнин, Э. В. Уборка с очесом на корню: за и против / Э. В. Жалнин // Сельский механизатор. – 2013. – № 8. – С. 10–12. – URL: http://selmech.msk.ru/ (дата обращения: 03.08.2020).
- Савин, В. Ю. Определение состава очесанного вороха при уборке пшеницы с использованием прицепного очесывающего устройства / В. Ю. Савин. – doi: 10.17238/issn2071-2243.2016.4.96 //Вестник Воронежского государственного аграрного университета. – 2016. – № 4 (51). – С. 96–99. –URL: https://rucont.ru/efd/572167 (дата обращения: 03.08.2020).
- Галкин, А. В. Исследование качественных характеристик льноволокна в зависимости от конструкции очесывающего аппарата / А. В. Галкин, Д. Г. Фадеев, И. В. Ущаповский. – doi: 10.15507/0236-2910.028.201803.389-399 // Вестник Мордовского университета. – 2018. – Т. 28, № 3. – С. 389–399. –URL: http://vestnik.mrsu.ru/index.php/en/articles2-en/62-18-3/429-10-15507-0236-2910-028-201803-8(дата обращения: 03.08.2020). – Рез. англ.
- Алдошин, Н. В. Совершенствование конструкции очесывающих устройств для уборки зернобобовых культур / Н. В. Алдошин, М. А. Мосяков. – doi: 10.26897/1728-7936-2018-2-23-27 //Вестник федерального государственного образовательного учреждения высшего профессионального образования «Московский государственный агроинженерный университет имени В. П. Горячкина». – 2018. – № 2. – С. 23–27. – URL: http://elib.timacad.ru/dl/full/vmgau-04-2018-02.pdf/view (дата обращения: 03.08.2020). – Рез. англ.
- Савин, В. Ю. К выбору профиля гребенки очесывающего барабана / В. Ю. Савин. – doi: 10.17238/issn2071-2243.2019.1.67 // Вестник Воронежского государственного аграрного университета. – 2019. – № 1 (60). – С. 67–72. – URL: http://elib.timacad.ru/dl/full/vmgau-04-2018-02.pdf/view (дата обращения: 03.08.2020). – Рез. англ.
- Бурьянов, М. А. Исследование взаимодействия колоса растения с зубьями однобарабанной навесной на комбайн жаткой при уборке зерновых культур очесом / М. А. Бурьянов // Политематический сетевой электронный научный журнал Кубанского государственного аграрного университета. – 2011. – № 67. – С. 91–100. – URL: https://clck.ru/Q48Z2 (дата обращения: 03.08.2020).
- Ковалев, М. М. Взаимодействие продуктов очеса с лопастями очесывающе-транспортирующего барабана льноуборочной машины / М. М. Ковалев, А. В. Галкин, Д. Г. Фадеев // Техника в сельском хозяйстве. – 2011. – № 2. – С. 3–7.
- Шестаков, Н. И. Определение коэффициента трения минеральных удобрений о криволинейную поверхность бункера / Н. И. Шестаков, В. А. Хрипин, В. А. Макаров [и др.] // Техника в сельском хозяйстве. – 2013. – № 2. – С. 29–30. – URL: http://xn--80aaak3h.xn--p1ai/wp-content/uploads/2017/05/Doc11.pdf (дата обращения: 03.08.2020).
- Евченко, А. В. Анализ физико-механических свойств семян зерновых культур / А. В. Евченко // Вестник Красноярского государственного аграрного университета. – 2016. – № 8. – С. 144–149. –URL: http://www.kgau.ru/vestnik/2016_8/content/23.pdf (дата обращения: 03.08.2020). – Рез. англ.
- Цепляев, А. Н. Результаты экспериментальных исследований по определению коэффициентов трения / А. Н. Цепляев, Я. С. Лазаренко // Известия Нижневолжского агроуниверситетского комплекса: наука и высшее профессиональное образование. – 2012. – № 4 (28). – С. 221–225. – URL: http://www.volgau.com/Portals/0/static/izvestiya_auk/izvestiya_2012_28_4.pdf?ver=2013-05-16-115944-073 (дата обращения: 03.08.2020). – Рез. англ.
- Балашов, А. В. Определение физико-механических свойств семян сои / А. В. Балашов,С. П. Стрыгин, А. А. Синельников [и др.] // Наука в центральной России. – 2017. – № 2 (26). –С. 5–12. – Рез. англ.
- Патент 2488094 Российская Федерация, МПК G01N19/02. Прибор для определения коэффициента силы трения покоя : № 2012107007/28 : заявл. 27.02.2012 : опубл. 20.07.2013 / Тишанинов Н. П., Амельянц А. Г., Анашкин А. В. [и др.] ; заявитель и патентообладатель ГНУ ВНИИТиН Россельхозакадемии. 6 с.
- Wojcik, A. The Methodical Aspects of the Friction Modeling of Plant Granular Materials / A. Wojcik, J. Fraczek, A. K. Wota. – doi: 10.1016/j.powtec.2018.12.037 // Powder Technology.– 2019. – Vol. 344. – Pp. 504–513. – URL: https://www.sciencedirect.com/science/article/abs/pii/S0032591018310738?via%3Dihub (дата обращения: 03.08.2020).
- Chiputula, J. P. Effect of Moisture Content on Coefficients of Friction between Triticale and Galvanized Steel / J. P. Chiputula, R. A. Bucklin, A. R. Blount. – doi: 10.13031/aea.12575 // Applied Engineering in Agriculture. – 2018. – Vol. 34, Issue 3. – Pp. 599–602. – URL: https://elibrary.asabe.org/abstract.asp?AID=48978&t=3&dabs=Y&redir=&redirType= (дата обращения: 03.08.2020).
- Бурьянов, М. А. О влиянии свойств материалов, применяемых для изготовления рабочих органов очесывающей жатки, на качество выполняемого процесса / М. А. Бурьянов, И. В. Червяков, А. И. Бурьянов // Тракторы и сельхозмашины. – 2018. – № 3. – С. 54–61. – URL: https://rucont.ru/efd/623610 (дата обращения: 03.08.2020). – Рез. англ.
- Бурьянов, М. А. Результаты исследования характеристик растений озимой пшеницы сорта «Дмитрий» для обоснования параметров и режимов работы очесывающей жатки / М. А. Бурьянов,А. И. Бурьянов, И. В. Червяков [и др.] // Зерновое хозяйство России. – 2017. – № 5 (53). – С. 51–56. –URL: https://www.zhros.ru/jour/article/view/102 (дата обращения: 03.08.2020). – Рез. англ.
Дополнительные файлы

























