Влияние нейтронного облучения на характеристики SiC- и Si-детекторов
- Authors: Гуров Ю.Б.1,2, Довбненко М.С.1, Евсеев С.A.1, Замятин Н.И.1, Копылов Ю.A.1, Розов С.В.1, Стрелецкая Е.A.1, Чернышев Б.A.2, Грубчин Л.3, Затько Б.3
-
Affiliations:
- Объединенный институт ядерных исследований
- Национальный исследовательский ядерный университет “МИФИ”
- Institute of Electrical Engineering, Slovak Academy of Science Slovakia
- Issue: No 6 (2024)
- Pages: 38–43
- Section: ТЕХНИКА ЯДЕРНОГО ЭКСПЕРИМЕНТА
- URL: https://ogarev-online.ru/0032-8162/article/view/288469
- ID: 288469
Cite item
Abstract
Представлены характеристики детекторов на основе кремния (Si) и карбида кремния (SiC), которые были облучены интегральными потоками нейтронов Ф = 5.1⋅1013, 5.4⋅1014 и 3.4⋅1015 н/см2 (1 МэВ/Si). Обнаружено, что для всех облученных образцов проводимость чувствительной области становится близкой к собственной. С помощью a-частиц было установлено, что для Si-детекторов, облученных минимальным потоком 5.1⋅1013 н/см2, эффективность собирания заряда h не превышает 1.5%. Для SiС-детекторов, облученных аналогичным потоком, h = 96%, а при облучении средним и максимальным потоками h уменьшилась до 70 и 1.5% соответственно. Таким образом, показано, что ухудшение работоспособности SiC-детекторов наступает при существенно более высоких дозовых нагрузках, чем при использовании Si-приборов.
Full Text
1. ВВЕДЕНИЕ
Полупроводниковые детекторы (ППД), которые широко используются на ускорительных комплексах высокой светимости, подвергаются высоким радиационным нагрузкам. Это делает требования к радиационной стойкости ППД чрезвычайно важными, а задачу по ее определению актуальной при создании и применении таких приборов.
Под действием частиц в материале детектора возникают нарушения кристаллической решетки, обусловленные смещением и выбиванием атомов из узлов решетки. При этом в результате ядерных реакций происходит изменение изотопного состава исходного полупроводника. Эти процессы приводят к образованию центров захвата и рекомбинации носителей заряда, а также к изменению их эффективной (донорной, акцепторной) концентрации. Большие дозы облучения ППД приводят к заметному ухудшению энергетического разрешения и уменьшению амплитуды сигнала. Эти эффекты обусловлены, соответственно, уменьшением времени жизни носителей заряда и их неполным собиранием.
В последние годы для создания радиационно-стойких приборов активно применяется карбид кремния (политип 4Н-SiC) [1, 2]. Это обусловлено тем, что по сравнению с кремнием данный материал имеет большие значения ширины запрещенной зоны (Si — 1.2 эВ, SiC — 3.1 эВ) и пороговой энергии дефектообразования (около 15 эВ для Si и примерно 30 эВ для SiC). Важно также отметить, что SiC-ППД могут изготавливаться с применением планарной технологии [2], при этом их генерационный ток при комнатной температуре будет более чем на порядок меньше по сравнению с кремниевыми приборами. В последние годы был достигнут прогресс в создании высокочистых эпитаксиальных слоев SiC толщиной около 100 мкм с малым количеством глубоких центров, высоким удельным сопротивлением и достаточно большим временем жизни носителей заряда. Детекторы, созданные на основе такого материала с низким содержанием электроактивных примесей, интенсивно исследуются с целью их применения в спектроскопии ядерных излучений [2, 3].
В настоящей работе исследовались характеристики детекторов на основе кремния (Si) и политипа карбида кремния 4Н-SiC после облучения быстрыми нейтронами. Si-ППД использовались как для сравнения радиационной стойкости, так и в качестве калибровочных мониторов для определения эквивалентного 1 МэВ потока быстрых нейтронов [4].
2. ХАРАКТЕРИСТИКИ ИСХОДНЫХ ДЕТЕКТОРОВ
Для исследований использовались по четыре детектора на основе Si и SiC. Кремниевые структуры изготавливались по планарной технологии [5] из Si с проводимостью n-типа (удельное сопротивление r ≈ 6 кОм⋅см). Выпрямляющий и омический контакты формировались имплантацией бора и фосфора (толщина “мертвого” слоя со стороны p–n-перехода составляет около 0.05 мкм). Чувствительные размеры Si-детекторов: площадь 4 × 4 мм², толщина 300 мкм.
SiC-детекторы изготавливались на основе высокочистого слоя 4H-SiC с проводимостью n-типа, который был получен методом эпитаксиального выращивания из жидкой фазы на проводящих n+-подложках 4H-SiC фирмы L.P.E. (Италия). Диаметр исходной подложки 4 дюйма, толщина 350 мкм, а концентрация донорной примеси равна примерно 2⋅10¹⁸ см⁻³. Созданные таким способом эпитаксиальные слои имели толщину 50 мкм с концентрацией донорной примеси 1⋅10¹⁴см⁻³. Образцы, на которых создавались детекторные структуры, имели размеры 6 × 6 мм². Выпрямляющие контакты диаметром 3.6 мм создавались вакуумным напылением двойного слоя Ni (толщиной 10 нм) и Au (толщиной 30 нм). Тыльный омический контакт был изготовлен напылением на всю заднюю поверхность тройного слоя Ti/Pt/Au толщинами 10, 30, 90 нм соответственно. Перед нанесением контактов поверхность образцов последовательно промывалась ацетоном, изопропиловым спиртом и деионизованной водой [6, 7].
Измеренные вольт-фарадные характеристики (ВФХ) показали, что напряжение полного обеднения для Si-ППД (Uo) равно 50 В, а для SiC-ППД Uo = 130 В. При этом из зависимостей энергетического разрешения (DЕ = FWHM) от приложенного напряжения было установлено, что рабочее напряжение составляет для Si- и SiC-детекторов соответственно 100 и 350 В. Для всех исходных (необлученных) детекторов энергетическое разрешение, измеренное при рабочих напряжениях с помощью α-источника ²³⁹Pu (E ≈ 5.5 МэВ), не превышало 25 кэВ. При этом разброс в значениях коэффициента (эффективности) собирания заряда h при указанных напряжениях не превышал 1%.
3. РЕЗУЛЬТАТЫ ИЗМЕРЕНИЙ ПОСЛЕ НЕЙТРОННОГО ОБЛУЧЕНИЯ
Облучение образцов проводилось на реакторе ИБР-2 ОИЯИ [8] пучком нейтронов (Еn ~ 0.5 эВ–14 МэВ) с интегральными потоками Ф = 5.1⋅10¹³, 5.4⋅10¹⁴ и 3.4⋅10¹⁵ н/см² (1 МэВ/Si [4]). Для исследований до и после облучения использовались по одному детектору на основе Si и SiC. Спектрометрические характеристики исследуемых детекторов определялись с помощью α-источника²²⁶Ra (Еa ≈ 4.8, 5.5, 6.0, 7.7 МэВ). Контроль за стабильностью шкалы спектрометрического тракта осуществлялся с помощью генератора точной амплитуды ОRTEC 419 (погрешность менее 3⋅10⁻⁵). Измерения характеристик исследуемых детекторов выполнялись при Т ≈ 21°С.
Измерения показали, что если для SiC-ППД при максимальном потоке Ф = 3.4⋅10¹⁵ н/см² наблюдается существенная деградация их спектрометрических свойств, то для кремниевых детекторов аналогичный эффект проявляется при Ф = 5.1⋅10¹³н/см². При этом Si-детекторы, облученные потоком Ф = 5.4⋅10¹⁴ н/см², полностью теряли счетную способность при регистрации α-частиц.
Рис. 1. Зависимости емкости С (1–4) и параметра С⁻² (5–8) от приложенного напряжения для SiC-детекторов: 1, 5 – необлученный образец; 2, 6 – детектор, облученный потоком Ф = 5.1⋅10¹³ н/см²; 3, 7 – Ф = 5.4⋅10¹⁴ н/см², 4, 8 – Ф = 3.4⋅10¹⁵ н/см².
На рис. 1 и 2 показаны зависимости емкости С и параметра С⁻² от приложенного напряжения, которые были измерены на исходных и облученных SiC- и Si-образцах. Измерения емкости выполнялись на частотах F = 0.1 МГц и F = 1 МГц, при этом полученные результаты совпали с высокой точностью. Измерение ВФХ выполнялось с помощью анализатора параметров Keithley 4200A-SCS в автоматическом режиме с шагом 1 В, при этом значение емкости определялось с погрешностью 10–6.
Рис. 2. Зависимости емкости С (1, 2) и параметра С⁻² (3, 4) от приложенного напряжения для Si-детекторов: 1, 3 – необлученный образец; 2, 4 – детектор, облученный потоком Ф = 5.1⋅10¹³ н/см².
Видно, что значение емкости, измеренное на облученных образцах, постоянно и практически совпадает по величине с данной характеристикой на исходных детекторах при напряжении полного обеднения Uo. В этом случае обеспечивается растяжка чувствительной области на полную толщину Si-образца и эпитаксиального слоя SiC-детектора. Данный эффект обусловлен тем, что в результате нейтронного облучения в полупроводниковых кристаллах образуются радиационные повреждения (точечные дефекты, кластеры), которые выполняют роль акцепторных примесей. За счет этих дефектов происходит изменение эффективной концентрации легирования (компенсация) исходного материала. В результате проводимость чувствительного слоя SiC-детекторов становится близкой к собственной [9, 10], а в Si-образцах происходит инверсия проводимости от n-типа к высокоомному р-типу [11].
Рис. 3. Спектры ²²⁶Ra, измеренные с помощью SiC-детекторов: а — необлученный образец; б, в, г — детекторы, облученные соответственно нейтронными потоками Ф = 5.1⋅10¹³, 5.4⋅10¹⁴ и 3.4⋅10¹⁵ н/см².
Рис. 4. Спектры ²²⁶Ra, измеренные с помощью Si-детекторов: а — необлученный образец, б — детектор, облученный нейтронным потоком Ф = 5.1⋅10¹³ н/см².
На рис. 3, 4 представлены спектры источника ²²⁶Ra, полученные на исходных (до облучения) образцах и облученных детекторах, изготовленных соответственно из SiC и Si. Измерения проводились при напряжениях 350 В (рис. 3) и 100 В (рис. 4). Врезки на рис. 3г, 4б более детально демонстрируют измеренные спектры при соответствующих потоках. Как отмечалось выше, на рис. 4 не показаны спектры для Si-ППД, облученных потоками 5.4⋅10¹⁴ и 3.4⋅10¹⁵ н/см², так как эти образцы сильно деградировали.
Рис. 5. Зависимость энергетического разрешения от приложенного напряжения для SiC-детекторов: 1 — необлученный образец (правая ось), 2, 3, 4 — детекторы, облученные соответственно нейтронными потоками 5.1⋅10¹³, 5.4⋅10¹⁴ и 3.4⋅10¹⁵ н/см² (левая ось).
Рис. 6. Зависимость энергетического разрешения (1, 3, правая ось) и эффективности собирания заряда (2, 4, левая ось) от приложенного напряжения для Si-детекторов: 1, 2 — необлученный образец, 3, 4 — детектор, облученный потоком 5.1⋅10¹³ н/см².
На рис. 5 и 6 показаны зависимости энергетического разрешения от приложенного напряжения для исследуемых SiC- и Si-детекторов. Разрешение определялось по a-пику с энергией Еa ≈ 7.7 МэВ. Постоянная времени формировки сигнала составляла t = 1 мкс.
Необходимо указать, что для Si-детекторов облучение a-частицами выполнялось со стороны переднего (р+) и заднего (n+) контактов. При этом как значения энергетического разрешения, так и формы спектров для этих измерений полностью совпали.
На рис. 3-6 видно, что с увеличением нейтронного потока ухудшается энергетическое разрешение. Для SiC-ППД энергетическое разрешение составило DЕ ≈ 480 кэВ (U = 350 В) при максимальном потоке 3.4⋅10¹⁵ н/см², что приблизительно в 20 раз больше исходного значения 25 кэВ. Для Si-ППД при минимальном потоке 5.1⋅10¹³ н/см² разрешение оказалось на уровне примерно 1900 кэВ (U = 100 В), что практически в 80 раз превышает значение указанного параметра на необлученном образце, равное 25 кэВ.
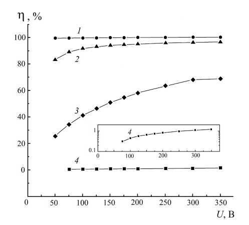
При этом с увеличением дозы облучения пики от регистрируемых a-частиц смещаются в сторону меньших каналов, что указывает на уменьшение амплитуды сигнала. На рис. 6, 7 показаны зависимости эффективности собирания заряда h [12] при регистрации a-частиц с Е ≈ 7.7 МэВ от приложенного напряжения на исследуемых образцах. За h = 100% принято значение, полученное на исходных Si- и SiC-детекторах при напряжениях 100 и 350 В.
Рис. 7. Зависимость эффективности собирания заряда от приложенного напряжения для SiC-детекторов: 1 — необлученный образец, 2, 3, 4 — детекторы, облученные соответственно потоками 5.1⋅10¹³, 5.4⋅10¹⁴ и 3.4⋅10¹⁵ н/см².
Необходимо указать, что погрешности в определении энергетического разрешения и эффективности собирания заряда, зависимости которых от напряжения представлены на рис. 5–7, составляют не более 2 и 1% соответственно. Поэтому размеры значков экспериментальных точек на этих рисунках превышают указанные погрешности.
Согласно данным, приведенным на рис. 6, эффективность сбора заряда для Si-детектора, облученного нейтронным потоком Ф = 5.1⋅10¹³н/см², не превышает 1.5% (U = 100 В). Следовательно, этот детектор может работать только в счетном режиме при регистрации a-излучения. Полученный плохие спектрометрические характеристики (DЕ ~ 1900 кэВ, h ~ 1.5 %) Si-образца согласуются с ранее полученными результатами большого числа исследований кремниевых детекторов, которые облучались нейтронами [11].
Из представленных распределений для SiC-образцов на рис. 7 видно, что детектор, облученный нейтронным потоком Ф = 5.1⋅10¹³н/см²имеет эффективность сбора заряда h = 96% (диапазон напряжения 150—350 В), т.е. практически совпадает с величиной для необлученного образца. Также показано, что кривая 3, соответствующая потоку 5.4⋅10¹⁴н/см², медленно выходит на плато при напряжении 350 В и величина h достигает приемлемого значения для спектрометрии a-излучения, равного 70%. Для SiC-детектора, облученного потоком 3.4⋅10¹⁵ н/см², получено достаточно низкое значение параметра h ~ 1.5% при рабочем напряжении. Этот результат совпадает с величиной h для кремниевого детектора, облученного практически на два порядка меньшим нейтронным потоком 5.1⋅10¹³н/см². В табл. 1 для сравнения представлены спектрометрические характеристики исследуемых детекторов на основе кремния и карбида кремния, измеренные с помощью α-источника 226Ra.
Таблица 1. Спектрометрические характеристики исследуемых Si- и SiC-детекторов
Ф, н/см² | 0 | 5.1⋅10¹³ | 5.4⋅10¹⁴ | 3.4⋅10¹⁵ |
DЕ, кэВ | ||||
Si-ППД | 25 | 1900 | - | - |
SiC-ППД | 25 | 55 | 220 | 480 |
h, % | ||||
Si-ППД | 100 | 1.5 | - | - |
SiC-ППД | 100 | 96 | 70 | 1.5 |
Полученные данные по радиационной стойкости SiC-детекторов согласуются c результатами работы [13], в которой облучение карбид-кремниевых образцов (эпитаксиальный слой 20 мкм, рабочие размеры 1×5 мм²) выполнялось нейтронными потоками (En ≤ 14 МэВ) Ф = 1.3⋅10¹⁴ и 7.3⋅10¹⁴ н/см². Эффективность собирания заряда при напряжении U = 300 В для указанных условий облучения составила 92 и 77% соответственно.
4. ЗАКЛЮЧЕНИЕ
Представлены характеристики детекторов на основе SiC и Si, которые облучались потоками нейтронов Ф = 5.1⋅10¹³, 5.4⋅10¹⁴ и 3.4⋅10¹⁵ н/см². Экспериментально установлено, что после облучения потоком 5.1⋅10¹³ н/см² емкость всех образцов не изменяется с увеличением напряжения и совпадает по величине с этой характеристикой на необлученных детекторах, работающих в режиме полного обеднения. Этот эффект обусловлен тем, что радиационные повреждения (дефекты), возникающие при нейтронном облучении, приводят к изменению концентрации легирования полупроводника, т.е. проводимость чувствительного слоя детекторов становится близкой к собственной.
Показано, что для Si-детекторов, облученных потоком Ф = 5.1⋅10¹³н/см², наблюдается существенное ухудшение их спектрометрических характеристик при регистрации a-частиц в диапазоне энергий примерно от 4 до 8 МэВ. Аналогичный эффект для SiC-детекторов проявляется при существенно большем (практически на два порядка) нейтронном потоке Ф = 3.4⋅10¹⁵ н/см². Установлено, что после облучения потоком Ф = 5.4⋅10¹⁴ н/см² SiC-образцы обладают приемлемыми значениями энергетического разрешения и эффективности собирания заряда (DЕ ≈ 220 кэВ, h = 70 %). При этом Si-детекторы, облученные аналогичным потоком, полностью теряют спектрометрические характеристики и могут работать только в счетном (дозиметрическом) режиме при регистрации a-частиц. Таким образом, показано, что по радиационной стойкости SiC-детекторы существенно превосходят приборы на основе кремния.
ФИНАНСИРОВАНИЕ РАБОТЫ
Работа выполнена при поддержке Министерства науки и высшего образования РФ, проект № FSWU-2023-0073.
About the authors
Ю. Б. Гуров
Объединенный институт ядерных исследований; Национальный исследовательский ядерный университет “МИФИ”
Author for correspondence.
Email: gurov54@mail.ru
Russian Federation, 141980, Дубна, Московская обл., ул. Жолио-Кюри, 6; 115409, Москва, Каширское ш., 31
М. С. Довбненко
Объединенный институт ядерных исследований
Email: gurov54@mail.ru
Russian Federation, 141980, Дубна, Московская обл., ул. Жолио-Кюри, 6
С. A. Евсеев
Объединенный институт ядерных исследований
Email: gurov54@mail.ru
Russian Federation, 141980, Дубна, Московская обл., ул. Жолио-Кюри, 6
Н. И. Замятин
Объединенный институт ядерных исследований
Email: gurov54@mail.ru
Russian Federation, 141980, Дубна, Московская обл., ул. Жолио-Кюри, 6
Ю. A. Копылов
Объединенный институт ядерных исследований
Email: gurov54@mail.ru
Russian Federation, 141980, Дубна, Московская обл., ул. Жолио-Кюри, 6
С. В. Розов
Объединенный институт ядерных исследований
Email: gurov54@mail.ru
Russian Federation, 141980, Дубна, Московская обл., ул. Жолио-Кюри, 6
Е. A. Стрелецкая
Объединенный институт ядерных исследований
Email: gurov54@mail.ru
Russian Federation, 141980, Дубна, Московская обл., ул. Жолио-Кюри, 6
Б. A. Чернышев
Национальный исследовательский ядерный университет “МИФИ”
Email: gurov54@mail.ru
Russian Federation, 115409, Москва, Каширское ш., 31
Л. Грубчин
Institute of Electrical Engineering, Slovak Academy of Science Slovakia
Email: gurov54@mail.ru
Slovakia, 841 04, Bratislava, Dubravska cesta, 9
Б. Затько
Institute of Electrical Engineering, Slovak Academy of Science Slovakia
Email: gurov54@mail.ru
Slovakia, 841 04, Bratislava, Dubravska cesta, 9
References
- Saddow S.E., Agarwal A. Advances in Silicon Carbide Processing and Applications. Boston, London: Artech House. Inc. Norwood. MA, 2004.
- Nava F., Bertuccio G., Cavallini G., Vittone E.S. // Meas. Sci. Technol. 2008. V. 19. P.102001.https://doi.org/10.1088/0957-0233/19/10/102001
- Napoli M.D. // Front. Phys. 2022. V. 10. P. 898833.https://doi.org/10.3389/fphy.2022.898833
- Zamyatin N.I., Cheremukhin A.E., Shafronovskaya A.I. // Phys. Part. Nucl. Lett. 2017. V. 14. P. 762.
- https://doi.org/10.1134/S1547477117050156
- Bloch P, Cheremukhin A., Golubkov S., Golutvin I., Egorov N., Konjkov K., Kozlov Y., Peisert A., Sidorov A., Zamiatin N. // IEEE Trans. 2002. V. NS-49. Р. 321.https://doi.org/ 10.1109/TNS.2002.998662
- Gurov Yu.B., Rozov S.V., Sandukovsky V.G., Yakushev E.A., Hrubcin L., Zat’ko B. // Instrum. Exp. Tech. 2015. V. 58. P. 22.https://doi.org/10.1134/S0020441215010054
- Hrubčín L., Gurov Yu.B., Zaťko B., Mitrofanov S.V., Rozov S.V., Sedlačková K., Sandukovsky V.G., Semin V.A., Nečasd V., Skuratov V.A. // J. Instrum. 2018. V. 13. P11005.https://doi.org/10.1088/1748-0221/13/11/P11005
- Bulavin M.V., Verkhoglyadov A.E., Kulikov S.A., Kula-gin E.N., Kukhtin V.V., Cheplakov A.P., Shabalin E.P. // Phys. Part. Nucl. Lett. 2015. V. 12. P. 344.https://doi.org/10.1134/S1547477115020077
- Sciortinoa S., Hartjesc F., Lagomarsinoa S., Navad F., Brianzib M., Cindroe V., Lanzierif C., Mollg M., Vannid P. // Nucl. Instrum. Methods. Phys. Res. A. 2005. V. 552. P. 138.https://doi.org/10.1016/j.nima.2005.06.017
- Castaldini A., Cavallini A., Rigutti L., Nava F. // Appl. Phys. Lett. 2004. V. 85. P. 3780.https://doi.org/10.1063/1.1810627
- Bruzzi M., Sadrozinski H.F., Seiden A. // Nucl. Instrum. Methods. Phys. Res. A. 2007. V. 579. P. 754.https://doi.org/10.1016/j.nima.2007.05.326
- Angelescu T., Cheremukhin A.E., Ghete V.M., Ghiordanescu N., Golutvin I.A., Lazanu S., Lazanu I., Mihul A., Radu A., Susova N.Yu., Vasilescu A., Zamyatin N.I. // Nucl. Instrum. Methods. Phys. Res. A. 1995. V. 357. P. 55.https://doi.org/10.1016/0168-9002(94)01534-1
- Liu L., Liu A., Bai S., Lv L., Jin P., Ouyang X. // Sci. Rep. 2017. V. 7. P.13376.https://doi.org/10.1038/s41598-017-13715-3
Supplementary files









