Improving the Efficiency of Solar Power Plants
- Authors: Strebkov D.S.1, Shogenov Y.K.2, Bobovnikov N.Y.3
-
Affiliations:
- Federal Scientific Agroengineering Center VIM
- Russian Academy of Sciences
- Scientific Director of Federal Scientific Agroengineering Center VIM
- Issue: Vol 30, No 3 (2020)
- Pages: 480-497
- Section: Mechanical engineering
- Submitted: 21.08.2025
- Accepted: 21.08.2025
- Published: 30.09.2020
- URL: https://ogarev-online.ru/2658-4123/article/view/305418
- DOI: https://doi.org/10.15507/2658-4123.030.202003.480-497
- ID: 305418
Cite item
Full Text
Abstract
Introduction. An urgent scientific problem is to increase the efficiency of using solar energy in solar power plants (SES). The purpose of the article is to study methods for increasing the efficiency of solar power plants.
Materials and Methods. Solar power plants based on modules with a two-sided working surface are considered. The reflection of solar radiation from the earth’s surface provides an increase in the production of electrical energy by 20% compared with modules with a working surface on one side. It is possible to increase the efficiency of using solar energy by increasing the annual production of electric energy through the creation of equal conditions for the use of solar energy by the front and back surfaces of bilateral solar modules.
Results. The article presents a solar power plant on a horizontal surface with a vertical arrangement of bilateral solar modules, a solar power station with a deviation of bilateral solar modules from a vertical position, and a solar power plant on the southern slope of the hill with an angle β of the slope to the horizon. The formulas for calculating the sizes of the solar energy reflectors in the meridian direction, the width of the solar energy reflectors, and the angle of inclination of the solar modules to the horizontal surface are given.
Discussion and Conclusion. It is shown that the power generation within the power range of 1 kW takes a peak value for vertically oriented two- ided solar modules with horizontal reflectors of sunlight at the installed capacity utilization factor of 0.45. At the same time, when the solar radiation becomes parallel to the plane of vertical solar modules, there is a decrease in the output of electricity. The proposed design allows equalizing and increasing the output of electricity during the maximum period of solar radiation.
Full Text
Введение
Cовременные солнечные электростанции содержат двухсторонние солнечные фотоэлектрические модули (СМ), установленные с ориентацией на юг в северном полушарии в несколько рядов на опорах над поверхностью земли, под углом к горизонту. СМ состоят из скоммутированных солнечных элементов из кремния с двухсторонней рабочей поверхностью, герметизированных с двух сторон защитным покрытием из стекла, и имеют коэффициент полезного действия (КПД) 22 % при освещении с фронтальной стороны и 19 % при освещении с тыльной стороны1[1; 2]. Отражение солнечного излучения от земной поверхности обеспечивает увеличение производства электрической энергии на 20 % по сравнению с модулями, имеющими рабочую поверхность с одной стороны 2 [3; 4]. Цель исследования – повышение эффективности использования солнечной энергии солнечными электростанциями.
Обзор литературы
Новые технологии играют главную роль в повышении эффективности использования солнечных электростанций. Рассмотрим наиболее важные достижения в этой области.
Национальная лаборатория возобновляемой энергетики США сообщила о рекордном значении КПД солнечных элементов на основе гетероструктур (47 %) при концентрированном солнечном излучении3.
Солнечные элементы на основе кремния, которые занимают более 90 % рынка, имеют максимальный КПД в лабораторных условиях 26,7 % при освещении неконцентрированным солнечным излучением. Производство солнечных элементов на основе монокристаллического кремния составляет 30,2 %, на основе мультрикристаллического кремния – 60,8 %, тонкопленочной технологии – 4,5 %4.
Создание солнечных модулей с двухсторонней рабочей поверхностью позволяет увеличить производство электроэнергии на 20 % за счет использования отраженного от Земли солнечного излучения тыльной поверхностью солнечного модуля. Двухсторонние солнечные модули прозрачны для инфракрасной части солнечного спектра за краем полосы поглощения (1,15 мкм для кремния). Это приводит к снижению рабочей температуры солнечного модуля и к повышению КПД. Российские ученые впервые в мире испытали двухсторонние солнечные модули в 1970 г. на межпланетной станции Венера-75.
Высоковольтные солнечные батареи с напряжением 10–20 В/см2 рабочей поверхности позволяют снизить потери на коммутацию и потери при неравномерном освещении солнечных батарей, а также обеспечить питание высоковольтной аппаратуры и передачу энергии по высоковольтным линиям электропередач без промежуточных трансформаторов и преобразователей. В 1975 г. в России были проведены стендовые испытания плазменного ионного двигателя от солнечной батареи напряжением 32 кВ6.
Использование солнечных модулей с концентраторами солнечного излучения увеличивает эффективность солнечных электростанций. Можно сформулировать закономерность: для фотопреобразователей с линейной зависимостью тока от освещенности при одинаковой энергии поступающего излучения за определенный промежуток времени фотопреобразователи импульсного излучения при определенной скважности произведут больше электроэнергии, чем при постоянном освещении. Это было неоднократно подтверждено исследованиями солнечных элементов на основе гетероструктур и высоковольтных солнечных элементов с вертикальными p-n-переходами7.
Использование вертикально ориентированных двухсторонних солнечных модулей позволяет 95 % Земли использовать для сельскохозяйственных нужд, при этом увеличивается производство энергии за счет снижения попадания пыли и снега на вертикально ориентированные панели. Эффективным способом снижения затрат на землю при строительстве солнечных электростанций (СЭС) является расположение солнечных модулей на крышах и фасадах зданий, а также на водной поверхности8.
Использование солнечных теплоэлектроцентралей (ТЭЦ) с гибридными солнечными модулями для получения электрической энергии и теплоты увеличивает эффективность использования солнечной энергии с 20 % до 55 %9.
Технология герметизации солнечных модулей с помощью силиконовых гелей увеличивает срок службы в два раза с 20–25 лет до 40–50 лет, при этом за срок службы в два раза увеличивается производство электроэнергии по сравнению с модулями, герметизированными с помощью этиленвинилацетата (EVA). Модули с силиконовым гелем работоспособны в диапазоне температур от –60 °С до +110 °С, недоступном для модулей с EVA [5].
Одной из причин низкого коэффициента использования установленной мощности (КИУМ) является неработоспособность СЭС в ночное время и при наличии облаков. Увеличение КИУМ возможно за счет использования следящих за Солнцем устройств и выбора места расположения СЭС с высокими уровнями солнечной радиации. Если для Германии КИУМ составляет 0,15, то в Египте он может быть в 2 раза выше. В данной работе будет показано, что КИУМ СЭС в Египте может достигать рекордного значения 0,45 без применения следящих устройств.
Важнейшей задачей повышения эффективности использования СЭС является создание аккумулирующих устройств. Разрабатываются новые типы химических аккумуляторов и гравитационных накопителей энергии10. Совершенствуются каталитические методы получения водорода от СЭС с последующей подачей водорода в трубопроводную систему и хранилище природного газа11. Радикальным решением проблемы круглосуточного и круглогодичного использования СЭС без аккумулирующих устройств является предложенная российскими учеными глобальная солнечная энергосистема из трех электростанций мощностью 2,5 ТВт, площадью 200×200 км каждая, установленных в пустынях Австралии, Африки и Латинской Америки и соединенных с национальными энергосистемами с помощью резонансных однопроводных высокочастотных линий. Годовое производство электрической энергии глобальной солнечной энергосистемой составляет 25 000 ТВт∙ч, что эквивалентно существующему мировому энергопотреблению12.
В немецком Институте солнечных энергетических систем имени Фраунгофера (Germany’s Fraunhofer Institute for Solar Energy Systems ISE) разработаны новые способы внедрения датчиков механического напряжения и температуры в поверхность солнечных элементов (СЭ) фотоэлектрического модуля. Сведения, собранные сенсорами, позволят следить за степенью разрушения, деградации поверхности СЭ во времени и получать информацию о коэффициенте полезного действия модуля в зависимости от его температуры. Группа исследователей отметила, что новые устройства можно размещать без проблем на двух сторонах СЭ. Принцип действия датчиков напряженности основан на пьезорезистивном эффекте: сенсор реагирует на механическое напряжение, изменяя свое электрическое сопротивление. Приборы успешно работали в диапазоне температур от –35 °С до +85 °С. Исследователи сообщили, что устройства проверены при испытаниях в ходе 145 температурных циклов [6].
В Германии объявлено о наименьшей цене для солнечной электроэнергии, которая составила 0,0355 евро за кВт∙ч (0,038315 долларов США). Эта цена была получена при проведении тендера по фотоэлектрическим проектам мощностью от 750 кВт до 10 МВт. Общая мощность генерации резервирована в размере 100,6 МВт. Bundesnetzagentur объявило о реализации 18 солнечных проектов общей мощностью генерации 100,6 МВт. В Баварии осуществлены 13 из 18 проектов по солнечной энергетике с общей мощностью 75 МВт. Это говорит о быстром развитии солнечной энергетики в Германии13.
Правительство Германии осенью 2019 г. утвердило «Программу по защите климата» (Klimaschutzprogramm 2030), основные положения которой были зафиксированы в «Климатическом пакете». Еще раз подтверждено, что к 2030 г. доля возобновляемых источников энергии в потреблении электроэнергии в стране должна достичь 65 %14.
Объединенные Арабские Эмираты в Дубае открыли новый центр исследований и разработок на базе Солнечного парка имени Мохаммеда ибн Рашид аль-Мактума. В частности новая организация занимается исследованиями по влиянию климатических условий пустыни на работу солнечных модулей и других компонентов СЭС. Центр включает в себя лабораторию, исследующую электрические характеристики, лабораторию механических характеристик, лабораторию материалов, лабораторию имитации Солнца, лабораторию для исследования ускоренных испытаний СЭС15.
Китайская компания LONGi Green Energy Technology Co присоединилась к мировой инициативе RE100, которая объединяет 500 крупнейших организаций мира, таких как Apple, Google, Facebook, Coca-Cola, Microsoft, Philips и Goldman Sachs. Члены инициативы обязуются перевести свои производственные мощности на электроснабжение от возобновляемых источников, например Солнца. LONGi Green Energy Technology Co активно развивает производство солнечных электростанций, в настоящее время построены СЭС мощностью свыше 2 ГВт16.
Научно-технический центр (НТЦ) тонкопленочных технологий в энергетике России утверждает, что его исследователям удалось создать коммерчески выгодные структуры A3B5 на кремниевой подложке. Ученые сообщают, что получили верхний слой СЭ, интегрированный на кремниевое основание, при увеличении фотоактивных слоев увеличится эффективность СЭ, так как каждый новый слой будет более полно поглощать свою часть солнечного спектра17.
Компания «Хевел» впервые в России построила Бурзянскую СЭС с промышленными накопителями электроэнергии. Мощность СЭС 10 МВт, система накопления электроэнергии имеет мощность 8 МВт. Станция может работать автономно и параллельно с сетью электроснабжения. Бурзянская СЭС способна в течение 6 часов снабжать автономно электроэнергией больницы, школы, детские сады и другие социальные объекты Бурзянского района Республики Башкортостан. В СЭС используются аккумуляторные ячейки «Лиотех» емкостью 300 кВт∙ч18.
Начало развития солнечных электростанций в России связывают с введением в эксплуатацию Кош-Агачской СЭС в 2014 г. Мощность электростанции 5 МВт. Солнечная энергетика до 2014 г. не превышала 2, 3 МВт в России. После учета крымских СЭС мощность СЭС в России увеличилась на 227,4 МВТ в 2014 г. и на 179,7 ГВт в 2015 г. К концу 2019 г. общая мощность СЭС в РФ достигла 1 418 МВт. Доля СЭС в установленной мощности электростанций Единой Энергетической Системы России достигла 0,55 %19.
В России пользуется популярностью китайский производитель Sunny Energy, выпускающий солнечные модули серии Exmork. Монокристаллические модели стоят от 5 500 руб. до 10 000 руб., Поликристаллические модели представлены следующими моделями «Exmork ФСМ-100П» от 4 000 руб., «Exmork ФСМ-250П» от 10 000 руб.
Немецкий производитель в России представлен компанией AXITEC: солнечные модули «AC-270P/156-60S» от 19 000 руб. до 24 000 руб. Южнокорейская компания SUNWAYS выпускает модули «ФСМ» стоимостью от 3 600 руб. до 16 000 руб.
Отечественный производитель представлен следующим оборудованием для получения электроэнергии от альтернативных источников. Компания «Телеком-СТВ» производит модели «ТСМ-14» по цене от 3 500 руб. до 23 000 руб. Компания «Хевел» производит модели HEVEL HVL по цене от 3 500 руб. до 5 000 руб. «Рязанский завод металлокерамических приборов» делает два типа солнечных модулей: «RZMP 130-T» по цене от 14 000 руб. и «RZMP 220-T» по цене от 19 000 руб.
Китайская фирма Trina Solar Co., Ltd объявила о выпуске новой серии СМ в 415 Вт максимальной мощности20.
Кроме того, Trina Solar Co., Ltd представила двухсторонние солнечные модули Duomax V с двойным остекленением и Tallmax V. Они основаны на 210-миллиметровых монокристаллических СЭ, созданных по технологии PERC. Новые СМ с выходной мощностью более чем 500 Вт имеют эффективность 21 %. Предварительные оценки для крупных наземных СЭС, установленных в китайской провинции Хэйлунцзян, позволяют утверждать, что замена 410 Вт двухсторонних модулей с двойным остекленением на 500 Вт (солнечные модули Duomax V) уменьшит прочие расходы (BoS) на 6–8 % и приведенную стоимость электроэнергии (LCoE) на 3–4 %. Компания планирует достигнуть массового производства в третьем квартале с размерами производства выше 5 ГВт. Trina Solar Co., Ltd подписала соглашения о стратегическом объединении с POWERCHINA Jiangxi Electric Power Construction, China Energy Engineering Investment’s Heilongjiang branch, Shouguang Power Investment Haobang New Energy, SEPCOIII Electric Power Construction и другими компаниями с целью развертывания производства новых солнечных модулей21.
Польша в начале 2019 г. имела СЭС мощностью 300 МВт, но к концу декабря вышла на показатели, превышающие 1 ГВт. За один год было введено в эксплуатацию СЭС мощностью 800 МВт. Польское правительство поддерживает коммерческое и промышленное использование солнечных энергоустановок, строительство СЭС22.
Крупнейшая плавучая СЭС в Европе была введена в эксплуатацию на территории южной Франции, ознаменовав новый рубеж в развитии солнечной энергетики. Проект O’MEGA1 ‒ это солнечная электростанция мощностью 17 МВт, расположенная в Пьоленке, вблизи городов Оранж и Авиньон. Станция способна обеспечить электроэнергией 4 733 дома и снизить выбросы CO2 в атмосферу на 1 096 тонн. Отмечается, что это небольшая величина, по сравнению с морскими ветряными электростанциями мощностью 1 500 МВт в Hywind (Шотландия), которые обеспечивают электроэнергией 1 миллион домов. Но подобные проекты, возможно, начнут появляться в большем количестве в ближайшее время. Потенциал плавучих СЭС для Франции оценивается в размере 20 ГВт мощности23.
Возобновляемая энергетика в 2019 г. получила 176 ГВт мощности, что несколько меньше количества мощности 179 ГВт, введенного за 2018 г. Однако это составляет 72 % от всей энергетической мощности, введенной в прошлом году согласно данным Международного агентства возобновляемой энергии. Наибольший рост наблюдался в Азии, где мощности на основе возобновляемой энергии составили 54 % от всех, введенных в эксплуатацию. 70 % от всей введенной в эксплуатацию мощности энергоустановок в 2019 г. используют возобновляемые виды энергии; это характерно для всех регионов мира, за исключением Африки и Ближнего Востока, где ввод мощностей на основе возобновляемых видов энергии составил 52 % и 26 % соответственно. Солнечная энергетика в 2019 г. увеличилась на 98 ГВт, 60 % СЭС установлено в Азии. Солнечная и ветровая энергетика составляют более половины всей мощности электростанций, использующих возобновляемые виды энергии в мире, соответственно 623 ГВт и 586 ГВт. Гидроэнергетика, биоэнергетика, геотермальная и морская энергетика продемонстрировали скромное годовое увеличение в 12 ГВт, 6 ГВт, 700 МВт и 500 МВт соответственно. Отмечается, что Азия продолжает лидировать на рынке солнечной энергетики, увеличив мощности на 56 ГВт. Другими лидерами по расширению использования солнечной энергетики являются США, Австралия, Испания, Украина и Германия24.
Вблизи южного египетского города Асуана расположена СЭС Бенбан одного из крупнейших солнечных парков в мире, оцениваемого в 2,1 миллиарда долларов. Установленная на настоящий момент электрическая мощность СЭС Египта составляет 50 ГВт, доля возобновляемой энергетики должна составить 20 % к 2022 г. и 42 % к 2035 г. Отмечается, что СЭС нуждается в чистящих машинах и правильном техническом обслуживании, для которого не требуется большое количество рабочих25.
Всемирный банк опубликовал доклад, в котором содержатся сведения о том, что 13 % населения нашей планеты не имеют доступа к электричеству. В документе отмечается поразительно быстрый рост доступа к электрической энергии в густонаселенных странах. В Индии в 1990 г. доступ к электричеству имели 43 % всех ее жителей, в то время как к 2016 г. – 85 %. Отмечается, что только 8,8 % населения республики Чад пользовались электричеством в 2016 г.26
19 января 2020 г. в Катаре состоялась церемония подписания соглашения о строительстве фотоэлектрической солнечной электростанции мощностью 800 МВт (КИУМ = 31), объем инвестиций в которую оценивается в 467 млн долларов. Французская компания Electricite de France’s и китайская фирма Jinko Solar выиграли тендер на строительство СЭС Al Dhafra Solar PV мощностью 2 ГВт, которая с 2022 г. будет поставлять электроэнергию по рекордно низкой цене 1 доллар 35 центов за киловатт-час27.
Правительство Алжира приняло решение присоединиться к немецкому проекту Desertec. Это проект ряда немецких лидирующих компаний с целью создания громадной сети ветровых и солнечных электростанций в Северной Африке и на Ближнем Востоке в течение сорока лет, которая будет обеспечивать электроэнергией Европу на 15 % от ее общего электропотребления28.
Ежегодный мировой саммит в Абу-Даби, посвященный будущему энергетики, запланирован на 18–21 января 2021 г. В саммите примут участие 800 фирм, 33 500 посетителей из 170 стран мира29.
Украинские компании, работающие на рынке производства солнечных электростанций, – «Солнечный ветер» (Solar Wind) и «Sun Power». Монокристаллические модули имеют следующие цены: «ALTEK ALM» – от 350 $ до 260 $. Поликристаллические модули «KDM-050P-36» имеют стоимость от 50 $ до 200 $30.
Международное Энергетическое Агентство (МЭА) ожидает снижение мирового потребления энергии, которое будет самым масштабным со времен Второй мировой войны. Более 4,2 млрд человек во всем мире находятся в различных формах изоляции для замедления распространения коронавируса. Агентство прогнозирует снижение спроса на энергию в течение года на 6 %. Рост источников энергии в этом году будет только в сфере возобновляемой энергетики. Производство электроэнергии на энергоустановках, основанных на возобновляемых источниках энергии, выросло на 3 % в первом квартале и составило почти 28 % поставок электроэнергии по сравнению с 26 % годом ранее. В течение года МЭА ожидает, что производство электроэнергии вырастет на 5 %, а общее использование возобновляемой энергии в мире увеличится на 1 %31. Прогнозируется, что мировой спрос на уголь снизится на 8 % в 2020 г.32
В другой работе показано, что перспективы развития фотоэлектрического метода преобразования солнечной энергии связаны с созданием двухсторонних солнечных модулей, а также солнечных модулей с использованием полисилоксановых герметиков, высоковольтных кремниевых солнечных модулей напряжением 1 000 В, оптико-концентрирующих систем на основе линейных жалюзийных гелиостатов и прочее [7]. Рассмотрены результаты реализации программы «Один миллион солнечных крыш» и создания глобальной солнечной энергосистемы с годовым производством электроэнергии 24 000 ТВт∙ч. Представлены примеры использования солнечных фотоэлектрических электростанций (СФЭС) для автономного электроснабжения жилых домов и сельскохозяйственных объектов. Определены условия, при которых СФЭС могут конкурировать с традиционной энергетикой, использующей ископаемое топливо.
Показана динамика роста установленной мощности СЭС. Приведены необходимые формулы для расчета стоимости установленной мощности, стоимости электрической энергии. Рассмотрено влияние срока службы на технико-экономические параметры СЭС [8].
Приведены примеры автономного энергоснабжения жилых домов отдаленных животноводческих комплексов Кабардино-Балкарской Республики и условия, при которых СЭС могут конкурировать с СГЭС и ТЭЦ [9].
Представлены результаты исследований высоковольтных солнечных модулей для преобразования концентрированной солнечной радиации. Рассмотрены их электрические и оптические характеристики [10]. Высоковольтные солнечные модули выполнены на основе матричных кремниевых солнечных элементов с вертикальными p-n-переходами, имеют рабочее напряжение 840 В и КПД 25 %. Высоковольтные солнечные модули могут быть использованы для создания солнечных электростанций с выходным рабочим напряжением 110–500 кВ, которые могут быть подключены к линиям электропередачи постоянного тока без повышающих трансформаторов и преобразователей переменного тока в постоянный.
Показано, что использование современных устройств слежения за положением Солнца увеличивает производство электрической энергии на 20–25 % [11].
Министр энергетики Израиля Ю. Штайниц сообщил, что целевой показатель использования возобновляемых источников энергии в Израиле в 2030 г. возрастет с 17 % до 30 % за счет солнечной энергии, а инвестиции в экологически чистую энергию возрастут на 23 млрд долларов33.
Материалы и методы
Одной из проблем повышения эффективности употребления солнечной энергии двухсторонними СМ является недостаточное использование солнечной энергии тыльной рабочей поверхностью модулей. Следствием этого является недостаточное увеличение годовой производительности СЭС34 [1; 2].
Повышение эффективности использования солнечной энергии приводит к увеличению годового производства электрической энергии за счет создания равных условий для использования солнечной энергии фронтальной и тыльной поверхностью двухсторонних СМ. В результате увеличивается электрическая мощность СЭ и годовое производство электрической энергии35. Этого можно добиться путем вертикальной установки в несколько рядов на опорах над поверхностью Земли двухсторонних СМ в солнечной электростанции, которые ориентированы рабочей поверхностью на восток и запад и установлены на горизонтальной поверхности в экваториальной области от 30º ю.ш. до 30º с.ш. в меридиональном направлении [12]. При этом между рядами двухсторонних СМ в этом направлении установлены дополнительные опоры, которые, как и основные опоры, имеют две группы отражателей солнечной энергии с коэффициентом отражения 0,80–0,95, двухгранный угол между ними γ = 120–180º. Размеры отражателей солнечного излучения равны расстоянию между опорами, расположенными по углам. Расстояние между рядами двухсторонних солнечных модулей и их высота h связаны соотношением:
где l – расстояние между рядами двухсторонних модулей, м; h – высота двухсторонних модулей, м.
Длина L отражателей солнечной энергии в меридиональном направлении определяется соотношением:
(2)
где H – общая длина одного ряда двухсторонних солнечных модулей, м.
Ширина D отражателей солнечной энергии определяется соотношением:
D = n · l, (3)
где n – число рядов двухсторонних солнечных модулей.
Солнечные модули устанавливаются вертикально или с отклонением их плоскости от вертикальной на 10–20º в противоположных направлениях. Рефлекторы могут быть выполнены зеркальными или в виде диффузных отражателей.
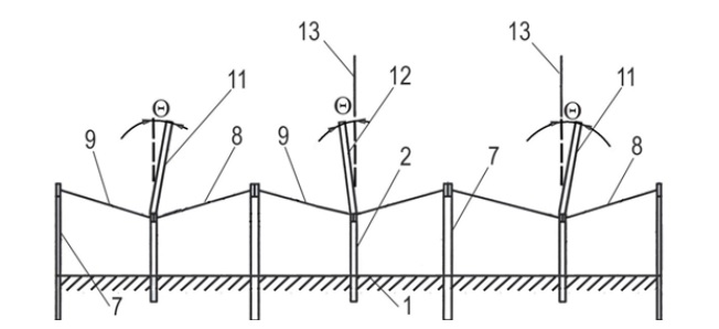
СЭС на рисунке 1 расположена на горизонтальной поверхности 1 в экваториальной зоне от 30º ю.ш. до 30º с.ш. и содержит установленные в несколько рядов вертикально на опорах 2 двухсторонние СМ 3, у которых рабочие поверхности 4 и 5 ориентированы на восток и запад. Плоскости двухсторонних СМ 3 расположены в меридиональной плоскости 6 «север – юг». Между рядами двухсторонних СМ 3 в меридиональной плоскости 6 установлены дополнительные опоры 7, на которых размещены две группы зеркальных отражателей солнечной энергии 8 и 9 с двухгранным углом γ между ними.
расположением двухсторонних солнечных модулей (поперечное сечение)
Fig. 1. A solar power plant on a horizontal surface with a vertical arrangement of two-sided solar
modules (cross-section)
Отражатели солнечной энергии 8 и 9 закреплены по углам 10 на опорах 2 и 7. Расстояние между рядами двухсторонних СМ 3 и высота h двухсторонних СМ 3 связаны соотношением (1).
В СЭС на рисунке 2 плоскости двухсторонних СМ 11 и 12 в соседних рядах отклонены от вертикальной плоскости 13 в противоположные стороны на угол Θ.
от вертикального положения
Fig. 2. A solar power plant with a deviation of two-sided solar modules from the vertical position
На рисунках 1–3 длина отражателей солнечной энергии 8 и 9 в меридиональном направлении 6 превышает длину двухсторонних СМ 3 в меридиональном направлении на D = . С северной 14 и с южной сторон СЭС расстояние между торцом 16 модуля 3 и краем 17 отражателей солнечной энергии равно .
Результаты исследования
Увеличение площади отражателей солнечной энергии с северной и южной сторон СЭС позволяет отражать солнечную энергию на двухсторонние СМ 3 в течение года от зимнего солнцестояния 22 декабря до летнего солнцестояния 22 июня. На рисунках 1–3 отражатели солнечной энергии 8 и 9 размером · L установлены также с восточной и западной сторон крайних рядов двухсторонних СМ 3 для обеспечения их двухстороннего освещения солнечным излучением от отражателей солнечной энергии.
Таким образом, общая длина L отражателей солнечной энергии 8 и 9 в меридиональном направлении «север – юг» определяется согласно формуле (2).
Общая ширина D в широтном направлении «восток – запад» равна:
D = n · l, (5)
где l – расстояние между рядами двухсторонних модулей, м; n – число рядов двухсторонних солнечных модулей.
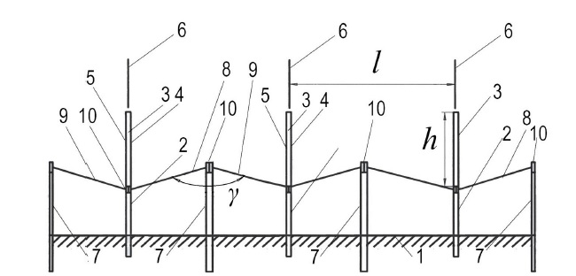
На рисунке 4 СЭС установлена в северном полушарии или на южном склоне 18 холма под углом к горизонтальной поверхности:
β = φ – Δ,
где φ – широта местности; Δ – отклонение 0‒24º.
Fig. 4. Solar power plant on the southern slope of the hill with the slope angle β to the horizon
Двухсторонние СМ 3 установлены на склоне 18 холма на опорах 2 в меридиональной плоскости 6 в несколько рядов. Дополнительные опоры 7 установлены в меридиональной плоскости 6 на склоне 18 холма между рядами двухсторонних СМ 3. Отражатели солнечной энергии 8 и 9 установлены на опорах 2 и 7, как на рисунках 1–3.
В таблице 1 и на рисунке 5 представлены результаты компьютерного моделирования параметров СЭС, установленной в пустыне Сахара около г. Луксора (Египет), в зависимости от ориентации СМ с односторонней или двухсторонней рабочей поверхностью, рассчитанные с учетом метеорологических данных по солнечной радиации в г. Луксоре и альбедо пустыни Сахара α = 0,3, а также с альбедо α = 0,9 при использовании отражателей36.
Таблица 1 Производство электроэнергии солнечной электростанции в пустыне Сахара (г. Луксор, Египет) (компьютерное моделирование), кВт·ч/кВт
Table 1 Electricity generation of a solar power plant in the Sahara desert (Luxor, Egypt) (computer simulation), kW·h/kW
Ориентация панели/Свойства / Panel orientation/Properties | I | II | III | IV | V | VI | VII | VIII | IX | X | XI | XII | Год |
Горизонтальная поверхность / Horizontal surface | 119,3 | 140,7 | 192,7 | 209,4 | 225,4 | 239,6 | 241,5 | 227,3 | 196,4 | 164,1 | 128,8 | 112,5 | 2197,7 |
| Стационарные панели, ориентированные на юг / Fixed panels oriented to the south | ||||||||||||
Вертикальная поверхность / Vertical surface | 157,0 | 148,0 | 135,9 | 87,3 | 66,6 | 56,0 | 62,8 | 85,1 | 119,9 | 158,0 | 166,1 | 159,6 | 1402,4 |
Наклон 25° / Tilt 25° | 164,4 | 179,9 | 218,8 | 210,2 | 206,9 | 209,8 | 218,2 | 222,8 | 215,3 | 202,9 | 176,7 | 160,1 | 2386,1 |
| Двухсторонние вертикальные панели, фронтальная сторона на юг / | ||||||||||||
Альбедо 28‒32 % / | 184,7 | 176,3 | 172,8 | 132,7 | 135,7 | 139,2 | 136,3 | 137,7 | 156,9 | 192,8 | 194,2 | 185,6 | 1945,0 |
Альбедо 90 % / Albedo 90% | 255,7 | 260,1 | 287,5 | 257,3 | 263,4 | 272,6 | 273,1 | 268,6 | 273,8 | 287,3 | 268,4 | 252,6 | 3220,5 |
| Двухсторонние вертикальные панели, фронтальная сторона на восток/запад / Double-sided vertical panels, front side facing east/west | ||||||||||||
Альбедо 28‒ 32 % / Albedo 28-32% | 156,3 | 178,7 | 235,6 | 246,8 | 266,2 | 280,2 | 282,6 | 269,8 | 237,5 | 209,3 | 170,1 | 149,0 | 2682,1 |
Альбедо 90 % / Albedo 90% | 227,3 | 262,4 | 350,3 | 371,5 | 393,8 | 413,6 | 419,4 | 400,7 | 354,4 | 303,8 | 244,3 | 216,0 | 3957,5 |
панелей южной ориентации в окрестностях Луксора (Египет)
Fig. 5. Estimated annual amounts of total solar radiation on the surface of stationary southern
orientation panels in the vicinity of Luxor (Egypt)
КПД преобразования солнечной энергии на тыльной поверхности двухстороннего СМ принимается равным 0,92 от КПД фронтальной поверхности. Коэффициент отражения (альбедо) отражателей солнечной энергии равен 0,9.
Обсуждение и заключение
Из таблицы 1 следует, что годовое производство электроэнергии в киловатт-часах СЭС пиковой мощностью 1 кВт имеет максимальное значение для вертикально ориентированных в меридиональном направлении двухсторонних СМ с горизонтальными отражателями солнечной энергии, а коэффициент использования установленной мощности КИУМ составит 0,45.
Экспериментальные исследования показали, что в полдень, когда солнечное излучение находится в меридиональной плоскости и солнечное излучение параллельно плоскости вертикально установленных двухсторонних солнечных модулей, имеет место снижение производства электроэнергии в течение 1–2 часов. Для повышения производства электроэнергии в полдень и выравнивания графика производства электроэнергии, согласно рисунку 2, плоскости двухсторонних СМ отклонены от вертикального положения в соседних рядах в противоположные стороны на 10–20º, что позволяет увеличить производство электроэнергии в период максимального прихода солнечной радиации на поверхность земли. Вертикальное расположение СМ позволяет более эффективно использовать пространство между модулями для сельскохозяйственного производства, снизить попадание песка и снега на поверхности СЭС, уменьшить затраты на монтажные работы и эксплуатационные расходы.
Таким образом, рассмотрены основные направления повышения эффективности солнечных электростанций. Разработаны конструкции солнечной электростанции, в которых достигнуто повышение эффективности преобразования солнечного излучения и энергопроизводительности на 50 % за счет вертикального расположения активных поверхностей солнечных модулей, их ориентации на восток – запад и увеличения альбедо подстилающей поверхности. Высокий КПД двухсторонних солнечных модулей более 20 % и КИУМ = 0,45 позволяет снизить стоимость электроэнергии и обеспечить надежное электроснабжение потребителей. Вертикальное расположение солнечных модулей позволяет эффективно использовать пространство между модулями для сельскохозяйственного производства, снизить попадание песка и снега на поверхности солнечной электростанции, уменьшить затраты на монтажные работы и эксплуатационные расходы. Дальнейшие исследования направлены на повышение эффективности преобразования солнечного излучения в электрическую энергию.
1 Стребков Д. С. Основы солнечной энергетики: учебное пособие для вузов. Организация Объединенных Наций по вопросам образования, науки и культуры (ЮНЕСКО). М.: ФНАЦ ВИМ, 2019. 323 с.; Jochen S. The European Industry Association Solar Power Europe Presents an Optimistic View of the Future in its “Global Market Outlook 2018” // Photon Int. 2018. Pp. 8–13.
2 REN21. Renewables 2017. Global Status Report [Электронный ресурс]. URL: https://www.ren21.net/gsr-2017/#:~:text=The 2017 Edition of the,dioxide (CO2) emissions. (дата обращения: 10.08.2020).
3 3NREL Six-Junction Solar Cell Sets Two World Records for Efficiency // National Renewable Energy Laboratory (NREL). 13.04.2020. URL: https://www.nrel.gov/news/press/2020/nrel-six-junction-solar-cell-sets-two-world-records-for-efficiency.html (дата обращения: 10.08.2020).
4 Photovoltaics Report [Электронный ресурс] // Fraunhofer Institute for Solar Energy Systems ISE. URL: https://www.ise.fraunhofer.de/content/dam/ise/de/documents/publications/studies/Photovoltaics-Report.pdf (дата обращения: 10.08.2020).
5 Стребков Д. С. Матричные солнечные элементы. 2-е изд. М.: Изд-во ГНУ ВИЭСХ, 2010. Т. 1. 120 с.
6 Стребков Д. С. Матричные солнечные элементы. 2-е изд. М.: Изд-во ГНУ ВИЭСХ, 2010. Т. 2. 268 с.
7 Стребков Д. С. Матричные солнечные элементы. 2-е изд. М.: Изд-во ГНУ ВИЭСХ, 2010. Т. 3. 348 с.; NREL Six-Junction Solar Cell Sets Two…
8 Floating Solar and Fishery Chalks Another Success in China with 120 MW Plant // Saur Energy – International. 22.04.2020. URL: https://www.saurenergy.com/solar-energy-news/floating-solar-and-fishery-chalks-another-success-in-china-with-120-mw-plant (дата обращения: 10.08.2020).
9 Hybrid Solar Panel [Электронный ресурс] // DanSolar. URL: http://dansolar.dk/en/hybrid-solar-panel/ (дата обращения: 10.08.2020).
10 Bellini E. Storing Wind and Solar with New Gravity-Based System // PV Magazine. 11.05.2020. URL: https://www.pv-magazine.com/2020/05/11/storing-wind-and-solar-with-new-gravity-based-system/ (дата обращения: 10.08.2020).
11 SGH2 Building Largest Green Hydrogen Production Facility in California; Gasification of Waste into H2 // Green Car Congress. 21.05.2020. URL: https://www.greencarcongress.com/2020/05/20200521-sgh2.html (дата обращения: 10.08.2020).
12 Стребков Д. С. Основы солнечной энергетики…
13 Diermann R. German PV Tender Delivers Record Low Solar Power Price of €0.0355/kWh // PV Magazine. 19.02.2020. URL: https://www.pv-magazine.com/2020/02/19/german-pv-tender-delivers-record-low-solar-power-price-of-e0-0355-kwh (дата обращения: 10.08.2020).
14 Appunn K., Eriksen F., Wettengel J. Germany’s Greenhouse Gas Emissions and Energy Transition Targets // Clean Energy Wire CLEW. 03.06.2020. URL: https://www.cleanenergywire.org/factsheets/germanys-greenhouse-gas-emissions-and-climate-targets (дата обращения: 10.08.2020).
15 Warrier R. PICTURES: Dubai Ruler Opens R&D Centre at MBR Solar Park // Construction Week. 10.03.2020. URL: https://www.constructionweekonline.com/projects-and-tenders/263557-pictures-dubai-ruler-opens-rd-centre-at-mbr-solar-park (дата обращения: 10.08.2020).
16 LONGi Joins the Global Initiative RE100; Commits to 100 % Renewable Power across Its Entire Global Operations by 2028 // PR Newswire. 13.03.2020. URL: https://www.prnewswire.com/news-releases/longi-joins-the-global-initiative-re100-commits-to-100-renewable-power-across-its-entire-global-operations-by-2028-301022822.html (дата обращения: 10.08.2020).
17 Чередниченко А. В Петербурге готовят к выпуску солнечные батареи нового поколения // Санкт-Петербургские ведомости. 11.03.2020. URL: https://spbvedomosti.ru/news/financy/v-peterburge-gotovyat-k-vypusku-solnechnye-batarei-novogo-pokoleniya/ (дата обращения: 10.08.2020).
18 Самую мощную в России солненчную электростанцию с накопителем энергии запустили в Башкирии // ТАСС. 26.02.2020. URL: https://tass.ru/ekonomika/7838587 (дата обращения: 10.08.2020).
19 Развитие солнечной энергетики в России с 2014 по 2019 год [Электронный ресурс] // Сделано у нас. URL: https://sdelanounas.ru/blogs/130007 (дата обращения: 10.08.2020).
20 Solar T. Trina Solar: Four New Series of Modules Launched, Unleashes a New Era of Mass-Produced High-Output Modules // PV Magazine. 22.03.2019. URL: https://www.pv-magazine.com/press-releases/trina-solar-four-new-series-of-modules-launched-unleashes-a-new-era-of-mass-produced-high-output-modules (дата обращения: 10.08.2020).
21 Trina Solar Launches 500W+ Ultra-High-Power New Modules, Setting New Benchmark for Era of PV 5.0 // PR Newswire. 27.02.2020. URL: https://www.prnewswire.com/news-releases/trina-solar-launches-500w-ultra-high-power-new-modules-setting-new-benchmark-for-era-of-pv-5-0--301012412.html (дата обращения: 10.08.2020).
22 Bellini E. Poland Tops 1,3 GW of PV Capacity // PV Magazine. 14.01.2020. URL: https://www.pv-magazine.com/2020/01/14/poland-tops-1-3-gw-of-pv-capacity (дата обращения: 10.08.2020).
23 Simon F. Europe’s Largest Floating Solar Plant Opens in France // EURACTIV. 18.10.2019. URL: https://www.euractiv.com/section/energy/news/europes-largest-floating-solar-plant-opens-in-france (дата обращения: 10.08.2020).
24 Renewables Account for Almost Three Quarters of New Capacity in 2019 // International Renewable Energy Agency. 06.04.2020. URL: https://www.irena.org/newsroom/pressreleases/2020/Apr/Renewables-Account-for-Almost-Three-Quarters-of-New-Capacity-in-2019 (дата обращения: 10.08.2020).
25 Lewis A. Giant Solar Park in the Desert Jump Starts Egypt’s Renewables Push // Reuters. 17.12.2019. URL: https://www.reuters.com/article/us-egypt-solar/giant-solar-park-in-the-desert-jump-starts-egypts-renewables-push-idUSKBN1YL1WS (дата обращения: 10.08.2020).
26 Ritchie H., Roser M. Access to Energy // Our World in Data. URL: https://ourworldindata.org/energy-access (дата обращения: 10.08.2020).
27 Mathis W. Abu Dhabi in Talks With EDF, Jinko to Install Huge Solar Farm // Bloomberg Green. 28.04.2020. URL: https://www.bloomberg.com/news/articles/2020-04-28/abu-dhabi-moves-ahead-with-giant-solar-park-after-getting-bids (дата обращения: 10.08.2020).
28 Magoum I. ALGERIA: Towards an Agreement with Germany to Join Desertec Project [Электронный ресурс] // AFRIK 21. 15.04.2020. URL: https://www.afrik21.africa/en/algeria-towards-an-agreement-with-germany-to-join-desertec-project (дата обращения: 10.08.2020).
29 The World’s Leading Business Event for Future Energy and Sustaunability [Электронный ресурс]. URL: https://www.worldfutureenergysummit.com (дата обращения: 10.08.2020).
30 Стоимость солнечных батарей [Электронный ресурс] // ALTER220.RU. URL: https://alter220.ru/solnce/stoimost-solnechnyh-batarej.html (дата обращения: 10.08.2020).
31 Stevens P. Energy Demand, Hit by Coronavirus Crisis, Is Set to See Record Drop This Year, IEA Says // CNBCC LLC. 30.04.2020. URL: https://www.cnbc.com/2020/04/30/energy-demand-set-to-fall-the-most-on-record-this-year-amid-coronavirus-pandemic-iea-says.html (дата обращения: 10.08.2020).
32 Global Energy Demand to Plunge This Year as a Result of the Biggest Shock Since the Second World War // International Energy Agency. 30.04.2020. URL: https://www.iea.org/news/global-energy-demand-to-plunge-this-year-as-a-result-of-the-biggest-shock-since-the-second-world-war (дата обращения: 10.08.2020).
33 Bellini E. Israel Wants Another 15 GW of Solar by 2030 // PV Magazine. 03.06.2020. URL: https://www.pv-magazine.com/2020/06/03/israel-wants-another-15-gw-of-solar-by-2030/ (дата обращения: 10.08.2020).
34 Стребков Д. С. Основы солнечной энергетики…
35 REN21. Renewables 2017.
36 Стребков Д. С. Основы солнечной энергетики…
About the authors
Dmitriy S. Strebkov
Federal Scientific Agroengineering Center VIM
Email: nauka-ds@mail.ru
ORCID iD: 0000-0002-2572-801X
Scopus Author ID: 7004652438
ResearcherId: K-4157-2017
Scientific Director, Academician of RAS, D.Sc. (Engineering)
Russian Federation, 5, 1st Institutskiy Proyezd, Moscow 109428Yuriy Kh. Shogenov
Russian Academy of Sciences
Author for correspondence.
Email: yh1961s@yandex.ru
ORCID iD: 0000-0002-7588-0458
Scopus Author ID: 6506035081
ResearcherId: AAR-1140-2020
Chief of Crop Production and Mechanization Processes Sector of Department
of Agricultural Sciences, Corresponding Member of RAS, D.Sc. (Engineering)
Nikolay Yu. Bobovnikov
Scientific Director of Federal Scientific Agroengineering Center VIM
Email: nikolaj.bobovnikov@yandex.ru
Scopus Author ID: 119936730
ResearcherId: D-2515-2016
аспирант
Russian Federation, 5, 1st Institutskiy Proyezd, Moscow 109428References
- Strebkov D.S., Bobovnikov N.Yu. Technical and Economic Indicators of Solar Power Plants.Applied Solar Energy. 2018; (54):456-460. (In Eng.) DOI: https://doi.org/10.3103/S0003701X18060142
- Strebkov D.S., Shogenov A.Kh., Shogenov Yu.Kh., et al. Solar Energy: State and Development Prospects. Tekhnika i oborudovanie dlya sela = Machinery and Equipment for Rural Area. 2019; (3):43-48.(In Russ.) DOI: https://doi.org/10.33267/2072-9642-2019-3-43-48
- Lidorenko N.S., Evdokimov V.M., Strebkov D.S., et al. New Models of Solar Cells and Prospects for Their Optimization. Applied Solar Energy. 1978; 14(3):1-12. (In Eng.)
- Semiconductor Photoelectric Generator: Patent 3948682 USA. No. 519697; appl.31.10.1974; publ. 06.04.1976. 11 p. Available at: https://patentimages.storage.googleapis.com/8a/96/45/61d12828bc5304/US3948682.pdf (accessed 10.08.2020). (In Eng.)
- PoulekV., Strebkov D.S., Persic I.S,. et al. Towards 50 Years Lifetime of PV Panels Laminated with Silicone Gel Technology. Solar Energy. 2012; 86(10):3103-3108. (In Eng.) DOI: https://doi.org/10.1016/j.solener.2012.07.013
- Beinert A.J., Imm M., Benick J., et al. Silicon Solar Cell–Integrated Stress and Temperature Sensors for Photovoltaic Modules. Progress in Photovoltaics: Research and Applications. 2020; 28(7):1-8.(In Eng.) DOI: https://doi.org/10.1002/pip.3263
- Strebkov D.S. Advanced Tendencies in Development of Photovoltaic Cells for Power Engineering.Thermal Engineering. 2015; 62(1):7-13. (In Eng.) DOI: https://doi.org/10.1134/S0040601514110093
- Strebkov D.S., Bobovnikov N.Yu. Technical and Economic Indicators of Solar Power Plants.Applied Solar Energy. 2018; 54(6):456-460. Available at: https://link.springer.com/article/10.3103%2FS0003701X18060142 (accessed 10.08.2020). (In Eng.)
- Strebkov D.S., Shogenov A.K. Solar Photovoltaic Plants. Power Technology and Engineering.2018; 52(1):85-90. (In Eng.) DOI: https://doi.org/10.1007/s10749-018-0914-4
- Strebkov D.S., Shepovalova O.V., Bobovnikov N.I. Investigation of High-Voltage Silicon Solar Modules. AIP Conference Proceedings. 2019; 2123. 9 p.(In Eng.) DOI: https://doi.org/10.1063/1.5117030
- Aziz S., Hassan S. On Improving the Efficiency of a Solar Panel Tracking System. Procedia Manufacturing. 2017; 7:218-224. (In Eng.) DOI: https://doi.org/10.1016/j.promfg.2016.12.053
- Solar Power Plant: Patent 2702311 Russian Federation. No. 2018135851; appl. 24.10.2018;publ. 07.10.2019. (In Russ.)
Supplementary files























