Обоснование конструкции стенда для динамических испытаний ведущих колес транспортно-технологических машин АПК
- Авторы: Уланов А.С.1, Купряшкин В.Ф.1, Наумкин Н.И.1, Тимохин С.В.2, Гусев А.Ю.1, Купряшкин В.В.1
-
Учреждения:
- Национальный исследовательский Мордовский государственный университет
- Пензенский ГАУ
- Выпуск: Том 32, № 1 (2022)
- Страницы: 71-89
- Раздел: Технологии и средства механизации сельского хозяйства
- Статья получена: 03.06.2025
- Статья одобрена: 03.06.2025
- Статья опубликована: 06.06.2025
- URL: https://ogarev-online.ru/2658-4123/article/view/294885
- DOI: https://doi.org/10.15507/2658-4123.032.202201.071-089
- ID: 294885
Цитировать
Полный текст
Аннотация
Введение. Развитие технического обеспечения сельскохозяйственного производства подразумевает создание новых рабочих органов и машин для обработки почвы, их совершенствование и исследование. Этот процесс связан с применением почвенных каналов и экспериментальных установок, помогающих определить характер взаимодействия рабочих органов и колесных движителей сельскохозяйственных машин, в том числе средств малой механизации, с почвой. Целью данного исследования является обоснование конструкции стенда для испытаний рабочих органов почво- обрабатывающих агрегатов и колес транспортно-технологических машин в агро- промышленном комплексе.
Материалы и методы. С целью получения достоверных экспериментальных данных взаимодействия колесных движителей средств малой механизации с почвой был дан анализ базовой конструкции экспериментального стенда для исследования рабочих органов сельскохозяйственных машин. Определены требования, предъявляемые к экспериментальному стенду. Разработан и изготовлен экспериментально-измерительного комплекс «Почвенный канал» на базе производственных площадей кафедры мобильных энергетических средств и сельскохозяйственных машин имени профессора А. И. Лещанкина Института механики и энергетики МГУ им. Н. П. Огарёва.
Результаты исследования. Проанализирован подвижный модуль экспериментального стенда, обосновано техническое решение по обеспечению равномерности его движения и произведен выбор типоразмера электромагнитного порошкового тормоза. Разработана кинематическая схема и опытный образец подвижного модуля экспериментального стенда для исследования ведущих колес мотоблоков.
Обсуждение и заключение. Усовершенствование конструкции почвенного канала путем внедрения в него съемного модуля обеспечит проведение испытаний не только активных, тяговых и тягово-приводных рабочих органов почвообрабатывающих машин, но и позволит исследовать характер взаимодействия их ведущих колес с почвой, осуществляя одновременный контроль силы тяги и буксования. Эти данные могут быть использованы для модернизации существующих машин и рабочих органов, а также для разработки новых агрегатов.
Полный текст
Введение
Развитие технического обеспечения сельскохозяйственного производства должно быть направлено на внедрение энергосберегающих технологий. Среди них использование комбинированных почвообрабатывающих агрегатов, создание новой техники и замена устаревшей, модернизация машин и рабочих органов и др.
Создание, усовершенствование и исследование новых рабочих органов и машин для обработки почвы неразрывно связано с применением почвенных каналов и экспериментальных установок. Их конструкции в обязательном порядке должны учитывать все возможные факторы проведения исследований: влажность почвы, ее твердость и состав, глубина обработки, поступательная скорость агрегатов, буксование колесных движителей1. Важно иметь возможность находить величины сил, которые действуют на рабочие поверхности почвообрабатывающих орудий и их элементы (например лемешно-отвальную поверхность плуга, режущую кромку ножа фрезерного барабана и др.), или определять тягово-сцепные характеристики колесных движителей транспортно-технологических машин [1–4].
В настоящее время различные конструкции почвенных каналов применяются для определения силовых характеристик, действующих на рабочие части и элементы существующих и модернизированных сельскохозяйственных машин и агрегатов, в том числе средств малой механизации. Эти конструкции могут быть оснащены разного рода экспериментальными установками, модулями и стендами.
Целью данного исследования является обоснование конструкции экспериментального стенда для испытаний рабочих органов почвообрабатывающих агрегатов и колес транспортно-технологических машин в агропромышленном комплексе.
Обзор литературы
Ученые Пензенского ГАУ и Всероссийского научно-исследовательского института механизации сельского хозяйства (г. Москва) разработали и изготовили передвижной почвенный канал (рис. 1) [5].
Fig. 1. Diagram of a mobile soil channel
Его конструкция позволяет проводить исследования рабочих органов сельскохозяйственных машин в полевых естественных условиях, что является положительным фактором. Среди недостатков – ограниченность в определении силовых показателей взаимодействия рабочих органов с почвой, только в продольно-горизонтальной плоскости (по ходу движения), и отсутствие возможности исследовать активные рабочие органы и колесные движители.
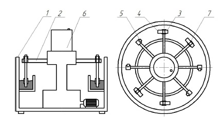
Круговой почвенный канал разработан в ФГБНУ «Федеральный научный агроинженерный центр ВИМ» (рис. 2) [6]. Он состоит из каркаса 1, механизма привода 2, уплотнительных катков 3, грузов 4, рыхлителей почвы 5, емкости с водой 6 и приспособления для установки испытуемого образца 7. Изобретение относится к стендам для испытаний почворежущих элементов сельскохозяйственных машин и позволяет повысить точность экспериментов на 10–15 % по отношению к другим испытательным установкам.
почворежущих лезвий
Fig. 2. Diagram of a circular soil channel for research on the wear of soil-cutting blades
Однако такая схема конструкции почвенного канала не позволяет определить силы, действующие на рабочие органы сельскохозяйственных машин (корпус плуга, стойку культиватора и пр.), с ее помощью можно исследовать только изнашивание почворежущих лезвий (лемехов, стрельчатых лап и пр.).
Фирмы ООО НПП «Учтех-Профи» (г. Москва), ООО «Профкабинет» и ООО «Новый стиль» (г. Ярославль) предлагают конструкции почвенных каналов2. С их помощью можно определить качественные показатели обработки почвы, изучить конструкции и принципы работы почвообрабатывающих машин, а также провести испытания. К положительным сторонам данных конструкций следует отнести их компактность и мобильность, возможность имитации различных условий состояния почвы с анализом их влияния на работу почвообрабатывающих машин, а также высокую оснащенность программного обеспечения.
Однако анализ технических характеристик представленных каналов показал, что мощность их силовых установок (не более 2,5 кВт), рабочий ход тележки (2,7 м) и ее скорость (от 0 до 2,45 км/ч) не удовлетворяют требованиям к испытаниям элементов большинства почвообрабатывающих машин и агрегатов, применяемых в сельском хозяйстве. Это является существенным недостатком и может приводить к искажению или некорректным показаниям, полученным в ходе испытаний.
Обзор литературы показал, что большинство почвенных каналов не подходят для вычисления сил, которые действуют на рабочие органы и составные элементы существующих почвообрабатывающих машин [7; 8]. Они также не способны определить тягово-сцепные характеристики колесных движителей [9; 10].
Подводя итог анализа конструкций почвообрабатывающих агрегатов, их ведущих колес, условий функционирования и современных методик проведения исследований, можно сформулировать следующие требования к экспериментальному стенду для испытания ведущих колес почвообрабатывающих машин, в том числе и малогабаритных, к числу которых относятся и средства малой механизации, в частности мотоблоки:
– универсальность конструкции, то есть возможность проводить исследования ведущих пневматических колес и колес с металлическими грунтозацепами;
– обеспечение изменения сцепного веса на испытуемых колесах;
– обеспечение изменения угла наклона оси вращения испытуемого колеса;
– обеспечение бесступенчатого регулирования поступательной скорости движения и частоты вращения приводного вала испытуемого колеса3 [11–14].
Материалы и методы
Для решения сформулированных выше задач на базе Института механики и энергетики МГУ им. Н. П. Огарёва разработан и изготовлен экспериментально-измерительный комплекс «Почвенный канал» (рис. 3), представляющий собой почвенный канал 1, в верхней части которого закреплен рельсовый путь 2. По нему перемещается подвижный модуль 3 с установленными на нем электрическими приводом перемещения модуля 4 и приводом 5 испытуемых активных рабочих органов (АРО) 6 почвообрабатывающих машин, установленных на приводных валах цепного редуктора 7. Цепной редуктор 7 закреплен на динамометрическом модуле 8, зафиксированном на подвижном модуле 3. Перемещение подвижного модуля 3 осуществляется при помощи привода 4 и цепи 9, закрепленной на почвенном канале 1. Управление двигателями привода 4 подвижного модуля 3 и приводом 5 испытуемых АРО 6 обеспечивается от преобразователей частоты 10 и 11 через питающий электрический кабель 12, подвешенный на стальном тросе 13. Сигнал с датчиков модуля 8 поступает на автоматизированный измерительный комплекс 14 с последующей обработкой.
Fig. 3. The general structure of the experimental stand
Из анализа конструкции экспериментального стенда следует, что при условии установки на приводных валах цепного редуктора испытуемых ведущих колес он будет соответствовать требованиям, предъявляемым к экспериментальному стенду и сформулированным выше.
Однако вопрос изменения угла наклона оси вращения испытуемого колеса требует решения [15]. Как показывают исследования, при испытаниях АРО почвообрабатывающих машин из-за подталкивающего эффекта возникает необходимость стабилизации ‒ обеспечения равномерности движения подвижного модуля4.
Результаты исследования
В случае испытания ведущих колес мотоблока будет возникать сила тяги, которая, так же как и подталкивающие силы, возникающие на АРО при их взаимодействии с почвой, предположительно, будет вызывать нарушение устойчивости движения модуля. В связи с этим рассмотрим условие устойчивого движения подвижного модуля (рис. 4). Для этого используем методику, изложенную в одном из наших предыдущих исследований [14].
Fig. 4. Loading scheme of the mobile module
Из рисунка 4 следует, что для исключения отрицательного влияния подталкивающего усилия на устойчивое движение подвижного модуля необходимо выполнение условия
, (1)
где Fст – суммарная сила сопротивления перекатыванию модуля, Н; Fтк.р. – расчетная сила тяги на колесе мотоблока, Н; примем Fтк.р. = Fтк max / 2 =1 200 / 2 = 600 Н (здесь Fтк max – максимальная сила тяги, развиваемая мотоблоком, Н; в предыдущих исследованиях было выяснено, что Fтк max = 1 200 Н)5 [16].
Определим значение силы Fст. Для рисунка 4 силу сопротивления Fст вычисляем по формуле
, (2)
где Fст1 и Fст2 – силы сопротивления перекатыванию передних и задних колес модуля соответственно, Н.
Учитывая рекомендации М. П. Александрова, а также результаты предыдущих исследований, для колес с ребордами сила сопротивления их перекатыванию будет определяться зависимостью
, (3)
где Rт1 и Rт2 – силы давления на передних и задних колесах модуля соответственно, Н; μ – коэффициент трения качения, мм; μ = 0,5 мм для чугунного колеса и стального рельса; f – коэффициент трения; f = 0,01 для подшипников качения; d – диаметр оси колес под подшипник, мм; d = 35 мм; Dк – диаметр колес, мм; Dк = 150 мм; β – коэффициент, учитывающий сопротивление от трения реборд; β = 0,5 мм6 [14; 17].
Для определения сил Rт1 и Rт2 воспользуемся уравнением моментов, то есть, с учетом нагружения, получим (векторы сил Fст и Rx не учитываются)
где Fgт – сила тяжести тележки, Н; l1 и l2 – расстояние от центра масс до оси задних колес и колесной базы модуля соответственно, мм; l1 = 300 мм и l2 = 1 100 мм.
Силу тяжести, с учетом массы подвижного модуля mт = 380 кг, определим как
Аналогично находим значение силы Rт1. Согласно рисунку 4 получаем
,
После последовательной подстановки в выражения (3) и (2) найденных значений получим
После последовательной подстановки известных и найденных значений в (1) получим
Условие устойчивого движения подвижного модуля вследствие действия создаваемого тягового усилия не выполняется. Поэтому в дальнейшем при разработке экспериментального стенда для исследования ведущих колес мотоблока необходимо обеспечить устойчивость движения подвижного модуля.
Для решения задачи по обеспечению устойчивости движения подвижного модуля экспериментального стенда предлагается использовать динамический стабилизатор (рис. 5), представляющий собой электромагнитный порошковый тормоз, связанный цепной передачей с одним из валов подвижного модуля (рационализаторское предложение ФГБОУ ВО «МГУ им. Н. П. Огарёва» от 22.01.2018 г. № 1172 «Подвижный модуль экспериментального стенда с динамическим стабилизатором устойчивости движения для исследования почвообрабатывающих активных рабочих органов»).
экспериментального стенда
Fig. 5. Dynamic stabilizer of motion stability of the mobile module of the experimental stand
Использование в качестве стабилизатора движения подвижного модуля электромагнитного порошкового тормоза позволит обеспечить его дистанционное управление и регулирование тормозного момента7 [18; 19].
Для выбора типоразмера электромагнитного порошкового тормоза проведем кинематический расчет его привода. Для этого определим передаточное отношение iцп цепной передачи привода электромагнитного порошкового тормоза [20]:
iцп = nок / nт, (4)
где nок – частота вращения опорных колес подвижного модуля, мин–1; nт – рабочая частота вращения вала электромагнитного порошкового тормоза, мин–1.
Частоту вращения опорных колес nок подвижного модуля можно определить по формуле
, (5)
где vп – скорость движения подвижного модуля, м/с; примем, что скорость движения подвижного модуля будет изменяться в интервале от 0,57 до 3,3 м/с.
Учитывая, что Dк = 150 мм, то, согласно (5), получим
Для определения nт воспользуемся характеристиками электромагнитных порошковых тормозов типа ПТ, для которых рабочий диапазон частот вращения равен nт = 25...4 000 мин–1.
Подставив nок = 72,6...420,4 мин–1 и nт = 25...4 000 мин–1 в (4), получим
iцп = (72,6...420,4) / (25...4 000) = 0,018 …16,8.
Принимаем для дальнейших расчетов iцп = 0,37.
Тогда при nок = 72,6...420,4 мин–1, согласно (4), значение nт будет равно
nт = nок / iцп = (72,6...420,4) / 0,37 = 196,2…1 136,2 мин–1.
Условие выбора тормоза позаимствуем из материалов ранее проводимых исследований устойчивости движения подвижного модуля экспериментального стенда, изучающего функционирование активных ротационных рабочих органов почвообрабатывающих машин [14]:
Tтр ≤ Tт, (6)
где Tтр и Tт – расчетное и табличное значение тормозного момента, Н∙м.
Значение момента Tтр определим по формуле8:
Tтр = kт Tp min, (7)
где kт – коэффициент запаса тормозного момента; kт = 1,5; Tp min – расчетный минимальный тормозной момент, Н∙м [14].
Момент Tp min определяем с учетом особенностей конструкции привода электромагнитного порошкового тормоза и функционирования подвижного модуля по следующей формуле:
(8)
После подстановки известных и рассчитываемых значений в формулу (7) получим
Далее по каталогу выбираем тормоз ПТ-6М19. Его тормозной момент Тт = 60 Н·м.
Для реализации возможности изменения угла наклона оси вращения испытуемого колеса предлагается конструкция подвижного модуля экспериментального стенда (рис. 6) [11; 21].
механизации: a) положение испытуемых пневматического колеса и колеса с металлическими
грунтозацепами при угле наклона осей их вращения α = 0°; b) положение испытуемых
пневматического колеса и колеса с металлическими грунтозацепами при угле наклона осей их
вращения α = 28°
Fig. 6. Removable module for the study of traction force on the driving wheels of small mechanization
vehicles: a) the position of the subjects of the pneumatic wheel and the wheel with metal ground hooks at
the angle of inclination of the axes of their rotation equal to α = 0°; b) the position of the subjects of the
pneumatic wheel and the wheel with metal ground hooks at the angle of inclination of the axes of their
rotation equal to α = 28°
Предлагаемое устройство позволяет исследовать колесные движители транспортно-технологических машин на различных режимах функционирования, определяемых его частотой вращения и положением (углом наклона) относительно грунта.
Для реализации требований обеспечения изменения угла наклона оси вращения испытуемого колеса и устойчивости движения подвижного модуля обобщим полученные результаты.
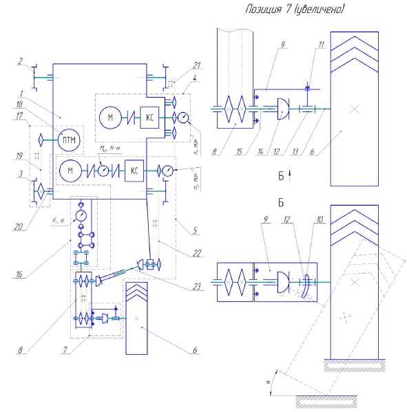
На основании объединения предложенных технических решений и базовой конструкции подвижного модуля экспериментального стенда предлагается обобщенная кинематическая схема подвижного модуля, предназначенного для исследования ведущих колес средств малой механизации (рис. 7).
исследования силы тяги на ведущих колесах средств малой механизации
Fig. 7. Kinematic diagram of the mobile module of the experimental stand for the study of the traction
force on the driving wheels of small mechanization vehicles
Подвижный модуль экспериментального стенда представляет собой раму 1 с опорными передними 2 и задними 3 колесами. На раме смонтирован электрический привод 4 перемещения подвижного модуля и электрический привод 5, обеспечивающий вращательное движения ведущего колеса 6, закрепленного с помощью предлагаемого съемного модуля 7 на цепном редукторе 8. Съемный модуль 7 представляет собой закрепленный на цепном редукторе 8 кронштейн 9 с установленной в его направляющем отверстии 10 и зафиксированной гайкой 11 подшипниковой опорой 12. При этом в подшипниковую опору 12 вмонтирован приводной вал 13 с жестко установленным на одном его конце испытуемым колесом 6. Противоположный конец вала 13 через шарнирную угловую муфту 14 соединен с приводным валом 15 цепного редуктора 8. Цепной редуктор 8 установлен с возможностью свободного строго вертикального перемещения на динамометрическом модуле 16, обеспечивающем измерение тягового усилия, создаваемого на испытуемом ведущем колесе 6.
Такой способ установки редуктора 8 позволяет обеспечить регулировку сцепного веса на испытуемом колесе 6 за счет установки балластных грузов. При этом сам динамометрический модуль 16 жестко закреплен на раме 1 подвижного модуля [22–24]. Также на раме 1 смонтирован предлагаемый динамический стабилизатор 17, обеспечивающий стабилизацию движения подвижного модуля. Он представляет собой электромагнитный порошковый тормоз (ПТ-6М1) 18, вал которого соединен цепной передачей 19 с валом 20 задних опорных колес 3.
Разработаем опытный образец на основании базовой конструкции существующего подвижного модуля экспериментального стенда, предназначенного для исследования рабочих органов почвообрабатывающих машин (рис. 1). Следуют учесть предложенную кинематическую схему подвижного модуля экспериментального стенда для исследования силы тяги на ведущих колесах средств малой механизации (рис. 7) и рекомендуемые технические решения. Разработанный опытный образец, а также фрагменты его рабочих элементов представлены на рисунках 8–10.
колесах средств малой механизации
Fig. 8. General view of the experimental stand for the study of the traction force on the driving
wheels of small mechanization vehicles
подвижного модуля и вращения испытуемых ведущих колес
Fig. 9. General view of the control panel for electric motors of the drives for moving the movable
module and rotating the test driving wheels
стенда для сбора и обработки данных
Fig. 10. General view of the automated measuring complex of the experimental stand for data
collection and processing
Обсуждение и заключение
Разработанная конструкция съемного модуля позволяет обеспечить испытание ведущих колес средств малой механизации с учетом особенностей их функционирования и контроля силы тяги. В частности, съемный модуль стенда позволяет обеспечить изменение угла наклона α оси вращения испытуемых пневматических колес или колес с металлическими грунтозацепами относительно горизонта почвы в пределах от 0 до 28°, что позволяет охватить возможные положения испытуемых колес при выполнении основных технологических операций, в том числе и вспашки почвы на глубину до 30 см.
Кроме этого, стенд за счет свободной установки цепного редуктора позволяет обеспечить регулировку сцепного веса на испытуемом колесе путем установки балластных грузов весом 20, 40 и 60 кг.
Независимые друг от друга электрические приводы перемещения подвижного модуля и вращения испытуемого ведущего колеса позволяют бесступенчатым способом обеспечить требуемые значения поступательной скорости и частоты вращения, а также вариацию коэффициента буксования. Это происходит за счет использования для управления двигателями преобразователей частоты.
Применение в качестве стабилизатора движения подвижного модуля электромагнитного порошкового тормоза компенсирует тяговое усилие, создаваемое работой испытуемого ведущего колеса, и стабилизирует его скорость движения. При этом использование электромагнитного порошкового тормоза позволяет обеспечить дистанционное управление и регулирование тормозного момента.
Таким образом, усовершенствование конструкции почвенного канала путем внедрения в него съемного модуля обеспечит проведение испытаний не только активных, тяговых и тягово-приводных рабочих органов почвообрабатывающих машин, но и позволит исследовать характер взаимодействия ведущих колес с почвой. Можно одновременно контролировать силу тяги и буксования. Эти данные могут быть использованы для усовершенствования существующих машин и рабочих органов к ним, а также для разработки новых агрегатов.
1 Кожевников Г. Н. Разработка метода физического моделирования процессов почвообработки в условиях почвенных каналов : автореф. дис. ... канд. техн. наук. М., 1975. 29 с. URL: https://search.rsl.ru/ru/record/01006986060 (дата обращения: 11.11.2021).
2 01.02.00.01 Лабораторный стенд «Почвенный канал» [Электронный ресурс]. URL: https://labstand.ru/catalog/01_02_laboratornye_stendy_pochvoobrabatyvayushchie_mashiny/01_02_00_01_ls_pochvennyy_kanal_4489 (дата обращения: 10.11.2021) ; 01.02.00.01 ЛС «Почвенный канал» [Электронный ресурс]. URL: http://www.profkabinet.ru/products/2899 (дата обращения: 10.11.2021) ; Лабораторный стенд «Почвенный канал» [Электронный ресурс]. URL: https://newstyle-y.ru/high-school/sh/avtomatizaciya/upravlenie-oborudovaniem-obrabotki/item_9908 (дата обращения: 10.11.2021).
3 ГОСТ P 28523–1990. Мобильные средства малой механизации сельскохозяйственных работ. Тракторы малогабаритные. Типы и основные параметры. М., 1990. 3 с. URL: https://docs.cntd.ru/document/1200023741 (дата обращения: 10.11.2021) ; Коптяев В. А. Повышение эффективности функционирования колесных энергосредств, работающих в составе машинно-тракторных агрегатов, за счет улучшения их тягово-сцепных свойств : дис. ... канд. техн. наук. СПб., 2002. 135 с. URL: https://search.rsl.ru/ru/record/01003231092 (дата обращения: 10.11.2021) ; Горячкин В. П. Собрание сочинений. М. : Колос, 1965. Т. 1. 720 с.
4 Купряшкин В. Ф., Наумкин Н. И., Чаткин М. Н. Анализ устойчивости хода экспериментальной тележки испытательного стенда для исследования почвообрабатывающих машин с фрезерными рабочими органами // Материалы Междунар. науч.-практ. конф. Серия : Энергоэффективные и ресурсосберегающие технологии и системы. Саранск, 2010. С. 372–378. URL: https://www.elibrary.ru/item.asp?id=29180691 (дата обращения: 10.11.2021).
5 Купряшкин В. Ф., Уланов А. С. Эффективное использование почвообрабатывающих агрегатов на базе мотоблоков : моногр. Саранск, 2021. 160 с.
6 Александров М. П. Грузоподъемные машины : учебник. М. : Изд-во МГТУ им. Н. Э. Баумана, 2000. 552 с. URL: https://search.rsl.ru/ru/record/01000698980 (дата обращения: 10.11.2021).
7 Баранов А. В., Лукашук О. А. Методика испытаний электромагнитных тормозов // Материалы Всерос. науч.-практ. конф. «Инновационное развитие подъемно-транспортной техники». Брянск : Брянский государственный университет, 2019. С. 138–172. URL: https://elibrary.ru/item.asp?id=41556318 (дата обращения: 10.11.2021).
8 Наумкин Н. И., Кильмяшкин Е. А. Расчет механизма подъема кранов общего назначения : методические указания. Саранск : Изд-во Мордов. ун-та, 2006. 36 с.
9 Завод Станкоконструкция : сайт [Электронный ресурс]. URL https://www.stancons.ru/ (дата обращения: 21.05.2021).
Об авторах
Александр Сергеевич Уланов
Национальный исследовательский Мордовский государственный университет
Email: ulanow.aleksandr2010@yandex.ru
ORCID iD: 0000-0001-6041-6911
ResearcherId: L-4662-2018
преподаватель кафедры мобильных энергетических средств и сельскохозяйственных машин имени профессора А. И. Лещанкина, кандидат технических наук
Россия, 430005, г. Саранск, ул. Большевистская, д. 68Владимир Федорович Купряшкин
Национальный исследовательский Мордовский государственный университет
Email: kupwf@mail.ru
ORCID iD: 0000-0002-7512-509X
ResearcherId: L-5153-2018
заведующий кафедрой мобильных энергетических средств и сельскохозяйственных машин имени профессора А. И. Лещанкина, кандидат технических наук
Россия, 430005, г. Саранск, ул. Большевистская, д. 68Николай Иванович Наумкин
Национальный исследовательский Мордовский государственный университет
Автор, ответственный за переписку.
Email: naumn@yandex.ru
ORCID iD: 0000-0002-1109-5370
ResearcherId: L-4643-2018
заведующий кафедрой основ конструирования механизмов и машин, доктор педагогических наук, кандидат технических наук, доцент
Россия, 430005, г. Саранск, ул. Большевистская, д. 68Сергей Викторович Тимохин
Пензенский ГАУ
Email: eltech@pnzgu.ru
ORCID iD: 0000-0001-7521-4482
ResearcherId: AAD-8339-2022
профессор кафедры технического сервиса машин, доктор технических наук
Россия, 440014, г. Пенза, ул. Ботаническая, д. 30Александр Юрьевич Гусев
Национальный исследовательский Мордовский государственный университет
Email: a.gusev57@yandex.ru
ORCID iD: 0000-0002-5808-4169
аспирант кафедры мобильных энергетических средств и сельскохозяйственных машин имени профессора А. И. Лещанкина
Россия, 430005, г. Саранск, ул. Большевистская, д. 68Владимир Владимирович Купряшкин
Национальный исследовательский Мордовский государственный университет
Email: kupvovan@mail.ru
ORCID iD: 0000-0001-5327-4089
аспирант кафедры мобильных энергетических средств и сельскохозяйственных машин имени профессора А. И. Лещанкина
Россия, 430005, г. Саранск, ул. Большевистская, д. 68Список литературы
- Исследование процесса взаимодействия ведущих колес трактора с грунтовой поверхностью / В. В. Гуськов [и др.] // Наука и техника. 2017. Т. 16, № 1. С. 83–88. doi: https://doi.org/10.21122/2227-1031-2017-16-1-83-88
- Osinenko P. V., Geissler M., Herlitzius T. A Method of Optimal Traction Control for Farm Tractors with Feedback of Drive Torque // Biosystems Engineering. 2015. Vol. 129. P. 20–33. doi: https://doi.org/10.1016/j.biosystemseng.2014.09.009
- Rasool S., Raheman H. Improving the Tractive Performance of Walking Tractors Using Rubber Tracks // Biosystems Engineering. 2018. Vol. 167. P. 51–62. doi: https://doi.org/10.1016/j.biosystemseng.2017.12.013
- Importance of Short-Term Temporal Variability in Soil Physical Properties for Soil Water Modelling under Different Tillage Practices [Электронный ресурс] / J. Geris [et al.] // Soil and Tillage Research.2021. Vol. 213. doi: https://doi.org/10.1016/j.still.2021.105132
- Емельянов П. А., Сибирёв А. В., Аксенов А. Г. Эффективность применения передвижного почвенного канала при проведении лабораторных исследований // Вестник Красноярского ГАУ.2013. № 10. С. 216–219. URL: https://clck.ru/arrdY (дата обращения: 11.11.2021).
- Круговой почвенный стенд : патент 2613292 Российская Федерация / Сидоров С. А., Миронов Д. А., Лискин И. В. № 2015154117 ; заявл. 17.12.2015 ; опубл. 15.03.2017. URL: https://patenton.ru/patent/RU2613292C1 (дата обращения: 10.02.2021).
- Устройство для испытания рабочих органов в почвенном канале : патент 960569 СССР / Мясников Ю. А. [и др.]. № 2015154117 ; заявл. 29.04.1981; опубл. 23.09.1982. URL: https://yandex.ru/patents/doc/SU960569A1_19820923 (дата обращения: 10.11.2021).
- Почвенный канал : патент 244670 СССР / Бацуев Г. А. [и др.]. № 1220415/30-15 ; заявл.12.11.1968 ; опубл. 28.05.1969. URL: https://yandex.ru/patents/doc/SU244670A1_19690528 (дата обращения: 10.11.2021).
- Обоснование режимов работы пахотного агрегата на базе мотоблока «Нева» МБ-23-МУЛЬТИАГРО Pro с плугом П1-20/3 по критерию отсутствия буксования ведущих колес с почвой / В. Ф. Купряшкин [и др.] // Вестник НГИЭИ. 2019. № 7. С. 5‒15. URL: https://yadi.sk/i/BJtkW-_KB3l-5HQ (дата обращения: 05.12.2021).
- Ucgul M., Saunders C. Simulation of Tillage Forces and Furrow Profile during Soil-Mouldboard Plough Interaction Using Discrete Element Modelling // Biosystems Engineering. 2020. Vol. 190. P. 58–70.doi: https://doi.org/10.1016/j.biosystemseng.2019.11.022
- Стенд для определения силы тяги на ходовых колесах малогабаритной техники / В. Ф. Купряшкин [и др.] // Сельский механизатор. 2019. № 2. С. 38–39. URL: http://www.selmech.msk.ru/219.html (дата обращения: 11.11.2021).
- Narang S., Varshney A. C. Draftability of a 8.95 kW Walking Tractor on Tilled Land // Journal of Terramechanics. 2006. Vol. 43, Issue 4. P. 395–409. doi: https://doi.org/10.1016/j.jterra.2005.04.006
- Balappa B. U., Lokesh A. C., Babu N. C. M. Development of Semi-Automated Sowing Machine for Multiple Crops // Materials Today: Рroceedings. 2021. Vol. 42. Р. 1317–1320. doi: https://doi.org/10.1016/j.matpr.2020.12.1147
- Купряшкин В. Ф., Наумкин Н. И., Купряшкин В. В. Исследование устойчивости движения подвижного модуля экспериментальной установки при испытании активных ротационных рабочих органов почвообрабатывающих машин // Вестник Мордовского университета. 2016. Т. 26, № 2.С. 246–258. doi: https://doi.org/10.15507/0236-2910.026.201602.246-258
- Основы статической устойчивости мотоблока с лемешно-отвальным плугом [Электронный ресурс] / А. С. Уланов и [др.] // Журнал E-SCIO. 2019. № 12. URL: https://clck.ru/as9uX (дата обращения: 11.09.2021).
- Разработка подвижного модуля экспериментального стенда для определения тягово-сцепных свойств колесных движителей и результаты лабораторных исследований силы тяги на ведущих колесах мотоблока / В. Ф. Купряшкин [и др.] // Инженерные технологии и системы. 2021. Т. 31, № 1.С. 143–160. doi: https://doi.org/10.15507/2658-4123.031.202101.143-160
- Черноус Д. А. Уточнение расчетной оценки коэффициента трения качения // Механика.Исследования и инновации. 2019. № 12. С. 198–205. URL: https://elibrary.ru/item.asp?id=42417376 (дата обращения: 11.11.2021).
- Чиннов А. А., Курдов А. В. Коэффициент трения при качении со скольжением // Аллея науки. 2020. Т. 1, № 1. С. 226–230. URL: https://clck.ru/dXnP7 (дата обращения: 13.11.2021).
- Баханович А. Г., Кусяк В. А., Ле Ван Нгиа. Исследование работоспособности электронной системы управления порошковым электромагнитным тормозом // Механика машин, механизмов и материалов. 2018. № 1. С. 21–28. URL: https://elibrary.ru/item.asp?id=32651655 (дата обращения:11.11.2021).
- Белоусов Ю. В. Методика определения оптимальных параметров цепной передачи конструкции приводной цепи // Вестник Российского университета дружбы народов. Серия: Инженерные исследования. 2021. Т. 22, № 1. С. 72–83. doi: https://doi.org/10.22363/2312-8143-2021-22-1-72-83
- Подвижный модуль испытательного стенда : патент 188610 Российская Федерация / Купряшкин В. Ф., Уланов А. С., Купряшкин В. В. № 2019102333 ; заявл. 29.01.2019 ; опубл. 17.04.2019. 5 с.URL: https://yandex.ru/patents/doc/RU188610U1_20190417 (дата обращения: 10.11.2021).
- Обоснование конструкции динамометрического модуля для исследования лемешно-отвального плуга мотоблока и его практическая апробация с использованием технологий реверс-инжиниринга / В. Ф. Купряшкин [и др.] // Вестник Мордовского университета. 2018. Т. 28, № 3. С. 400–415.doi: https://doi.org/10.15507/0236-2910.028.201803.400-415
- Method and System of Plowing Depth Online Sensing for Reversible Plough / Y. Yin [et al.] // IFAC-PapersOnLine. 2018. Vol. 51, Issue 17. Р. 326–331. doi: https://doi.org/10.1016/j.ifacol.2018.08.199
- Influence of the Speed on Soil-Pressure over a Plough / М. Mattetti [et al.] // Biosystems Engineering.2017. Vol. 156. P. 136–147. doi: https://doi.org/10.1016/j.biosystemseng.2017.01.009
Дополнительные файлы






























