Features of the construction of beams for the installation of bells in the temple
- Authors: Knyazkina E.V.1, Guzhova O.A.1
-
Affiliations:
- Samara State Technical University
- Issue: Vol 15, No 1 (2025)
- Pages: 11-17
- Section: BUILDING CONSTRUCTIONS, BUILDINGS AND FACILITIES
- URL: https://ogarev-online.ru/2542-0151/article/view/292665
- DOI: https://doi.org/10.17673/Vestnik.2025.01.02
- ID: 292665
Cite item
Full Text
Abstract
The paper considers some aspects of the work on the design and installation of load–bearing structures – beams – on which bells are hung in Orthodox churches. The goal of the work has been set and achieved – to update attention to the design features of the load-bearing elements in the belfry. The main issues that need to be addressed during the construction and/or reconstruction of the bell tower of the temple are highlighted: determining the type of load-bearing structure, choosing the method of its device, using vibration damping plates, taking into account the influence of the beam material on performance characteristics, the possibility of using welded structures of load-bearing beams and the choice of fastening structures for hanging bells and the option of covering the beam before suspension bells and recommendations for their solution are given.
Keywords
Full Text
В современных условиях развитие городской среды подразумевает не только активное возведение новых объектов жилищной инфраструктуры, но и насыщение объектами социального назначения. В Самарской области, как и во всей Российской Федерации, издавна особое внимание уделяли религиозным объектам, поддержанию храмов, церквей и приходов в надлежащем состоянии [1].
Работы по реконструкции православных храмов ведутся регулярно во всех регионах страны, соответственно интерес к специфике наиболее сложных и уникальных видов работ в этой области не угасает, а актуальность исследований и разработок по данному направлению не вызывает сомнений [2‒5].
Варианты архитектурно-конструктивных решений в данной области весьма многообразны. Их выбор и технико-экономическое обоснование достаточно трудоемки и требуют от проектировщика глубоких знаний и опыта.
Отдельное внимание хотелось бы уделить вопросам разработки архитектурных и планировочных решений при подготовке проекта православных храмов.
В настоящее время существует два основных направления в архитектуре храмового строительства:
- традиционное, которое нацелено на сохранение давних традиций возведения православных храмов;
- новаторское, предполагающее применение архитектурных и конструктивных решений, не типичных для данного вида объектов строительства.
Оба направления, тем не менее, «работают» с типичными для храмов архитектурными элементами: придел, притвор и др. Архитектурно-конструктивные решения, которые специалисты могут принять в ходе проектирования реконструкции православного храма, в одной стороны, ограничены устоявшимися канонами строительства данного типа объектов капитального строительства, с другой ‒ весьма разнообразны, так как всегда существовало большое число вариантов архитектурных, конструктивных и планировочных решений при их строительстве.
Одно из наиболее сложных и одновременно интересных направлений работ в области реконструкции церквей и храмов – устройство балок для подвески колоколов в звоннице [6]. Среди основных вопросов, которые подлежат решению в ходе проектирования реконструкции колокольни и звонницы объекта, можно выделить следующие [7]:
- возможно ли уменьшение массы колоколов звонницы, особенно благовеста (главного колокола), при условии сохранения их громкости и качества звучания;
- состав и соотношение материалов, из которых изготавливают колокола и балки для их размещения;
- конструктивные особенности несущей рамы, на которую подвешиваются колокола, и ее элементов;
- варианты размещения колоколов с точки зрения выполнения требований по звучанию и возникающей при этом вибрации;
- особенности устройства хомутов для подвески колоколов разной массы и др.
В данной работе внимание будет уделено конструктивным особенностям несущих балок и их размещению при устройстве звонницы.
1. Виды несущей конструкции для размещения колоколов звонницы
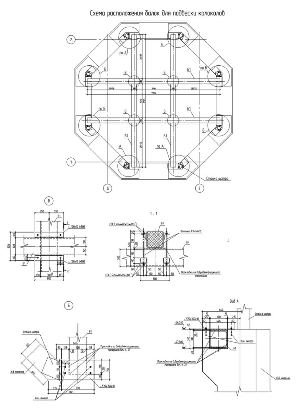
Размещению колоколов в звоннице православного храма уделяют особое внимание, так как от этого зависит качество звука. Наиболее часто благовест размещают в центре на «крестовине» ‒ основной несущей конструкции, состоящей из балок, а средние и малые колокола – в окнах колокольни – так достигается оптимальное звучание за счет их наложения на звук главного колокола [8]. Возможно размещение двух благовестов на крестовине, а также нескольких колоколов разного размера, если нет достаточного пространства для их размещения в окнах (рис. 1).
Рис. 1. Размещение двух благовестов на несущей конструкции
Fig. 1. Placing two bells on a supporting structure
Как показывает практика, наиболее часто применяются три варианта этих конструкций, предполагающие радиальную или параллельную установку балок (рис. 2).
Рис. 2. Варианты размещения балок в несущей конструкции колокольни
Fig. 2. Options for placing beams in the supporting structure of the bell tower
При установке благовеста массой, например 6000‒9000 кг, наиболее подходящим будет второй вариант размещения балок, так как это будет обеспечивать:
1) более равномерное распределение, в сравнении с двумя другими вариантами, нагрузки на опоры конструкции, все восемь опорных элементов будут нагружены одинаково;
2) возможность размещения большого благовеста на оптимальном удалении от окон и стен колокольни с точки зрения эксплуатации: он не будет мешать звонарю при проходе к помосту.
При меньшей массе главного колокола также возможно применение двух других вариантов конструкции.
2. Способ устройства несущей конструкции колоколов в отношении ограждающей конструкции колокольни
При проектировании несущей конструкции необходимо решить вопрос о возможности «утопить» (встроить) несущую раму в кирпичную кладку ограждающей конструкции.
В первую очередь, архитекторы и проектировщики должны учесть, каким способом поднять несущую конструкцию на нужную высоту и сделать её малозаметной.
Затем, при принятии решения о заглублении конструкции в кирпичную кладку, необходимо предусмотреть наличие ниши для стоек несущей конструкции, чтобы они стояли свободно, а не обложенные плотно кирпичом. Это позволит избежать разрушения кирпичной кладки из-за вибрации при раскачивании колоколов, а также из-за сезонного сужения-расширения материалов конструкций.
3. Применение вибродемпфирующих пластин для предотвращения разрушающего воздействия вибрации на несущие и ограждающие конструкции колокольни
Динамические воздействия, возникающие в процессе колокольного звона, неизбежно приводят к возникновению вибраций, что негативно сказывается на долговечности ограждающих и несущих конструкций (стен и колонн, балок) и сохранении ими требуемых характеристик надежности (СП 31-103-99 «Здания, сооружения и комплексы православных храмов» (утв. постановлением Госстроя РФ от 27 декабря 1999 г. № 92).
Предупреждая подобные ситуации, следует предусмотреть использование вибродемпфирующих пластин, примеры расположения которых приведены на рис. 3.
Рис. 3. Варианты расположения вибродемпфирующих пластин
Fig. 3. Vibration damping plate placement options
4. Влияние материала, из которого изготовлены несущие конструкции (балки), на эксплуатационные характеристики рассматриваемого объекта
Так как при осуществлении работ на объектах религиозной направленности, в том числе храмов и церквей, принципиально соблюдение традиций, особенно при реконструкции и реставрации, то следует учесть, что ранее при изготовлении балок применялось дерево, преимущественно дуб. В настоящее время возможно изготовление балок из металла, обладающего большим запасом прочности в сравнении с деревом.
Однако необходимо учесть следующее: не рекомендуется применять двутавровые балки для подвески колоколов, особенно благовеста, так как они не имеют запаса прочности на скручивание, которое появляется при раскачивании колокола от удара «языком», т. е. ударным элементом внутри колокола.
Следует отметить, что при проектировании конструкции необходимо учесть особенность извлечения звука. В России принято ударять языком по подвешенному на специальное крепление (хомут) колоколу, в то время как в европейских странах, например, принято раскачивать сам колокол, в том числе потому, что масса колоколов там обычно небольшая в сравнении с благовестами в 6000 или 9000 кг [9].
Применение швеллеров в данном случае возможно при создании жесткой конструкции при их сварке в короб.
5. Применение сварных конструкций несущих балок
При проектировании несущей конструкции для подвески колоколов возникает вопрос о возможности замены профиля замкнутого сечения на сваренный швеллер (рис. 4).
Рис. 4. Пример конструкции балки для колокольни
Fig. 4. An example of a beam design for a bell tower
В настоящее время этот вариант достаточно часто применяется, особенно в случае необходимости высоких показателей несущей способности конструкции, при выполнении, в том числе, следующих условий:
1) отсутствие всевозможных дефектов сварного шва;
2) качественная зачистка сварного шва на верхней горизонтальной плоскости;
3) отсутствие дефектов металлических конструкций (швеллеров) при сохранении их целостности, например искривлений и прогибов.
Единственным минусом короба можно назвать отсутствие доступа к внутренним поверхностям балки и, как следствие, невозможность обслуживания. Конденсат, возникающий внутри балки, может вызывать появление коррозии, поэтому необходимо предварительно, перед сваркой, прокрашивать внутренние части швеллера, а затем, после сварки короба, прокрашивать балку изнутри, например с помощью валика с длинной ручкой, или применять защиту путем горячего цинкования.
В целях обеспечения максимальной чистоты и качества звучания колоколов следует заполнять пустоты внутри несущих конструкций, на которые их подвешивают. Это позволяет снижать негативное воздействие внутренней акустики, которое в конечном итоге может привести к возникновению колебаний в балках.
В качестве наполнителя можно использовать, например, монтажную пену.
Для оценки технического состояния основных несущих и ограждающих конструкций необходимо своевременно применять новейшие средства и методы экспертизы [10].
6. Крепежные конструкции для подвески колоколов
Одним из самых надежных вариантов подвески колоколов большой массы традиционно считается использование жесткого хомута, изготовленного из металла. Такой способ многократно использовался при возведении и реконструкции колоколен храмов и церквей.
Сам хомут – это скоба, обычно из стальной полосы, позволяющая соединять крепежные элементы колокола (так называемые «парные уши») и балку с двух сторон. С целью предупреждения раскачивания колокола и обеспечения большей жёсткости допускают дополнительное применение стального уголка.
Конструкция крепежного хомута может иметь некоторые отличительные особенности в зависимости от различных факторов, в том числе от массы самого колокола. При размещении на несущей конструкции колоколов массой от 1200 до 9000 кг конструкция хомута будет содержать дополнительное крепление, которое размещается в отверстии в верхней части колокола (рис. 5).
Рис. 5. Конструкция хомута для подвески колоколов массой 1200–9000 кг
Fig. 5. Design of a clamp for hanging bells weighing 1200–9000 kg
Не исключены варианты подвешивания колоколов на балки с помощью цепей, но они применяются только в случае, когда невозможно использовать жесткий хомут.
7. Варианты обшивки балки перед подвеской колокола
В целях обеспечения долговечности конструкции и качества звучания колоколов следует при проектировании рассмотреть варианты обшивки несущей конструкции из балок. Существует несколько способов:
1) обшивка всей балки древесиной твердых пород – лиственницей или дубом как наиболее долговечными;
2) частичная обшивка древесиной в местах крепления колокола;
3) частичная обшивка балки по верхней и боковым поверхностям капролоном и технической резиной;
4) частичная обшивка верхней части балки капролоном и технической резиной.
Каждый из этих способов имеет свои преимущества и недостатки, а эффективность решения по выбору одного из них будет зависеть от конкретных условий и целей работ.
Выводы. 1. При принятии решения в рамках нового строительства или реконструкции и/или реставрации объекта храмового строительства необходимо рассмотреть широкий спектр конструктивных особенностей работ в данном направлении.
- Работы по проектированию и устройству несущих конструкций колокольни храма должны предусматривать, в том числе, решение следующих вопросов:
- определение вида несущей конструкции для размещения колоколов звонницы;
- выбор способа устройства несущей конструкции колоколов в отношении ограждающей конструкции колокольни;
- применение вибродемпфирующих пластин для предотвращения разрушающего воздействия вибрации на несущие и ограждающие конструкции колокольни;
- учет влияния материала, из которого изготовлены несущие конструкции (балки), на эксплуатационные характеристики рассматриваемого объекта;
- возможность применения сварных конструкций несущих балок;
- выбор крепежных конструкций для подвески колоколов и варианта обшивки балки перед подвеской колокола.
About the authors
Ekaterina V. Knyazkina
Samara State Technical University
Author for correspondence.
Email: evk162@mail.ru
PhD in Economics, Associate Professor, Associate Professor of the Cost Engineering and Technical Expertise of Buildings and Structures Chair
Russian Federation, 443100, Samara, Molodogvardeyskaya st., 244Oksana Al. Guzhova
Samara State Technical University
Email: guzhova_oksana@inbox.ru
PhD in Economics, Associate Professor, Associate Professor of the Cost Engineering and Technical Expertise of Buildings and Structures Chair
Russian Federation, 443100, Samara, Molodogvardeyskaya st., 244References
- Yakunin V.N. Church life and Orthodox culture in the Samara region in the XVI‒XX centuries. Available at: https://cyberleninka.ru/article/n/tserkovnaya-zhizn-i-pravoslavnaya-kultura-v-samarskom-krae-v-xvi-hh-vv/viewer (accessed 07 June 2024)
- Temple architecture: modern trends and features of temple construction [Electronic resource]. Available at: https://ppart.ru/stati/hramovaya-arhitektura-osobennosti-vozvedeniya-hramov-i-ispolzuemye-materialy/ . (accessed 06 November 2024)
- Litvinov D.V., Ivanova L.I., Tuzov A.V. Restoration of the Orthodox Church of the Archangel Michael in the village of Dergachi (Kolyvan) of the Krasnoarmeysky district of the Samara region. Gradostroitel’stvo i arhitektura [Urban planning and architecture], 2015, no. 4 (21), pp. 30‒36. (in Russian) doi: 10.17673/Vestnik.2015.04.4
- Ponomarenko E.V. Design, construction and modern restoration of Orthodox churches of the first half of the XIX century. In the Southern Urals. Gradostroitel’stvo i arhitektura [Urban planning and architecture], 2013, vol. 3, no. 1, pp. 19‒24. (in Russian) doi: 10.17673/Vestnik.2013.01.4
- Kosenkova N.A., Litvinov D.V., Kosenkova E.V. Modern tendencies of temple architecture. Gradostroitel’stvo i arhitektura [Urban planning and architecture], 2022, vol. 12, no. 4, pp. 124–128. (in Russian) doi: 10.17673/Vestnik.2022.04.15
- Asaul A.N. Reconstruction and restoration of real estate objects. Available at: http://www.aup.ru/books/m495/ (accessed 07 June 2024)
- The regulation on the procedure for reviewing and approving design and construction works of a new church building and construction of church buildings and structures was approved at a meeting of the Holy Synod on October 6, 2017 (journal No. 91). Available at: http://www.patriarchia.ru/db/text/5028625.html (accessed 09 January 2024)
- Kryuchkov A.E. Installation and adjustment of bells. Available at: https://litbell.ru/articles/161/?ysclid=m201xce8a3611734552 (accessed 06 October 2024)
- Zagraevsky S.V. Issues of architectural history and reconstruction of St. George’s Cathedral in Yuriev-Polsky. Available at: http://zagraevsky.com/georgiev.htm (accessed 23 May 2024)
- Sementsov S.V. Metodika provedenija obsledovanij i monitoringa tehnicheskogo sostojanija zdanij i sooruzhenij s ispol’zovaniem peredovyh tehnologij [Methods of conducting surveys and monitoring the technical condition of buildings and structures using advanced technologies]. St. Petersburg, St. Petersburg State University of Architecture and Construction. University, 2013. 74 p. Construction and Architecture], 2025, vol. 15, no. 1, pp. 11–17. (in Russian) doi: 10.17673/Vestnik.2025.01.02 .
Supplementary files






