Theoretical justification of design and operating-technological parameters of automated separating working units of a potato harvesting machine
- Authors: Izmailov A.Y.1,2, Dorokhov A.S.1, Sibirev A.V.1, Mosyakov M.A.1, Sazonov N.V.1
-
Affiliations:
- FGBNU “Federal Scientific Agroengineering Center VIM”
- Russian Academy of Sciences
- Issue: No 1 (2025)
- Pages: 87-96
- Section: Processes & Machines of Agroengineer Systems
- URL: https://ogarev-online.ru/2500-2082/article/view/287073
- DOI: https://doi.org/10.31857/S2500208225010201
- EDN: https://elibrary.ru/CRINEH
- ID: 287073
Cite item
Full Text
Abstract
The modern market for agricultural machinery is saturated with a large number of machines, both domestic and mainly imported. Consequently, this circumstance indicates the need to develop and select scientifically based machine systems, including the technological provision of machine complexes with digital equipment that allows monitoring the quality of a certain technological operation and interpreting the received information with a technical means to change the initial state of the affected object, which is current scientific problem. Purpose of the study. Justification of the design, operational and technological parameters of automated separating working bodies of a potato harvester. Material and methods. A systematization and generalization of modern technological processes for harvesting potatoes in seed production was carried out in a digital agricultural production system with elements of robotization of the separation process. A technology has been developed for automated potato harvesting technology in seed production. Research results. A structural and technological separating system for a potato harvester with a digital cleaning control system, a block diagram of an automated separating system for a potato harvester with a digital control system have been developed, the impact of a remote finger hump with an adjustable angle of inclination of the blade with elements of artificial intelligence has been simulated, ensuring the recognition of soil lumps and their separation from commercial potato products to tuberous heap in order to substantiate the design and technological parameters that ensure high separation completeness and minimal damage to commercial products. Discussion and conclusion. The theoretical principles of automated potato harvesting technology in seed production have been established.
Full Text
Повреждение клубней картофеля при механизированной уборке зависит от многих факторов, главные из них – конструкция картофелеуборочных машин, материал, из которого изготовлены их рабочие органы и режимы. Важны физико-механические свойства клубней, зависящие от сорта, агротехники возделывания, структуры почвы, климатических условий.
Однако определяющее значение на полноту сбора продукции и сохранение урожайности картофеля имеют технологии уборки и технические средства, от конструктивного исполнения которых зависят качество уборки и экономический эффект производства. [9, 11]
Существующие конструкции уборочных машин представляют совокупность систем сепарации, для повышения качества их работы используется сочетание известных схем очистки, повышающих материалоемкость уборочной машины и ее вес, что отрицательно сказывается на плотности почвенного слоя при уборке. [7, 8, 12]
В настоящее время не достает автоматизированных инструментов принятия решений, комплексно применяющих данные различных информационных источников для поддержки и оптимизации производственных и технологических процессов.
Чтобы повысить уровень автоматизации следует регистрировать важные параметры в реальном времени или через другие источники и включать их в массив данных, образующихся в результате слияния. Для этого необходимо выполнить обзор конструктивных схем машин для уборки картофеля, на основании результатов определиться с процессами автоматизации и разработки принципиальной конструктивно-технологической схемы комбайна с цифровой системой элементов искусственного интеллекта (ИИ), помогающих распознавать почвенные комки и их отделение от товарной продукции. Следует проанализировать конструктивные схемы современных уборочных машин, оценить эффективность использования картофелеуборочных комбайнов в соответствии с агротехническими показателями.
На территории России и в значительной части постсоветского пространства распространение получили элеваторные комбайны (AVR Esprit, Grimme GV 3000, Kverneland UN 2212, Bolko, Dewulf RA-3060). Выбор товаропроизводителями данных машин обусловлен высокими показателями качества работы, по сравнению с устаревшей техникой производства ГДР (Е-684, Е665 и другие) и конструкциями машин производства СССР (ККУ-2А, КПК-2, ККР-2), что подтверждается протоколами машинно-испытательных станций.
Элеваторный комбайн Е-665/4 (ГДР) предназначен для уборки картофеля прямым способом и отделения клубней мелкой фракции с последующим сбором ее в отдельный бункер (в процессе движения по полю), а крупной и средней фракции в рядом идущее транспортное средство (рис. 1). [5]
Рис. 1. Конструктивно-технологическая схема комбайна Е–665/4. 1 – катки; 2 – активные вертикальные диски; 3 – лемех; 4, 6 – первый и второй прутковые элеваторы; 5 – баллоны комкодавителя; 7 – бункер; 8, 10 – горки; 9, 13 – элеваторы; 11 – ботвоудаляющий транспортер; 12 – подъемный барабан; 14 – переборочный стол; 15 – сортировка; 16 – элеватор для загрузки бункера; 17 – дополнительный элеватор; 18 – основной выгрузной элеватор.
Повышению показателей качества работы уборки способствует линейка машин бельгийской фирмы «AVR», а именно элеваторный комбайн «Esprit», конструктивная схема которого представлена на рисунке 2.
Рис. 2. Конструктивно-технологическая схема комбайна AVR «Esprit». 1 – катки; 2 – вертикальные диски; 3 – лемех; 4, 5, 6 – первый, второй и третий просеивающие элеваторы; 7 – роликовый элеватор; 8 – дополнительный элеватор; 9 – выгрузной элеватор; 10 – гребенчатый ботвоудалитель.
Особенность комбайнов бельгийской фирмы AVR – возможность извлечения клубневого гнезда с боковым подкопом, что также реализовано в комбайне AVR-Spirit-6200 (рис. 3).
Рис. 3. Конструктивно-технологическая схема комбайна AVR-Spirit-6200. 1 – рама; 2 – вертикальные диски; 3 – подкапывающий лемех; 4 – опорное колесо; 5 – основной элеватор; 6 – встряхиватель; 7 – каскадный элеватор; 8 – пальчатая горка; 9 – ковшовый элеватор; 10 – переборочный стол; 11 – бункер.
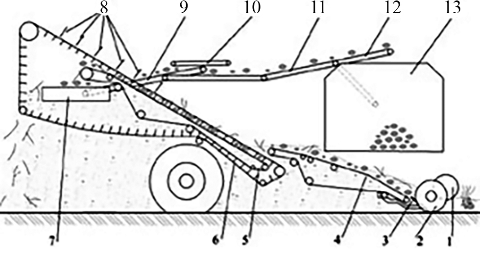
Самый распространенный на территории РФ современный бункерный комбайн импортного производства – DR–1500 фирмы «Grimme» (рис. 4).
Рис. 4. Технологическая схема комбайна «Dewulf RA-3060». 1 – катки; 2 – вертикальные диски; 3 – лемех; 4 – основной элеватор; 5 – ботвоудалители; 6 – каскадный элеватор; 7 – дополнительный элеватор; 8 – ковшовый элеватор; 9 – пальчатая горка; 10 – отбойный элемент; 11 – поддерживающая лента; 12 – вал; 13 – переборочный стол; 14 – бункер.
К конструктивным особенностям комбайнов данного типа следует отнести наличие, помимо основных функционирующих элементов (подкапывающая часть – катки, лемех и боковые отрезные диски), одного или нескольких сепарирующих элеваторов (основной и дополнительные), а также интенсификаторов, комкодавителей, ботвоудалителей (пальчато-гребенчатый, редкопрутковый и другие), продольной горки, подъемного элеватора, переборочного стола, бункера и выгрузного элеватора. [10, 13, 14]
Отличие данного компоновочного решения машины – присутствие дополнительного элеватора, обеспечивающего повышение площади сепарации и, следовательно, качества товарной продукции в результате снижения механических примесей.
Данное конструктивное решение не лишено недостатков, в числе которых повышение материалоемкости машины, повреждение продукции в результате компоновки дополнительных интенсификаторов сепарации механического действия, что обусловливает дополнительные ударные нагрузки в соответствии с ранее проведенными исследованиями и представленные в открытой печати. [18]
Одно из наиболее удачных компоновочных решений машины для уборки картофеля – комбайн SE 150/60 производства Германии компании «Grimme» (рис. 5).
Рис. 5. Технологическая схема комбайна «Grimme» SE 150/60. 1 – катки; 2 – вертикальные диски; 3 – лемех; 4, 5 – первый и второй элеваторы; 6 – ботвоудаляющий транспортер; 7, 9, 10 – первое, второе и третье сепарирующие устройства; 8 – гребенчатый ботвоудалитель; 11 – переборочный стол; 12 – загрузочный элеватор; 13 – бункер.
Положительный аспект комбайна данного типа – «щадящая» система сепарации, характеризующаяся наличием минимального количества падений клубней с очистительных устройств, по сравнению с «Dewulf RA-3060».
Для более качественного и оперативного управления сложными процессами в современном сельскохозяйственном производстве, необходимо слияние различных показателей, получаемых от сенсоров разных типов и информационных источников. Доступные ценные данные не могут быть полностью использованы, если неизвестны или не могут быть установлены алгоритмы их взаимосвязей.
Приводы элеваторов большинства уборочных машин выполнены с возможностью регулировки скорости вращения, но на практике для повышения чистоты сходового вороха чаще всего данный параметр устанавливается на максимальное значение, что приводит к увеличению содержания в сходе травмированных корнеплодов и луковиц.
Поэтому все большее распространение получают электронные системы контроля и поддержания оптимальных режимов работы машин для уборки корнеплодов и лука. Применяют специальные датчики, оценивающие уровень загрузки сепарирующих элеваторов. Данные обрабатываются бортовым компьютером, и по заданному оптимизационному алгоритму устанавливается скорость элеваторов. Это позволяет исключить вмешательство механизатора в технологический процесс сепарации и снизить количество травмированных корнеплодов и луковиц.
Цель работы – обоснование конструктивных и режимно-технологических параметров автоматизированных сепарирующих рабочих органов картофелеуборочного комбайна.
МАТЕРИАЛЫ И МЕТОДЫ
При решении поставленных задач использовали методологии системного анализа и синтеза, физического моделирования, основанные на теории искусственных нейронных сетей, теории вероятностей и математической статистики, численные методы решения аналитических зависимостей, классической механики, основные положения теории разрушения, механики грунтов, общепринятые методы проведения лабораторно-полевых исследований. [15, 17, 19]
Достоверность полученных данных обеспечена методами математической обработки и статистического анализа результатов исследований, многофакторного анализа, применением программ «Microsoft Excel», «STATISTICA-6.0». [2, 16, 21]
Для увеличения производительности с одновременным повышением качественных показателей уборки картофеля необходимо создание системы функционирующих элементов уборочной машины с определением величины изменяющегося внешнего воздействия X почвенно-климатических условий адаптации функций состояния Z и управляющего воздействия U (изменение режимных и технологических параметров рабочих органов машины для уборки картофеля) к условиям внешней среды для обеспечения оптимального результирующего показателя (Y) работы уборочной машины. Известно, что под фактором, вызывающим отклонение управляемой величины (результирующий показатель (Y) работы машины для уборки картофеля), понимается какое-либо возмущающее воздействие (внешнее воздействие X почвенно-климатических условий), ему соответствует принцип управления по возмущению. [1, 3, 20]
При управлении по возмущению ставится задача компенсации влияния этого воздействия на управляемую величину. [4] Функциональная схема системы управления с принципом управления по возмущению (принцип Понселе-Чиколева) представлена на рисунке 6.
Рис. 6. Схема управления по возмущению.
Возмущающее воздействие F(t) через канал возмущения КВ управляемого объекта УО влияет на управляемую величину β(t), вызывая ее отклонение θL(t) от требуемого значения. Принцип управления по возмущению состоит в том, что для уменьшения или устранения отклонения θL(t) управляемой величины от требуемого значения, вызываемого возмущающим воздействием F(t), измеряется и в результате его преобразования, вырабатывается управляющее воздействие γ(t), которое приложено к входу объекта УО, вызывает компенсирующее отклонение θγ(t) управляемой величины противоположного знака, по сравнению с отклонением θL(t).
Для полной компенсации влияния возмущающего воздействия отклонение θγ(t) в каждый момент времени должно быть равно по знаку отклонения θL(t), вызываемому возмущающим воздействием F(t). Измерение и преобразование F(t) осуществляется с помощью измерительного элемента (ИЭ), он образует связь по возмущению. Выходное воздействие связи по возмущению (компенсирующее воздействие) в согласующем устройстве (СО) складывается с задающим воздействием α(t), определяющим требуемое значение управляемой величины. Задающее воздействие вырабатывается в задающем органе (ЗО).
Суммарное воздействие Σ(t) с помощью усилителя–преобразователя (УП) увеличивается по мощности до величины, необходимой для получения требуемого режима работы объекта. Наряду с усилением Σ(t) производится его дополнительное преобразование. Сформированное таким образом управляющее воздействие γ(t) с выхода УП поступает на вход объекта и через его канал управления КУ компенсирует влияние возмущающего воздействия, вызывая противоположную реакцию объекта, по сравнению с реакцией, вызываемой возмущающим воздействием через канал возмущения объекта. Связь по возмущению и усилитель-преобразователь образуют автоматическое управляющее устройство (АУУ). АУУ измеряет и преобразует возмущающее воздействие F(t) в соответствии с заложенным алгоритмом управления, вырабатывает управляющее воздействие γ(t). Система с принципом управления по возмущению (САУ) имеет алгоритм, общий вид которого представлен функцией: γ(t) = f [F(t)] (управляющее воздействие – функция возмущающего воздействия).
На рисунке 6 показано, что в САУ с принципом управления по возмущению имеется два канала влияния возмущающего воздействия F(t) на управляемую величину γ(t): канал возмущения (КВ) объекта, считающийся естественным каналом влияния возмущающего воздействия, и канал, образованный обратной связью по возмущению усилителем-преобразователем и КУ объекта – искусственно созданный компенсационный канал. [6]
РЕЗУЛЬТАТЫ
Функциональная схема автоматической системы контроля режимных и технологических параметров сепарирующей системы машины для уборки картофеля представлена на рисунке 7.
Рис. 7. Функциональная схема системы автоматического контроля режимных и технологических параметров сепарирующей системы машины для уборки картофеля.
Возмущающее воздействие F1(t) (твердость почвы) воспринимается измерительным органом (ИО) (подкапывающий лемех) и передается на сравнивающий орган (СО) – опорную плиту. Далее сигнал поступает на рабочий орган (РО) (упругий элемент), который создает управляющее воздействие, передающееся на объект управления (ОУ) (шток перемещения и вал интенсификатора), который в свою очередь воздействует на управляемую величину γ1(t) (глубина подкапывания). По мере продвижения машины для уборки картофеля изменяются физико-механические свойства почвы, урожайность товарной продукции, а следовательно и подача вороха на сепарирующие рабочие органы уборочной машины, что влияет на качественные показатели уборки. В каждый момент времени происходит изменение возмущающего воздействия F2(t) (масса вороха картофеля), которое воспринимается измерительным органом (ИО) (датчик веса) и передается на сравнивающий орган (БУ) (блок управления). Если величина больше определенного значения, то сигнал поступает на РО (механизм вертикального перемещения) и передается на ОУ (вал ведомого ролика приемного элеватора и вал ведомого основного элеватора), изменяющий управляемую величину γ2(t) и γ3(t). Если возмущающее воздействие F2(t) (масса вороха картофеля) на сходе с первого пруткового элеватора отличается от требуемого значения массы вороха картофеля, воспринимаемого ИО (датчик веса), то сигнал передается на БУ, а далее на РО (механизм вертикального перемещения) и ОУ (вал ведомого ролика приемного элеватора и вал ведомого основного элеватора). Задание и контроль регулируемых углов α1 и α2 наклона сепарирующих элеваторов (приемный и основной), а также угла α3 наклона выносной горки осуществляется автоматически бортовым компьютером. Относительное изменение управляемого перемещения рабочего исполнительного механизма, регулирующего углы α наклона элеваторов и выносной пальчатой горки производится в соответствии с разработанным алгоритмом:
(1)
где QВп – подача вороха клубней картофеля на подкапывающий лемех, кг/с; Кm – коэффициент преобразования тензодатчика веса в частоту электрического сигнала; fm – частота электрического сигнала на выходе из тензодатчика, Гц.
(2)
где m – масса клубненосного вороха, кг; vЛ – поступательная скорость движения уборочной машины, м/с; L – длина подкапывающего лемеха, м.
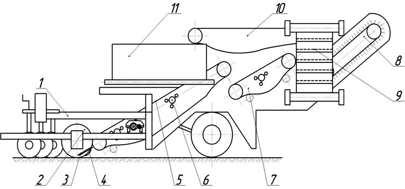
Схема автоматизированной сепарирующей системы картофелеуборочного комбайна представлена на рисунке 8.
Рис. 8. Конструктивно-технологическая схема сепарирующей системы картофелеуборочного комбайна с цифровой системой управления очистки. 1 – приемный прутковый элеватор; 2 – лемех подкапывающий; 3 – датчик веса подкапывающего лемеха; 4 – микроконтроллер; 5 – опорная стойка приемного пруткового элеватора; 6 – датчик инерционный; 7 – опорная стойка основного пруткового элеватора; 8 – выносная пальчатая горка; 9 – основной прутковый элеватор; 10, 11 – приемник инфракрасного излучения; 12 – электроцилиндр.
Выносная пальчатая горка имеет систему технического зрения в виде камеры с зоной покрытия всей рабочей поверхности полотна, блок управления, а также исполнительные механизмы с упруго-эластичными рабочими органами, приводимыми в действие электроприводами. [13, 14, 18, 19]
Для распознавания клубней картофеля над полотном пальчатой горки установлена универсальная вeб-камера «Logitech HD Pro C920», которая с высокой детализацией сканирует объекты, и разработана принципиальная блок-схема функционирования электронной системы линии.
Над прутковым элеватором 1 находится приемник инфракрасного излучения 10 (определитель сгруживания вороха), который передает сигнал на электронный блок управления 4 скорость перемещения картофелеуборочного агрегата.
При превышении заданной толщины вороха на основном прутковом элеваторе 9 изменяется скорость движения агрегата вплоть до полной его остановки, исключая сгруживание клубненосной массы.
Над местом падения клубней на основном прутковом элеваторе 9 (задняя часть) присутствует приемник инфракрасного излучения 11 (определитель примесей). Он взаимодействует с электронным блоком, выход которого связан с электромагнитными клапанами управления электроцилиндром 12, меняющим угол наклона выносной пальчатой горки 8.
В зависимости от наличия на основном прутковом элеваторе 9 почвенных комков, либо их отсутствия, приемник инфракрасного излучения 11 передает сигнал на гидрораспределитель и при помощи электроцилиндра 12 направляет процесс таким образом, чтобы клубни, выделившиеся из почвы, скатывались с горки 8 на основной прутковый элеватор 9 с минимальным количеством почвенных комков.
На основном прутковом элеваторе 9 клубни перемещаются двухручьевым ленточным транспортером на выгрузной (на схеме не показан) и далее в рядом идущий транспорт. Попавшие на элеватор 9 вместе с клубнями комки почвы отбираются комбайнером-переборщиком вручную и перекладываются в примеси для сбрасывания на убранное поле.
Почвенные комки, падающие с пальчатой горки 8 на элеватор 9, разрушаются при ударе. Клубни высвобождаются, мелкая почва просеивается на убранное поле. Клубни и остатки примесей с элеватора 3 попадают на пальчатую горку 8 и вновь проходят технологическую цепочку 6-7-9-10, клубни отделяются от примесей и попадают на основной прутковый элеватор 9.
В связи с тем, что регулирование угла α1 наклона полотна пальчатой горки осуществляется перемещением заднего вала приводного барабана пруткового элеватора диаметром DПР, то требуемое расстояние S1 перемещения штока актуаторов в теле цикла рассчитывается по формуле:
(3)
где LПГ – длина выносной пальчатой горки, м; DВЕД – диаметр ведомого вала барабана пальчатой горки, м; DПР – диаметр приводного вала барабана пальчатой горки, м.
Моделирование выносной пальчатой горки с регулируемым углом наклона полотна с элементами ИИ, обеспечивающими распознавание почвенных комков и их отделение от товарной продукции картофеля на клубненосный ворох для обоснования конструктивных и технологических параметров, при которых обеспечивается высокая полнота сепарации и минимальные повреждения товарной продукции, выполним при допущениях: стебли ботвы и сорняков расположены на полотне равномерно; компоненты вороха движутся по рабочей поверхности полотна без скольжения; объемный вес растительных и почвенных примесей, соответственно γР = 135 кг/м³, γП = 1500 кг/ м³.
Основные свойства изображений при распознавании почвенных комков и клубней картофеля соответствуют дифференцированию оригинала при умножении на р разности между его изображением и значением оригинала в начальный момент:
(4)
Изображение второй производной определяется формулой:
(5)
n-й производной:
(6)
Для нулевых натальных условий можно записать:
(7)
Соответственно изображение n-й производной функции при нулевых начальных условиях равносильно умножению изображения этой функции на оператор р в n-й степени:
(8)
Рассмотрим звено проектируемой сепарирующей системы (пальчатая горка), описываемое дифференциальным уравнением:
(9)
где y(t) – входное воздействие; x(t) – измерение выходной величины.
Входное воздействие на сепарирующие устройства – сход QВэл клубненосного вороха с подкапывающих рабочих органов, который определяется:
(10)
где ρП – плотность почвы, кг/м³; ρЛ – плотность клубней, кг/м³; vЛ – поступательная скорость подкапывающего лемеха, м/с; lЛ – длина подкапывающего лемеха, м.
Сход клубненосного вороха с поверхности сепарирующих устройств находится по выражению:
(11)
где m – масса клубненосного вороха на пальчатой горке, кг; Lэл – длина пальчатой горки, м.
Масса клубненосного вороха на сходе mСХэл с поверхности сепарирующих устройств:
(12)
где m1 – масса мелких почвенных примесей, кг; m2 – комков почвы, соизмеримых по размерам с клубнями, кг; m3 – крупных почвенных комков, кг; mК – клубней картофеля, кг; m5 – растительных примесей, кг.
Предположим, что y(t) имеет вид единичного скачка:
(13)
и до его приложения звено находилось в состоянии покоя, то есть предначальные условия нулевые.
Применяя преобразование Лапласа, решение исходного уравнения в операционной форме получим в виде:
(14)
где X(p) и Y(p) – изображение функций x(t) и y(t);
– передаточная функция звена пальчатой горки.
Изображение единичного скачка:
(15)
Тогда полученное решение:
(16)
Переходя от изображения к оригиналу, найдем закон изменения во времени величины x(t) при заданном характере изменения входной величины.
(17)
Функция, описывающая изменения выходной величины объекта во времени, в результате изменения внешнего воздействия в виде единичного скачка, если при t < 0 объект находился в установившемся состоянии, называется переходной.
Поведение объектов или систем автоматического регулирования обычно описывается более сложными дифференциальными уравнениями. Их операторное решение получается в виде отношения полиномов M(p) и N(p), причем обычно n > m:
(18)
(19)
(20)
Угол αП подъема полотна пальчатой горки в поперечном направлении определяется по формуле:
(21)
где φЭЛ – угол трения клубненосного вороха по поверхности пруткового элеватора, град; ae – переносное ускорение материальной точки, м/с2; g – ускорение свободного падения материальной точки, м/с2.
Выводы. Выполнено теоретическое обоснование конструктивных и режимно-технологических параметров комплекса сепарирующих и комкоразрушающих рабочих органов с элементами искусственного интеллекта, обеспечивающих распознавание почвенных комков и их отделение от товарной продукции картофеля.
Определена мощность, затрачиваемая на привод интенсификаторов сепарации (комкоразрушающие устройства) пальчатой горки – 1,7097 кВт, включающая мощность, расходуемую на деформацию почвы и мощность на отбрасывание почвенных частиц с учетом их площади (не более 0,094 м2) и скорости движения.
Установлено, что относительное изменение управляемого перемещения рабочего исполнительного механизма, регулирующего углы α наклона элеваторов и выносной пальчатой горки определяется подачей вороха клубней картофеля на подкапывающий лемех, коэффициентом преобразования тензодатчика веса в частоту электрического сигнала и частотой электрического сигнала на выходе из тензодатчика.
Разработана конструктивно-технологическая схема сепарирующей системы картофелеуборочного комбайна с цифровой системой управления. Основные свойства изображений при распознавании почвенных комков и клубней картофеля соответствуют дифференцированию оригинала при умножении разности между его изображением и значением оригинала в начальный момент.
About the authors
A. Y. Izmailov
FGBNU “Federal Scientific Agroengineering Center VIM”; Russian Academy of Sciences
Email: sibirev2011@yandex.ru
ORCID iD: 0000-0003-1143-7286
Academician of the RAS, Professor
Russian Federation, Moscow; MoscowA. S. Dorokhov
FGBNU “Federal Scientific Agroengineering Center VIM”
Email: sibirev2011@yandex.ru
ORCID iD: 0000-0002-4758-3843
Academician of the RAS, Chief Researcher
Russian Federation, MoscowA. V. Sibirev
FGBNU “Federal Scientific Agroengineering Center VIM”
Author for correspondence.
Email: sibirev2011@yandex.ru
ORCID iD: 0000-0002-9442-2276
Grand PhD in Engineering Sciences, Chief Researcher
Russian Federation, MoscowM. A. Mosyakov
FGBNU “Federal Scientific Agroengineering Center VIM”
Email: sibirev2011@yandex.ru
PhD in Engineering Sciences
Russian Federation, MoscowN. V. Sazonov
FGBNU “Federal Scientific Agroengineering Center VIM”
Email: sibirev2011@yandex.ru
PhD in Engineering Sciences
Russian Federation, MoscowReferences
- Al’t V.V., Isakova S.P. Planirovanie rabot pri vozdelyvanii zernovyh kul’tur: programmnye komponenty // Sel’skohozyajstvennye mashiny i tekhnologii. 2023. № 17(4). S. 12–18. https://doi.org/10.22314/2073-7599-2023-17-4-12-18
- Ahalaya B.H., Cench Yu.S. Kombinirovannyj agregat dlya obrabotki pochvy impul’snym vozdejstviem udarnoj volny //Sel’skohozyajstvennye mashiny i tekhnologii. 2023. № 17(4). S. 62–67. https://doi.org/10.22314/2073-7599-2023-17-4-62-67
- Dorohov A.S., Aksenov A.G., Sibiryov A.V., Mosyakov M.A. Analiticheskie issledovaniya mashinno-tekhnologicheskih kompleksov dlya sorto-fitoprochistki posadok kartofelya i ovoshchnyh kul’tur v selekcii i semenovodstve // Agrarnyj nauchnyj zhurnal. 2022. № 4. S. 76–82. Rezhim dostupa: https://agrojr.ru/index.php/asj/article/view/2005
- Dorohov A.S., Sibiryov A.V., Mosyakov M.A. i dr. Konceptual’nye osnovy sozdaniya avtomatizirovannogo kombajna dlya uborki kartofelya s cifrovoj sistemoj identifikacii pochvennyh komkov i ih otdeleniya ot tovarnoj produkcii // Vestnik rossijskoj sel’skohozyajstvennoj nauki. 2023. № (5). S. 98–104. https://doi.org/10.31857/2500-2082/2023/5/98-104
- Kazakov S.S., Zhivaev O.V., Nikulin A.V. Konstrukcionnye puti snizheniya povrezhdaemosti klubnej posadochnogo kartofelya pri rabote cepochno-lozhechnogo vysazhivayushchego apparata // Traktory i sel’hozmashiny. 2019. № 3. S. 29–34. https://doi.org/10.31992/0321-4443-2019-3-29-34
- Lachuga Yu.F., Izmajlov A.Yu., Lobachevskij Ya.P., Shogenov Yu.H. Intensivnye mashinnye tekhnologii, robotizirovannaya tekhnika i cifrovye sistemy dlya proizvodstva osnovnyh grupp sel’skohozyajstvennoj produkcii // Tekhnika i oborudovanie dlya sela. 2018. № 7. S. 2–7. Rezhim dostupa: https://rosinformagrotech.ru/data/tos/content/tekhnika-i-oborudovanie-dlya-sela-iyul-7-253-2018-g
- Lobachevskij Ya.P., Bejlis V.M., Cench Yu.S. Aspekty cifrovizacii sistemy tekhnologij i mashin // Elektrotekhnologii i elektrooborudovanie v APK. 2019. № 36. S. 40–45. Rezhim dostupa: https://vestnik.viesh.ru/journal/vypusk-3-36-2019/
- Lobachevskij Ya.P., Dorohov A.S. Cifrovye tekhnologii i robotizirovannye tekhnicheskie sredstva dlya sel’skogo hozyajstva // Sel’skohozyajstvennye mashiny i tekhnologii. 2021. № 15(4). S. 6–10. https://doi.org/10.22314/2073-7599-2021-15-4-6-10
- Lobachevskij Ya.P., Cench Yu.S. Principy formirovaniya sistem mashin i tekhnologij dlya kompleksnoj mekhanizacii i avtomatizacii tekhnologicheskih processov v rastenievodstve // Sel’skohozyajstvennye mashiny i tekhnologii. 2022. № 16(4). S. 4–12. https://doi.org/10.22314/2073-7599-2022-16-4-4-12
- Otchet Otdeleniya sel’skohozyajstvennyh nauk RAN o vypolnenii fundamental’nyh i poiskovyh nauchnyh issledovanij v 2017 g. / A.V. Garist, A.A. Alferov, E.A. Demakova i dr. M.: OSHN RAN. 2018. 412 s.
- Petuhov S.N. Sostoyanie tekhnicheskogo i tekhnologicheskogo obespecheniya selekcii i original’nogo semenovodstva kartofelya // Agrotekhnika i energoobespechenie. 2018. № 4. S. 76–84. URL: https://www.elibrary.ru/item.asp?id=36852656 (data obrashcheniya: 20.04.2022).
- Fedorenko V.F., Mishurov N.P., Nemenushchaya L.A. Analiz sostoyaniya i perspektivy razvitiya selekcii i semenovodstva ovoshchnyh kul’tur: nauch. analit. obzor. M.: FGBNU «Rosinformagrotekh», 2019. 96 s. https://rosinformagrotech.ru/data/elektronnye-kopii-izdanij/rastenievodstvo/send/5-rastenievodstvo/1396-analiz-sostoyaniya-i-perspektivy-razvitiya-selektsii-i-semenovodstva-ovoshchnykh-kultur-2019
- Abd El-Rahman M.M.A. Development and Performance Evaluation of a Simple Grading Machine Suitable for Onion Sets // Journal of Soil Sciences and Agricultural Engineering. 2014. Vol. 2. Issue 2. PP. 213–226. https://doi.org/10.21608/jssae.2011.55418
- Azizi P., Dehkordi N.S., Farhadi R. Design, Construction and Evaluation of Potato Digger with Rotary Blade // Cercetari Agronomice in Moldova. 2014. Vol. 47. PP. 5–13. URL: https://clck.ru/bnNAf (дата обращения: 20.04.2022).
- Bachche S. Deliberation on Design Strategies of Automatic Harvesting Systems: A Survey // Robotics. 2015. Vol. 4. Issue 2. PP. 194–222. https://doi.org/10.3390/robotics4020194
- Dongre A.U. et al. Development of Potato Harvesting Model // International Research Journal of Engineering and Technology (IRJET). 2017. Vol. 4. Issue 10. PP. 1567–1570. https://www.irjet.net/archives/V4/i10/IRJET-V4I10288.pdf (дата обращения: 20.04.2022).
- Dongxia S., Aimin Z., Jianxun G. Design and Experiment on 1SZL–250A Type Sub Soiling Rotary Tillage Fertilizer Combined Soil Working Machine [Электронный ресурс] // Journal of Chinese Agricultural Mechanization. 2016. Vol. 37. Issue 4. https://caod.oriprobe.com/articles/47747497/Design_and_experiment_on_1SZL%E2%80%94250A_type_sub_soilin.htm (дата обращения: 20.04.2022).
- Dandekar I. et al. Review Paper Based on Design and Development of an Onion Harvesting Machine // Journal of Information and Computational Science. 2019. Vol. 9. Issue 12. PP. 333–337. https://www.researchgate.net/publication/339201506 (дата обращения: 20.04.2022).
- Jothi Shanmugam C., Senthilkumar G. Indigenous Development of Low Cost Harvesting Machine // ARPN Journal of Engineering and Applied Sciences. 2017. Vol. 12. Issue 5. PP. 4489–4490. http://www.arpnjournals.org/jeas/research_papers/rp_2017/jeas_0817_6236.pdf (дата обращения: 20.04.2022)
- Shangyu M. et al. Soil Water Use, Grain Yield and Water Use Efficiency of Winter Wheat in a Long-Term Study of Tillage Practices and Supplemental Irrigation on the North China Plain // Agricultural Water Management. 2015. Vol. 150. PP. 9–17. https://doi.org/10.1016/j.agwat.2014.11.011
- Zhang Z.J., Jia H.L., Sun J.Y. Review of Application of Biomimetics for Designing Soil-Engaging Tillage Implements in Northeast China // International Journal of Agricultural and Biological Engineering. 2016. Vol. 9. Issue 4. PP. 12–21. https://www.ijabe.org/index.php/ijabe/article/view/1437 (дата обращения: 20.04.2022).
Supplementary files










