Automated control complex of agrotechnology in precision farming
- Authors: Mikhaylenko I.M.1, Timoshin V.N.1
-
Affiliations:
- Agrophysical Research Institute
- Issue: No 5 (2024)
- Pages: 54-62
- Section: Farming
- URL: https://ogarev-online.ru/2500-2082/article/view/268574
- DOI: https://doi.org/10.31857/S2500208224050127
- EDN: https://elibrary.ru/zsnylv
- ID: 268574
Cite item
Full Text
Abstract
The paper presents a project of an automated complex for managing agricultural technology. The complex consists of two inseparable components, a control unit and an executive robotic technological machine. The control unit implements the modern theory of controlling a complex dynamic system, which is an agricultural field with sowing crops. The main distinctive feature of the proposed management theory is that the object of management is an agrocenoses, which includes sowing crops and weeds. This feature is transferred to the executive technological machine, through which the simultaneous application of mineral fertilizers and herbicide treatment is carried out. At the same time, the formation of optimal technological operations is carried out on the basis of Earth remote sensing data. Based on these data, the parameters of the state of the agrocenoses are assessed, and the resulting estimates are system-wide feedback through which agricultural technology is managed. The presented complex is of interest to specialists developing individual components of modern precision farming systems.
Full Text
Основы точного земледелия (ТЗ) были заложены во второй половине прошлого столетия, в 80-е годы начались первые опыты по использованию новых мобильных агрегатов для внесения удобрений. Однако в тот период системы GPS навигации не были настолько точны, как в настоящее время. Лучших результатов удалось добиться в 90-е годы, когда ученые продолжили исследования в этом направлении. ТЗ – это система управления продуктивностью посевов, основанная на применении комплекса современных автоматизированных технологических машин, информационных технологий, включая средства дистанционного зондирования Земли (ДЗЗ). Используя технические и технологические возможности ТЗ, фермеры могут точно рассчитать количество семян, удобрений и других ресурсов для каждого участка поля. После того как на основе ДЗЗ и лабораторных данных составляется точная карта поля с указанием характеристик каждого его участка, можно более рационально распределять ресурсы между ними. Таким образом, удается избежать перерасхода ресурсов и повысить продуктивность участков поля. При достаточно большом масштабе производства такой подход позволяет снизить расходы на производство единицы продукции и повысить отдачу с каждого квадратного метра земли. Кроме того, такая технология управления повышает качество продукции и снижает нагрузку на окружающую среду.
Можно утверждать, что ТЗ сложилось, как совокупность технологий, технических средств и систем для принятия решений, направленных на управление параметрами плодородия, влияющими на рост растений с целью повышения эффективности растениеводства. Однако у ТЗ есть недостатки, существенно ограничивающие его эффективность и препятствующие широкому внедрению в сельское хозяйство. При очень высокой технической сложности и дороговизне, современные системы ТЗ обладают невысокой экономической эффективностью и окупаемостью. Это продиктовано недостаточно высокой квалификацией обслуживающего персонала и отсутствием эффективной теории управления этими системами для получения заданного конечного результата. В современных системах ТЗ пока еще нет решений задач оптимизации технологических операций во времени и пространстве, без которых управление такими сложными системами невозможно. [5–8, 10, 11]
Решение оптимизационных задач сдерживается несовершенством автоматизированных технологических машин. Повышение производительности машин за счет существенного увеличения ширины технологического захвата (до 36 м) вступает в противоречие с качеством выполнения технологических операций. Это связано с тем, что пространственная дифференциация операций имеет только продольный характер, в направлении движения машины. В то же время по ширине захвата машины состояние посева культур и почвенной среды также неоднородно, как и в продольном направлении. Поэтому в зоне захвата могут оказаться несколько зон с разными значениями доз внесения агрохимикатов, что приводит к большим ошибкам в управлении состоянием посева культуры. Дополнительные недостатки существующих машин и технологий в том, что основные операции по внесению минеральных удобрений и обработки гербицидами выполняются раздельно, без учета влияния удобрений на сорные растения и гербицидов на состояние посевов сельскохозяйственных культур. [4, 5] Стали появляться новые работы технологической направленности, показывающие высокую эффективность одновременного внесения минеральных удобрений и обработок гербицидами. Формирование единой согласованной программы по состоянию растений основной культуры и сорных позволит избежать потери урожая и перерасхода минеральных удобрений и гербицидов. Кроме того, оптимизация доз удобрений, отвечающих биологическим потребностям культуры в питательных элементах, активирует процессы обмена веществ, обеспечивает ускорение инактивации поступающего гербицида и повышает устойчивость к нему у защищаемого растения. При этом культура вследствие более интенсивного накопления органической массы получает значительно меньшую дозу гербицида на единицу массы, происходит ростовое снижение содержания гербицида в тканях, а меньшие количества препарата при оптимальном обмене веществ быстрее инактивируются. Благоприятные условия питания также повышают общую биологическую конкурентоспособность культуры по отношению к сорнякам. [1, 2]
В современном ТЗ широко используют роботизированную технику. Но роботизация в основном ориентирована на выполнение отдельных технологических операций и автоматическое вождение мобильной техники, то есть на прямую замену человека-оператора, а не на решение задачи управления продукционным процессом с целью получения заданного конечного результата. [9, 10]
Цель работы – проект автоматизированного комплекса, в котором сочетается новая теория управления состоянием агроценоза и реализация этой теории в роботизированной машине технологического воздействия. Представленные результаты принципиально новые и защищены патентом Российской Федерации. [3]
МАТЕРИАЛЫ И МЕТОДЫ
Функциональная схема и теоретическая основа функционирования автоматизированного комплекса
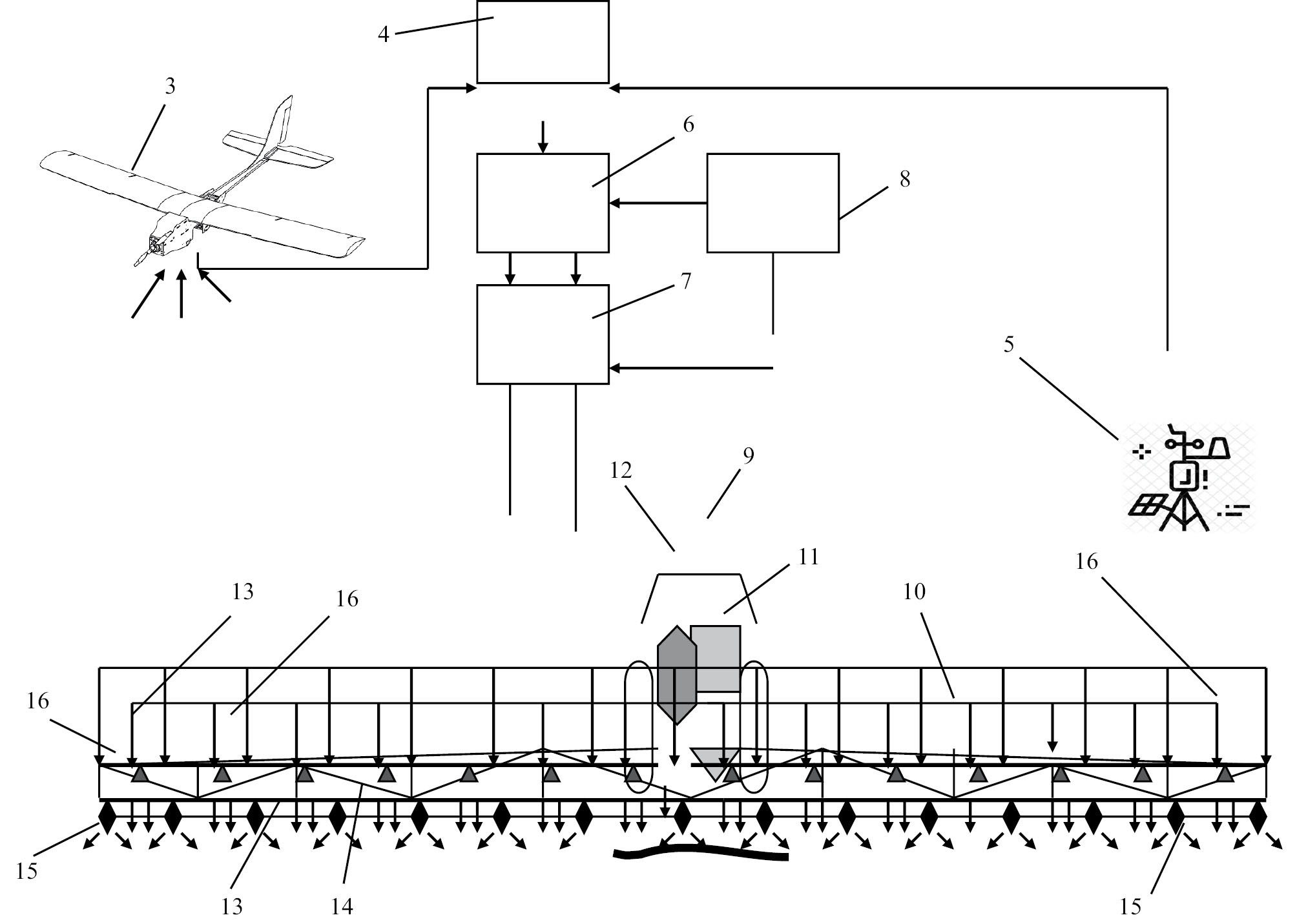
Функциональная схема комплекса, предназначенного для управления состоянием агроценоза с посевом яровой пшеницы, представлена на рисунке 1.
Рис. 1 Функциональная схема автоматизированного комплекса управления состоянием агроценоза.
Для функционирования комплекса необходима информация о состоянии агроценоза, включающего в себя основную возделываемую культуру и сорные растения. Для получения информации размещают на одном из краев основного поля 1 с посевом сельскохозяйственной культуры 10…15 тестовых площадок 2 с аналогичной культурой и набором известных видов сорных растений. Тестовые площадки (площадь каждой – 20…30 м2) предназначены для сопоставления реальных и моделируемых параметров состояния посевов, а также для учета всех влияющих факторов. На основании этого сопоставления уточняют параметры используемых математических моделей без обследования площади основного поля. На тестовых площадках возделывают одну и ту же культуру, например, яровую пшеницу, и осуществляют одни и те же технологические воздействия, различающиеся по величине.
Для получения текущей информации о физических свойствах растений и химическом составе почвы через каждые трое суток отбирают пробы яровой пшеницы, сорных растений и почвы на тестовых площадках с последующей передачей проб в аналитическую лабораторию, чтобы определить их физические параметры. Узнать о состоянии агроценоза на всей площади основного поля можно, используя беспилотный малый летательный аппарат 3, который, совершая пролеты над основным полем и тестовыми площадками с заданной периодичностью, осуществляет их оптическую съемку. Беспилотный малый летательный аппарат оборудуют средствами дистанционного зондирования Земли (ДЗЗ), которые с помощью радиомодемной связи подключают к базе данных 4 вместе с датчиками метеостанции 5. База данных, где хранится описание состояния агроценоза и почвенной среды на тестовых площадках, спектральная информация с основного поля и тестовых площадок соединена с общим управляющим устройством 6, к выходу которого подключен двухканальный исполнительный регулятор 7, а к входу – измеритель пространственных координат 8, установленный на тракторе.
На основании информации о состоянии агроценоза и почвенной среды, хранящейся в базе данных, в автоматизированном комплексе реализуется следующая последовательность операций, обозначаемых номерами 0–6 (рис. 2).
Рис. 2. Структурная схема функционирования автоматизированного комплекса управления состоянием агроценоза.
Операции 0: 01 – периодически, с интервалом в трое суток, с тестовых площадок отбирают пробы растений посева яровой пшеницы, сорных растений и почвы; 02 – cредствами ДЗЗ осуществляют оптическую съемку тестовых площадок; 03 – фиксируют метеорологические параметры атмосферы в непосредственной близости от поля, на котором возделывается яровая пшеница.
Операции 1:
1.1. На основе полученной информации с тестовых площадок и от средств ДЗЗ уточняют (адаптируют) параметры математических моделей [11]:
- оптических измерений состояния биомассы агроценоза с яровой пшеницей до фенофазы колошения в векторно-матричной символьной форме:
(1)
где – вектор параметров отражения для пространственной координаты (y, h) на оптических диапазонах: z1 – 668 нм, z2 – 717, z3 – 840 нм.
– матрица параметров модели,
вектор-функция, где аргументами будут параметры состояния агроценоза: x1m (y,h) – биологическая урожайность яровой пшеницы на каждом малом фрагменте поля с пространственными координатами (y, h), ц·га–1; x2m (y, h) – плотность биомассы сорных растений, ц·га–1; x3m (y,h) – плотность сырой массы агроценоза, ц·га–1; – вектор случайных ошибок измерений, имеющих нулевые средние и дисперсии , , ;
- оптических измерений состояния биомассы агроценоза с яровой пшеницей на период от начала колошения до созревания урожая в векторно-матричной символьной форме:
, (2)
где – вектор параметров отражения для пространственной координаты (y, h) на оптических диапазонах: z1 – 475 нм, z2 – 668, z3 – 717, z4 – 840 нм.
– матрица параметров модели,
вектор-функция, где аргументы – параметры состояния агроценоза: x1u (y, h) – биологическая урожайность яровой пшеницы на каждом малом фрагменте поля с пространственными координатами (y, h), ц·га–1; x2u (y, h) – плотность биомассы сорных растений, ц·га–1; x3u (y, h) – масса колосьев яровой пшеницы (урожая), ц·га–1; x4u (y, h) – плотность сырой массы агроценоза, ц·га–1; – вектор ошибок моделирования, представляющих собой случайные процессы с нулевыми средними и дисперсиями .
1.2. На основе информации, полученной с тестовых площадок и метеостанции, уточняют (адаптируют) параметры математических моделей:
- динамики параметров биомассы агроценоза с яровой пшеницей в интервале времени, предшествующему фенофазе колошения яровой пшеницы:
(3)
где параметры состояния биомассы агроценоза: x1m (y, h) – биологическая урожайность яровой пшеницы на каждом малом фрагменте поля с пространственными координатами (y, h), ц·га–1; x2m (y, h) – плотность биомассы сорных растений, ц·га–1; x3m (y, h) – плотность сырой массы агроценоза, ц·га–1. Внешние возмущения: f1 – среднесуточная температура воздушной среды, °C; f2 – уровень радиации, Вт·(м2⋅ч)–1; f3 – интенсивность осадков, мм; параметры химического состояния почвы: vN – содержание азота, кг·га–1; vK – калия, кг·га–1; vP – фосфора, кг·га–1; vMg – магния, кг·га–1; v5 – влагозапас, мм; g – доза обработки агроценоза гербицидом универсального действия, г·(м2)–1; ζ1m(t), ζ2m(t), ζ3m(t) – ошибки моделирования, представляющие собой случайные процессы с нулевыми средними и дисперсиями ; y, h – пространственные координаты, м; – суточное время, интервал вегетации от всходов до фазы колошения.
Каноническая векторно-матричная символьная форма модели (3):
(4)
где Am, Bm, Dm, Cm – матрицы параметров модели, передачи управлений химическими параметрами почвы, гербицидами, внешних возмущений. Вид матриц соответствует развернутой форме модели (3);
- динамики параметров биомассы агроценоза с яровой пшеницей от колошения до полного созревания зерна:
(5)
где параметры состояния биомассы агроценоза: x1u (y, h) – биологическая урожайность яровой пшеницы на каждом малом фрагменте поля с пространственными координатами (y, h), ц·га–1; x2u (y,h) – плотность биомассы сорных растений, ц·га–1; x3u (y,h) – масса колосьев яровой пшеницы (урожай), ц·га–1; x4u (y, h) – плотность сырой массы агроценоза, ц·га-1; ζ1u(t), ζ2u(t), ζ3u(t), ζ4u(t) – ошибки моделирования, представляющие собой случайные процессы с нулевыми средними и дисперсиями ; y, h – пространственные координаты, м; – суточное время, интервал вегетации от колошения до созревания.
Каноническая векторно-матричная символьная форма модели:
(6)
где Au, Bu, Du, Cu – матрицы параметров модели, передачи управлений химическими параметрами почвы, гербицидами, внешних возмущений. Вид матриц соответствует развернутой форме модели (5);
- динамики параметров состояния почвенной среды во время, предшествующее колошению:
(7)
или в компактной символьной форме:
(8)
где dN (t), dK (t), dP (t), dMg (t) – дозы внесения элементов питания, соответственно, азота, калия, фосфора, магния, кг га–1; dW (t) – норма полива, мм;
A2,9, B2,9, C2,9, M2,9 – матрицы параметров модели, передачи управлений химическими параметрами почвы, внешних возмущений, связи с параметрами агроценоза. Вид матриц соответствует развернутой форме модели (7);
- динамики параметров состояния почвы в интервале времени от колошения до полного созревания зерна:
или в компактной символьной векторно-матричной форме:
(10)
где A9,13, B9,13, C9,13, M9,13, P9,13 – матрицы параметров модели, передачи управлений химическими параметрами почвы, внешних возмущений, связи с параметрами посева культуры и биомассы доминирующих видов сорняков. Вид матриц соответствует развернутой форме модели (9).
Операции 2:
2.1. Измеряют параметры ДЗЗ по всей площади поля.
2.2. По уточненным параметрам математических моделей и данным ДЗЗ оценивают состояние агроценоза в среднем по площади поля:
- в интервале времени, предшествующему колошению:
(11)
- между колошением и полным созреванием зерна
(12)
где Rm(t), Ru(t) – матрицы ошибок оценивания, имеющие размерность, соответствующую векторам параметров биомассы моделей (4) и (6).
Операции 3:
3.1. Вводят прогнозы температуры, уровня солнечной радиации и интенсивности осадков.
3.2. Принимая оценки состояния (11) и (12) в качестве начальных условий формируют программы средних по полю параметров технологических операций минимизируя следующий критерий оптимальности, учитывающий потери урожая, расходы минеральных удобрений и гербицидов:
- в интервале времени, предшествующему колошению:
(13)
- программу в виде последовательности доз внесения минеральных удобрений по заданным фенофазам D*(T3,T9), обработок гербицидами по выбранным фенофазам g*(T3,T9); – в интервале времени между колошением и полным созреванием зерна:
(14)
Формируют программу в виде последовательности доз внесения минеральных удобрений по заданным фенофазам D*(T10,T11), обработок гербицидами по выбранным фенофазам g*(T10,T11), где в критериях оптимальности (13) и (14): G1,9, G9,13 – весовые матрицы; CD, CG – вектор стоимостей единиц управления; T3,T9, T10,T11 – моменты наступления фенофаз яровой пшеницы и выполнения технологических операций.
Операции 4:
4.1. Уточняют в реальном времени оптимальные средние по полю программы изменения параметров состояния агроценоза , , , подстановкой в модели параметров биомассы агроценоза (4), (6), (8), (10) программ средних по полю параметров технологических операций D*(T3,T9), D*(T10,T11) и g*(T3,T9), g*(T10,T11).
Операции 5:
5.1. Измеряют пространственные координаты всех малых фрагментов поля в реальном времени.
5.2. Оценивают параметры состояния агроценоза на каждом малом фрагменте поля вдоль ширины захвата устройства для одновременного внесения удобрений и гербицидов:
- в интервале времени, предшествующему колошению:
(15)
- в интервале времени между колошением и полным созреванием зерна:
(16)
где (h, y) – пространственные координаты малых фрагментов поля.
Операция 6:
Формируют поправки к средним оптимальным значениям параметров технологических операций для каждого малого фрагмента поля, сравнивая оценки (15) и (16) со средними значениями, полученными при формировании оптимальной программы изменения средних по полю показателей развития агроценоза , :
(17)
(18)
(19)
(20)
где K3,9, K9,13, Kgm, Kgu – матрицы пространственной коррекции технологических операций.
Определяют размеры общих технологических операций в виде суммы из оптимальных средних значений и локальных поправок в заданной пространственной координате:
(21)
(22)
(23)
(24)
Полученные величины технологических операций считаются заданиями для двухканального исполнительного регулятора 7.
Роботизированная технологическая машина реализует одновременное дифференцированное внесение жидких минеральных удобрений и гербицидов, управляя состоянием агроценоза и выполняя все операции, представленные выше. Она монтируется на тракторе 9 и содержит широкозахватную складывающуюся штангу 10 для распределения удобрений, емкости для жидких минеральных удобрений 11 и гербицидов 12, распределительные трубопроводы для удобрений 13 и гербицидов 14, установленные на штанге 10. Распределительный трубопровод для удобрений 13 оборудован управляемыми дозаторами 15 в виде поршневых пар 16, штоки которых 17 скреплены с линейными сервоприводами 18. (рис. 3, 4). Мерные объемы 19 управляемых дозаторов соединены с распределительным трубопроводом для удобрений через первые обратные клапаны 20, обеспечивающие выпуск удобрений из емкости, и с рабочими органами в виде распылителей минеральных удобрений 21 – через вторые обратные клапаны 22. Распределительный трубопровод для гербицидов оборудован рабочими органами – распылителями гербицидов 23 с запорными клапанами 24. Давление поддерживается насосом 25, вход которого соединен всасывающим трубопроводом 26 с емкостью для жидких гербицидов. Запорные клапаны оборудованы исполнительными механизмами 27, которые, как и линейные сервоприводы управляемых дозаторов, подключены к выходам двухканального исполнительного регулятора 7, к входам подключен выход общего управляющего устройства 6. Двухканальный исполнительный регулятор выполнен в виде сети управляющих контроллеров (на рисунках не показаны), размещенных непосредственно на широкозахватной штанге, число которых равно числу управляемых дозаторов и запорных клапанов распылителей гербицидов. Управляемые дозаторы и распылители гербицидов размещены на трубопроводах через равные промежутки, что обеспечивает обработку малых фрагментов поля площадью 2…3 м2 вдоль штанги. Общее управляющее устройство 6, формирующее задания на дозы внесения жидких минеральных удобрений и гербицидов при переходе от одной линии малых фрагментов поля к другой, представляет собой бортовой управляющий компьютер, на котором также реализована база данных 4. Вход общего управляющего устройства соединен с выходом базы данных, соединенной с помощью радиомодемной связи со средствами ДЗЗ, установленными на беспилотном летательном аппарате 3, а также с датчиками метеостанции 5.
Рис. 3. Функциональная схема роботизированной технологической машины для осуществления оптимального управления состоянием агроценоза.
Рис. 4. Технологическая схема рабочих органов роботизированной технологической машины.
Общее управляющее устройство 6 (рис. 5) включает в себя блок адаптации 28 математических моделей оптических измерений, ко входу которого посредством радиомодемной связи подключены инструменты оптического дистанционного зондирования Земли, установленные на беспилотном летательном аппарате, блок адаптации 29 математических моделей параметров состояния агроценоза и почвенной среды, к которому подсоединены датчики метеостанции 5. Причем блоки адаптации математических моделей 28 и 29 оборудованы дополнительными входами для ввода информации о результатах отбора проб с тестовых площадок. Выходы блоков адаптации математических моделей соединены с блоками оценивания 30 в среднем по площади поля параметров состояния агроценоза, к входу которого также подключены средства оптического дистанционного зондирования Земли. Выход блока оценивания 30 соединен с входом блока формирования 31 программ средних по полю параметров технологических операций, куда подается прогнозная информация о метеопараметрах с датчиков метеостанции. Выход блока 31 соединен с входом блока 32 оптимальных средних по полю программ изменения параметров состояния агроценоза. Кроме блока 30, общее управляющее устройство 6 содержит блок оценивания 33 параметров состояния агроценоза на каждом малом фрагменте поля, к входу которого подсоединены средства оптического ДЗЗ, а к выходу – блок формирования 34 поправок к средним оптимальным значениям параметров технологических операций для каждого малого фрагмента поля, к входам которого подключены выходы блоков 30, 31 и 32, а выход блока 34 соединен с входами двухканального исполнительного регулятора 7.
Рис. 5. Блок-схема общего управляющего устройства роботизированной технологической машины.
Выводы. Высокая эффективность предлагаемого автоматизированного комплекса управления агротехнологией в точном земледелии достигается развитием общей теории управления, реализованной в блоке управления комплекса, и высокой степени дифференциации технологических операций в роботизированной исполнительной технологической машине. Высокая точность выполнения задач агрегата управления осуществляется путем автоматизации режимов рабочих органов (оснащение исполнительными механизмами и средствами обратной связи в зависимости от объема технологической операции) на локальных участках для внесения жидких минеральных удобрений и гербицидов. Оптимальные решения задач находятся с использованием новых средств оценки состояния агроценозов на основе данных ДЗЗ. Реализуется общесистемная обратная связь управления агротехнологией и достижение заданного конечного результата. Дополнительная эффективность управления агротехнологией достигается одновременным формированием технологических операций по внесению минеральных удобрений и обработок гербицидами. Это обеспечивает рациональное использование минеральных удобрений, ускоряет инактивацию поступившего гербицида, повышает устойчивость к нему защищаемых растений, снижает затраты.
About the authors
I. M. Mikhaylenko
Agrophysical Research Institute
Author for correspondence.
Email: ilya.mihailenko@yandex.ru
Grand PhD in Engineering Sciences
Russian Federation, Sankt-PeterburgV. N. Timoshin
Agrophysical Research Institute
Email: ilya.mihailenko@yandex.ru
PhD in Engineering Sciences
Russian Federation, Sankt-PeterburgReferences
- Emel’yanov Yu.Ya., Kopylov E.V., Kirillova E.V. Effektivnost’ gerbicidov v sochetanii s udobreniyami na yarovoj pshenice // Niva Zauralya. 2014. Vol. 6 (106). S. 18–23. https://doi.org/10.32861/jac.91.130.136
- Korsakov K.V., Strizhkov N.I., Pron’ko V.V. Kombinirovannoe primenenie udobrenij, gerbicidov i regulyatorov rosta pri vozdelyvanii ovsa i prosa v Povolzh’e. // Vestnik Altajskogo gosudarstvennogo agrarnogo universiteta. 2013. № 4 (120). PP. 24–32.
- Mihajlenko I.M. Sposob odnovremennogo differencirovannogo vneseniya zhidkih mineral’nyh udobrenij i gerbicidov i ustrojstvo dlya ego osushchestvleniya. Patent RF № 2772889 ot 26 maya 2022 g.
- Mihajlenko I.M. Teoreticheskie osnovy i tekhnicheskaya realizaciya upravleniya agrotekhnologiyami. Izd. SPbGTU. 2017. 250 s.
- Tochnoe zemledelie: uchebnik. Prakticheskoe posobie / pod red. D. Shpaar, A.V. Zaharenko, V.P. Yakusheva. SPb. Pushkin. 2009. 397 s.
- Benjamin L.R., Milne A.E., Parsons D.J. et al. Using stochastic dynamic programming to support weed management decisions over a rotation //Weed Res. 2009. Vol. 49. PP. 207–216. https://doi.org/10.1111 /J.1365-3180.2008.00678.X
- Bessette D., Wilson R., Beaudrie C., Schroeder C. An online decision support tool to evaluate ecological weed management strategies // Weed Sci. 2019. Vol. 67. PP. 463–473. https://doi.org/10.1017/wsc2019.21
- Bohanec M., Cortet J. Griffiths B. et al. A qualitative multi-attribute model for assessing the impact of cropping systems on soil quality // Pedobiologia. 2007. Vol. 51 (3). PP. 239–250. https://doi.org/10.1016/j.pedobi.2007.03.006
- Emmi L., Gonzalez-De-Soto M., Pajares G., Gonzalez-De-Santos P. New trends in robotics for agriculture: Integration and assessment of a real fleet of robots // The Scientific World Journal. 2014. 21 p. https://doi.org/10.1155/2014/404059
- Oliver M., Bishop T., Marchant B. An overview of precision agriculture. In Precision Agriculture for Sustainability and Environmental Protection // Eds. Rout. London. 2013. https://doi.org/10.4324/970203128329
- Precision agriculture technology for crop farming. Edited by Qin Zhang. Washington State University Prosser, Washington, USA. 2016. 382 P. https://doi.org/10.1111/sum.12320
Supplementary files







