Оценка возможности реализации процесса наблюдения в региональных центрах системы организации воздушного движения Российской Федерации
- Авторы: Ерохин В.В.1, Лежанкин Б.В.1, Урбанский Д.Ю.2
-
Учреждения:
- Московский государственный технический университет гражданской авиации
- Восточно-Сибирский филиал ФГУП «ВНИИФТРИ»
- Выпуск: № 2 (2024)
- Страницы: 96-118
- Раздел: Системы наблюдения и организации воздушного движения
- URL: https://ogarev-online.ru/2312-1327/article/view/259737
- DOI: https://doi.org/10.51955/2312-1327_2024_2_96
- ID: 259737
Цитировать
Полный текст
Аннотация
Организация воздушного движения (ОрВД) в региональных центрах управления воздушным движением определяется наличием средств наблюдения, использующих радиолокационный принцип определения координат воздушных судов (ВС). Размеры областей пространства зон ответственности составляют обширные территории, на которых размещение радиолокационных средств наблюдения, образующих единое поле контроля, экономически нецелесообразно. Наличие локальных областей пространства, в которых наблюдение за воздушным движением не выполняется, существенно снижает безопасность, регулярность и эффективность полетов. Внедрение новых технологий, требующих значительно меньших экономических затрат, требует оценки возможности их применения в соответствующих региональных центрах ОрВД. Поэтому актуальной научной задачей является исследование возможности применения многопозиционных систем наблюдения (МПСН) в виде оценки точностных характеристик и мест размещения элементов системы. Полученные результаты исследований можно применить при размещении наземных станций МПСН для достижения высоких показателей эффективности функционирования системы наблюдения и организации воздушного движения в целом.
Ключевые слова
Полный текст
Введение
Российская Федерация является самым большим в мире государством, занимающим шестую часть площади всей территории земного шара, и поэтому нуждается в реализации на своей территории всех возможных транспортных потоков, обеспечивающих экономическое благосостояние граждан государства. Потребности страны могут быть в полной мере обеспечены развитием и функционированием единой транспортной системы, связывающей все регионы нашего большого государства. Важная роль в формировании транспортной системы отведена гражданской авиации, выполняющей функцию оперативного и качественного связующего звена экономического и материального составляющего элемента страны. Организация процесса самолетовождения требует создания приемлемой среды, выполняющей функцию безопасного, регулярного и эффективного сервиса, направленного на выполнение задач обеспечения экономического благополучия граждан Российской Федерации [Логвин и др., 2009].
Система организации воздушного пространства для полетов ВС на территории Российской Федерации требует исполнения определенных норм и правил, согласно руководящим документам, применяемым при обслуживании воздушного движения в гражданской авиации1. Согласно структуре авиационной транспортной системы, ее частью является аэронавигационное обслуживание полетов, выполняющее функцию построения комплексов, обеспечивающих визуализацию процесса управления перемещением воздушных объектов. Реализацией этих процессов занимается служба эксплуатации радиотехнического оборудования и связи (ЭРТОС) региональных центров единой системы организации воздушного движения [Проект Стратегии…, 2021]. Ввиду того, что территория РФ занимает обширную площадь, построение перспективных систем наблюдения требует избирательного подхода при формировании методов и принципов организации этого процесса. Главным фактором, влияющим на структуру построения системы наблюдения, является географическое расположение областей воздушного пространства. Оптимальные траектории движения ВС иногда не совпадают с проложенными и сертифицированными воздушными трассами, а в районах Сибири и Дальнего Востока часто просто не являются желаемыми маршрутами.
Цель работы – обоснование необходимости применения и возможности реализации перспективных средств наблюдения, рекомендованных для использования в региональных центрах ОрВД в удаленных районах Российской Федерации: Сибири и Дальнего Востока.
Постановка задачи
Любое наблюдение за удаленным в пространстве объектом связано с решением классических радиолокационных задач: обнаружения и измерения координат объекта наблюдения с целью определения его местоположения. Существующие средства в виде обзорных диспетчерских радиолокаторов решают эти задачи, однако требуют значительных энергетических, эксплуатационных и временных затрат, приводящих к большим экономическим расходам. Альтернативой для решения задач наблюдения являются рекомендованные для внедрения государственной программой РФ многопозиционные системы наблюдения (МПСН) [Борисов и др., 2022]. Успех применения их в европейской части страны обусловлен наличием развитой инфраструктуры и обеспечением существующей системой обмена данными на основе существующих технологий радиосвязи [Патрикеев, 2016; Скрыпник, 2014]. Однако, применение этой технологии в районах Сибири и Дальнего Востока не позволяет реализовать всех возможностей этих систем, ввиду слабого освоения территорий и отсутствия элементарных энергетических сетей.
В связи с этим стоит оценить необходимость применения МПСН для построения новых оптимальных маршрутов и воздушных трасс, где реализуется функция наблюдения, для сокращения интервалов движения и повышения качества управления воздушным движением. Реализуемый службой движения лозунг «Слышу, Вижу, Управляю» содержит составляющую, требующую необходимости визуализации пространственного положения ВС, находящихся под управлением, на рабочем месте диспетчера, в реальном времени и во всей зоне ответственности регионального центра. В данной работе анализу были подвергнуты три области пространства, в которых выполняются полеты по приборам (по воздушным трассам), имеющие особый интерес с точки зрения оптимального построения траекторий и имеющие большую географическую площадь. Такими областями явились: Иркутский, Нерюнгринский и Магаданский региональные центры ОрВД.
Анализ объекта исследований
На территории Иркутской области располагаются девять радиолокационных позиций, реализующих непрерывное наблюдение за пространственным положением объектов управления.
На схеме расположения средств наблюдения, в виде позиционирования радиолокаторов разного назначения2 и прохождения воздушных трасс (рис. 1), есть области воздушного пространства на границе секторов 5 и 7, где отсутствует радиолокационное наблюдение (рис. 2.а), отображенные на географической карте (рис. 2.б), это обусловлено гористым ландшафтом местности (отсутствием прямой видимости), что свойственно классическим радиолокационным системам [Определение местоположения …, 2021].
В данной области пространства, из-за сложности рельефа местности, радиолокационные средства наблюдения имеют «слепые» зоны, а управление ВС осуществляется путем получения информации от экипажей ВС о пролете контрольных ориентиров, расположенных по траектории следования. При такой организации воздушного пространства существенно снижаются пропускная способность и необходимость использования заведомо больших значений интервалов движения ВС. Это обстоятельство существенно влияет на качество обслуживания воздушного движения ВС гражданской авиации в воздушном пространстве Российской Федерации.
Рисунок 1 – Схема расположения средств наблюдения региона
Рисунок 2 – Области воздушного пространства, где отсутствует радиолокационное наблюдение: а) навигационная карта; б) географическая карта
В связи с тем, что в зоне ответственности Иркутского центра ОрВД имеется наличие зон с отсутствием радиолокационного контроля, а установка радиолокаторов экономически и географически не выгодна, то возможно применение МПСН, требующей значительно меньших экономических затрат при выполнении полной функции наблюдения.
Нерюнгринский центр ОрВД обеспечивает аэронавигационное обслуживание от Хабаровского края Амурской области и до Читинской и Иркутской областей, а также на всей территории Южной Якутии.
Общая протяженность территории с Севера на Юг 620 км, а с Запада на Восток 720 км. Общее количество воздушных трасс порядка 25. Из них 19 международных и 6 внутренних.
Зона ответственности разделена на районный центр (РЦ) «Север» и РЦ «ЮГ». Граница зон ответственности представлена на рисунке 3.
Рисунок 3 Зона ответственности Нерюнгринского центра ОрВД
Основным источником информации о местоположении ВС на воздушных трассах в Нерюнгринском центре ОрВД является моноимпульсный вторичный радиолокатор (МВРЛ) «Крона». МВРЛ «Крона» обеспечивает максимальную дальность обнаружения 400 км при условии обеспечения зоны действия при нулевых углах закрытия. В Нерюнгринском районе рельеф местности горный, представляющий собой систему из плоскогорий, отделённых друг от друга среднегорными хребтами и межгорными впадинами. Высота горных хребтов и отдельных возвышенностей достигает более 2000 м. Данные условия местности в значительной мере влияют на характеристики МВРЛ «Крона». Согласно летным проверкам при вводе радиолокатора, диаграмма зоны видимости имеет вид, представленный на рис. 4.
Рисунок 4 Зона видимости МВРЛ «Крона»
Черными линиями на окружности обозначена зона ответственности Нерюнгринского центра. Зеленым, синим, красным цветами обозначена зона видимости в зависимости от высоты полета ВС. Как видно из схемы зоны видимости, из-за больших углов закрытия МВРЛ «Крона» не покрывает зону ответственности центра. А именно районный центр Север от до на дальностях от 300 км при высоте полета 10 км полностью не перекрыт радиолокационным полем, а если высота полета составляет менее 10 км, то дальность обнаружения уменьшается в разы. В связи с этим присутствуют проблемы с обнаружением ВС, пролетающих по трассам, проходящим по проблемным участкам. На этом участке расположены воздушные трассы: Б-153 «Натом-Одана», Б-148 «Селда-Одана», Г494 «Одана-Огтин», В-708 «Селда-Обади», на рисунке 5 изображены красным цветом участки трасс.
Рисунок 5 – Участки трасс «Селда-Одана», «Одана-Огтин», «Натом-Одана», «Селда-Обади»
Так на участке трассы Б-153 «Натом-Одана», при следовании ВС в сектор Якутска «Запад», ВС входит с Хабаровской зоны над точкой «Натом» на эшелонах FL 300 FL-320, при этом координаты не могут быть определены, и соответственно наблюдение за ВС вплоть до выхода из зоны ответственности над точкой «Одана» отсутствует. Это расстояние от точки «Натом» до точки «Одана» составляет 153 км. В связи с этим на данном участке ВС следуют без наблюдения службой движения, используя временное регулирование с интервалом 10 минут, что существенно снижает оптимальное использование воздушного пространства.
Решение данной проблемы заключается в установке дополнительного средства наблюдения, обеспечивающего выполнения условия перекрытия невидимых зон на ответственном участке Нерюнгринского центра, проблема может быть решена развертыванием МПСН в условиях горной местности.
Основным источником информации о местоположении ВС на воздушных трассах Магаданского центра ОВД является МВРЛ «Крона», расположенная в п. Чайбуха. МВРЛ «Крона» обеспечивает максимальную дальность обнаружения 400 км при условии обеспечения зоны действия при нулевых углах закрытия.
В Магаданском районе рельеф местности тоже горно-равнинный, со значительными перепадами высот. Высота горных возвышенностей достигает более 1500 м. Данные условия местности в значительной мере влияют на характеристики МВРЛ «Крона». Согласно летным проверкам, проводимым при вводе в строй радиолокатора, диаграмма зоны видимости имеет вид, представленный на рис. 6.
Рисунок 6 – Зона видимости МВРЛ «Крона» Магаданского центра
Красными пунктирными линиями на окружности обозначена зона ответственности УВД. Зеленым, красным, черным цветами обозначена зона видимости в зависимости от высоты полета ВС. Из графика видно, что средства наблюдения, установленные на позиции п. Чайбуха, вполне обеспечивают полное радиолокационное перекрытие зоны ответственности УВД.
На данное время, несмотря на проведенную в начале 2000-ых годов глубокую модернизацию МВРЛ «Крона», существует ряд серьезных недостатков, один из которых заключается в том, что аэронавигационная точка изменения направления полета ВС наиболее загруженных трасс совпадает с местом расположения радиолокатора, в связи с этим у диспетчера УВД отсутствует наблюдение за маневром воздушного судна из-за «слепой зоны» – «воронки» над РЛС, обусловленной технологией построения вторичных радиолокаторов, к тому же не имеющей резерва, а также отсутствием стационарного электроснабжения и необходимостью обеспечения обслуживания штатным инженерно-техническим персоналом, доставляемым на объект чартерными рейсами малой авиации, полеты которой зависят от погодных условий (рис. 7) [Болелов, 2021; Лежанкин и др., 2019]. При такой организации технической эксплуатации объекта службы ЭРТОС, реализованной вахтовым методом, отсутствует возможность оперативной доставки на объект вышедших из строя узлов, необходимого запаса топлива для обеспечения бесперебойной работы средства наблюдения.
Проведенный анализ условий эксплуатации и возможностей реализации функций наблюдения для выполнения процедуры организации воздушного движения показал, что в рассматриваемом центре имеется острая необходимость в установке дополнительного средства наблюдения. Таким средством может являться МПСН, реализующая возможность решения проблемных вопросов в условиях горно-равнинной местности Магаданского центра по управлению воздушным движением
Рисунок 7 – Зона ответственности МВРЛ «Крона» п. Чайбуха
Материалы и методы
Многопозиционная система наблюдения – это реализация технологии наблюдения за воздушным пространством, основанная на позиционировании объектов наблюдения путем развертывания сети НЗ, с заданной геометрией.
Определение местоположения ВС осуществляется на основе разностно-дальномерного метода. Координаты определяются путем расчета на основе временных задержек прихода сигнала, излученного самолетным ответчиком с борта ВС на НЗ, разнесенные в пространстве.
В МПСН (рис. 8) измеряются значения моментов прихода сигнала на НЗ, прошедшие по разным траекториям, и далее вычисляются разности времени распространения сигналов от ВС (цели Ц) до опорного НЗ0 пункта через распределенные НЗ (НЗ1,НЗ2).
Рисунок 8 – Принцип действия МПСН
Вычисление местоположения объекта наблюдения (Ц) осуществляется на основе определения координат , при плоскостной задаче, а для позиционирования в пространстве добавляется еще одна координата. Начальными условиями для расчетов выступают известные координаты наземных станций (НЗ1 и НЗ2) , а также разность дальностей на независимых базах . Координаты НЗi () заранее известны c геодезической точностью.
Определение разностей дальностей осуществляется путем фиксации момента прихода сигналов, прошедших по различным траекториям, причем измерения необходимо выполнять для пар НЗ.
Увеличивая количество станций, а именно количество попарных измерений, появляется возможность увеличить точность позиционирования ВС (Ц). Прямые уравнения связи измеренных временных сдвигов сигналов с разностями дальностей имеют вид [Измерение координат…, 2014]:
(1)
где Di расстояние между ВС и пунктом приема; i=1, (M-1); c3108 м/с скорость распространения сигнала; расстояние от ВС до опорной станции.
Для двух приемных пунктов зависимость разности между временами прихода сигналов описывается гиперболой. Каждая такая гипербола описывает возможные положения объекта для одной конкретной разницы времени задержки, то есть, располагая информацией только об одном значении такой разницы, можно заключить, что точка расположения объекта находится где-то на соответствующей гиперболе.
Измерение разницы времени поступления сигнала от объекта в других парах приемных пунктов дает возможность построить гиперболы возможных положений ВС относительно пары НЗ.
Позиционирование ВС, применяя метод гипербол, позволяет получить местоположение объекта наблюдения (Ц), как точки пересечения гипербол, фокусы которых лежат в месте установки НЗ (рис. 9).
Рисунок 9 – Система МПСН в виде пересечения гиперболических линий положения
В соответствии с этим, система нелинейных уравнений, связывающих координаты ВС, координаты i-ой станции и разности расстояний, имеет вид [Монаков, 2018; Измерение координат…, 2014]:
(2)
где координаты ВС; координаты пункта приема.
На основании системы уравнений (1), разности расстояний по независимым базам определяются следующими соотношениями [Измерение координат…, 2014]:
(3)
В результате преобразования выражения (2) с учетом (1) и (3) получим линейную систему уравнений:
(4)
Полученную систему уравнений (4) целесообразно представить в матричной форме:
(5)
где А матрица размерностью x L; L число измеряемых координат ВС; P вектор размерностью М х L; а вектор размерностью х L.
Определению в матричном уравнении (5) подлежит вектор P, содержащий в общем случае плоскостные прямоугольные координаты и полярную координату дальности D0:
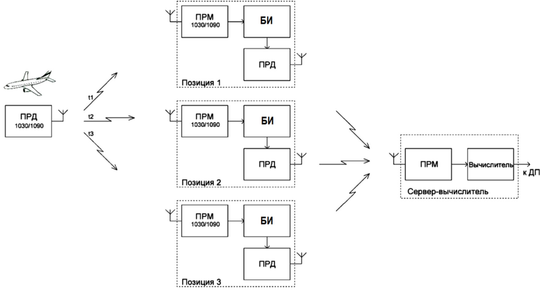
При реализации алгоритма функционирования в аппаратуре МПСН, упрощенная структура системы представлена на рисунке 10. Самолётный ответчик ВС формирует сигнал, который приходит на позиции с разными временными задержками (t1, t2, t3). ПРМ 1030/1090 выполняет стандартные процедуры: избирательности, преобразования частоты, усиления принятых сигналов. Блок измерения (БИ) фиксирует момент прихода сигнала относительно единого времени, установленного на НЗ. Эти сигналы проходят первичную обработку и передаются на сервер-вычислитель, где происходит определение местоположения ВС. Данные о местоположении ВС поступают в центр организации воздушного движения, диспетчерский пункт (ДП) и отображаются на индикаторе.
Для реализации МПСН необходима сеть наземных приёмных станций, принимающих сигналы от самолетного ответчика (рис. 10). Помимо собственных измерений приёмные станции позволяют получать непосредственное содержание принятых сообщений.
Достоинством МПСН, по сравнению со вторичными радиолокаторами, является дешевизна конструкции, которая не связана с построением «монументальных» антенных систем, характеризующихся большой апертурой, и силовых агрегатов их привода.
Рисунок 10 Упрощенная схема принципа действия МПСН
Недостатком МПСН, в сравнении с ВРЛ [Туринцев и др., 2022], является потребность в обеспечении приема и обработки сигнала от ВС достаточным количеством станций и особенностями их геометрического расположения. Наличие большого количества приёмных станций, разнесённых в пространстве, приводит к формированию сложной конфигурации рабочей зоны (РЗ) системы области пространства, в которой система обеспечивает требуемую точность измерений. Исследование параметров рабочей зоны возможно путем проведения натурных испытаний облетов, а также путем математического моделирования, с привязкой к конкретному центру ОрВД.
Алгоритмы проводимых исследований
В разностно-дальномерных системах место ВС определяется как точка М пересечения двух линий положения Δrab и Δrac, имеющих форму гипербол (рис. 11) [Системы наблюдения…, 2023; Синтез многопозиционных…, 2022].
Рисунок 11 – Определение местоположения воздушного судна в разностно-дальномерной системе с совмещенными базами
Базы rab и rac каждой из пар радиомаяков «видны» из точки местоположения самолета под углами γab и γac (называемыми также углами визирования или далее базовые углы). При этом касательные в точке пересечения линий положения, задаваемых каждой парой станций, являются биссектрисами базовых углов γab и γac. Поэтому угол пересечения линий положения ЛП1 и ЛП2:
(6)
Углы визирования γab и γac могут быть определены из прямоугольных треугольников BMD1 и CMD2 в следующем виде:
(7)
где γab, γac – базовые углы частных баз разностно-дальномерной системы; γbc – угол визирования общей базы; rab, rac – длины частных баз; ra – расстояние от ведущей станции А до точки пересечения ЛП; φ – полярный угол на точку пересечения линий положения; β – угол пересечения частных баз разностно-дальномерной системы.
Существует понятие нормированного расстояния и коэффициента симметричности частных баз разностно-дальномерной системы [Системы наблюдения…, 2023].
При определении углов визирования в соответствии с (7) необходимо учитывать, что при достижении углом γab или γac значения 90° тангенс имеет разрыв и меняет знак, в то время как геометрически углы визирования продолжают увеличиваться и превышают 90°.
С учетом этого базовые углы будут равны:
·
· . (8)
В общем случае, зная параметры ξ, μ и β разностно-дальномерной системы, можно определить по (8) углы визирования γab и γac для произвольной точки M пересечения ЛП, задаваемой полярными параметрами ra и φ. Для этой же точки M пересечения линий положения из треугольника AMB (рис. 11) по теореме синусов следует [Системы наблюдения…, 2023]:
Отсюда определится разность расстояний от точки M до станций A и B:
(9)
Аналогично из треугольника AMC (рис. 12) следует:
Тогда разность расстояний от точки M до станций A и C
(10)
Рабочей областью (зоной) МПСН является область земной поверхности, в пределах которой обеспечивается определение места ВС с заданной вероятностью по сигналам с радиальной ошибкой σr, не превышающей заданного (допустимого) значения σrдоп, где
(11)
Для сравнительно небольших расстояний и тем более с целью ориентировочного построения рабочих зон МПСН на карте целесообразно ограничиться рассмотрением гипербол как плоских кривых.
При решении навигационных задач для оценки точности используют среднеквадратическую радиальную ошибку σr, которая для двух линий положения определяется как [Системы наблюдения…, 2023]:
(12)
где – коэффициент корреляции между ошибками определения ЛП (измерения коэффициента корреляции отсчета для системы, имеющего значение ρ12=0.309); σЛП-1 и σЛП-2 – среднеквадратические ошибки определения линий положения ЛП-1 и ЛП-2. Для независимых ошибок измерений линий положения ρ12=0, тогда
(13)
где αМ – угол пересечения линий положения в точке местоположения ВС М; Ψ1 и Ψ2 – углы, под которыми видны базы системы (базовые углы). Приведенная формула для σr является общей для всех навигационных систем, использующих две ЛП [Системы наблюдения…, 2023].
Если в формулу (13) подставить значения ошибок для системы, то получим:
(14)
где коэффициент
(15)
называется геометрическим фактором системы,
Приведенная формула позволяет произвести оценку точности определения места ВС (σr) для любой точки рабочей области с учётом многих составляющих ошибок, в том числе и от воздействий организованных помех. Организованные помехи увеличивают величины σΔτ и σНП, а следовательно, и σr (при заданном Кг) или при выполнении условия (11), уменьшают Кгдоп, а следовательно, и рабочую зону МПСН.
По значениям σΔτ, Кг=f(Ψ1,Ψ2) можно построить линии равных точностей, где σr=const, и, в частности, можно построить рабочую область системы, ограниченную линией равной точности σr= σrдоп =const. В этом случае при σΔτ=const имеем
Оценка применимости МПСН может быть получена путем построения рабочей зоны, отражающей место расположения НЗ, между которыми организован канал связи и предусмотрено обслуживание этих объектов.
Как указано выше, рабочая зона системы МПСН определяется путём совместной оценки (выделения общей части) «рабочей области по точности», ограниченной линией, равной точности σrдоп=const, и зон (дальности) действия наземных станций, обеспечивающих получение не менее двух ЛП [Системы наблюдения…, 2023].
В результате проводимых расчетов и составления модели функционирования, для автоматизации процесса управления воздушным движением должно выполняться условие σr < σrдоп, обеспечение которого позволит выполнить требования по точностным показателям и соответственно решить навигационную задачу.
Суть алгоритма построения рабочей зоны МПСН заключается в моделировании полёта ВС вокруг наземных станций с учётом влияния взаимного расположения ВС и наземных станций или так называемого геометрического фактора системы, который выражается формулой (14). Данное математическое представление алгоритма построения рабочей зоны МПСН подробно описано в [Исследование точностных характеристик…, 2023].
Результаты моделирования (исследований)
На работоспособность МПСН (точностные характеристики) существенно влияет топология размещения позиций системы, а именно геометрический фактор (места расположения НЗ) и размеры зон покрытия [Using…, 2022]. Расчет данных характеристик производился путем построения зоны видимости системы с учетом дальности установки приемников друг от друга и их количества применительно к трем областям воздушного пространства Российской Федерации, находящимся под управлением региональных центров ОрВД: Иркутским, Нерюнгринским и Магаданским.
При размещении НЗ МПСН в местах, имеющих значительное изменение высоты естественных возвышений, становится необходимостью учитывать размещение их на земной поверхности, а также учитывать возможность электропитания и обслуживания без привлечения дополнительных материальных средств.
Для реализации возможности покрытия зоны ответственности Иркутского регионального центра ОрВД, включая области пространства без радиолокационного наблюдения, выбраны пять позиций, отвечающих всем предъявленным требованиям: Таксимо (N56 21 33; E114 55 20); Нерпо (N57 28 13; E115 18 39); Чара (N56 54 27; E118 15 29); Бамбуйка (N55 46 40; E115 46 51); Куанда (N56 19 39; E116 7 14) [Лежанкин и др., 2019].
Географическое размещение НЗ позволяет обеспечить позиции требуемым электропитанием и техническим обслуживанием, а также полным контролем воздушного пространства.
Для предложенного размещения НЗ были построены линии положения, образующие рабочую зону, при начальных условиях требуемой точности: среднеквадратическое отклонение (СКО) измерения временного интервала 10-9 с; СКО радиальной ошибки: 5, 10, 20 метров (чёрный, красный, зелёный – линии соответственно) (рис. 12). Построенная зона для двух пар НЗ позволяет обеспечить качественный прием сигнала от ВС при использовании двух пар станций с заданным качеством ошибок позиционирования.
Рисунок 12 – Место установки приемников МПСН в Иркутском центре
Построенная рабочая зона МПСН полностью покрывает область пространства, где наблюдение не выполняется. Незадействованные НЗ могут выступать в качестве резервных станций, однако при использовании их рабочие зоны изменяют свою конфигурацию.
Для перекрытия проблемного участка в Нерюнгринском региональном центре ОрВД потребуется четыре НЗ. Данные станции будут устанавливаться на позициях: «Эльга» (N56 11 36.1, E130 37 29.2), «Ыллымах» (N58 34 38, E126 41 46), «Кутана» (N59 01 14.6, E131 47 05.3) и «Гыным» (N57 41 55, E130 37 24). Такое размещение станций позволяет перекрыть всю зону ответственности РЦ Север Нерюнгринского центра с высокой точностью обнаружения. На рисунке 13 изображены место установки приемников и формируемые рабочие зоны, полностью перекрывающие слепую зону радиолокационного контроля с заданной точностью позиционирования, причем позиция «Гыным» может также использоваться как резервная, либо в качестве сервера-концентратора.
Рисунок 13 – Место установки приемников МПСН в Нерюнгринском центре
Для перекрытия проблемного участка в Магаданском региональном центре ОрВД потребуется пять НЗ. Данные станции будут устанавливаться на позициях: «Тополовка» (N61 21 57, E160 07 09), «Омсукчан» (N62 30 52, E155 46 16), «Парень» (N62 39 12, E162 22 49), «Тахтоямск» (N60 11 51, E154 40 48) и «Эвенск» (N61 55, E159 14) (сервер-вычислитель), так как она находится на допустимых расстояниях до остальных четырех приемников. Такое размещение станций позволяет перекрыть всю зону ответственности Магаданского центра с высокой точностью обнаружения. На рис. 14 изображены место установки приемников и формируемая зона видимости. Цветами обозначены зоны разной точности 5, 10, 20 метров.
Рисунок 14 – Место установки приемников МПСН в Магаданском центре
Обсуждение полученных результатов
Полученные результаты оценки возможности применения МПСН в региональных центрах ОрВД Российской Федерации, путем математического моделирования построения рабочих зон, с целью обеспечения контроля за перемещением ВС по трассам и маршрутам с требуемым уровнем безопасности, регулярности и эффективности полетов позволяют сделать выводы:
- использование МПСН позволяет обеспечить самолетовождение по оптимальным траекториям во всей зоне ответственности региональных центров;
- обеспечение постоянного контроля за перемещением и управление движением ВС во всей зоне ответственности региональных центров;
- увеличение качества навигационного обеспечения полетов за счет резервирования средств наблюдения во всей зоне ответственности региональных центров;
- повышение точности и надежности определения местоположения на всем маршруте полета ВС.
Заключение
В статье представлены результаты оценки возможности реализации процесса наблюдения за пространственным положением ВС в региональных центрах ОрВД Российской Федерации для обеспечения безопасности, регулярности и эффективности полетов гражданской авиации. Исследования точностных характеристик предполагаемых МПСН, согласно топологии размещения компонентов системы, позволяют выполнить требования по реализации точностных показателей, предъявляемых к системам наблюдения согласно нормативным документам. Данные предложения возможно использовать при развертывании интегрированных МПСН в конкретных региональных центрах ОрВД. Однако представленные в статье результаты математического моделирования носят обзорный характер, применительно к конкретно выбранным региональным центрам ОрВД. В дальнейшем предполагается разработка методики формирования структуры МПСН, обеспечивающей потребности всей территории Российской Федерации по безопасному самолетовождению и реализующей потребности экономики нашего Государства.
1 Федеральные правила использования воздушного пространства Российской Федерации. Постановление Правительства Российской Федерации от 11 марта 2010 г. № 138.
2 Федеральные авиационные правила «Радиотехническое обеспечение полетов воздушных судов и авиационная электросвязь в гражданской авиации», от 20 октября 2014 г. № 297.
Об авторах
Вячеслав Владимирович Ерохин
Московский государственный технический университет гражданской авиации
Автор, ответственный за переписку.
Email: ww_erohin@mail.ru
ORCID iD: 0000-0002-5549-3952
Иркутский филиал, доктор технических наук
Россия, 664047, Иркутск, ул. Коммунаров, 3Борис Валентинович Лежанкин
Московский государственный технический университет гражданской авиации
Email: lezhbor@mail.ru
ORCID iD: 0000-0001-5504-0884
Иркутский филиал, кандидат технических наук, доцент
Россия, 664047, Иркутск, ул. Коммунаров, 3Дмитрий Юрьевич Урбанский
Восточно-Сибирский филиал ФГУП «ВНИИФТРИ»
Email: urbdim.ru@gmail.com
ORCID iD: 0009-0000-2574-512X
Россия, 664056, Иркутск, ул. Бородина, 57
Список литературы
- Болелов Э. А. Методы и алгоритмы комплексной обработки метеоинформации при метеорологическом обеспечении полетов воздушных судов гражданской авиации: специальность 05.22.14 Эксплуатация воздушного транспорта: диссертация на соискание ученой степени доктора технических наук / Болелов Эдуард Анатольевич, 2021. 421 с. EDN RAOAVI.
- Борисов Е. Г. Расчет координат источника радиоизлучения многопозиционной системой пассивной локации на основе разностно-дальномерных и энергетических определений / Е. Г. Борисов, И. Н. Шестаков // Научный вестник ГосНИИ ГА. 2022. № 40. С. 41-51. EDN YTPDQB.
- Измерение координат источников радиоизлучения многопозиционной пассивной разностно-дальномерной системой произвольной конфигурации / Б. В. Матвеев, В. П. Дубыкин, Д. Ю. Крюков [и др.] // Вестник Воронежского государственного технического университета. 2014. Т. 10, № 5. С. 114-119. EDN SWENBV.
- Исследование точностных характеристик широкозонной многопозиционной системы наблюдения Иркутского регионального центра организации воздушного движения / Э. А. Болелов, Б. В. Лежанкин, М. А. Межетов, В. В. Ерохин // Вестник Санкт-Петербургского государственного университета гражданской авиации. 2023. № 3(40). С. 89-101. EDN LKMFMX.
- Лежанкин Б. В. Системный анализ задачи определения местоположения воздушного судна в многопозиционной системе наблюдения / Б. В. Лежанкин, В. В. Ерохин, В. С. Марюхненко // Информационные технологии и математическое моделирование в управлении сложными системами. 2019. № 1(2). С. 46-61. EDN ZDOOGT.
- Логвин А. И. Интеграция Аэронавигационной системы России в глобальную систему ОрВД / А. И. Логвин, А. А. Бабич // Научный вестник Московского государственного технического университета гражданской авиации. 2009. № 139. С. 134-135. EDN LDHMVP.
- Монаков А. А. Алгоритм оценки координат объектов для систем мультилатерации // Известия высших учебных заведений России. Радиоэлектроника. 2018. № 4. С. 38-46. doi: 10.32603/1993-8985-2018-21-4-38-46. EDN VBHQKC.
- Определение местоположения воздушного судна в многопозиционной системе наблюдения на основе мультилатерационной технологии / В. В. Ерохин, Б. В. Лежанкин, Т. Ю. Портнова, Н. В. Поваренкин // Актуальные проблемы и перспективы развития гражданской авиации: сборник трудов X Международной научно-практической конференции, Иркутск, 14–15 октября 2021 года. Том 2. Иркутск: Иркутский филиал федерального государственного бюджетного образовательного учреждения высшего образования «Московский государственный технический университет гражданской авиации», 2021. С. 92-105. EDN QPUUJP.
- Патрикеев О. В. Подавление помех в широкополосных каналах связи // Гражданская авиация на современном этапе развития науки, техники и общества: Сборник тезисов докладов участников Международной научно-технической конференции, посвященной 45-летию Университета, Москва, 18–20 мая 2016 года. М.: Академия имени Н.Е. Жуковского, 2016. С. 145. EDN XBAODD.
- Проект Стратегии развития Аэронавигационной системы России до 2030 года // Руководящие документы, информационные и аналитические материалы ФГУП «Госкорпорация по ОрВД», 2021.
- Синтез многопозиционных радиолокационных систем на базе сети специализированных излучателей / А. В. Журавлев, В. В. Кирюшкин, А. В. Коровин, Д. И. Савин // Успехи современной радиоэлектроники. 2022. Т. 76, № 4. С. 47-55. doi: 10.18127/j00338486-201807-21. EDN OQAAER.
- Системы наблюдения на воздушном транспорте. Конкретные средства наблюдения. Многопозиционные системы наблюдения / Э. А. Болелов, Н. В. Гевак, В. В. Ерохин [и др.]. М.: ИД Академии Жуковского, 2023. 80 с. EDN UPSCGQ.
- Скрыпник О. Н. Подавление помех в широкополосных радиоканалах диапазона УВЧ / О. Н. Скрыпник, О. В. Патрикеев, Н. Г. Астраханцева // Научный вестник Московского государственного технического университета гражданской авиации. 2014. № 209. С. 129-135. EDN SXXTOH.
- Туринцев С. В. Программная реализация алгоритма кодирования и декодирования местоположения ВС в дискретно-адресном режиме вторичной радиолокации / С. В. Туринцев, М. С. Туринцева // Актуальные проблемы и перспективы развития гражданской авиации : Сборник трудов XI Международной научно-практической конференции. посвященной празднованию 100-летия конструкторского бюро "Туполев", 55-летия Иркутского филиала МГТУ ГА, 75-летия Иркутского авиационного технического колледжа, Иркутск, 13–14 октября 2022 года. Том 2. Иркутск: Иркутский филиал федерального государственного бюджетного образовательного учреждения высшего образования "Московский государственный технический университет гражданской авиации", 2022. С. 115-121. EDN YGUUUY.
- Using a MLAT Surveillance System to Locate Unmanned Aerial Vehicles Flying as a Swarm / E. A. Bolelov, B. V. Lezhankin, V. V. Erokhin, S. A. Zyabkin // 2022 XIX Technical Scientific Conference on Aviation Dedicated to the Memory of N.E. Zhukovsky (TSCZh). 2022. pp. 67-70. doi: 10.1109/TSCZh55469.2022.9802475.
Дополнительные файлы
















