Пленки на основе смесей диацетата целлюлозы с полипропиленгликолем с концевыми группами, замещенными 2,4-толуилендиизоцианатом, полученные из растворов в диметилацетамиде
- Authors: Буслаев Д.Л.1, Бочек А.М.1, Власова Е.Н.1, Лаврентьев В.К.1, Гофман И.В.1, Абалов И.В.1
-
Affiliations:
- Институт высокомолекулярных соединений – филиал Петербургского института ядерной физики им. Б.П. Константинова Национального исследовательского центра “Курчатовский институт”
- Issue: Vol 66, No 4 (2024)
- Pages: 263-268
- Section: СТРУКТУРА И СВОЙСТВА
- URL: https://ogarev-online.ru/2308-1120/article/view/285479
- DOI: https://doi.org/10.31857/S2308112024040013
- EDN: https://elibrary.ru/MCVEQO
- ID: 285479
Cite item
Full Text
Abstract
Получены пленки полиуретанов на основе смесей диацетата целлюлозы с полипропиленгликолем с концевыми группами, замещенными 2,4-толуилендиизоцианатом, из растворов в ДМАА. Методами Фурье-ИК-спектроскопии, РСА и ТМА изучена структурная организация пленок и определены температуры стеклования пленок с разным содержанием сшивающего агента. Изучены механические характеристики пленочных материалов. С ростом количества введенного сшивающего реагента (до 43 мас. %) наблюдается последовательное снижение модуля упругости, предела пластичности, прочности и предельной деформации разрушения пленок.
Full Text
Несмотря на интенсивное развитие в последние десятилетия технологий производства изделий из синтетических полимеров, интерес к использованию природных полимеров не ослабевает. Это обусловлено их воспроизводимостью в природе, биодеградируемостью, биосовместимостью и рядом других преимуществ по сравнению с синтетическими полимерами. Получают композиционные материалы на основе синтетических полимеров с добавками природных волокон, микро- и наночастиц растительного и животного происхождения, а также производных полисахаридов [1–4].
Ранее были получены эластомеры, содержащие полисахариды (крахмал, целлюлоза, сахароза, циклодекстрин, хитин, альгинаты) [5], описаны их свойства и возможные области применения. В процессе синтеза полиуретанов в матрицу вводили наполнители – волокна растительного происхождения, а также нанокристаллы целлюлозы. Показано, что введение волокон и нанокристаллов приводит к изменению температуры стеклования и физико-механических свойств полиуретанов (ПУ). Морфология и размеры вводимых волокон полиуретанов также оказывают влияние на свойства конечных изделий из ПУ. При этом нанокристаллы целлюлозы вводили только в небольших количествах (до 1.5 мас. %) [6, 7].
Представляет научный и практический интерес синтез ПУ, в которых в качестве гидроксилсодержащего полимера (компонента) будет использован органорастворимый эфир целлюлозы с достаточным количеством незамещенных ОН-групп. Материалы на основе диацетатата целлюлозы (ДАЦ) и модифицированного эфира целлюлозы находят применение в медицине (перевязочные материалы, тканевые каркасы) [8, 9], технике (сепараторы для литий-ионных аккумуляторов) [10], а также в качестве мембран (мембраны с антибактериальными свойствами, разделение белков, опреснение воды) [11–13].
В отличие от работ, указанных выше, матрицей является эфир целлюлозы (ДАЦ), в раствор которого (в ДМАА) вводили раствор полипропиленгликоля с концевыми группами, замещенными 2,4-толуилендиизоцианатом (ППГ*) в том же растворителе. В ходе реакции протекает сшивка макромолекул эфира целлюлозы сшивающим реагентом с образованием уретановых связей.
Цель настоящей работы – смешение в гомогенных условиях макромолекул ДАЦ с ППГ*, получение пленок с полиуретановыми фрагментами, исследование их механических характеристик и структурной организации.
ЭКСПЕРИМЕНТАЛЬНАЯ ЧАСТЬ
В качестве исходных материалов в настоящей работе использовали промышленный образец ДАЦ со степенью замещения 2.37 и степенью полимеризации 570 (Закрытое акционерное общество “Полицелл”, г. Владимир, Россия). При синтезе ПУ использовали безводный ДМАА (Акционерное общество “Вектон”, Россия), а также ППГ* с молекулярной массой ≈ 2300 (“Aldrich”, США).
Растворы смесей при разном соотношении компонентов готовили в одинаковых условиях. Предварительно приготавливали 6%-ный (мас.) ДАЦ в ДМАА. Растворение ДАЦ проводили при 80 °С при механическом перемешивании. Раствор фильтровали под давлением, а затем подвергали деаэрации в течение 1 ч.
На аналитических весах взвешивали необходимое количество 6%-ного раствора ДАЦ. Далее к раствору ДАЦ добавляли 10%-ный раствор ППГ* в ДМАА, после чего полученную смесь перемешивали при температуре 80 °С до гомогенизации раствора смеси в течение 30 мин. Приготовленные растворы смесей отливали на гидрофобизированные стеклянные подложки. Дополнительно отливали пленку из раствора ДАЦ. Все пленки получали методом сухого формования: на сушильном столе при температуре 90 °С до их полного высыхания. После высушивания пленки снимали с подложек. Получены пленки, содержащие 13, 28 и 43% ППГ* от массы эфира целлюлозы.
Механические характеристики пленок при комнатной температуре определяли в режиме одноосного растяжения с помощью универсальной установки для механических испытаний AG-100kNX Plus (“Shimadzu”, Япония). В процессе испытаний определяли следующие характеристики материала: модуль упругости Е, предел пластичности σп, прочность σр и предельную деформацию до разрушения εр.
Температуру стеклования в пленках ДАЦ и смесей ДАЦ–ППГ* измеряди термомеханическим методом на анализаторе ТМА 402 F1 фирмы “NETZSCH” (Германия) в режиме растяжения образца под действием малой стабилизированной нагрузки при нагревании с постоянной скоростью. Резкое изменение (рост) податливости материала в области расстекловывания, выражающееся в росте величины деформации ε, использовали для определения температуры стеклования.
Структурную организацию пленок исследовали рентгеноструктурным методом и методом Фурье-ИК-спектроскопии. Фурье-ИК-спектры пленок снимали на спектрометре “Vertex-70” фирмы “Bruker”. Полученные образцы исследовали рентгеновским методом на установке “Дрон-2.0” Использовали излучение CuKα, монохроматизация осуществлялась Ni-фильтром. Образцы готовили в виде пакета пленок толщиной 1–2 мм. Съемку проводили в режиме “на просвет”.
РЕЗУЛЬТАТЫ И ИХ ОБСУЖДЕНИЕ
Получены пленки ДАЦ с различным содержанием сшивающего агента ППГ*. По мере увеличения содержания ППГ* в составе пленок происходит их постепенное помутнение. При содержании ППГ* больше 45 мас. % наблюдается фазовое разделение. В связи с этим пленки с большим содержанием ППГ* не получали и не изучали.
Химическая формула ППГ* и схема протекания предполагаемой реакции между макромолекулами ДАЦ и ППГ* представлена ниже.
С целью подтверждения образования ПУ были сняты ИК-спектры пленок ДАЦ, ППГ* и ДАЦ–ППГ* (рис. 1). В ИК-спектре ДАЦ (рис. 1, кривая 1) наблюдаются следующие характерные полосы поглощения: 3450 см–1 (ОН-группы), 1750 см–1 (группы С=О в ацетатных заместителях), 1370 см–1 (С–СН3) и 1220 см–1 (группы С–О–С) [14–18]. В ИК-спектре ППГ* (кривая 2) присутствуют полосы поглощения при 2270 см–1 (группы N=C=O), 1730 см–1 (группы С=О), 1602 см–1 (группы С–N) и 1538 см–1 (N–H) [19, 20].
Рис. 1. ИК-спектры ДАЦ (1), ППГ* (2), ДАЦ с 43% ППГ* (3) и спектр вычитания ДАЦ и ППГ* из пленки ДАЦ + 43% ППГ* (4).
В ИК-спектре ПУ + 43% ППГ*(кривая 3) наблюдаются полосы поглощения, которые присутствуют в спектрах ДАЦ и ППГ*: 3450 см–1 (ОН-группы), 1730 см–1 (группы С=О), 1538 см–1 (N–H). Отметим, что отсутствует полоса поглощения при 2270 см–1 (группы N=C=O), что подтверждает протекание реакции взаимодействия ОН-групп эфира целлюлозы с изоцианатными группами. В связи с тем, что полосы поглощения групп С=О в ДАЦ и ППГ* в области 1600–1700 см–1 налагаются друг на друга, были получены разностные спектры путем вычитания из ИК-спектра пленки ПУ + 43% ППГ* спектра чистого ДАЦ и ППГ* (кривая 4). Методика получения спектров вычитания описана в работах [21, 22]. Сшивка макромолекул ДАЦ по гидроксильным группам молекулами ППГ* должна привести к увеличению количества групп С=О и NH и изменению интенсивности и положения указанных полос. В спектре вычитания наблюдается заметное смещение полосы поглощения групп С=О от 1730 до 1715 см–1, которое можно отнести к образованию новой связи, а также присутствует полоса поглощения групп NH при 1538 см–1. Таким образом, с помощью ИК-спектроскопии подтверждено взаимодействие макромолекул ДАЦ с молекулами ППГ*.
Структурная организация пленок изучена методом РСА (рис. 2). Рефлексы на рентгенодифрактограмме ДАЦ при угле 2θ в области 9.5°и 19° относятся к плоскостям [110] и [020] (рис. 2, кривая 1) [18, 24, 25]. По мере увеличения введенного в матрицу эфира целлюлозы сшивающего агента ППГ* интенсивность рефлекса при угле 2θ в области 9.5° снижается, что свидетельствует об уменьшении упорядоченности макромолекул ДАЦ. Можно полагать, что проходящая химическая сшивка макромолекул ДАЦ в растворе приводит к замедлению процесса кристаллизации эфира целлюлозы в процессе формования пленок сухим способом.
Рис. 2. Рентгенодифрактограммы пленок ДАЦ (1) и ДАЦ с ППГ* (2–4). Содержание ППГ* 13 (2), 28 (3) и 43 мас. % (4).
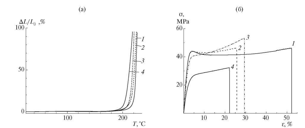
На рис. 3 представлены термомеханические кривые (ТМА) и деформационные кривые полученных пленочных материалов, а в табл. 1 – результаты механических испытаний и величины температуры стеклования Tg.
Рис. 3. Термомеханические (а) и деформационные (б) кривые пленок ДАЦ (1) и ДАЦ с ППГ* (2–4). Содержание ППГ* 13 (2), 28 (3) и 43 мас. % (4).
Таблица 1. Механические характеристики пленочных материалов и температуры стеклования Tg
Содержание ППГ*, мас. % | d, мкм | Е, ГПа | σп, МПа | σр, МПа | εр, % | Tg, °С |
0 (ДАЦ) | 32–37 | 2.43 ± 0.09 | 45 ± 2 | 47 ± 1 | 52 ± 2 | 221 |
13 | 46–52 | 2.27 ± 0.11 | 43 ± 2 | 48 ± 1 | 26 ± 2 | 217 |
28 | 39–42 | 1.97 ± 0.03 | 41 ± 2 | 53 ± 1 | 29 ± 2 | 214 |
43 | 45–49 | 1.18 ± 0.05 | 26 ± 1 | 32 ± 2 | 22 ± 2 | 205 |
Величина Tg для пленки ДАЦ составила 221 °С (рис. 3а; табл. 1) и согласуется с литературными данными. В зависимости от метода определения величина Tg для ДАЦ может находиться в интервале температур от 200 до 220°С [26, 27]. С увеличением количества ППГ* в пленках значения Tg уменьшаются до 205 °С. Снижение величины Tg может быть вызвано рядом причин. Прежде всего следует иметь в виду процесс фазового разделения компонентов композиции, все более интенсивно протекающий по мере повышения содержания ППГ* в материале, на что указывают постепенное помутнение пленок и снижение механической жесткости (табл. 1). Также нельзя исключать присоединение молекул ППГ* только одним концом к ОН-группам ДАЦ (ведь реакция протекает в растворе в ДМАА), что будет нарушать структуру макроцепей. И наконец, в процессе реакции образования полиуретана в реакционной смеси могут появиться пары воды, которые взаимодействуют с молекулами ППГ*. Образовавшийся продукт остается в матрице и может играть роль межструктурного пластификатора (это предположение хорошо согласуется с понижением механической жесткости пленок по мере роста концентрации ППГ*). Все перечисленные процессы могут приводить к снижению Tg.
По мере повышения концентрации ППГ* в смеси последовательно падают модуль упругости Е и предел пластичности пленки σп (рис. 3б и табл. 1). При этом, как хорошо видно на деформационных кривых, наблюдается последовательное изменение качественного характера процесса деформирования материала. Для пленки исходного ДАЦ, как и для других эфиров целлюлозы, характерен пластический характер деформирования: на кривой присутствует выраженный предел пластичности в виде максимума напряжения, а при дальнейшем растяжении образуется шейка (горизонтальный участок кривой). При дальнейшем растяжении наблюдается медленный, растянутый переход к участку деформационного упрочнения материала (ε выше ~ 30–35%). По мере роста концентрации ППГ* предел пластичности σп выражен на кривых все слабее и для смеси ДАЦ + 43% ППГ* полностью исчезает, как и участок шейки. Процесс деформирования становится все более однородным, без каких-либо признаков и проявлений процессов локализации деформации. Предельная деформация материала εр, проявляет тенденцию к снижению по мере роста концентрации ППГ* в смеси, возможно, из-за проблем с совместимостью компонентов, микрофазового разделения и накопления локальных механических напряжений на фазовых границах. Однако даже пленки, содержащие максимальную концентрацию ППГ*, разрушаются при деформации, существенно превышающей величину, соответствующую переходу через предел пластичности в область необратимых деформаций (4–5%, рис. 3б), т.е. материал полностью пригоден для практического использования.
ЗАКЛЮЧЕНИЕ
Получены полиуретаны на основе ДАЦ с ППГ*. Методами Фурье-ИК-спектроскопии и РСА подтверждено взаимодействие ОН-групп макромолекул эфира целлюлозы с молекулами ППГ* и показано замедление процесса упорядоченности макроцепей ДАЦ вследствие их сшивки.
Введение молекул ППГ* в матрицу ДАЦ приводит к снижению температуры стеклования Tg. С увеличением количества введенного ППГ* (до 43 мас. %) происходит последовательное снижение модуля упругости Е, предела пластичности σп, прочности σр и предельной деформации до разрушения εр пленок. Но хрупкости пленок не наблюдается. Снижение всех механических характеристик с ростом концентрации введенного ППГ* вызвано, по-видимому, последовательной гетерогенизацией материала и накоплением в нем внутренних напряжений.
Работа выполнена в рамках Госзадания по теме № 124013000726-6.
About the authors
Д. Л. Буслаев
Институт высокомолекулярных соединений – филиал Петербургского института ядерной физики им. Б.П. Константинова Национального исследовательского центра “Курчатовский институт”
Email: abochek@mail.ru
Russian Federation, 199004, Санкт-Петербург, Большой пр., 31
А. М. Бочек
Институт высокомолекулярных соединений – филиал Петербургского института ядерной физики им. Б.П. Константинова Национального исследовательского центра “Курчатовский институт”
Author for correspondence.
Email: abochek@mail.ru
Russian Federation, 199004, Санкт-Петербург, Большой пр., 31
Е. Н. Власова
Институт высокомолекулярных соединений – филиал Петербургского института ядерной физики им. Б.П. Константинова Национального исследовательского центра “Курчатовский институт”
Email: abochek@mail.ru
Russian Federation, 199004, Санкт-Петербург, Большой пр., 31
В. К. Лаврентьев
Институт высокомолекулярных соединений – филиал Петербургского института ядерной физики им. Б.П. Константинова Национального исследовательского центра “Курчатовский институт”
Email: abochek@mail.ru
Russian Federation, 199004, Санкт-Петербург, Большой пр., 31
И. В. Гофман
Институт высокомолекулярных соединений – филиал Петербургского института ядерной физики им. Б.П. Константинова Национального исследовательского центра “Курчатовский институт”
Email: abochek@mail.ru
Russian Federation, 199004, Санкт-Петербург, Большой пр., 31
И. В. Абалов
Институт высокомолекулярных соединений – филиал Петербургского института ядерной физики им. Б.П. Константинова Национального исследовательского центра “Курчатовский институт”
Email: abochek@mail.ru
Russian Federation, 199004, Санкт-Петербург, Большой пр., 31
References
- Rogovina S.Z., Prut E.V., Berlin A.A. // Polymer Sciences A. 219. V. 61. № 4. P. 417.
- Топтунов Е.А., Севастьянова Ю.В. // Химия растительного сырья. 2021. № 4. С. 31.
- Wang M.Z., Cha R.T. // PBM Nanocellulose Industrialization. 2019. V. 4. № 2. P. 63.
- Baharlouei P., Rahman A. // Mar. Drugs. 2022. V. 20. 460. https://doi.org/10.3390/md20070460
- Solanki A., Das M., Thakore S. // Carbohydr. Polymers. 2018. V. 181. P. 1003.
- Rueda L., Fernandez d’Arlas B., Zhou Q., Berglund L.A., Corcuera M.A., Mondragon I., Eceiza A. // Compos. Sci. Technol. 2011. V. 71. P. 1953.
- Kong X., Wolodko J., Zhao L., Curtis J.M. // Progr. Org. Coat. 2018. V. 125. P. 207.
- Liang W., Jiang M., Zhang J., Dou X., Zhou Y., Jiang Y., Zhao L., Lang M. // J. Mater. Sci. Technol. 2021. V. 89. P. 225.
- Liang W., Hou J., Fang X., Bai F., Zhu T., Gao F., Wei C., Mo X., Lang M. // Appl. Surf. Sci. 2018. V. 443. P. 374.
- Chen W., Shi L., Wang Z., Zhu J., Yang H., Mao X., Chi M., Sun L., Yuan S. // Carbohydr. Polymers. 2016. V. 147. P. 517.
- Li F., Fei P., Cheng P., Meng J., Liao L. // Carbohydr. Polymers. 2019. V. 216. P. 312.
- Lan T., Shao Z., Gu M., Zhou Z., Wang Y., Wang W., Wang F., Wang J. // J. Membr. Sci. 2015. V. 489. P. 204.
- Haddada R., Ferjani E., Roudesli M.S., Deratani A. // Desalination. 2004. V. 167. P. 403.
- Son W.K., Youk J.H., Lee T.S., Park W.H. // J. Polym. Sci., Polym. Phys. 2004. V. 42. P. 5.
- Tian Y., Wu M., Liu R., Li Y., Wang D., Tan J., Wu R., Huang Y. // Carbohydr. Polymers. 2011. V. 83. P. 743.
- Huang W., Wang Y., Chen C., Law J.L.M., Houghton M., Chen L. // Carbohydr. Polymers. 2016. V. 143. P. 9.
- Anitha S., Brabu B., Thiruvadigal D.J., Gopalakrishnan C., Natarajan T.S. // Carbohydr. Polymers. 2012. V. 87. P. 1065.
- Wang W., Liang T., Bai H., Dong W., Liu X. // Carbohydr. Polymers. 2018. V. 179. P. 297.
- Anthuvan J.T. // Int. J. Sci. Res. 2013. V. 2. № 9. P. 405.
- Badri K.B.H., Sien W.C., Shahrom M.S.B.R., Hao L.C., Baderuliksan N.Y., Norzali N.R.A. // Solid State Sci. Technol. 2010. V. 18. № 2. P. 1.
- Afanas’eva N.V., Petrova V.A., Vlasova E.N., Gladchenko S.V., Khayrullin A.R., Volchek B.Z., Bochek A.M. // Polymer Science A. 2013. V. 55. № 12. P. 738.
- Bochek A.M., Popova E.N., Lavrent’ev V.K., Volchek B.Z., Vlasova E.N., Zubrov I.V. // Polymer Science B. 2021. V. 63. № 6. P. 915.
- Hindeleh A.M., Johnson D.J. // Polymer. 1972. V. 13. P. 27.
- Watanabe S., Takai M., Hayashi J. // J. Polym. Sci. C. 1968. №. 23. P. 825.
- Liao C., Fang T., Luo S., Fan G.-Z., Song G. // J. Appl. Polym. Sci. 2015. P. 1.
- Kamide K., Saito M. // Polym. J. 1985. V. 17. № 8. P. 919.
- Bao C.Y., Long D.R., Vergelati C. // Carbohydr. Polymers. 2015. V. 116. P. 95.
Supplementary files





