Изучение проницаемости изделий гироидной структуры, изготовленных по аддитивной технологии 3D-печати термопластичным полимером
- Авторы: Демьяновский В.Б.1, Каушанский Д.А.1, Дрозд А.С.1
-
Учреждения:
- Институт проблем нефти и газа Российской академии наук
- Выпуск: Том 66, № 3 (2024)
- Страницы: 175-180
- Раздел: СТРУКТУРА И СВОЙСТВА
- URL: https://ogarev-online.ru/2308-1120/article/view/272699
- DOI: https://doi.org/10.31857/S2308112024030011
- EDN: https://elibrary.ru/LXGRBQ
- ID: 272699
Цитировать
Полный текст
Аннотация
Впервые исследована зависимость пористости (степени заполнения) от проницаемости гироидной структуры на установке для фильтрационных свойств. Изготовлены образцы с использованием систем автоматизированного проектирования и 3D-притера. Также показана анизотропность проницаемости гироидной структуры в различных направлениях.
Полный текст
Введение
Аддитивная технология ‒ это метод создания трехмерных объектов путем добавления различных материалов, например пластика, металла и т.д. В настоящее время разработано большое количество таких технологий, среди них создание объектов наплавлением полимерной нити, лазерная стереолитография, селективное лазерное спекание и другие методы [1].
На применение аддитивных технологий установлены национальные и международные стандарты [2‒4]. Однако благодаря своей доступности, наибольшее распространение получила технология послойного наплавления полимерной нити (Fused Deposition Modeling – FDM).
Основные этапы FDM-технологии печати:
- создание модели изделия в системе автоматизированного проектирования (CAD-системы) [5];
- создание STL-файла модели [6];
- нарезка модели на слои специальной программой для создания управляющего файла в формате G-кода, т.е. программой, непосредственно управляющей работой принтера при изготовлении изделия [7];
- 3D-печать.
Хотя традиционно считается, что этап создания модели в CAD-системе является приоритетным в проектировании изделия, для исследований в настоящей работе была выбрана стадия нарезки модели на слои. На этой стадии используется программное обеспечение для принтера, преобразующее файл в формате STL в файл в формате G-кода, который непосредственно контролирует работу принтера. Кроме того, эта программа позволяет управлять механическими свойствами создаваемого изделия через формирование заданной структуры материала, что аналогично созданию надмолекулярной структуры вследствие влияния сил внутримолекулярного и межмолекулярного взаимодействия полимерных звеньев. Типов надмолекулярных структур много, но при их классификации наиболее распространено деление по их размерным группам, нм: 2‒10 (кристаллиты), 10‒50 (монокристаллы), 102–105 (фибриллы) и 104–106 (сферолиты) [8].
Если сопоставить размер надмолекулярных структур с возможностями образования структур аналогичной размерности с применением аддитивных технологий (~103–106 нм), то такие технологии можно рассматривать не только как средство создания изделий, но и как инструмент создания новых материалов с различными свойствами.
В связи с этим возникла идея использовать технологию 3D-печати для проницаемых структур, которые можно использовать в областях, когда процессы фильтрации жидкостей играют определяющую роль. Первоначально проницаемая структура по технологии 3D-печати была изготовлена в виде модели фиктивного грунта – массива сферических элементов [9]. Анализ работ в этом направлении выявил, что имеется патент [10], описывающий скважинный гравийный фильтр, в котором структура гранул и форма фильтра выполняются из полимеров, представляющих собой спроектированную пористую структуру из гранецентрированных сфер, называемую цифровой упаковкой и напечатанную 3D-принтером как единый блок. С помощью 3D-печати также можно создавать щелевой скважинный фильтр [11].
Практическое управление структурой материала изделия при 3D-печати производится в меню “разрезающей” программы ‒ слайсера. Меню программы предлагает различные топологии заполнения внутреннего пространства [12], однако их использование приводит к образованию закрытых объемов во всех или некоторых направлениях.
В процессе работы по созданию проницаемых структур методом 3D-печати применен такой функционал программного обеспечения 3Д-принтера, как опция заполнения пространства изделия структурой типа гироид.
Гироид, открытый и описанный математической моделью в 1970 году американским ученым Аланом Шоэном [13], представляет собой трижды периодическую минимальную поверхность. А. Шоэн вычислил угол ассоциации, но не привел доказательство возможности вложения. Это уже было представлено в более поздних работах, а также некоторые другие численные исследования [14, 15]. Данная поверхность обладает уникальными механическими свойствами, что обусловливает интерес к гироидам в различных сферах наукоемкой промышленности [16]. Вместе с тем гироидные структуры обнаружены и в живой природе как на уровне клеток (мезофазы липидов), так и на более крупном уровне (структурная окраска крыльев бабочек, оперение птиц) [17].
Сегодня изучение гироидных структур имеет важное прикладное значение для различных сфер, среди них биомедицинские технологии, химическая промышленность, космическая и оборонная отрасль, изготовление стойких к ударным нагрузкам материалов [16, 18‒22]). Механические свойства гироидов (прочность, высокая степень поглощения механических волн и другие) в сочетании с их легкостью открывают перспективу создания новых материалов самого широкого применения.
С появлением технологии 3D-печати героиду было найдено применение в качестве одного из вариантов заполнений внутреннего пространства 3D-моделей. Использование так называемого “гироидного” заполнения позволяет снизить расход материала для печати при сохранении высоких прочностных свойств целого изделия [23‒25].
Интересным представляется рассмотреть свойства этих структур с позиции соотношения пустого пространства к массе материала для его создания. Благодаря связанной структуре пространства предполагается высокая проницаемость материалов для жидкостей и газов, а следовательно, возможность их использования в процессах фильтрации.
Исследование фильтрационных способностей гироидной структуры является актуальным и нуждается в экспериментальных разработках [26]. Среди способов создания гироидов наибольший прогресс достигнут в технологии экструзии полимерной нити при 3D-печати (FDM) [27, 28].
В настоящей работе разработана методика исследования фильтрационных свойств и изучена связь структуры гироида с коэффициентом проницаемости материалов, произведенных по этой технологии, которая может быть установлена как на стадии изготовления физического объекта, так и на стадии проектирования.
Для создания гироидных структур применяют следующие программные обеспечения: MeshLab [29] и Autodesk Fusion 360 [30]. На стадии изготовления цифровой модели гироида ориентируются на его уравнение в тригонометрическом представлении [16]:
sin y cos x + sin z cos у + sin x cos z = t
Несмотря на то что гироид рассматривается как двумерная поверхность, ее физический эквивалент должен иметь некоторую толщину, а значит, занимать определенный объем. При этом пространство реального (физического) гироида разделяется как бы на две части объема, одна из которых заполняется твердым материалом, например полимером, а другая ‒ остается пустой. Таким образом, важной характеристикой реального гироида является отношение объема, заполненного твердым материалом пространства, гироида к общему объему объекта, которое можно назвать степенью заполнения. Если в приоритете пустой объем, то удобнее применять дополнительную величину ‒ отношение пустого объема к общему объему, которое следует назвать пористостью.
Пустое пространство, отделенное гироидом, считается связанным, т.е. гироид образует материал с открытой пористостью. По этим порам допускается движение жидкой и газовой фазы. Данное обстоятельство позволяет использовать методики исследования и показатели, применяемые в гидродинамических моделях для проницаемых пористых сред.
Традиционно в качестве гидродинамической модели фильтрации жидкости через такие среды применяют уравнение Дарси:
,(1)
где Q – расход жидкости через модель, м3/с; k – коэффициент проницаемости, м2; A – площадь фильтрации, м2; µ – динамическая вязкость жидкости, Па с; ∆P – перепад давления, Па; L – длина образца, м.
Существует возможность создания структур физического гироида с широким диапазоном варьирования показателей степени заполнения или проницаемости. Практика 3D-печати с применением параметра степени заполнения до 10% и менее свидетельствует о том, что эти структуры должны обладать особо высокой проницаемостью, в связи с чем для ее измерения необходимо было разработать нестандартную методику определения, описание которой представлено далее в экспериментальной части.
Формула гироида в силу симметрии не имеет выделенных направлений относительно координатных осей, поэтому предполагается, что проницаемость не будет зависеть от направления потока. Вместе с тем анализ процесса создания изделия по FDM-технологии показывает, что имеются отличия в процессе формирования структуры печати в горизонтальном и вертикальном направлениях. По этой причине при изготовлении и изучении образцов была исследована возможность измерения проницаемости образцов в различных направлениях.
Экспериментальная часть
В качестве технологии создания гироида использовали технологию производства способом наплавления нитей (FDM) на 3D-принтере “Picasso Designer X”. Материалом для печати служил натуральный бесцветный пластик полиэтилентерефталатгликоль (ПЭТФГ), так как он обладает низкой усадкой и химической стойкостью к воде и другим реагентам. Параметры печати: сопло 0.30 мм, диаметр филамента 1.75 мм, температура сопла 240 °С, температура стола 70 °С, скорость печати 20 мм/с.
Образцы со структурой гироид изготовили в виде кубов со стороной 30 мм с использованием программного обеспечения 3D-принтера, которое имеет встроенные настройки для создания различной топологии заполнения внутреннего пространства куба (рис. 1). При печати удалили в настройках поверхности граней. Для создания разных по размеру пор в структуре заполнения использовали параметр “степень заполнения” при значениях 40, 50, 60 и 70% или 60, 50, 40 и 30% пористости соответственно. Кроме того, автоматически создали цифровую копию модели, позволяющую провести предварительный просмотр процесса послойного изготовления изделия:
Рис. 1. Образцы кубов с гироидным заполнением, изготовленные по FDM-технологии.
При образовании одного слоя гироида в горизонтальной плоскости формируется двумерная проекция внутренней структуры изделия с характерным периодическим расположением полимерной нити. Наблюдение за процессом печати позволило установить, что пространственная периодическая структура гироида в трехмерном пространстве связана параметрами печати в единичном слое. Пример печати слоя при настройках принтера для различных степеней заполнения приведен на рис. 2, где видна характерная периодическая структура траектории филамента на первом слое печати. Последующие слои накладываются на предыдущие с поворотом на 90°, образуя сетку. Размер поровых каналов гироида можно оценить из отношения длины грани куба (30 мм задается при проектировании), разделенное на число периодов траектории филамента (например, 12 – для степени заполнения 40%), что в результате дает величину 2.5 мм. Для степени заполнения 70% рассчитанный размер порового канала равен 1.4 мм. Реальный размер канала следует уменьшить на величину диаметра нити, выдавливаемой из экструдера (примерно соответствует размеру сопла экструдера, в данном случае ‒ 0.3 мм). Рассчитанный размер каналов может быть необходим для оценки возможности применения гироида в качестве фильтрующего материала при удалении механических примесей известного размера из жидкостного потока:
Рис. 2. Изображение первого слоя печати структуры гироида при параметрах степени заполнения 40 и 70%.
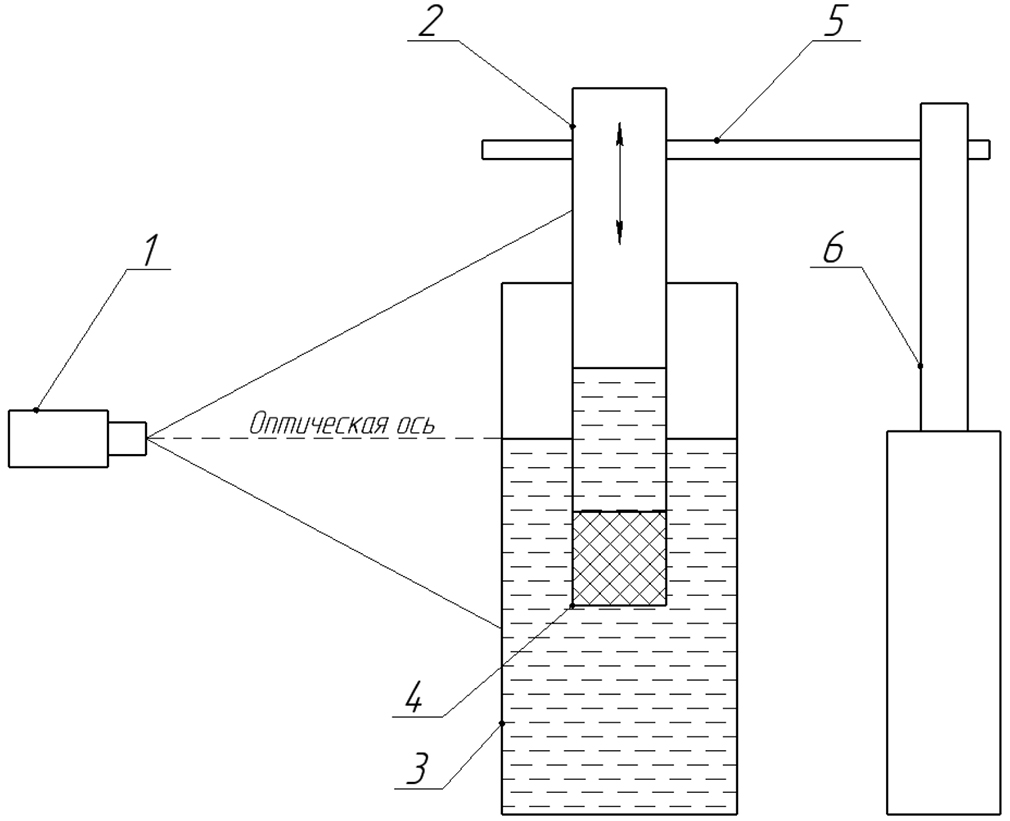
Исследование фильтрационных свойств проводили на специально сконструированной установке (схема установки показана ниже), состоящей из резервуара для жидкости (3), вертикальной прозрачной измерительной трубки (2), в нижней части которой закреплен переходник, соединяющий круглую измерительную трубку и измеряемый объект в виде куба (4). Переходник спроектирован и изготовлен на 3D-принтере под размер куба. Компоновка, включающая трубку, переходник и образец, закреплена на платформе (5), которая перемещается линейным приводом (6) в вертикальном направлении под действием электродвигателя. Контроль за перемещением платформы и положением мениска жидкости в измерительной трубке и резервуаре осуществляли посредством регистрации событий цифровой камерой (1):
Условия проведения гидродинамических испытаний: скорость движения жидкости 1 см/с, внутренний размер трубки прибора 37 мм. В качестве жидкости использовали воду, а измерения вели при температуре 20‒25 °С. Применяемые параметры течения жидкости в измерительной трубке и образце указывали на ламинарный режим потока (число Рейнольдса < 400).
Измерения выполняли в два этапа: на первом этапе осуществляли погружение образца в резервуар с водой с закрепленной при помощи переходника к прозрачной измерительной трубке под мениск жидкости; на втором ‒ подъем компоновки измерительной трубки и образца с постоянной скоростью с фиксацией видеозаписью положения менисков жидкости в сосуде и измерительной трубке. При анализе видеозаписи отбирали фрагменты с кадрами, на которых наблюдаются постоянные скорость движения платформы и разность уровней менисков воды в трубке и резервуаре, что соответствует режиму стационарной фильтрации жидкости. Объемную скорость фильтрации жидкости в этом случае находили из линейной скорости движения платформы и внутреннего диаметра измерительной трубки.
Для измерения проницаемости образца в вертикальном и горизонтальном направлениях положение кубического образца изменяли в соответствии с направлениями куба, создаваемого на столе 3D-принтера. Принятые обозначения: ось Z – соответствует вертикальной оси, X и Y – соответствуют направлениям в горизонтальной плоскости.
Результаты экспериментального определения зависимости коэффициента проницаемости гироидной структуры от направления координатных осей при печати (рис. 3) указывают на возрастание проницаемости в вертикальном направлении печати по сравнению с горизонтальным.
Рис. 3. Зависимость проницаемости материала со структурой порового пространства “гироид” от степени заполнения в направлениях Z (1), X (2) и Y (3).
Полученная зависимость проницаемости ожидаемо оказалась обратной от степени заполнения общего пространства образца. Однако измерение проницаемости, проведенное в направлении различных пространственных осей, показало более высокую в образцах в вертикальном направлении по сравнению с горизонтальным. Отклонение заметно при малых значениях степени заполнения, соответственно, при высокой пористости.
Кроме того, было проведено сравнение проницаемости гироидных структур, полученных по аддитивной технологии, с типичными материалами, через которые протекает жидкость. К таким материалам, например, относятся гравий и песок, встречающиеся в природе и используемые в качестве материалов фильтров. Из табл. 1 видно, что в сравнении с породами нефтяного пласта проницаемость гироидных структур на два‒три порядка оказывается выше:
Таблица 1. Сравнение проницаемости гироидных структур с типичными распространенными материалами, через которые протекает жидкость
Среда | Пористость | Проницаемость, Д |
Полимерный гироид Гравий Сортированный песок Породы нефтяного пласта | 60 50 40 30 30 20‒30 20‒30 | 4753 2880 1740 985 (10‒100) х 103 100‒1000 0.1‒10.0 |
Заключение
Изучен процесс 3D-печати структуры “гироид” по технологии наплавления полимерной нити с помощью программного обеспечения 3D-принтера “Picasso” и показана возможность определения размера поровых каналов на этапе подготовки модели перед загрузкой в принтер. Разработана лабораторная методика измерения проницаемости гироидных структур на основе уравнения Дарси.
Было установлено, что проницаемость структуры “гироид” находится в обратной зависимости от степени заполнения изделия (согласно настройкам принтера) и может достигать значений от 1 000 до 5 000 Дарси. Также выявлена повышенная проницаемость гироида в направлении, перпендикулярном горизонтальному положению рабочего стола 3D-принтера, в области малых степеней заполнения, которая связывается с асимметрией траектории филамента в вертикальном и горизонтальном направлениях в процессе печати.
Работа выполнена в рамках Госзадания Института проблем нефти и газа РАН на тему “Фундаментальный базис энергоэффективных, ресурсосберегающих и экологически безопасных, инновационных и цифровых технологий поиска, разведки и разработки нефтяных и газовых месторождений, исследование, добыча и освоение традиционных и нетрадиционных запасов и ресурсов нефти и газа; разработка рекомендаций по реализации продукции нефтегазового комплекса в условиях энергоперехода и политики ЕС по декарбонизации энергетики (фундаментальные, поисковые, прикладные, экономические и междисциплинарные исследования” (№ 122022800270-0).
Об авторах
В. Б. Демьяновский
Институт проблем нефти и газа Российской академии наук
Email: asd@ipng.ru
Россия, 119333, Москва, ул. Губкина, 3
Д. А. Каушанский
Институт проблем нефти и газа Российской академии наук
Email: asd@ipng.ru
Россия, 119333, Москва, ул. Губкина, 3
А. С. Дрозд
Институт проблем нефти и газа Российской академии наук
Автор, ответственный за переписку.
Email: asd@ipng.ru
Россия, 119333, Москва, ул. Губкина, 3
Список литературы
- Ляпков А.А. Полимерные аддитивные технологии: учебное пособие. Томск: Изд-во Томского политех. ун-та, 2016.
- ГОСТ Р 57558-2017. Аддитивные технологические процессы. Базовые принципы. Ч. 1. Термины и определения.
- ГОСТ Р 57558-2017. Аддитивные технологические процессы. Базовые принципы. Ч. 2. Материалы для аддитивных технологических процессов. Общие требования.
- ГОСТ Р ИСО/АСТМ 52950-2022. Представление и обработка данных технологического процесса.
- Https://ru.wikipedia.org/wiki/Система_автоматизированного_про-ектирования (дата обращения 29.05.2024).
- Https://ru.wikipedia.org/wiki/STL (дата обращения 29.05.2024).
- Https://ru.wikipedia.org/wiki/G-code (дата обращения 29.05.2024).
- Https://bigenc.ru/c/kristallicheskoe-sostoianie-polimerov-96ff83 (дата обращения 29.05.2024).
- Демьяновский В.Б. // Актуальные проблемы нефти и газа. 2022. № 4(39). С. 117.
- Пат. 2020/0378219 US. Способ и системы для борьбы с песком, опубл. 05.12.2020.
- Пат. 2808822 C1 Российская Федерация. 2022 // Институт проблем нефти и газа РАН. 2023. МПК E21B 43/08, E03B 3/18. EDN HEPQDP.
- Шалыгин С.В. // Молодежь. Наука. Творчество: Матер. XIX Всеросс. науч.-практич. конф. Омск: Омский гос. технич. ун-т, 2021. С. 20. EDN DBFVDE.
- Schoen A.H. Infinite Periodic Minimal Surfaces Without Self-Intersections. NASA Technical Note, 1970.
- Karcher H. The Triply Periodic Minimal Surfaces of Alan Schoen and their Constant Mean Curvature Companions. Manuscripta Math 64, 1989. P. 291.
- Große-Brauckmann K., Meinhard W. The Gyroid is Embedded and has Constant Mean Curvature Companions. Calc. Var 4, 1996. P. 499.
- Дьяченко С.В., Лебедев Л.А., Сычев М.М., Нефе дова Л.А. // Журн. технич. физики. 2018. T. 88. C. 1014.
- Pelanconi M., Ortona A. // Materials (Basel). 2019. V. 12. № 24. P. 4134.
- Крупнин А.Е., Чичаев И.А., Крашенинников С.В., Алексанян М.М., Спирин О.А., Седуш Н.Г., Чва лун С.Н. // V Национальный конгресс по регенеративной медицине: “Применение гироидных PLA-скаффолдов для замещения дефектов костных тканей”, 2022. Т. 17. № 3. С. 125.
- Musthafa N.H.-S., Walker J., Rahman T., Bjørkum A., Mustafa K., Velauthapillai D. // Computation. 2023. V. 11. P. 181.
- Ramos H., Santiago R., Soe S., Theobald P., Alves M. // Int. J. Impact. Eng. 2022. V. 164. P. 104202.
- Mirables R., Ranz D., Higuera S. // Study of the Application of Gyroid Structures in Cyclist Helmets. Valencia, 2021. P. 64.
- Simsek U., Gayir C., Kavas B., Sendur P. // II Int. Conf. on Simulation for Additive Manufacturing: “Computational and Experimental Investigation of Vibration Characteristics of Variable Unit-Cell Gyroid Structures”, 2019. P. 369.
- Rahmat Neda, Kadkhodapour Javad, Arbabtafti Mohammadreza // Phys. Mesomech. 2023. V. 26. № 4. P. 443.
- Арсентьев М.Ю., Калинина М.В., Тихонов П.А., Ковалько Н.Ю., Сычев М.М. // XVII Всеросс. молодежная науч. конф. с элементами науx. школы: “Функциональные материалы: синтез, свойства, применение”, посвященной 110-летию со дня рождения член.-корр. АН СССР Н.А. Торопова : Тез. докл. Институт химии силикатов им. И.В. Гребенщикова РАН. СПб: ЛЕМА, 2018. С. 211. EDN YUXVDF.
- Бурдина П.А. // Наука, образование, производство в решении экологических проблем (Экология-2022). Матер. XVIII Межд. науч.-технич. конф. Уфа: Уфимский гос. авиационный технич. ун-т, 2022. С. 124. T. 2. EDN DEDGVY.
- Alizadeh-Osgouei M., Li Y., Vahid A., Ataee A., Wen C. // Smart Mater. Medicine. 2021. V. 2. P. 15.
- Chen P., Wang H., Su J., Tian Y., Wen S., Su B., Yang C., Chen B., Zhou K., Yan C., Shi Y. // Adv. Mater. 2022. V. 34. P. 2200750.
- Козадаева М.П., Сурменева М.А., Сурменев Р.А., Леонова Л.А., Храпов Д.А., Панин А.В., Коптюг А.В. // Межд. конф. “Физическая мезомеханика. Материалы с многоуровневой иерархически организованной структурой и интеллектуальные производственные технологии”, посвященная 90-летию со дня рождения основателя и первого директора ИФПМ СО РАН академика Виктора Евгеньевича Панина в рамках Межд. междисциплинарного симп. “Иерархические материалы: разработка и приложения для новых технологий и надежных конструкций”. Томск: Томский гос. ун-т, 2020. С. 529.
- Макаренко М.С., Лештаев Д.В., Гопкало В.Н., Пиотрович А.А. // Научно-техническое и экономическое сотрудничество стран АТР в XXI веке. 2020. Т. 2. С. 366. EDN NEXPLZ.
- https://en.wikipedia.org/wiki/Permeability_(materials_science)# cite_note-12 (дата обращения 30.05.2024).
Дополнительные файлы






