Synthesis of a feedforward control system for object with distributed parameters
- Autores: Bochkareva I.S.1, Tychinina Y.A.2, Tychinin A.V.3
-
Afiliações:
- Samara State Technical University
- Самарский государственный технический университет
- «TM-service»
- Edição: Volume 31, Nº 1 (2023)
- Páginas: 6-20
- Seção: Information Technology and Communications
- URL: https://ogarev-online.ru/1991-8542/article/view/142716
- DOI: https://doi.org/10.14498/tech.2023.1.1
- ID: 142716
Citar
Texto integral
Resumo
This study is researching a synthesis of an automatic control system for maintaining the temperature of petroleum products during storage in tanks. A new approach for the system construction has been developed during this research. It helps to get rid of disadvantages of existing methods of heating tanks. Developed control system is built on the basis of the feedforward control principle. The object of control is the tank insulation layer, considered as an object with distributed parameters, which provides opportunity to take into account the high inertia of the object. The uneven distribution of temperature is taken into account only over the thickness of the thermal insulation layer, thus, when modeling the control object, a linear one-dimensional heat conduction equation was used, supplemented by initial and boundary conditions of the third kind.
To ensure invariance to a disturbing effect in the form of a negative ambient temperature, a compensation element is built using the method of periodic structures. The required heating power dynamics of the heating cable is calculated to compensate for heat losses by the compensation element, depending on the current ambient temperature. Result of this study is a high-performance system that allows maintaining the high precision temperature of the oil in the tank. The article also provides research of the periodic structure parameters impact on the quality of the control algorithm.
Palavras-chave
Texto integral
Введение
На объектах подготовки нефти зачастую требуется поддержание температуры продукта в требуемых технологических пределах. Основной проблемой в этой задаче являются тепловые потери сквозь стенки трубопроводов и резервуаров. Данная проблема усугубляется при минусовых значениях температуры окружающей среды, когда даже применение утеплителей не способно существенно повлиять на процесс охлаждения нефти. Как показывает практика, падение температуры окружающей среды до – ºС приводит к быстрому охлаждению стенки резервуара, несмотря на наличие слоя теплоизоляции толщиной 100 мм, в течении достаточно короткого времени. Для решения проблемы в современных производствах прибегают к использованию систем электрического обогрева.
Самый бюджетный вариант системы электрообогрева реализуется с применением релейной системы управления резистивным греющим кабелем с обратной связью по датчику температуры, установленном на поверхности стенки резервуара. Такой кабель выбирается с учетом минимально возможной температуры окружающей среды. Таким образом, в случае, когда температура воздуха около нуля или принимает небольшое отрицательное значение, резистивный греющий кабель с релейным управлением будет работать на полную мощность, рассчитанную, например, на температуру окружающей среды -40 ºС, что потребует высокого уровня энергопотребления и частого срабатывания пусковой аппаратуры.
Другой вариант реализации системы электрообогрева подразумевает применением вместо резистивных греющих кабелей саморегулирующихся, которые способны изменять мощность тепловыделения в зависимости от температуры своей поверхности. Изменение мощности возможно в ограниченных пределах с учетом характеристик конкретного греющего кабеля. Применение саморегулирующегося кабеля частично решает проблему излишней мощности, но его применение намного дороже. Например, как показывают расчеты, для горизонтального резервуара объемом 100 м3 потребуется саморегулирующийся кабель типа 45ВТС2-ВР общей стоимостью порядка 1 млн. рублей, что существенно дороже резистивного кабеля.
Недостатком описанных выше подходов является также включение нагрева по значению датчика температуры на поверхности резервуара (или трубопровода) в момент времени, когда уже остыл утеплитель и начала остывать стенка резервуара.
В работе предполагается построить систему управления, лишенную указанных недостатков, используя в качестве нагревательного устройства дешевый резистивный кабель.
Так как самая существенная помеха в подобных системах – изменение температуры окружающей среды, то основная идея работы состоит в построении системы управления по данному виду возмущения.
Обеспечить инвариантность к возмущающему воздействию, которым является температура окружающего воздуха, возможно путем синтеза системы управления по возмущению. Применение принципа управления по возмущению для объектов с существенной инерционностью обеспечивает хорошие качественные показатели системы управления. Однако, при реализации такой системы возникает проблема синтеза идеального компенсационного элемента, который представляется в виде обратной передаточной функции объекта управления.
Задача нахождения обратной передаточной функции относится к классу «некорректных» и не имеет точного решения. Это связано с тем, что все реальные объекты управления обладают динамикой и возникает проблема ее компенсации и выполнения операций точного дифференцирования.
Впервые понятие некорректной задачи было сформулировано французским математиком Ж. Адамаром. Вопрос решения некорректных задач получил особенно интенсивное развитие во второй половине прошлого века. Стоит отметить существенный вклад в развитие методов решения отечественных математиков А.Н. Тихонова, М.М. Лаврентьева, В.К. Иванова и других [1 – 3].
Так как задача построения обратной передаточной функции объекта не имеет точного решения, то возникает принципиально важный вопрос: что понимается под «приближенным решением» такой задачи? В таком случае возникает задача поиска алгоритмов нахождения приближенных решений, обладающих свойством устойчивости.
В работах А.В. Тычинина и В.К. Тяна для построения инвариантных к возмущающему воздействию систем управления предлагается применять быстродействующий контур, позволяющий «самокомпенсировать» помеху в заданное число раз. Такой контур реализуется в виде периодической структуры [4 – 7].
Другой важной проблемой, с которой можно столкнуться при синтезе системы управления, является моделирование объекта с распределенными параметрами (ОРП). На практике большинство объектов управления являются объектами с распределенными параметрами, и пренебрежение этим свойством может привести к существенному отличию модели от реального объекта, что неприемлемо. Принципиальной особенностью объектов с распределенными параметрами является неравномерность пространственного распределения управляемых величин.
В работах А.Г. Бутковского и Э.Я. Рапопорта изложены принципиально важные методы и результаты математического описания объектов с распределенными параметрами. Таким образом, при реализации алгоритма управления реальным технологическим процессом возникает еще одна важная проблема – получение корректного и точного математического представления объекта управления [8 – 10].
Постановка задачи
В работе рассмотрен процесс теплопередачи от утепленной стенки резервуара во внешнюю среду (рисунок 1).
Рис. 1. Распределение тепловых потоков на объекте управления
На рис. 1: tср – температура окружающей среды; Г.Л. – греющая лента; Р – резервуар; УТ – утеплитель; tн – температура нефти; tст.р. – температура стенки резервуара; tпов.ут. – температура поверхности утеплителя; tг.л. – температура греющей ленты
Слой теплоизоляции рассматривается как объект с распределенными параметрами. В начальных условиях тепловой поток отсутствует, и система находится в статичном состоянии, так как температура поверхности резервуара, температура окружающего воздуха и температура теплоизоляции равны. Далее температура воздуха начинает падать, появляется разница с температурой поверхности теплоизоляции и возникает отток тепла в окружающую среду.
Можно определить следующую последовательность решения задачи:
- моделирование объекта управления как объекта с распределенными параметрами;
- реализация компенсатора для нахождения требуемой динамики мощности нагрева греющей ленты путем получения обратной передаточной функции объекта управления методом периодических структур;
- синтез системы управления объектом с распределенными параметрами по возмущению.
Моделирование объекта управления
Рассматривается одномерная задача теплопередачи равномерным тепловым потоком через утеплитель, который представляется в виде бесконечной пластины, неравномерность распределения температуры учитывается только по толщине слоя теплоизоляции.
Была получена краевая задача с начальными условиями и граничными условиями третьего рода [11]:
, , ;
, , ;
, ; (1)
, ,
где – коэффициент температуропроводности; R – толщина пластины; λ – коэффициент теплопроводности; α – коэффициент теплопередачи; – внешнее сосредоточенное воздействие.
Фундаментальной характеристикой краевой задачи является функция Грина, представленная в форме разложения в бесконечный ряд Фурье [11]:
, (2)
, (3)
где ηn – пронумерованные в порядке возрастания корни трансцендентного уравнения (3), – широко применяемый в теплофизике безразмерный критерий Био.
Переход к изображениям по Лапласу в уравнениях (1) приводит к следующему выражению для передаточной функции объекта управления:
. (4)
Согласно (4) рассматриваемый объект управления представляется параллельным соединением бесконечного числа элементарных звеньев с независимыми от пространственных координат постоянными времени
, (5)
и коэффициентами передачи, меняющимися по периодическому закону
, . (6)
Так как постоянная времени и коэффициент передачи обратно пропорциональны корням трансцендентного уравнения (3), которые являются членами бесконечно возрастающего ряда, то:
,
.
Таким образом, можно ограничиться укороченной структурой, отбросив последние элементы, так как они не будут существенно влиять на точность модели объекта. При моделировании рассматриваемого объекта достаточным оказалось использование пяти апериодических звеньев в структуре.
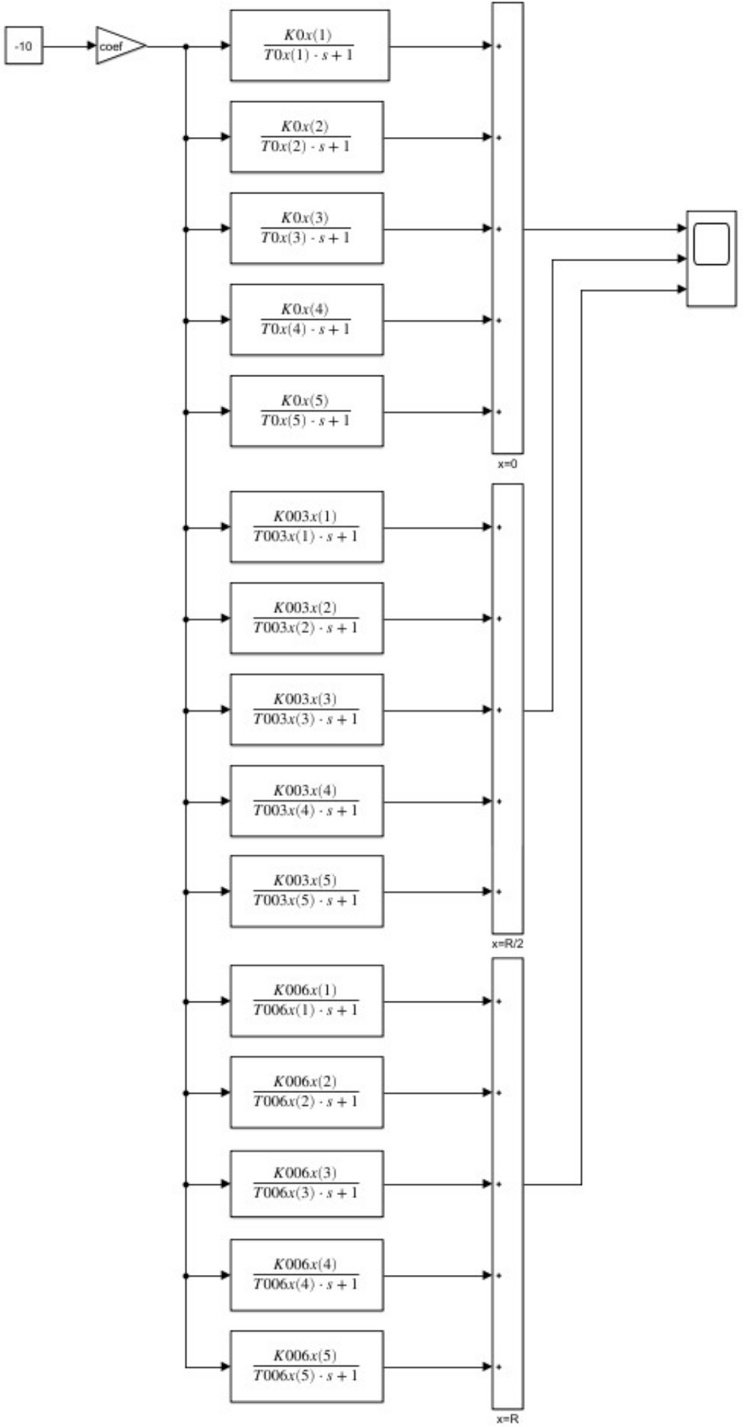
Расчет параметров элементарных апериодических звеньев проводился в среде MATLAB. Моделирование слоя теплоизоляции проводилось в графической среде программирования Simulink.
Полученная структурная модель объекта с распределенными параметрами приведена на рис. 2. Такой подход позволяет структурно промоделировать объект и получить функцию изменения температуры от времени в любой точке по толщине утеплителя.
Рис. 2. Структурное представление слоя утеплителя как объекта с распределенными параметрами
Выходной величиной приведенной модели являются функции изменения температуры от времени в трех точках: поверхность теплоизоляции со стороны окружающей среды (R), середина слоя теплоизоляции (R/2), поверхность утеплителя, прилегающая к стенке резервуара (0). Управляющим воздействием для представленной модели на данном этапе работы является температура воздуха, воздействующая со стороны R.
На рис. 3 приведены результаты работы синтезированной модели.
Рис. 3. Переходная характеристика объекта управления в трех точках по толщине теплоизоляции
Из рис. 3 видно, что при воздействии температуры, равной минус 10 ⁰С, температура во всех точках по толщине объекта падает, асимптотически приближаясь к температуре окружающего воздуха.
Реализация компенсационного элемента в системе управления по возмущению
Управление по возмущению обеспечивает компенсацию влияющего на систему возмущающего воздействия, тем самым, не допуская отклонения управляемой величины от требуемого значения. Реализация данного метода заключается в преобразовании помехи, приложенной к объекту управления, в компенсирующее управляющее воздействие, которое воздействует на объект с противоположным знаком по сравнению с отклонением, вызванным помехой.
При синтезе систем управления по возмущения возникает проблема реализации компенсационного элемента, который представляется в виде обратной передаточной функции объекта управления. Условие абсолютной инвариантности к возмущающему воздействию имеет вид:
.
Существует практический подход получения обратной передаточной функции объекта управления для реализации компенсационного элемента, заключающийся во включении его передаточной функции в обратную связь, как показано на рис. 4.
Рис. 4. Реализация компенсационного элемента методом варьирования коэффициента
При применении такого метода можно добиться реализации обратной передаточной функции с некоторой точностью путем варьирования коэффициента C в диапазоне [0, 1). При увеличении коэффициента увеличивается точность реализации, но уменьшается запас устойчивости, например, если принять C равным единице, то обратная передаточная функция реализуется с абсолютной точностью, но система будет находиться на границе устойчивости.
Требуемой точности возможно добиться путем наращивания количества последовательно включенных ячеек . Таким образом реализуется периодическая структура, в которой путем варьирования коэффициента C обеспечивается устойчивость, а при изменении количества ячеек возможно добиться высокой точности [4, 7, 12 – 14].
Система поддержания температуры резервуара
В работе строится система управления по возмущению, структурная схема которой изображена на рис. 5.
Рис. 5. Структурная схема системы компенсации тепловых потерь с поверхности резервуара: WОУ – передаточная функция объекта управления (слой утеплителя); WПУ_R – передаточная функция поверхности утеплителя при воздействии окружающей среды; WГ.Л. – передаточная функция греющей ленты; Wкомп – передаточная функция компенсационного элемента
В приведенной на рисунке 5 системе объект управления Wоу рассматривается как объект с распределенными параметрами (рис. 2), так как слой утеплителя имеет существенную толщину и низкий коэффициент теплопроводности, следовательно, необходимо учитывать процесс теплопередачи от внешнего слоя утеплителя к внутреннему, Wкомп – периодическая структура, в которой в обратную связь включена передаточная функция утеплителя Wоу (рис. 4).
Экспериментальным путем были найдены оптимальные параметры компенсационного элемента для рассматриваемого технологического процесса. При моделировании применялась периодическая структура с тремя ячейками и коэффициентом С равным 0,8.
Результаты работы модели системы представлены на рисунке 6.
Рис. 6. Переходные характеристики системы поддержания температуры (а), график отклонения температуры поверхности утеплителя от требуемой (б)
Из рис. 6, а можно увидеть, что система незамедлительно реагирует на возмущающее воздействие: при изменении температуры воздуха в тот же момент вырабатывается управляющее воздействие, увеличивая нагрев греющего кабеля, тем самым, не допуская значительных колебаний температуры поверхности утеплителя (максимальное отклонение температуры поверхности утеплителя от требуемой не превышает 0,30 °С.
Из приведенных исследований можно сделать вывод, что поддержание температуры поверхности утеплителя в системе со структурной схемой, представленной на рис. 5, осуществляется с очень высокой точностью.
Далее приводится исследование влияния параметров периодической структуры на качество работы алгоритма управления. На рис. 7 приведены переходные характеристики и графики отклонения для систем с различными периодическими структурами.
Рис. 7. График отклонения температуры поверхности утеплителя при варьировании коэффициента C в периодической структуре (а), график отклонения температуры поверхности утеплителя при варьировании количества ячеек в периодической структуре (б)
Как видно из графика отклонения, приведенного на рис. 7, а, наибольшая точность достигается при коэффициенте C = 0,9. Но в таком случае система приближается к границе устойчивости, а для рассматриваемого технологического процесса достаточная точность обеспечивается и при коэффициенте С = 0,8, поэтому дальнейшее увеличение коэффициента не имеет смысла.
Увеличении количества ячеек в структуре (рис. 7, б) также приводит к увеличению точности управления. Однако, для рассматриваемого процесса применение периодической структуры с большим количеством ячеек также является избыточным, так как это приведет к нерациональной трате вычислительной мощности управляющего устройства. Для рассматриваемого технологического процесса достаточную точность обеспечивает периодическая структура с тремя ячейками.
Практическая реализация системы поддержания температуры резервуара
На рис. 8 приведена структурная схема комплекса технических средств для реализации рассмотренного метода управления.
Рис. 8. Структурная схема комплекса технических средств
Для реализации системы управления применяется типовые технические средства, такие как датчики температуры, резистивный греющий кабель и тиристорный преобразователь, управляющим устройством является программируемый логический контроллер.
В начале работы программы на контроллер поступает информация с установленного в резервуаре датчика температуры о текущей температуре среды, которую в дальнейшем необходимо поддерживать. В программе ПЛК реализуется компенсационный элемент, который на основе начальной температуры среды и текущей температуры окружающего воздуха рассчитывает требуемую функцию динамики мощности нагрева греющего кабеля и вырабатывает управляющее воздействие, меняющее мощность нагрева греющего кабеля.
Далее управляющий сигнал поступает с ПЛК на тиристорный преобразователь. При помощи преобразователя изменяется питающее напряжение греющего кабеля, тем самым, меняется его тепловыделение. Таким образом, при использовании аналогового управления мощностью кабеля, возможно поддерживать температуру резервуара с высокой точностью.
Выводы
В работе построена структурная модель объекта управления, представленного в виде слоя теплоизоляции как объекта с распределенными параметрами, что позволяет учитывать динамику объекта управления. По полученной переходной характеристике в точке у стенки резервуара при применении метода периодических структур определена функция компенсации теплопотерь, которая является требуемой динамикой мощности нагрева ленты. Применение такого метода обеспечивает высокую точность и быстродействие работы системы. Таким образом, была реализована система, инвариантная к возмущающему воздействию в виде изменения температуры воздуха.
Применение предлагаемого метода на практике исключает недостатки классических методов, применяемых для обогрева резервуаров, такие как низкая точность при использовании резистивного греющего кабеля и высокая стоимость при применении саморегулирующего греющего кабеля, так как для обогрева применяется дешевый греющий кабель постоянного нагрева, а аналоговый алгоритм управления позволяет реализовать поддержание температуры с высокой точностью.
Основным недостатком рассматриваемого метода является необходимость определения передаточной функции ОРП и ее применения в построении компенсационного регулятора.
Предлагаемый подход является экономически эффективным в задачах поддержания температуры стенки резервуара.
Sobre autores
Irina Bochkareva
Samara State Technical University
Email: ytychinina@list.ru
Postgraduate Student
Rússia, 244, Molodogvardeyskaya str., Samara, 443100Yuliya Tychinina
Самарский государственный технический университет
Email: ytychinina@list.ru
(Ph.D. (Techn.)), Associate Professor
Rússia, 443100, г. Самара, ул. Молодогвардейская, 244Aleksandr Tychinin
«TM-service»
Autor responsável pela correspondência
Email: ytychinina@list.ru
(Ph.D. (Techn.)), Head of Department
Rússia, 157, 6th proseka, Samara, 443029Bibliografia
- Krut'ko P. D. Inverse problems of dynamics in the theory of automatic control [Obratnye zadachi dinamiki v teorii upravleniya] // М.: Mashinostroenie. 2004. T. 576. (In Russian).
- TikhonovA.N., Arsenin V.Ya. Methods for Solving Ill-Posed Problems [Metody recheniya nekorrektnykh zadach]. M.: Nauka, 1979. (In Russian).
- Tikhonov A. N., Goncharovskiy A. V. Ill-posed problems of natural science [Nekorrektnye zadachi estestvoznaniya]. MSU, 1987. (In Russian).
- Tychinin A.V. Strukturno-parametricheskiy sintez sistemy granichnogo upravleniya ob”ektom s raspredelennymi parametrami metodami obratnoy dinamiki: diss. Samara, Samara State Technical University, 2008. (In Russian).
- Tychinin A.V. Application of periodic structures in the synthesis of automatic control systems with a given transfer function. Nauka, Technologii. Innovatsii // materials of reports of the All-Russian scientific conference of young scientists in 6 parts. Novosibirsk, NSTU, 2003. Vol. 2. Pp. 37 – 38. (In Russian).
- Tyan V.K. Synthesis of control systems with a given invariance to disturbing influences // In the collection of scientific papers «Algoritmicheskoe I tekhnicheskoe obespechenie v sistemakh upravleniya tekhnologicheskimi protsessami», Samara, 1991. (In Russian).
- Tyan V.K. Teoriya I metody sinteza mnogomernykh sistem avtomaticheskogo upravleniya s dinamicheskim kompensatorom v forme periodicheskikh struktur obratnykh operatorov: diss. Samara, Samara State Technical University, 2008. (In Russian).
- Butkovskiy A.G Structural theory of distributed systems [Strukturnaya teoriya raspredelennykh sistem]. M.: Nauka, 1977. (In Russian).
- Butkovskiy A.G. Characteristics of systems with distributed parameters [Kharakteristiki sistem s raspredelennymi parametrami]. M.: Nauka, 1979. 224 pp. (In Russian).
- Rapoport E.Ya. Optimal control of systems with distributed parameters [Optimal’noe upravlenie sistemami s raspredelennymi parametrami]. M.: Vysh. shk., 2009. 676 pp. (In Russian).
- Rapoport E.Ya. Structural modeling of objects and control systems with distributed parameters [Strukturnoe modelirovanie ob”ektov I sistem upravleniya s raspredelennymi parametrami]. M.: Vyssh.shk., 2003.299 pp. (In Russian).
- Bochkareva I.S. Structural Modeling in the Problems of Building a Regulator for Controlling Oil Treatment Processes // Dni nauki – 2021. 76-ya nauchno-tekhnicheskaya konferentsiya obuchayushchikhsya SamGTU [Electronic resource]: collection of abstracts of reports. Samara: Samara State Technical University, 2021. Pp. 5 – 7. (In Russian).
- Bochkareva I.S. Solving the problem of compensation for heat losses from the surface of the tank by the method of periodic structures // Dni nauki – 2022. 77-ya nauchno-tekhnicheskaya konferentsiya obuchayushchikhsya SamGTU [Electronic resource]: collection of abstracts of reports. – Samara: Samara State Technical University, 2022. Pp 5 – 6. (In Russian).
- Bochkareva I.S., Tychinina Yu.A. Solving the problem of compensating heat losses from the surface of the tank of a transshipment railway tank farm // Tezisy dokladov XLVIII-y Samarskoy oblastnoy studencheskoy nauchnoy konferentsii [Electronic resource]: collection of abstracts of reports. Samara, 2022. Pp. 400 – 401. (In Russian).
Arquivos suplementares









