Laser welding of pipe from steel 09G2S
- Authors: Gorunov A.I.1, Nyukhlyaev O.A.1, Gilmutdinov A.K.1
-
Affiliations:
- Kazan National Research Technical University named after A.I. Tupolev – KAI
- Issue: Vol 20, No 1 (2024)
- Pages: 35-45
- Section: New materials and technology
- Submitted: 07.05.2024
- Published: 23.04.2024
- URL: https://ogarev-online.ru/1816-9228/article/view/255095
- DOI: https://doi.org/10.18822/byusu20240135-45
- ID: 255095
Cite item
Full Text
Abstract
Subject of research: laser welding of pipe steels.
Purpose of research: variation of laser welding parameters to obtain optimal combinations of welded joints.
Object of research: structure and properties of welded joints as a result of laser welding of pipe steel.
Methods of research: optical microscopy, X-ray tomography and tensile tests were used to study the effect of laser parameters on the weld.
Main results of research: the results of laser welding of tubing with different thickness by varying the power and parameters of laser radiation are presented. Possibilities of technology of laser welding of pipes with big thicknesses, with application of a filler wire are shown.
Keywords
Full Text
ВВЕДЕНИЕ
Сварка стальных листов большой толщины является важной задачей во многих отраслях промышленности, таких как судостроение и трубное производство. Обычно задача решается применением аргонно-дуговой сварки или сварки под флюсом [1–2]. Эти подходы, однако, имеют существенные недостатки: большая продолжительность процесса сварки, значительные термические напряжения в сварном шве, непрерывный процесс разделки кромок изделий под сварку. Все эти факторы привели к поиску альтернативных решений. Были разработаны новые способы сварки, сокращающие количество проходов и основанные на использовании концентрированных потоков энергии [3–5]. Из-за возможности создания высокой удельной мощности лазерная сварка приобрела повышенный интерес. Однако ее применение при создании неразъемных соединений больших толщин является затруднительным, и качество сварки сильно зависит от предварительной обработки свариваемых кромок. Для исключения влияния зазоров в стыке свариваемых деталей был разработан ряд комбинированных способов лазерной сварки, таких как гибридная лазерная сварка, гибридная дуговая сварка под флюсом [6–9]. Несмотря на большой успех этих технологий, в большинстве случаев реальные изделия имеют сложную геометрию, поэтому для каждого конкретного случая необходимо разрабатывать индивидуальную технологию. Целью данного исследования является разработка гибридной технологии сварки труб, используемых в нефтегазовой отрасли, изучение механических свойств материалов, полученных лазерной сваркой и наплавкой.
РЕЗУЛЬТАТЫ И ОБСУЖДЕНИЕ
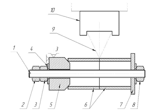
Сварка производилась с помощью волоконного лазера мощностью до 20 кВт, с длиной волны излучения 1064 нм. Для проведения лазерной сварки было разработано специальное прижимное устройство, которое осуществляло плотное прижимание свариваемых частей труб друг к другу. Сборочная схема с оснасткой для стыковки труб показана на рисунке 1. На рисунке 2 показана технологическая установка для лазерной сварки труб.
Рисунок 1. Приспособление для лазерной сварки труб. 1 – Шпилька, 2 – Гайка, 3 – Контр-гайка, 4 – Шайба, 5 – Конусный упор, 6 – Стыкуемые трубы, 7 – Зажимная шайба, 8 – Зажимная гайка, 9 – Схема фокусировки лазера, 10 – Лазерная сварочная голова Kugler.
Рисунок 2. Установка для выращивания образцов с боковой подачей проволоки.
После сварки проводили подготовку поверхности образцов шлифование, грубое и тонкое полирование. Осуществляли химическое травление микрошлифов в подготовленном реактиве НF – 15 см3, HNO3 – 35 см3, Н2О – 200 cм3, глицерин – 100 см3. Для измерения микротвердости применяли твердомер HX – 1000ТМ. Анализ структуры поверхности металлографических образцов производили при помощи универсального инвертированного микроскопа «Axiovert – 200М». В качестве образцов для сварки выбран базовый комплект номенклатуры насосно-компрессорных труб с различными видами и методами подготовки торцов и условиями эксплуатации, изготовленных по ГОСТ 633–80 и ГОСТ Р 52203–2004, наружным диаметром 73 мм и толщиной стенок 5,5 мм. Фактическое среднестатистическое отклонение формы в поперечном сечении по наружному диаметру овальность составляла 0,42 мм. В процессе лазерной сварки варьировали такие параметры процесса, как скорость перемещения лазера относительно поверхности образцов, мощность излучения, расход защитного газа, смещение фокусного расстояния, а также скорость подачи присадочной проволоки. Изменение фокусного расстояния позволяло получать изменение площади лазерного сфокусированного пучка. Соответственно, менялось значение плотности энергии пучка, приходящееся на квадратный сантиметр площади. Данный параметр оказывает значительное влияние на степень провара. Скорость подачи проволоки позволяла варьировать параметры наплавляемого валика на сварном шве. Расход защитного газа был фиксирован и составил 25 л/мин. Также торцы стыкуемых элементов трубы по результатам этапа 1 решено подготавливать с требуемыми параметрами. Для испытания на растяжение из сваренных труб вырезались образцы. Для растяжения использовалась универсальная электромеханическая испытательная машина Instron 5884. Был подобран оптимальный режим сварки труб с проточкой, при которой толщина трубы составляет 4,5–5 мм.
Таблица 1. Химический состав трубной стали, %.
Содержание элементов, % масс. | ||||||||
C | Si | Mn | Ni | S | P | Cr | Cu | Fe |
0,12–0,35 | 0,17–0,37 | 1,4–1,8 | До 0,3 | До 0,35 | До 0,035 | До 0,3 | До 0,3 | ≈96 |
Таблица 2. Параметры для оптимального режима сварки.
Режим лазерной сварки | Значение |
Скорость сварки, м/сек | 1–11 |
Мощность лазерного излучения, кВт | 0,5–9 |
Расход защитного газа, л/мин | 1–6 |
Смещение фокусного расстояния, мм | 1–6 |
Скорость подачи присадочной проволоки, м/мин | 0,1–4 |
Угол наклона лазерного излучения по отношению к поверхности металла, град. | 0–90 |
Качество подготовки поверхности (шероховатость), Ra, мкм | 2 |
Экспериментально было установлено, что лазерное излучение рассеивается в столбе дыма, появляющегося при сварке (в связи с кипением металла на поверхности и плавлением проволоки). Во избежание потери мощности лазерного излучения и достижения подачи в сварочную ванну постоянной мощности лазера был установлен воздушный нож. Расположение боковое, на минимально допустимой высоте к поверхности сварки, не сбивая при этом защитный газ. При сварке использовалась сварочная проволока марки 08Г2С, диаметр 1,2 мм. Скорость подачи проволоки в оба прохода – 3 м/мин. Проволока подавалась непосредственно в сварочную ванну под углом 30 º, и плавилась под действием лазера. Защитный газ – сварочная смесь 18 % 82 % Ar, расход 25 л.
Для плавления проволоки, избежания «кипения» металла, разбрызгивания, а также испарения металла на поверхности труб было выбрано значение расфокусировки лазера +10 мм. Такое значение фокуса обеспечивало необходимый диаметр лазерного пятна без значительных потерь в мощности (чем больше лазерное пятно, тем меньше приходится энергии излучения на площадь). Тем не менее, данного диаметра лазерного пятна было не достаточно для создания необходимой ширины сварочной ванны. Для этого, помимо расфокуса, применялась технология «сканирующего луча», которая позволяла увеличить площадь воздействия лазерного излучения на поверхности свариваемых заготовок, более того сканирование луча в процессе сварки способствует перемешиванию материала проволоки с материалом труб. Значения осцилляции в процессе сканирования: частота сканирования – 20 Гц, сканирование осуществлялось по синусоиде.
Для осуществления лазерной сварки были рассмотрены три варианта расположения фокуса лазерного луча: над поверхностью (рисунок 3а) («плюсовой фокус»), на поверхности (рисунок 3б) («в фокусе») и под поверхностью (рисунок 3в) металла («минусовой фокус»).
Рисунок 3. Фокус лазерного пятна, а – на поверхности металла, «в фокусе», Δf=0, б – над поверхностью металла, «плюсовой фокус», Δf>0, в – под поверхностью металла, «минусовой фокус», Δf<0.
В случае осуществления сварки «в фокусе» площадь сфокусированного участка лазерного пятна достигала 3×10–6 см2. В данной схеме достигалось максимальное приложение энергии, температура поверхности повышалась до точки испарения материала более 2000 ˚C. В случае, когда сварка осуществлялась в «плюсовом фокусе», – площадь сфокусированного участка регулировалась, для получения требуемого проплава материала при этом выдерживалось соотношение мощность/скорость. В данной схеме луч лазера фокусировался над поверхностью металла, и уже на самой поверхности имел расфокусированный пучок. Благодаря полученной площади нагрева достигалось более равномерного распространение тепла по поверхности металла и осуществлялось максимальное тепловложение для расплавления присадочного материала. Сварочная ванна имела кинжальный характер. В случае, когда сварка осуществлялась при «минусовом фокусе» лазерного луча, – площадь сфокусированного участка регулировалась для получения требуемого проплава материала, при этом требовалось выдержать соотношение мощность/скорость. В данной схеме луч лазера фокусировался под поверхностью металла, и уже на самой поверхности формировался расфокусированный пучок. Так же, как и в случае «плюсового фокуса», для данной схемы расположения лазерного луча характерно наиболее глубокое проникновение излучения в металл, что приводит к наиболее оптимальному и эффективному тепловложению лазерного излучения. Вследствие происходящих на поверхности высокотемпературных процессов (выгорание металла) за сварочной ванной образуется плазменный факел. В зависимости от скорости, мощности и наклона лазерного излучения он имеет различный характер. Также на распространение факела влияет наклон лазерного луча относительно свариваемой поверхности. При наклоне лазерного излучения плазменный факел получает вдвое меньшее приращение по углу. Данное утверждение верно на углах до 45 °. При больших значениях угла площадь нагрева металла значительно увеличивается, и происходит возвращение плазменного факела к значению 90 °. Плазменный факел оказывает исключительно отрицательное влияние на образование сварочного соединения путем ЛС. Из-за плазменного факела становится возможным «догрев» углерода в металле, который при достижении температуры расплавления образует кратковременный газовоздушный канал (процесс кипения). Под действием сил натяжения образуется всплеск металла, что приводит к образованию дефектов. Данный процесс происходит с периодическими повторениями. Также из-за мелкодисперсных частиц, находящихся в облаке, плазменный факел играет роль поглощающего экрана. Данный эффект также имеет пульсационный характер. Проблема плазменного факела решается установкой дополнительных «воздушных ножей» для сбивания пульсационной части факела и дополнительной вытяжкой непосредственно в самой зоне сварки. Параметры лазерной сварки представлены в таблице 3.
Таблица 3. Технологические параметры лазерной сварки.
Режимы сварки | |||||||
Мощность лазера, кВт | Линейная скорость, м/c | Присадочный материал | Скорость подачи проволоки, м/мин | Защитный газ | Фокус F, мм | Параметры сканирующего луча | |
Частота сканирования, Гц | Амплитуда, мм | ||||||
9 | 0,028 | Присадочная проволока 09Г2С | 3 | Сварочная смесь 18% СО2+82%Ar | +10 | 20 | 3 |
Сварку труб осуществляли в 2 прохода. Первый проход является основным, при котором осуществляется провар труб на всю толщину при высокой мощности лазера. Второй – «залечивающий» проход, при котором проволока наплавлялась на шов для устранения усадочной ванны. При этом лазерная голова оставалась неподвижной, скорость вращения патрона оставалась постоянной при сварке и составляла , угловая скорость сварки составила при R=0,0365 м. Ввиду того, что трубы имели разный износ, толщина стенки трубы была слишком малой для осуществления проточки толщиной 5 мм. Значения соотношения мощности при первом проходе к толщине стенки представлены в таблице 4.
Таблица 4. Соотношение мощности и толщины стенки трубы.
Параметры сварки в зависимости от толщины | ||
Толщина стенки (мм) | Мощность на 1–3 четверти (кВт) | Мощность на 4 четверти (кВт) |
4,5 | 8,0 | 7,8 |
4,6 | 8,3 | 8,1 |
4,7 | 8,5 | 8,3 |
4,8–4,9 | 8,7 | 8,5 |
5,0 | 9,0 | 8,8 |
Мощность лазерного излучения при втором проходе (мощность, необходимая для расплавления проволоки и создания «валика» поверх шва) является неизменной и равна 4 кВт (рисунок 4).
Рисунок 4. Графическая зависимость оптимального режима сварки, где 0 – начало сварки, Т1 – точка начала последней четверти, Т2 – конец первого прохода и начало второго прохода, Т3 – конец второго прохода.
Толщина стенки после проточки могла оказаться толщиной от 4,5 до 5 мм. Поэтому для каждой трубы с индивидуальной толщиной стенки была подобрана мощность лазера. Мощность лазера при сварке последней четверти трубы была снижена, т. к. металл трубы в процессе сварки разогревался, и требовалось меньшее тепловложение. Первый этап экспериментов проводился по двухфакторной схеме: изменение скорости и мощности ЛС при прочих постоянных параметрах. Данная серия экспериментов проводилась с целью установить наиболее благоприятные режимы провара металла методом лазерной сварки с учетом варьирования смещения фокусной точки. Для установления зоны провара металла были изготовлены линейные сегменты труб из имеющихся заготовок. Сегменты прошли механическую зачистку поверхности и обезжиривание. Были установлены режимы сварки и проварены сегменты. Далее были построены графики провара при различных смещениях фокусной системы (рисунок 5).
Рисунок 5. Зависимость наличия проплава от скорости и мощности, фокус f = -10 (а), -15 (б), +15 (в), -30 (г).
Данные эксперименты проводились без применения присадочной проволоки.
При этом заштрихованные области соответствуют провару металла без дефектов, отсутствие трещин, отсутствие непровара, отсутствие пор и свищей методом рентгенографии. При фокусном расстоянии, соответствующем значениям 0<Δf<10, -10<Δf<0, наблюдается стабильный проплав материала. Ширина сварочной ванны достигает 4 мм в ширине. При 10<Δf<30, -30<Δf<-10 наблюдается нестабильность процессов (кипение, удаление материала с поверхности), большое количество дефектов. Ширина сварочной ванны достигала в этом случае 8 мм в ширине. Результаты томографического исследования представлены на рисунке 6. Можно видеть, что использование метода лазерной сварки в два прохода в начале старта сварки скопление пор размером более 100 мкм. При этом использование постоянной мощности лазерного излучения приводило к разогреву детали и нарушению стабильности процесса лазерной сварки. Появление пористости в сварном шве объясняется нехваткой присадочного материала, вследствие чего оставались пустоты. Увеличение скорости подачи проволоки в сварочном шве привело к заполнению пустот (пор). Скорость подачи проволоки была увеличена с 2.2 мм/с до 3.0 мм/с. Для успешного плавления большего объема присадочного материала так же была увеличена мощность. Скорость подачи проволоки для получения сварного шва с минимальным количеством пор составила 3 м/с.
Рисунок 6. 3D-снимок трубы, сделанный с помощью рентгеновского томографа: а – скорость подачи проволоки 2.2 мм/с, б – 2.6 мм/с, в – 3 мм/с.
В процессе сварки происходит концентрированное тепловложение с помощью энергии лазерного излучения на стыке свариваемых заготовок. При этом часть энергии забирает на себя прилегающие к ванне расплава участки металла трубы, образуя тем самым резкий температурный градиент. В процессе сварки длительное воздействие на свариваемые участки металла концентрированного лазерного излучения приводит к снижению температурного градиента. Для сваривания образцов на всю глубину шва при втором проходе лазера требуется значительно меньшее тепловложение. Однако такой способ приводит к тому, что при сварке образцов с большими толщинами происходит вытекание металла с обратной стороны шва, противоположной той, на которую подается лазерное излучения. Решением этой проблемы является создание в начале сварки мощного короткого импульса, который обеспечивает полный провар толщины труб с самого начала сварки. Параметры импульса при этом составили: мощность 10 кВт, а длительность импульса 30 мсек.
К сожалению, внутри свариваемой трубы защитный газ отсутствует из-за невозможности его подвода. При высокой мощности лазера расплавленного металла оказывается больше, чем требуется для создания ванны расплава, часть расплавленного металла вытекает внутрь трубы. Атмосфера воздуха, содержащегося внутри трубы, контактирует с жидким металлом, образуя сферические пустоты внутри шва. На рисунке 6а,б показаны пустоты, формируемые в сварном шве.
Такие пустоты появляются в том случае, когда при втором проходе в процессе наплавки проволоки поверх шва мощности лазера оказывается недостаточно. Проволока незначительно расплавляется, и вследствие низкой жидкотекучести металла происходит нарушение сплошности сварного шва, в результате чего могут появляться пустоты между двумя швами, как показано на рисунке 7а. Увеличение мощности привело к полному расплавлению проволоки. После увеличения мощности на втором проходе пустоты отсутствуют, что видно на рисунке 7б. После устранения всех выявленных дефектов был получен сварной шов с постоянной величиной валика и отсутствием внутренних дефектов (рисунок 7б).
Рисунок 7. Сварной шов, полученный методом лазерной наплавки проволоки на поверхность образцов из трубной стали с мощностью лазерного излучения 2500 Вт (а), 4000 Вт (б).
Усредненное значение предела прочности при испытании образцов на растяжение по результатам растяжения трех образцов при скорости подачи проволоки 2.2 мм/с составило 655 МПа при среднем значении предела прочности для основного металла 661 МПа. При этом разрушение образца, полученного при оптимальном сочетании параметров, произошло в околошовной зоне, по основному металлу. По характеру излома можно установить, что причиной разрушения явились преимущественно касательные напряжения. В значительной степени оказывает влияние на степень проплавления присадочного материала (проволоки), что в результате влияет на получение качественного сварного шва, скорость подачи проволоки и положение фокусного пятна на поверхности ванны расплава. Появление незначительной пористости в сварном шве приводит к формированию высокой концентрации напряжений, что влечет за собой разрушение металла по месту сварки, а именно – по сварному шву. В данном случае прочность такого сварного соединения в 1,2 раза уступает прочности основного металла.
В нашем случае, при соблюдении рекомендаций, предложенных в работе, значение предела прочности при разрыве усредненном значении трех образцов со швом оказалось на 2 % меньше, чем значение прочности образцов без шва. При этом разброс значений при испытании не превышал 5 %. Вид образцов после разрушения в результате их испытаний на статическое нагружение (рисунок 8).
Рисунок 8. Вид сваренных образцов после испытания на статическое растяжение (а), вид поверхности разрушения (б).
Превращения микроструктуры в сварном шве и в околошовной зоне могут быть описаны классической теорией, которая может быть представлена схематически на рисунке 9.
Рисунок 9. Образование шва и околошовной зоны.
Сварное соединение состоит из металла шва и основного металла, подвергшегося термическому воздействию [8]. При этом ширина структурных зон и зона термического влияния может отличаться от соответствующих параметров структурных зон, полученных методами дуговой сварки [10]. Фото шва с выделенными зонами и их твердостью показан на рисунке 10. Сварочный шов первого прохода (зеленая зона) состоит из расплавленного металла труб, перемешанного с проволокой. Наблюдается крупнозернистая литая структура, с большими пластинами, идущими в направлении от основного металла к центру шва. Твердость данной зоны составляет 370–421 HV(10).
Рисунок 10. Изображение сварного соединения с указанием твердостей зон.
Наплавленная проволока поверх основного шва (оранжевая зона). Данный слой состоит только из расплавленной проволоки и имеет твердость 280–313 HV(10).
Красная зона – материал трубы, который находился непосредственно в контакте с ванной расплава, но не получил достаточной температуры для перехода в жидкую фазу, а получил резкий нагрев с длительным воздействием, вследствие чего зерна металла выросли, получив упрочнение. Поэтому эти зоны обладают максимальной твердостью в шве 493–547 HV(10). Зона термического влияния (синяя зона) также получила сильный нагрев, и вследствие упрочнилась до 320–353 HV(10). Желтая зона претерпела наименьшее тепловое воздействие в процессе сварки, зерна увеличились в размере незначительно. Твердость данной зоны составляет 257–310 HV(10). Белая зона – основной металл трубы, при этом ее твердость составила 210–232 HV(10). Усредненное значение по результатам растяжения трех образцов при скорости подачи проволоки 2.2 мм/с составило 655 МПа при среднем значении предела прочности для основного металла 661 МПа (рисунок 11).
Рисунок 11. Среднее значение напряжений и деформации трех испытанных образцов из стали 09Г2С полученных методом лазерной сварки.
При этом можно видеть, что разрушение образца, полученного при оптимальном сочетании параметров, произошло в околошовной зоне, по основному металлу. При этом по характеру излома можно установить, что причиной разрушения явились преимущественно касательные напряжения. В значительной степени оказывает влияние на степень проплавления присадочного материала (проволоки), что в результате влияет на получение качественного сварного шва, скорость подачи проволоки и положение фокусного пятна на поверхности ванны расплава. Появление незначительной пористости в сварном шве приводит к формированию высокой концентрации напряжений, что влечет за собой разрушение сварного металла по месту сварки, а именно – по сварному шву. В данном случае прочность такого сварного соединения в 1,2 раза уступает прочности основного металла. В нашем случае, при соблюдении рекомендаций, предложенных в работе, значение предела прочности при разрыве усредненном значении трех образцов со швом оказалось на 2 % меньше, чем значение прочности образцов без шва. При этом разброс значений при испытании не превышал 5 %.
ЗАКЛЮЧЕНИЕ И ВЫВОДЫ
Показаны возможности технологии лазерной сварки труб с большими толщинами с применением присадочной проволоки. Сварку труб осуществляли в 2 прохода. Первый проход являлся основным, при котором осуществляется провар труб на всю толщину на высокой мощности. Второй – «залечивающий» проход, при котором проволока наплавлялась на шов для устранения усадки металла. Показано, что значение предела прочности при разрыве образцов со швом составило на 4 % меньше, чем значение в образцах без шва. Показано, что в корне шва происходит образование 7 основных структурных зон. При значениях фокусного расстояния 0<Δf<10, -10<Δf<0 наблюдается стабильность процесса сварки и проплавление свариваемых заготовок на всю глубину. Ширина сварочной ванны при этом достигает 4 мм в ширине.
About the authors
Andrey I. Gorunov
Kazan National Research Technical University named after A.I. Tupolev – KAI
Email: gorunow.andrej@yandex.ru
ORCID iD: 0000-0003-3154-5276
Scopus Author ID: 55978339600
Doctor of Technical Sciences, Professor
Russian Federation, KazanOleg A. Nyukhlyaev
Kazan National Research Technical University named after A.I. Tupolev – KAI
Email: 9wikolega@gmail.com
Scopus Author ID: 57203898743
Postgraduate Student
Russian Federation, KazanAlbert K. Gilmutdinov
Kazan National Research Technical University named after A.I. Tupolev – KAI
Author for correspondence.
Email: albert.gilmutdinov@kai.ru
Scopus Author ID: 6701722858
Doctor of Physical and Mathematical Sciences
Russian Federation, KazanReferences
- Патон, Б. Е. Автоматическая электродуговая сварка неповоротных стыков трубопроводов порошковой проволокой / Б. Е. Патон. – Текст: непосредственный // Автоматическая сварка. – 2002. – № 10. – С. 15–22.
- Рыжов, Р. Н. Внешние электромагнитные воздействия в процессах дуговой сварки и наплавки / Р. Н. Рыжов, В. Д. Кузнецов. – Текст: непосредственный // Автоматическая сварка. – 2006. – № 10. – С. 36–44.
- Григорьянц, А. Г. Гибридные технологии лазерной сварки: учебное пособие / А. Г. Григорьянц, И. Н. Шиганов, А. М. Чирков. – М.: Изд-во МГТУ им. Н. Э. Баумана, 2004. – 52 с. – Текст: непосредственный.
- Туричин, Г. А. Моделирование динамического поведения сварочной ванны при лазерной и гибридной сварке с глубоким проплавлением / Г. А. Туричин, Е. А. Валдайцева, Е. Ю. Поздеева. – Текст: непосредственный // Автоматическая сварка. – 2008. – № 7. – С. 15–19.
- Кривцун, И. В. Модель испарения металла при дуговой, лазерной и лазерно-дуговой сварке / И. В. Кривцун. – Текст: непосредственный // Автоматическая сварка. – 2001. – № 3. – С. 3–10.
- Кулик, В. М. Технологические особенности лазерной сварки среднеуглеродистой легированной стали / В. М. Кулик, В. Д. Шелягин, М. М. Савицкий. – Текст: непосредственный //Автоматическая сварка. – 2012. – № 6. – С. 11–14.
- Григорьянц, А. Г. Лазерная сварка металлов: учебное пособие / А. Г. Григорьянц, И. Н. Шиганов. – М.: Высшая школа, 1988. – 207 с. – Текст: непосредственный.
- Григорьянц, А. Г. Технологические процессы лазерной обработки: учебное пособие / А. Г. Григорьянц, И. Н. Шиганов, А. И. Мисюров. – М.: Изд-во МГТУ им. Н. Э. Баумана, 2006. – 664 с. – Текст: непосредственный.
- Gorunov, A. I. Investigation of microstructure and properties of low–carbon steel during ultrasonic-assisted laser welding and cladding / Gorunov, A.I., Nyukhlaev, O.A., Gilmutdinov, A.K. // The International Journal of Advanced Manufacturing Technology. 2018. – V. 99. – N. 9–12. – P. 2467–2479.
- Gilmutdinov, A.K., Investigations of the sound frequency effect on laser acoustic welding of stainless steel/Gilmutdinov, A.K., Gorunov, A.I., Nyukhlaev, O.A., Schmidt, M.//The International Journal of Advanced Manufacturing Technology. – 2020. – V. 106. – P. 3033 – 3043
Supplementary files












