Effect of surface roughness on the strength of sapphire fiber
- Autores: Stryukov D.O.1, Kiiko V.M.1, Kurlov V.N.1
-
Afiliações:
- Institute of Solid State Physics RAS
- Edição: Nº 1 (2024)
- Páginas: 102-108
- Seção: Articles
- URL: https://ogarev-online.ru/1028-0960/article/view/257069
- DOI: https://doi.org/10.31857/S1028096024010148
- EDN: https://elibrary.ru/DGGQSU
- ID: 257069
Citar
Texto integral
Resumo
In this work, sapphire fibers formed using the modified Stepanov/EFG method were tested for strength. A study of the surface of sapphire fibers obtained from the melt shows that the roughness of the fibers arises mainly due to its fluctuation in ascending gas flows during the growth process. The paper investigates the effect of fiber surface roughness on its strength. To reduce the roughness, the fiber diameter stabilization system was used, which enable to reduce the roughness parameters to tens of nanometers. When testing according to the original method, it was found that a decrease in the surface roughness of the fiber leads to an increase in its strength. And the strength of the fibers decreases with length in a power law.
Palavras-chave
Texto integral
ВВЕДЕНИЕ
Необходимый баланс прочности, трещиностойкости и сопротивления ползучести в высокотемпературных композиционных материалах может быть достигнут за счет армирования металлических или керамических матриц монокристаллическими сапфировыми (Al2O3) волокнами [1–3]. Высокая механическая прочность волокон, которые воспринимают основную долю нагрузки в композитах, в сочетании с их стойкостью к термоудару, химической инертностью, высоким сопротивлением ползучести при температурах до 1600°С, структурной стабильностью и сопротивлением окислению при высоких температурах являются наиболее критичными свойствами таких материалов.
Для выращивания сапфировых волокон из расплава был использован метод EFG (edge defined, film-fed growth) [4–6], который основан на концепции формообразования, предложенной А.В. Степановым [7]. Данный метод в групповом варианте имеет ряд преимуществ по сравнению с другими альтернативными способами выращивания волокон сапфира из расплава, такими как метод микровытягивания вниз (µ-PD – micro-pulling-down) [8, 9], бестигельный метод выращивания с пьедестала с использованием лазерного нагрева (LHPG – laser-heated pedestal growth) [10, 11], и метод внутренней кристаллизации (ICM-internal crystallization method) [12, 13].
Сапфировые волокна, полученные методом Степанова/EFG, существенно превосходят по прочности волокна, полученные методом внутренней кристаллизации, а также намного ниже стоимости волокон, выращенных методами LHPG и µ-PD, что существенно препятствует использованию последних для конструкционных применений.
В настоящей работе представлены результаты группового процесса выращивания из расплава высококачественных волокон сапфира модифицированным методом Степанова/EFG со стабилизацией диаметра волокон непосредственно в процессе их выращивания. Также приведены экспериментально полученные зависимости прочности волокон от длины.
ПОЛУЧЕНИЕ И ИСПЫТАНИЯ ВОЛОКОН САПФИРА
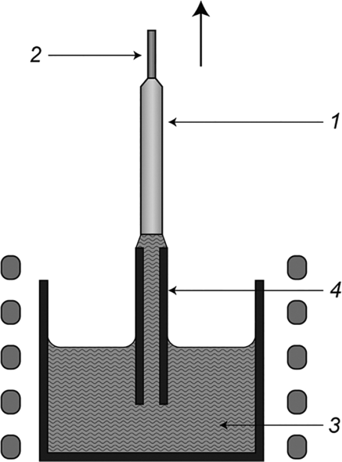
Процесс выращивания сапфировых волокон из расплава модифицированным методом Степанова/EFG проводили в атмосфере аргона (давление в ростовой камере 1.2–1.5 атм) на установках индукционного нагрева “НИКА” и “РУМО-1С”, оснащенных высокочувствительным датчиком веса кристалла, с максимальной длиной выращиваемых кристаллов 0.5 и 1.3 м соответственно. Схема выращивания волокон показана на рис. 1. В качестве шихты использовали бой кристаллов, выращенных методом Вернейля, а оснастка была изготовлена из технически чистого молибдена. Выбор молибдена обусловлен стойкостью к высоким температурам в среде аргона в тепловой зоне и отсутствием химического взаимодействия с расплавом оксида алюминия, а также простотой механической обработки. Выращивание волокон сапфира осуществляли в кристаллографическом направлении [001] вдоль оси волокна, затравку фиксировали на верхнем штоке ростовой установки с помощью специально разработанных затравкодержателей.
Рис. 1. Схема выращивания сапфирового волокна методом Степанова/EFG: 1– кристалл; 2 – затравка; 3 – расплав; 4 – формообразователь.
Выращивание волокон групповым методом [14] с использованием кругового или линейного расположения капилляров формообразователей (рис. 2) позволяет существенно повысить производительность метода и обеспечить реальное использование их в качестве армирующей компоненты в конструкционных композитных материалах.
Рис. 2. Выращивание волокон групповым способом: а – с круговым расположением капиллярных каналов формообразователя: 1 – затравочный кристалл, 2 – волокна; б – с линейным расположением каналов.
Выращивание волокон методом Степанова/EFG может сопровождаться образованием как объемных, так и поверхностных дефектов, которые оказывают влияние на механические и оптические характеристики сапфировых волокон. Дефекты в виде газовых включений размером 1–5 мкм (рис. 3) образуются в результате захвата кристаллом выделяющихся из расплава растворенных газов и концентрируются в основном в приповерхностном слое волокна. Их размеры и количество, прежде всего, зависят от скорости вытягивания волокон. Относительно большие скорости сопровождаются увеличением высоты столба расплава над рабочей кромкой формообразователя, что приводит к снижению температурного градиента в расплаве и увеличению переохлаждения в объеме мениска расплава. Переохлаждение (в первую очередь – концентрационное), возникающее при высоких скоростях выращивания, ведет к морфологической неустойчивости положения фронта кристаллизации и массовому захвату газовых включений, снижающих прочность волокон. При уменьшении скорости вытягивания количество газовых включений снижается.
Рис. 3. Сапфировые волокна диаметром 200 мкм, выращенные со скоростью вытягивания 300 (а) и 125 мм/ч (б).
Наиболее существенное влияние на прочность волокон оказывает наличие поверхностных дефектов, которые в первую очередь определяются шероховатостью поверхности [15]. При выращивании сапфировых волокон методом Степанова/EFG одним из главных факторов, влияющих на поверхностные качества волокна, является стабильность мениска расплава. Малый диаметр и объем мениска расплава под фронтом кристаллизации приводит к колебаниям сапфирового волокна в процессе его выращивания в восходящем газовом потоке тепловой зоны. Колебание волокна, находящегося в зацеплении с мениском расплава, возникает на длине 200–300 мм (чем меньше диаметр волокна, тем раньше возникает колебание) и при дальнейшем выращивании амплитуда колебания увеличивается, что приводит к изменению поперечного сечения и шероховатости поверхности волокна (рис. 4) и, как следствие, существенному снижению его прочности.
Рис. 4. Сапфировое волокно, выращенное без использования системы стабилизации диаметра.
Для снижения шероховатости разработана система стабилизации диаметра волокон в процессе их выращивания. Принцип работы системы стабилизации волокна состоит в принудительном контакте выращиваемых волокон с двумя сапфировыми валками, расположенными на высоте 20–50 мм от рабочего торца формообразователя (рис. 5а). Волокна пропускают между сапфировыми валками диаметром 4–7 мм, которые могут свободно перемещаться в желобе молибденовой подставки и за счет своего веса несколько зажимают волокна между собой, что обеспечивает возможность беспрепятственного прохождения волокон между валками и предотвращение их колебания (и, как следствие, изменение поперечного сечения и шероховатости) в зоне контакта с мениском расплава на рабочем конце формообразователя. Сапфировые валики выступают здесь в качестве демпфера точки фиксации волокон, что существенно снижает амплитуду их колебаний и, как следствие, повышает качество поверхности сапфировых волокон (рис. 5б) [16].
Рис. 5. Принцип работы системы стабилизации диаметра волокна (а) и волокно, выращенное с использованием данной системы (б).
На рис. 6 показан двумерный профиль выращиваемых волокон с использованием системы стабилизации волокна. Параметры шероховатости поверхности волокон определяли на стилусном профилометре Taylor Hobson Talystep. В связи со сложностью формы были подобраны режимы скорости, длины пути, а также методы анализа данных. При построении профиля учитывали цилиндрическую поверхность измеряемого образца, и все значения указаны к эквивалентной плоской поверхности. Сумма высоты наибольшего выступа и глубины наибольшей впадины Pt рельефа поверхности такого волокна, выращенного с использованием системы стабилизации его диаметра, составило 29.6 нм. Параметры шероховатости волокна, выращенного с использованием системы стабилизации волокна, уменьшились почти на 3 порядка по сравнению с волокном, полученным без использования этой системы.
Рис. 6. Шероховатость поверхности сапфировых волокон, выращенных в обычном режиме (а) и с использованием системы стабилизации диаметра (б). Pt – сумма высоты наибольшего выступа и глубины наибольшей впадины рельефа поверхности.
Прочность волокон при изгибе при комнатной температуре определяли посредством наматывания волокон на серию жестких круговых цилиндров последовательно от максимального до минимального диаметра, как описано в [17]. В результате намотки происходят изломы волокон. На каждом шаге с учетом диаметров волокон и цилиндров подсчитывают максимальную деформацию, возникающую в волокне при разрушении, и среднее расстояние между изломами вдоль волокна. В результате получается зависимость деформации при разрушении волокна от его длины. Поскольку деформационное поведение материала волокон сапфира линейно вплоть до разрушения, умножением значения деформации при разрушении на величину модуля Юнга материала волокна получаем зависимость прочности волокна от его длины. Величина модуля Юнга для сапфира была принята равной 400 ГПа. На рис. 7 показаны результаты таких испытаний. Прочность волокон убывает в степенной зависимости от их длины. Прочность волокон соответствует мировому уровню [18–20]. В приведенном диапазоне диаметров волокон наблюдается тренд увеличения прочности с ростом диаметров, факт, который требует дополнительных специальных исследований.
Рис. 7. Результаты испытаний партии волокон: зависимости предельной деформации при разрушении и прочности волокон от длины и диаметров поперечного сечения (указано в поле графика) (а); волокно после испытаний (б), стрелками показаны изломы волокон.
На рис. 8 показаны сравнительные результаты испытаний волокон: обычного волокна и волокна, полученного с устройством для стабилизации его диаметра. Использование системы стабилизации существенно снижает наличие грубых поверхностных дефектов, обеспечивая возрастание прочности на длине волокон 100 мм на 1000 МПа.
Рис. 8. Зависимости предельной деформации и прочности волокон от длины обычного волокна (●) и волокна, выращенного с устройством для стабилизации диаметра (○).
ЗАКЛЮЧЕНИЕ
Из расплава оксида алюминия модифицированным методом Степанова/EFG получены и испытаны на прочность волокна сапфира. Использование системы стабилизации диаметра волокон позволило уменьшить шероховатость поверхности на три прядка и, как следствие, существенно увеличить их прочность, что было продемонстрировано результатами испытаний. Установлено, что прочность волокон убывает с длиной в степенной зависимости.
Sobre autores
D. Stryukov
Institute of Solid State Physics RAS
Autor responsável pela correspondência
Email: stryukov@issp.ac.ru
Rússia, 142432, Chernogolovka
V. Kiiko
Institute of Solid State Physics RAS
Email: stryukov@issp.ac.ru
Rússia, 142432, Chernogolovka
V. Kurlov
Institute of Solid State Physics RAS
Email: stryukov@issp.ac.ru
Rússia, 142432, Chernogolovka
Bibliografia
- Handbook of Ceramic Composites / Ed. Bansal N.P. Kluwer Academic Publishers, 2005.
- Metallic Matrix Composites / Ed. Kreider K.G. Academic Press, 1974.
- Tewari S.N., Asthana R., Noebe R.D. // Metallurgical Transactions A. 1993. V. 24. P. 2119. https://doi.org/10.1007/BF02666345
- Chalmers B., LaBelle H.E., Mlavsky A.I. // J.Crystal Growth. 1972. V 13/14. P. 84. https://doi.org/10.1016/0022-0248(72)90067-X
- LaBelle H.E. // J. Crystal Growth. 1980. V. 50. P. 8. https://doi.org/10.1016/0022-0248(80)90226-2
- Kurlov V.N., Rossolenko S.N., Abrosimov N.V., Leb-bou Kh. Shaped Crystal Growth in Crystal Growth Processes Based on Capillarity Czochralski, Floating Zone, Shaping and Crucible Techniques / Ed. Duffar Th. John Wiley & Sons, 2010. P. 277. https://doi.org/10.1002/9781444320237.ch5
- Степанов А.В. Будущее металлообработки. Ленинград: Лениздат, 1963. 131 с.
- Rudolph P., Fukuda T. // Cryst. Res. Technol. 1999. V. 34. P. 3. https://doi.org/10.1002/(SICI)1521-4079(199901) 34:1<3::AID-CRAT3>3.0.CO;2-X
- Fiber Crystal Growth from the Melt / Eds. Fukuda T., Rudolph P., Uda. S. Springer-Verlag, 2004. https://doi.org/10.1007/978-3-662-07214-1
- Feigelson R.S. // J. Crystal Growth. 1986. V. 79. P. 669. https://doi.org/10.1016/0022-0248(86)90535-X
- Merberg G.N., Harrington J.A. // Appl. Optics. 1993. V. 32. P. 3201. https://doi.org/10.1364/AO.32.003201
- Mileiko S.T., Kazmin V.I. // J. Mater. Sci. 1992. V. 27. P. 2165. https://doi.org/10.1007/BF01117932
- Kurlov V.N., Kiiko V.M., Kolchin A.A., Mileiko S.T. // J. Crystal Growth. 1999. V. 204. P. 499. https://doi.org/10.1016/S0022-0248(99)00213-4
- Kurlov V.N., Stryukov D.O., Shikunova I.A. Growth of sapphire and oxide eutectic fibers by the EFG techni-que. // J. Physics: Conf. Series. 2016. V. 673. P. 0120175. https://doi.org/10.1088/1742-6596/673/1/012017
- Магунов А.Н. Лазерная термометрия твердых тел / А. Н. Магунов. – М.: Физматлит, 2001. 224 с.
- Katyba G.M., Zaytsev K.I., Dolganova I.N., Chernomyrdin N.V., Ulitko.V.E., Rossolenko S.N., Shikunova I.A., Kurlov V.N. // Prog. Crystal Growth Characterization Mater. 2021. V. 61. P. 100523. https://doi.org/10.1016/j.pcrysgrow.2021.100523
- Kiiko V.M., Mileiko S.T. // Composites Sci. Technol. 1999. V. 59. № 13. Р. 1977. https://doi.org/10.1016/S0266-3538(99)00054-8
- Single Crystal Sapphire Optical Fiber (2023) Photran LLC. https://www.photran.com
- Crystal fiber pioneers (2023) MicroMaterials Inc., Tampa, FL, U.S.A. http://www.micromaterialsinc.com/
- High Power Laser Gain Module Taranis for Short Pulses Lasers (2023) Fibercryst, France. https://www.fibercryst.com/
Arquivos suplementares









