Использование специальных устройств для рентгеноинтерферометрического исследования структурных несовершенств в монокристаллах
- Авторы: Дрмеян Г.Р.1,2, Василян М.С.1
-
Учреждения:
- Институт прикладных проблем физики Национальной академии наук Республики Армения
- Ширакский государственный университет им. М. Налбандяна
- Выпуск: № 9 (2023)
- Страницы: 96-102
- Раздел: Статьи
- URL: https://ogarev-online.ru/1028-0960/article/view/137818
- DOI: https://doi.org/10.31857/S1028096023090030
- EDN: https://elibrary.ru/ZLSYPX
- ID: 137818
Цитировать
Полный текст
Аннотация
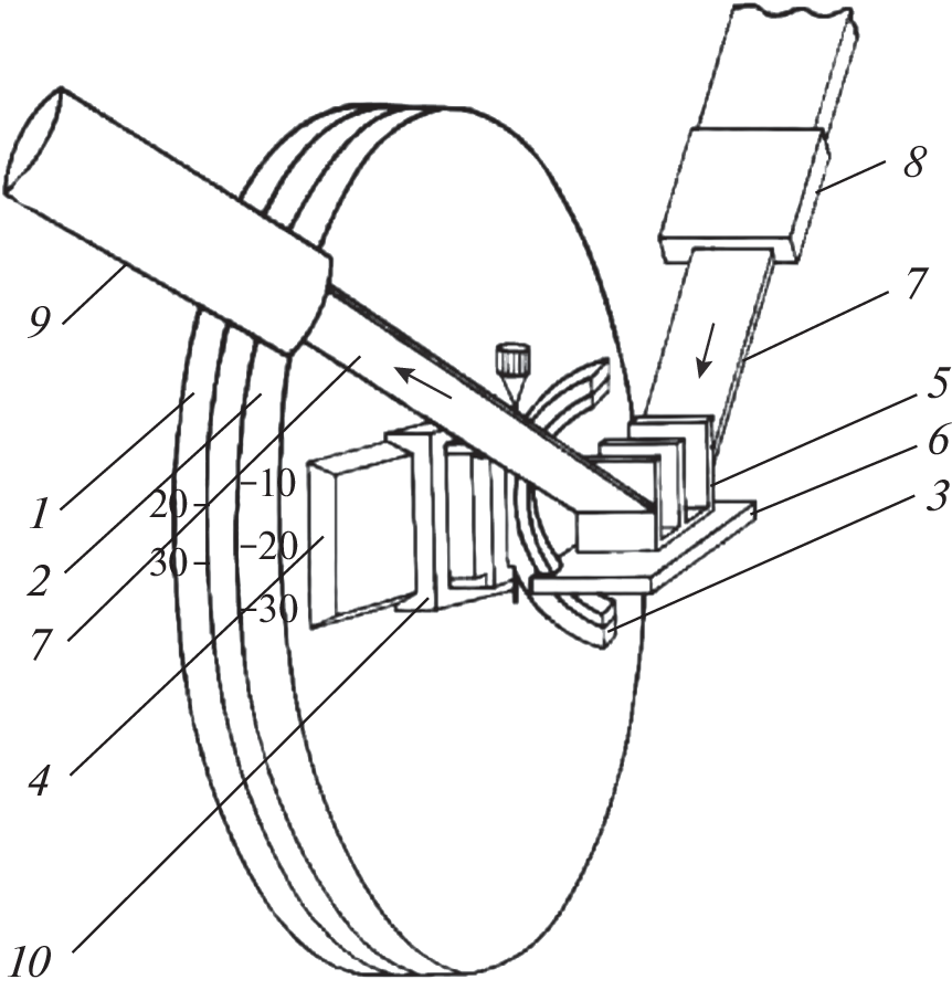
Разработано, изготовлено и протестировано универсальное устройство для рентгеноинтерферометрического исследования структурных несовершенств в монокристаллах. Устройство может служить как для нанесения царапин на поверхности кристаллического блока интерферометра, так и для его изгиба. Предложена также технология для генерации дислокации в блоке интерферометра. Экспериментально доказано, что муаровые топографические картины, полученные с помощью двукратного рентгеновского интерферометра, зависят от ориентации отражающих плоскостей относительно дефекта (дислокации). Показано, что кратные интерферометры позволяют одновременно наблюдать изображения различных структурных несовершенств. Полученные результаты дают возможность судить о пространственной ориентации дефектов и распределении полей напряжений, вызванных этими дефектами, т.е. поля напряжений можно визуализировать в виде муаровых картин рентгеновских лучей. Результаты, полученные в работе, могут положить основу для решения обратной задачи, а именно восстановления полей механических напряжений в кристаллических блоках интерферометра с помощью расшифровки муаровых картин.
Об авторах
Г. Р. Дрмеян
Институт прикладных проблем физики Национальной академии наук Республики Армения; Ширакский государственный университет им. М. Налбандяна
Автор, ответственный за переписку.
Email: drm-henrik@mail.ru
Республика Армения, 0014, Ереван; Республика Армения, 3126, область Ширак, Гюмри
М. С. Василян
Институт прикладных проблем физики Национальной академии наук Республики Армения
Email: drm-henrik@mail.ru
Республика Армения, 0014, Ереван
Список литературы
- Lang A.R., Miuscov V.F. // Appl. Phys. Let. 1965. V. 7. Iss. 8. P. 214. https://doi.org/10.1063/1.1754384
- Lider V.V. // Usp. Phys. Sciences. 2014. V. 57. Iss. 11. P. 1099. https://doi.org/10.3367/UFNe.0184.201411e.1217
- Bonse U., Hart M. // Z. Phys. 1966. B. 190. № 4. S. 455. https://doi.org/10.1007/BF01327264
- Hart M. // Brit. J. Appl. Phys. (J. Phys. D). 1968. V. 1. Iss. 11. P. 1405. https://DOI.org/10.1088/0022–3727/1/11/303
- Drmeyan H.R. // Acta Crystallogr. A. 2004. V. 60. P. 521. https://doi.org/10.1107/S0108767304016502
- Hart M. // Phylos. Mag. (Abingdon) 1972. V. 26. Iss. 4. P. 821. https://doi.org/10.1080/14786437208226958
- Bonse U., Creff W., Materlik G. // Rev. Phys. Appl. (Paris). 1976. V. 11. № 1. P. 83. https://doi.org/10.1051/rphysap:0197600110108300
- Fezzaa K., Lee W-K. J. // J. Appl. Crystallogr. 2001. V. 34. Iss. 2. P. 166. https://doi.org/10.1107/S0021889801002072
- Drmeyan H.R., Mkhitaryan S.A. // Explor. Mater. Sci. Res. 2022. V. 3. Iss. 2. P. 124. https://doi.org/10.47204/EMSR.3.2.2022.124-129
- Azaroff L.V., Kaplow R., Kato N., Weiss R.J., Wilson A.J.C., Young R.A. // International Series in Pure and Applied Physics (1st Edition), N.Y.: McGraw–Hill Inc., 1974. P. 736.
- Ohler M., Hartwig J. // Acta Crystallogr. A. 1999. V. 55. P. 413. https://doi.org/10.1107/s0108767398010514
- Authier A. Dynamical Theory of X-ray Diffraction. Oxford: Oxford Univ. Press, 2001. 680 p. https://cds.cern.ch/record/1447864/files/9780198528920_ TOC.pdf
- Creagh D.C., Hart M. // Phys. Status Sol. 1970. V. 37. Iss. 2. P. 753. https://doi.org/10.1002/pssb.19700370226
- Christiansen G., Gerward L., Andersen L.A. // J. Appl. Crystallogr. 1971. V. 4. Iss. 5. P. 370. https://doi.org/10.1107/S0021889871007222
- Yoneyama A., Momose A., Seya E., Hirano K., Takeda T., Itaia Y. // Rev. Sci. Instrum. 1999. V. 70. V. 12. P. 4582. https://doi.org/10.1063/1.1150116
- Drmeyan H.R. // J. Surf. Invest: X-Ray, Synchrotron Neutron Tech. 2015. V. 9. Iss. 2. P. 336. https://doi.org/10.1134/S1027451015010292
- Eyramjyan T.H., Mesropyan M.H., Mnatsakanyan T.S., Balyan M.K. // Acta Crystallogr. A. 2020. V. 76. P. 390. https://doi.org/10.1107/S2053273320002314
- Aboyan A.O., Khzardzhyan A.A., Bezirganyan P.H., Bezirganyan S.E. // Phys. Status Sol. A. 1990. V. 118. Iss. 1. P. 11. https://doi.org/10.1002/pssa.2211180102
- Gerward L. // Z. Physik. 1973. B. 259. S. 313. https://doi.org/10.1007/BF01395937
- Chen W.M., McNally P.J., Shvyd’ko Y.V., Tuomi T., Danilewsky A.N., Lerche M. // J. Cryst. Growth. 2003. V. 252. Iss. 1–3. P. 113.
- Yoshimura J. // Acta Crystallogr. A. 2015. V. 71. P. 368. https://doi.org/10.1107/S2053273315004970
- Drmeyan H.R. // J. Surf. Invest.: X-Ray, Synchrotron Neutron Techn. 2020. V. 14. Iss. 6. P. 1270. https://doi.org/10.1134/S1027451020060282
- Blagov A.E., Kocharyan V.R., Eliovich Ya.A., Targonsky A.V., Movsisyan A.E., Korzhov V.A., Shahverdyan A.V., Mkrtchyan A.H., Kovalchuk M.V. // J. Contemporary Phys. (Armenian Academy of Sciences). 2022. V. 57. Iss. 2. P. 192. https://doi.org/10.3103/S1068337222020086
- X-Ray Technology. Handbook. Book 2 / Ed. Klyuev V.V. M.: Mashinostroenie, 1992. 368 p. https://www.studmed.ru/klyuev–v–v–red–rentgenotehnika–spravochnik–v–2–h–kn–kn–2_01441d20f04.html
Дополнительные файлы








