Pефрижератор 3Нe на основе охлаждения криокулером замкнутого цикла
- Авторы: Черников А.Н.1
-
Учреждения:
- Joint Institute for Nuclear Research
- Выпуск: № 4 (2023)
- Страницы: 77-82
- Раздел: Статьи
- URL: https://ogarev-online.ru/1028-0960/article/view/137742
- DOI: https://doi.org/10.31857/S1028096023040040
- EDN: https://elibrary.ru/KBSFHP
- ID: 137742
Цитировать
Полный текст
Аннотация
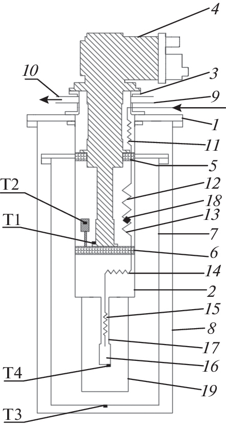
В Лаборатории нейтронной физики Объединенного института ядерных исследований ведутся работы по созданию газовых детекторов нейтронов. Для приготовления рабочей смеси газов необходимо использовать чистый 3Не, который получают путем вымораживания примесей. Для этой цели создан рефрижератор 3He. Рефрижератор также может использоваться для получения низких температур в физическом эксперименте. В настоящей работе исследованы режимы работы рефрижератора. В непрерывном режиме циркуляции 3He получена температура 0.78 К. При откачке паров 3He внешним насосом в разовом режиме охлаждения достигается температура 0.52 К. В работе также изучены релаксационные режимы, в которых в случае предварительно сконденсированного 3He роль насоса выполняет объем контейнера. Приведен режим, в котором температура испарителя релаксирует от 1 до 1.5 К в течение 11 суток.
Ключевые слова
Об авторах
А. Н. Черников
Joint Institute for Nuclear Research
Автор, ответственный за переписку.
Email: chern@nf.jinr.ru
Russia, 141980, Moscow region, Dubna
Список литературы
- Белушкин А.В., Богдзель А.А., Журавлев В.В. и др. // Физика твердого тела. 2010. Т. 52. № 5. С. 961. (Belushkin A.V., Bogdzel’ A.A., Zhuravlev V.V. et al. Phys. Solid State. 2010. V. 52. Р. 1025)https://doi.org/10.1134/S1063783410050306
- Белушкин А.В., Богздель А.А., Буздавин А.П. и др. // Письма в ЭЧАЯ. 2013. Т. 10. № 5. С. 713. (Belushkin A.V., Bogdzel’ A.A., Buzdavin A.P. et al. Phys. Particles Nucl. Lett. 2013. V. 10. Р. 436).https://doi.org/10.1134/S154747711305004X
- Churakov A.V., Belushkin A.V., Bogdzel A.A. et al. // J. Phys. Conf. Ser. 2018. V. 1021. № 1. P. 012021. https://doi.org/10.1088/1742-6596/1021/1/012021
- Черников А.Н., Буздавин А.П., Журавлев В.В., Чол Р.К., Глазков В.П. // Поверхность. Рентген., синхротр. и нейтрон. исслед. 2010. № 11. С. 29. (Chernikov A.N., Buzdavin A.P., Zhuravlev V.V., Ryom Gwang Chol, Glazkov V.P. J. Surf. Invest.: X-ray, Synchrotron Neutron Tech. 2010. V. 4. Р. 898).https://doi.org/10.1134/S1027451010060042
- Chernikov A.N., Buzdavin A.P. // Phys. Part. Nucl. Lett. 2019. V. 16. P. 112. https://doi.org/10.1134/S1547477119020031
- Chernikov A.N., Dobrin I., Kovalenko N., Kulikov S.A., Culicov O., Popovichi I., Enache D., Dobrin A. // J. Phys. Conf. Ser. 2018. V. 1021 № 1. P. 012048 https://doi.org/10.1088/1742-6596/1021/1/012048
- Черников А.Н., Трофимов В.Н. // Приборы и техника эксперимента. 2003. Т. 46. № 4. С. 157. (Trofimov V.N., Chernikov A.N. Instruments and Experimental Techniques. 2003. V.46. № 4. С. 576).https://doi.org/10.1023/A:1025119107332
- Vystavkin A.N., Shitov S.V., Bankov S.E. et al. // Radiophys. Quantum Electronics. 2007. V. 50. № 10. P. 852. https://doi.org/10.1007/s11141-007-0077-x
- Черников А.Н., Трофимов В.Н. // Поверхность. Рентген., синхротр. и нейтрон. исслед. 2014. № 9. С. 108. (Chernikov A.N., Trofimov V.N. // J. Surf. Invest.: X-ray, Synchrotron Neutron Tech. 2014. V. 8. Р. 956).https://doi.org/10.1134/S1027451014040028
- Лоунасмаа О.В. Принципы и методы получения температур ниже 1 К. М.: Мир, 1977. 356 с. (Lounasmaa O.V. Experimental Principles and Methods Below 1 K, Academic Press, London. 1974),
- Патент № 62 691 (РФ). Система охлаждения сканирующего сверхвысоковакуумного туннельного микроскопа / ОИЯИ. Трофимов В.Н., Черников А.Н., Зайцев-Зотов С.В. // Приоритет от 12.06.2006.
- Трофимов В.Н., Черников А.Н., Зайцев-Зотов С.В., Дюжиков И.Н., Шевлюга В.М., Ельцов К.Н. // Приборы и техника эксперимента. 2007. Т. 50. № 6. С. 128. (Trofimov V.N., Chernikov A.N., Zaitsev-Zotov S.V., Dyuzhikov I.N., Shevlyuga V.M., Eltsov K.N. // Instruments and Experimental Techniques. 2007. V. 50. № 6. С. 838).https://doi.org/10.1134/S002044120706022X
Дополнительные файлы










