Influence of the exchange interaction between the magnetic layers of a THz spin-injection emitter on its operation efficiency
- Authors: Chigarev S.G.1, Byshevski-Konopko O.A.1
-
Affiliations:
- Kotel’nikov Institute of Radio Engineering and Electronics of the Russian Academy of Sciences, Fryazino Branch
- Issue: Vol 87, No 10 (2023)
- Pages: 1499-1502
- Section: Articles
- URL: https://ogarev-online.ru/0367-6765/article/view/141850
- DOI: https://doi.org/10.31857/S0367676523702617
- EDN: https://elibrary.ru/ZVRPVB
- ID: 141850
Cite item
Full Text
Abstract
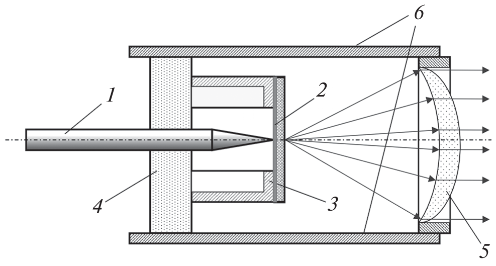
The effect of a 5 nm thick non-magnetic electrically conductive Mo layer placed between the magnetic layers Fe and Fe3O4 of the “rod–film” type spin emitter structure on the efficiency of its operation was investigated experimentally. The possibility of increasing the radiation power by more than 2 times was established. It is found that the Mo layer also affects the resistance of the structures, increasing it. The influence of the Mo layer on resistance is qualitatively substantiated due to the appearance of a contact potential difference between the layers of the structure different from the contact potential difference between the two metals.
About the authors
S. G. Chigarev
Kotel’nikov Institute of Radio Engineering and Electronics of the Russian Academy of Sciences, Fryazino Branch
Author for correspondence.
Email: chig50@mail.ru
Russia, 141190, Fryazino
O. A. Byshevski-Konopko
Kotel’nikov Institute of Radio Engineering and Electronics of the Russian Academy of Sciences, Fryazino Branch
Email: chig50@mail.ru
Russia, 141190, Fryazino
References
- Fert A., George J.-M., Jaffrès H., Mattana R., Seneor P. // Europhys. News. 2003. V. 34. No. 6. P. 227.
- Zutic I., Fabian J., Das Sarma S. // Rev. Mod. Phys. 2004. V. 76. No. 2. P. 323.
- Maekawa S. Concepts in spin electronics. N.Y.: Oxford University Press, 2006, 416 p.
- Grunberg P.A. // Rev. Mod. Phys. 2008. V. 80. No. 4. P. 1531.
- Гуляев Ю.В., Зильберман П.Е., Панас А.И., Эпштейн Э.М. // УФН. 2009. Т. 179. № 4. С. 359; Gulyaev Yu.V., Zilberman P.E., Panas A.I., Epshtein E.M. // Phys. Usp. 2009. V. 52. No. 4. P. 335.
- Звездин А.К., Звездин К.А., Хвальковский А.В. // УФН. 2008. Т. 178. № 4. С. 436; Zvezdin A.K., Zvezdin K.A., Khvalkovskiy A.V. // Phys. Usp. 2008. V. 51. No. 4. P. 412.
- Zhou X., Ma L., Shi Z., Fan W.J. et al. // Phys. Rev. B. 2015. V. 92. No. 6. Art. No. 060402.
- Lau Y.C., Betto D., Rode K. et al. // Nature Nanotech. 2016. V. 11. P. 758.
- Walowski J., Münzenberg M. // J. Appl. Phys. 2016. V. 120. No. 14. Art. No. 140901.
- Fernandez-Pacheco A., Streubel R., Fruchart O. et al. // Nature Commun. 2017. V. 8. Art. No. 15756.
- Dhillon S.S., Vitiell M.S., Linfield E.H. et al. // J. Physics D. 2017. V. 50. Art. No. 363001.
- Гуляев Ю.В., Зильберман П.Е., Эпштейн Э.М., Элиот Р.Д. // Радиотехн. и электрон. 2003. Т. 48. № 9. С. 1030; Gulyaev Yu.V., Zil’berman P.E., Epshtein E.M., Elliott R.J. // J. Commun. Technol. Electron. 2003. V. 48. No. 9. P. 942.
- Kadigrobov A., Ivanov Z., Claeson T. et al. // Europhys. Lett. 2004. V. 67. No. 6. P. 948.
- Гуляев Ю.В., Зильберман П.Е., Панас А.И., Эпштейн Э.М. // Письма в ЖЭТФ. 2007. Т. 86. № 5. С. 381; Gulyaev Y.V., Zil’berman P.E., Panas A.I. Epshtein E.M. // JETP Lett. V. 86. No. 5. P. 328.
- Гуляев Ю.В., Зильберман П.Е., Панас А.И. и др. Патент РФ № 2464683. Твердотельный источник электромагнитного излучения, кл. H01S 3/16. 2012.
- Вилков Е.А., Чигарев С.Г., Маликов И.В. и др. Патент РФ № 2617732. Твердотельный источник электромагнитного излучения, кл. H01S 3/16. 2017.
- Вилков Е.А., Гуляев Ю.В., Зильберман П.Е. и др. Твердотельный источник электромагнитного излучения. Патент РФ № 2688096, кл. H01S 3/16, H01S 1/02, H01L 23/00. 2019.
- Шаталов А.С., Загорский Д.Л., Чигарев С.Г., Дюжиков И.Н. Твердотельный источник электромагнитного излучения и способ его изготовления. Патент РФ № 2715892, кл. H01S 3/16. 2020.
- Гуляев Ю.В., Зильберман П.Е., Маликов И.В. и др. // Радиотехн. и электрон. 2012. Т. 57. № 3. С. 359; Gulyaev Yu.V., Zil’berman P.E., Malikov I.V. et al. // J. Commun. Technol. Electron. 2012. V. 57. No. 3. P. 329.
- Зильберман П.Е., Маликов И.В., Михайлов Г.М. и др. // Изв. РАН. Сер. физ. 2014. Т. 78. № 2. С. 197; Zilberman P.E., Malikov I.V., Mikhailov G.M. et al. // Bull. Russ. Acad. Sci. Phys. 2014. V. 78. No. 2. P. 128.
- Вонсовский С.В. Магнетизм. М.: Наука, 1971. 1032 с.
- Гуляев Ю.В., Зильберман П.Е., Чигарев С.Г. // Радиотехн. и электрон. 2015. Т. 60. № 5. С. 441; Gulyaev Yu.V., Zil’berman P.E., Chigarev S.G. // J. Commun. Technol. Electron. 2015. V. 60. No. 5. P. 411.
Supplementary files





