Probe Measurements in Tubular Plasma Source for Plasma Relativistic Microwave Amplifier
- Authors: Ponomarev A.V.1, Ul’yanov D.K.1
-
Affiliations:
- Prokhorov General Physics Institute, Russian Academy of Sciences
- Issue: Vol 49, No 6 (2023)
- Pages: 576-581
- Section: PLASMA DIAGNOSTICS
- URL: https://ogarev-online.ru/0367-2921/article/view/139565
- DOI: https://doi.org/10.31857/S0367292122601485
- EDN: https://elibrary.ru/WXNAGB
- ID: 139565
Cite item
Full Text
Abstract
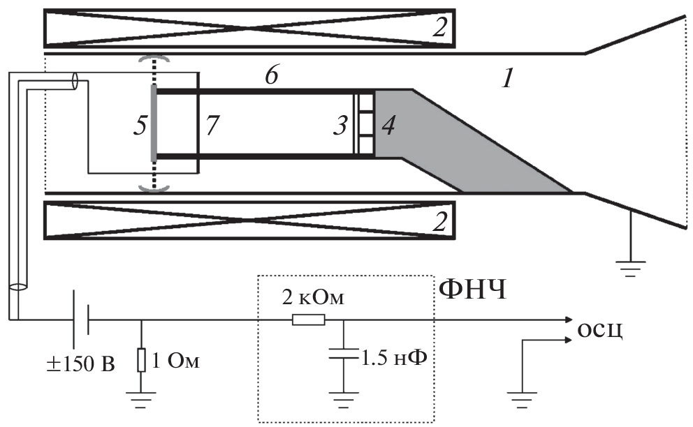
The results are presented from the probe measurements of plasma parameters in the tubular plasma source used in research on plasma relativistic microwave electronics. Tubular plasma is produced as a result of background gas ionization by the electron beam emitted by the annular heated tungsten cathode in the axial magnetic field. The current–voltage characteristics of the probe were obtained for three discharge currents of 5, 9, and 20 A at three plasma column lengths of 10, 20, and 30 cm. It was shown that for all discharge currents and for all plasma column lengths, the electron temperature is equal to 20 eV at the time of performing measurements. It is also shown that in this source, the plasma density does not depend on the plasma column length in the lengths range from 10 to 30 cm. It was demonstrated that the discharge current is a linear function of the probe current, which makes it possible to control the relative changes in the plasma density during the experiment. For different discharge currents, the absolute value of plasma density was estimated to be in the range of 1012–1013 cm–3.
About the authors
A. V. Ponomarev
Prokhorov General Physics Institute, Russian Academy of Sciences
Email: aponomarev68@gmail.com
119991, Moscow, Russia
D. K. Ul’yanov
Prokhorov General Physics Institute, Russian Academy of Sciences
Author for correspondence.
Email: ulyanov@fpl.gpi.ru
119991, Moscow, Russia
References
- Кузелев М.В., Мухаметзянов Ф.Х., Рабинович М.С., Рухадзе А.А., Стрелков П.С., Шкварунец А.Г. // ЖЭТФ. 1982. Т. 83. С. 1358.
- Стрелков П.С., Ульянов Д.К. // Физика плазмы. 2000. Т. 26. С. 329.
- Лоза О.Т., Ульянов Д.К., Баранов Р.В. // ЖТФ. 2011. Т. 81. С. 98.
- Ульянов Д.К., Баранов Р.В., Лоза О.Т., Ернылева С.Е., Богданкевич И.Л. // ЖТФ. 2013. Т. 83. C. 113.
- Богданкевич И.Л., Иванов И.Е., Лоза О.Т., Ру-хадзе А.А., Стрелков П.С., Тараканов В.П., Улья-нов Д.К. // Физика плазмы. 2002. Т. 28. С. 748.
- Лоза О.Т., Ульянов Д.К., Стрелков П.С., Иванов И.Е., Баранов Р.В. // Кр. сообщения по физике. ФИАН. 2011. Т. 38. С. 47.
- Пономарев А.В., Стрелков П.С., Шкварунец А.Г. // Физика плазмы. 2000. Т. 26. С. 633.
- Пономарев А.В., Стрелков П.С. // Физика плазмы. 2004. Т. 30. С. 66.
- Стрелков П.С., Иванов И.Е., Диас Михайлова Е.Д., Шумейко Д.В. // Физика плазмы. 2021. Т. 47. С. 257.
- Стрелков П.С., Иванов И.Е., Шумейко Д.В. // Физика плазмы. 2016. Т. 42 (7). С. 644.https://doi.org/10.7868/S0367292116070106
- Стрелков П.С., Тараканов В.П., Диас Михайлова Д.Е., Иванов И.Е., Шумейко Д.В. // Физика плазмы. 2019. Т. 45. С. 335.
- Лоза О.Т., Пономарев А.В., Стрелков П.С., Улья-нов Д.К., Шкварунец А.Г. // Физика плазмы. 1997. Т. 23. С. 222.
- Buleyko A.B., Ponomarev A.V., Loza O.T., Ulyanov D.K., Sharypov K.A.,Shunailov S.A., Yalandin M.I. // Phys. Plasmas. 2021. V. 28. P. 023304. https://doi.org/10.1063/5.0031432
- Чен Ф. // Диагностика плазмы / Ред. Р. Хаддлстоун, С. Леонард. М.: Мир, 1967.
- Козлов О.В. Электрический зонд в плазме. М.: Атомиздат, 1969.
- Богданкевич И.Л., Гришин Д.М., Гунин А.В., Ива-нов И.Е., Коровин С.Д., Лоза О.Т., Месяц Г.А., Павлов Д.А., Ростов В.В., Стрелков П.С., Ульянов Д.К. // Физика плазмы. 2008. Т. 34. С. 926. https://doi.org/10.1134/S1063780X08100061
Supplementary files












