Microwave Plasma Imitation Experiments on Deposition of Lunar Dust on Metal Plates
- Authors: Skvortsova N.N.1, Voronova E.V.1, Akmadullina N.S.1,2, Gusein-zade N.G.1, Konchekov E.M.1, Kolik L.V.1, Kachmar V.V.1, Malakhov D.V.1, Sorokin A.A.3, Borzosekov V.D.1, Stepakhin V.D.1, Shishilov O.N.1,4
-
Affiliations:
- Prokhorov General Physics Institute, Russian Academy of Sciences
- Baikov Institute of Metallurgy, Russian Academy of Sciences
- Institute of Applied Physics, Russian Academy of Sciences
- Russian Technological University (MIREA)
- Issue: Vol 49, No 1 (2023)
- Pages: 75-84
- Section: ПЫЛЕВАЯ ПЛАЗМА
- URL: https://ogarev-online.ru/0367-2921/article/view/139537
- DOI: https://doi.org/10.31857/S0367292122601394
- EDN: https://elibrary.ru/BHXXKM
- ID: 139537
Cite item
Full Text
Abstract
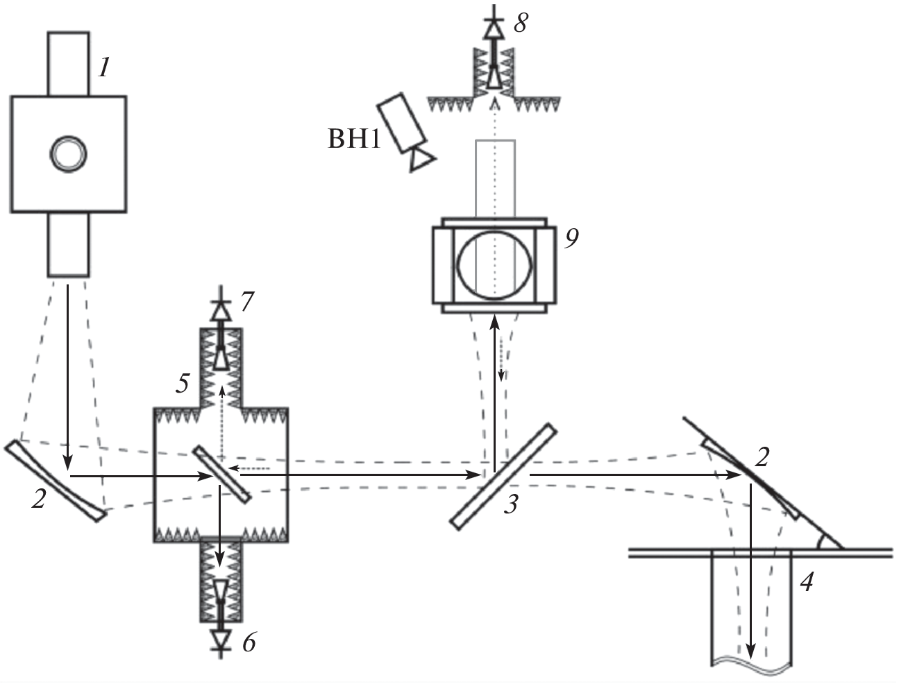
Experimental results are presented on deposition of charged particles that imitate the levitating dust of regolith (dusty plasma) on the Moon on metal plates. The experiment was based on the analogy between the physical–chemical properties of the processes that develop in regolith during microwave discharge excited by the radiation of a powerful gyrotron in the powder of regolith (lunar dust) and the processes that occur on the Moon during the bombardment of its surface by micrometeorites. The action is studied of the levitating dust cloud on plates made from molybdenum and tantalum with a size of 10 × 40 mm. The results are compared with the experiment on deposition of lunar dust on plates from stainless steel. It is shown that dust particles in the shape of spheroids of different sizes are deposited on the plates. The size distribution of these particles and their chemical composition are those of lunar regolith. It is found that the uniformity of dust deposition can be controlled by preliminary processing of the metal plates by the low-temperature plasma of a direct piezodischarge. It is shown that the levitating dust obtained under laboratory conditions (ensembles of charged regolith particles) can be used in imitation experiments on surface modification of different materials and in the development of methods for cleaning the space equipment during Moon missions.
About the authors
N. N. Skvortsova
Prokhorov General Physics Institute, Russian Academy of Sciences
Email: lhdlhd81@mail.ru
119991, Moscow, Russia
E. V. Voronova
Prokhorov General Physics Institute, Russian Academy of Sciences
Email: mukudori@mail.ru
119991, Moscow, Russia
N. S. Akmadullina
Prokhorov General Physics Institute, Russian Academy of Sciences; Baikov Institute of Metallurgy, Russian Academy of Sciences
Email: mukudori@mail.ru
119991, Moscow, Russia; 117334, Moscow, Russia
N. G. Gusein-zade
Prokhorov General Physics Institute, Russian Academy of Sciences
Email: mukudori@mail.ru
119991, Moscow, Russia
E. M. Konchekov
Prokhorov General Physics Institute, Russian Academy of Sciences
Email: mukudori@mail.ru
119991, Moscow, Russia
L. V. Kolik
Prokhorov General Physics Institute, Russian Academy of Sciences
Email: mukudori@mail.ru
119991, Moscow, Russia
V. V. Kachmar
Prokhorov General Physics Institute, Russian Academy of Sciences
Email: mukudori@mail.ru
119991, Moscow, Russia
D. V. Malakhov
Prokhorov General Physics Institute, Russian Academy of Sciences
Email: mukudori@mail.ru
119991, Moscow, Russia
A. A. Sorokin
Institute of Applied Physics, Russian Academy of Sciences
Email: mukudori@mail.ru
603950, Nizhny Novgorod, Russia
V. D. Borzosekov
Prokhorov General Physics Institute, Russian Academy of Sciences
Email: mukudori@mail.ru
119991, Moscow, Russia
V. D. Stepakhin
Prokhorov General Physics Institute, Russian Academy of Sciences
Email: mukudori@mail.ru
119991, Moscow, Russia
O. N. Shishilov
Prokhorov General Physics Institute, Russian Academy of Sciences; Russian Technological University (MIREA)
Author for correspondence.
Email: mukudori@mail.ru
119991, Moscow, Russia; 117454, Moscow, Russia
References
- год. “Луноход-2” начал работу на Луне [Электронный ресурс] / Роскосмос. Режим доступа: https://www.roscosmos.ru/24543/ (дата обращения 06.06.2022)
- Rennilson J.J., Criswell D.R. Surveyor Observations of Lunar Horizon-Glow. Moon 1974, 10, 121.
- Berg O.E., Wolf H., Rhee J. Lunar Soil Movement Registered by the Apollo 17 Cosmic Dust Experiment. In Interplanetary Dust and Zodiacal Light; Elsässer H., Fechting H. / Eds. Lecture Notes in Physics; Springer: Berlin. Heidelberg, Germany, 1976. V. 48. P. 233.
- Зеленый Л.М., Попель С.И., Захаровa А.В. // Физика плазмы. 2020. Т. 46. № 5. С. 441.
- https://www.nasa.gov/mission_pages/apollo/videos (https://www.youtube.com/watch?v=NRqHubCtKmE&t=25s) (дата обращения 09.09.2022).
- Довгань В.Д. Лунная одиссея отечественной космонавтики. Ростов-на-Дону: Изд-во Южного федерального ун-та, 2015. 307 с. https://ours-nature.ru/lib/b/book/807583493/14 (дата обращения 06.06.2022)
- Lee L.-H. // J. Adhes. Sci. Technol. 1995. V. 9. P. 1103.
- Walton O.R. Adhesion of Lunar Dust; Scientific Report of NASA CR-2007-214685; Glenn Research Center: Cleveland, OH, USA, 2007. 48 p. Available online: https://ntrs.nasa.gov/api/citations/20070020448/downloads/20070020448.pdf (accessed on 1 September 2021).
- Захаров А.В., Зеленый Л.М., Попель С.И. Лунная пыль: свойства, потенциальная опасность // Астрономический вестник. 2020. Т. 54. № 6. С. 483.
- Флоренский К.П., Базилевский А.Т., Николаева О.В. Лунный грунт: свойства и аналоги / Институт геохимии и аналитической химии им. В.И. Вернадского. 1975. 50 с.
- Graf J.C. Lunar Soils Grain Size Catalog, Reference Publication 1265, NASA, 1993. https://ntrs.nasa.gov/api/citations/19930012474/downloads/19930012474.pdf (дата обращения 06.06.2022)
- Morris R.V., Score R., Dardano C., Heiken G. Handbook of lunar soils 1983 https://curator.jsc.nasa.gov/lunar/catalogs/other/lunar_soils_catalog.pdf (дата обращения 06.06.2022)
- Слюта Е.Н. // Астрономический вестник. 2014. Т. 48. № 5. С. 358.
- Попель С.И., Голубь А.П., Лисин Е.А. и др. // Письма в ЖЭТФ. 2016. Т. 103. Вып. 9. С. 641.
- Мохов В., Горностаева Т.А., Карташов П.М., Рыбчук А.П., Богатиков О.А. // Доклады академии наук. 2019. Т. 487. № 2. С. 198. https://doi.org/10.31857/S0869-56524872198-202
- Попель С.И., Голубь А.П., Зеленый Л.М., Хораньи М. // Письма в ЖЭТФ. 2017. Т. 105. Вып. 10. С. 594.
- Попель С.И., Голубь А.П., Захаров А.В., Зеле-ный Л.М. // Физика плазмы. 2020. Т. 46. № 3. С. 219.
- Семкин Н.Д., Видманов А.С. // Вестник Самарского гос. аэрокосмического ун-та. 2013. № 2(40). С. 164.
- Сёмкин Н.Д., Калаев М.П., Телегин А.М. // Вестник Самарского государственного аэрокосмического университета. 2011. № 7(31). С. 9–16.
- Семкин Н.Д., Воронов К.Е., Пияков А.В., Пия-ков И.В. // Приборы и техника эксперимента. 2009. № 4. С. 159. http://naukarus.com/imitatsiya-mikrometeoritov-s-pomoschyu-elektrodinamicheskogo-uskoritelya
- Пияков А.В. (RU), Воронов К.Е. (RU), Сухачев К.И. (RU), Видманов А.С. (RU), Семкин Н.Д. (RU) Патент RU 2532688 “Инжектор заряженных пылевых частиц” подача заявки: 2013-05-07, публикация патента: 10.11.2014. https://findpatent.ru/patent/253/2532688.html
- Скворцова Н.Н., Степахин В.Д., Малахов Д.В., Колик Л.В., Кончеков Е.М., Образцова Е.А., Соколов А.С., Сорокин А.А., Харчев Н.К., Шишилов О.Н. Патент РФ № 2727958. “Способ получения облака заряженных частиц”. Дата подачи заявки 10 июля 2019 г. Дата публикации 28 июля 2020 г. https://findpatent.ru/patent/272/2727958.html
- Skvortsova N.N., Maiorov S.A., Malakhov D.V., Stepakhin V.D., Obraztsova E.A., Kenzhebekova A.I., Shishilov O.N. // JETP Letters. 2019. V. 109. № 7. P. 441. https://doi.org/10.1134/S0021364019070130
- Mouritz M.A. Introduction to Aerospace Materials. Cambridge: Woodhead Publ., 2012. 621 p.
- Skvortsova N.N., Stepakhin V.D., Sorokin A.A., Malakhov D.V., Gusein-zade N.G., Akhmadullina N.S., Borzosekov V.D., Voronova E.V., Shishilov O.N. // Materials 2021. V. 14. 6472. https://doi.org/10.3390/ma14216472
- Batanov G.M., Borzosekov V.D., Golberg D., Iskhako-va L.D., Kolik L.V., Konchekov E.M., Kharchev N.K., Letunov A.A., Malakhov D.V., Milovich F.O., Obraztso-va E.A., Petrov A.E., Ryabikina I.G., Sarksian K.A., Stepakhin V.D., Skvortsova N.N. // J. Nanophoton. 2016. V. 10. 012520.
- Соколов А.С., Малахов Д.В., Скворцова Н.Н. // Инженерная физика. 2018. № 11. С. 3.
- Колик Л.В., Харчев Н.К., Борзосеков В.Д., Малахов Д.В., Кончеков Е.М., Степахин В.Д., Гусейн-заде Н.Г., Богачев Н.Н. Патент RU 181459 U1 Генератор низкотемпературной плазмы. Дата публикации: 16.07.2018.
- Artem’ev K.V., Bogachev N.N., Gusein-zade N.G., Dolmatov T.V., Kolik L.V., Konchekov E.M., Andreev S.E. // Russian Physics Journal. 2020. V. 62. № 11. P. 2073.
- Качмар В.В., Мошкина К.Г., Борзосеков В.Д., Скворцова Н.Н., Сорокин А.А. // Прикладная физика и математика. 2021. № 3. С. 11. https://doi.org/10.25791/pfim.03.2021.1198
- Kachmar V.V., Moshkina K.G., Borzosekov V.D., Soro-kin A.A., Skvortsova N.N. // Journal of Physics: Conference Series.2021. 2036. 012030 https://doi.org/10.1088/1742-6596/2036/1/012030
- Korolev V.Yu., Skvortsova N.N. // 17th International Workshop “Complex Systems of Charged Particles and their Interactions with Electromagnetic Radiation” 2019. P. 32.
- Gorshenin A.K., Korolev V.Yu, Zeifman A.I. // Mathematics 2020. V. 8. 1409. https://doi.org/10.3390/math8091409
- Zakharov A.V., Popel S.I., Zelenyi L.M. // 9th Intern. Conf. Physics Dusty Plasmas (ICPDP 2022). P. 127.
Supplementary files










