On the Issue of Effect of Magnetic Field on Characteristics of Dust Structures in Glow Discharge
- Authors: Karasev V.Y.1, Dzlieva E.S.1, D’yachkov L.G.2, Novikov L.A.3, Pavlov S.I.3
-
Affiliations:
- Saint Petersburg State University
- Joint Institute for High Temperatures, Russian Academy of Sciences
- St. Petersburg State University
- Issue: Vol 49, No 2 (2023)
- Pages: 186-192
- Section: ПЫЛЕВАЯ ПЛАЗМА
- URL: https://ogarev-online.ru/0367-2921/article/view/139530
- DOI: https://doi.org/10.31857/S0367292122601138
- EDN: https://elibrary.ru/NQRMUR
- ID: 139530
Cite item
Full Text
Abstract
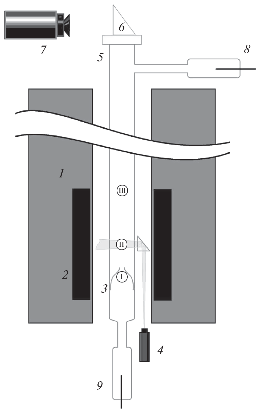
The characteristics are determined of three-dimensional dust structures created in three dust traps formed in glow discharges and compared to each other. The following dust traps turn out to be stable in the applied magnetic field with induction of up to 2 T: the standing stratum, the region of the current channel contraction (inside the special dielectric insert), and the discharge region located in highly inhomogeneous magnetic field. For each of these dust traps, the geometric characteristics of three-dimensional dust structures formed and distinctive features of their rotation dynamics are presented, such as the longitudinal and transverse sizes (with respect to the magnetic induction vector), angular velocities, and their longitudinal gradients. Differences are analyzed in the experimentally obtained characteristics of three-dimensional dust structures formed in glow and RF discharges in the strong magnetic field.
About the authors
V. Yu. Karasev
Saint Petersburg State University
Email: plasmadust@yandex.ru
Russia, 199034, Saint Petersburg
E. S. Dzlieva
Saint Petersburg State University
Email: plasmadust@yandex.ru
Russia, 199034, Saint Petersburg
L. G. D’yachkov
Joint Institute for High Temperatures, Russian Academy of Sciences
Email: plasmadust@yandex.ru
127412, Moscow, Russia
L. A. Novikov
St. Petersburg State University
Email: plasmadust@yandex.ru
199034, St. Petersburg, Russia
S. I. Pavlov
St. Petersburg State University
Author for correspondence.
Email: s.i.pavlov@spbu.ru
199034, St. Petersburg, Russia
References
- Фортов В.Е., Храпак А.Г., Храпак С.А., Молотков В.И., Петров О.Ф. // УФН. 2004. Т. 174. С. 495.
- Цытович В.Н., Морфилл Г.Е., Томас В.Х. // Физика плазмы. 2002. Т. 28. С. 675.
- Игнатов А.М. // Физика плазмы. 2005. Т. 31. С. 52.
- Карасев В.Ю., Дзлиева Е.С., Павлов С.И. Лабораторная пылевая плазма в магнитном поле. СПб.: Свое Издательство, 2016.
- Karasev V.Y., Dzlieva E.S., D'yachkov L.G., Novikov L.A., Pavlov S.I., Tarasov S.A. // Contr. Plasma Phys. 2019. V. 59. P. e201800136.
- Голант В.E., Жилинский A.П., Сахаров И.Е. // Основы физики плазмы. М.: Атомиздат, 1977. 384 c.
- Грановский В.Л. Электрический ток в газе. Установившийся ток. М.: Наука, 1971.
- Kaw P., Nishikawa K., Sato N. // Phys. Plasmas. 2002. V. 9. P. 387.
- Schwabe M., Konopka U., Bandyopadhyay P., Mor-fill G.E. // Phys. Rev. Lett. 2011. V. 106. P. 215004.
- Thomas E.Jr., Lynch B., Konopka U., Merlino R.L., Rosenberg M. // Phys. Plasmas. 2015. V. 22. P. 030701.
- Konopka U., Samsonov D., Ivlev A.V., Goree J., Stein-berg V., Morfill G.E. // Phys. Rev. E. 2000. V. 61. P. 1890.
- Carstensen J., Greiner F., Hou L.J., Maurer H., Piel A. // Phys. Plasmas. 2009. V. 16. P. 013702.
- Melzer A., Kruger H., Schutt S., Mulsow M. // Phys. Plasmas. 2019. V. 26. P. 093702.
- Sato N. // AIP Conf. Proc. 2002. V. 649. P. 66.
- Choudhary M., Bergert R., Mitich S., Thoma M.H. // Phys. Plasm. 2020. V. 27. P. 063701.
- Dzlieva E.S., D’yachkov L.G., Novikov L.A., Pavlov S.I., Karasev V.Yu. // European Phys. Lett. 2018. V. 123. P. 15001.
- Dzlieva E.S., Dyachkov L.G., Novikov L.A., Pavlov S.I., Karasev V.Yu. // Plasma Sources Sci. Technol. 2019. V. 28. P. 085020.
- Dzlieva E.S., Dyachkov L.G., Novikov L.A., Pavlov S.I., Karasev V.Yu. // Plasma Sources Sci. Technol. 2020. V. 29. P. 085020.
- Dzlieva E.S., Dyachkov L.G., Novikov L.A., Pavlov S.I., Karasev V.Yu. // Molecules. 2021. V. 26. P. 3788.
- Nedospasov A.V. // Phys. Rev. E. 2009. V. 79. P. 036401.
- Vasiliev M.M., D’yachkov L.G., Antipov S.N., Huijink R., Petrov O.F., Fortov V.E. // European Phys. Lett. 2011. V. 93. P. 15001.
- Абдирахманов А.Р., Карасев В.Ю., Дзлиева Е.С., Павлов С.И., Новиков Л.А., Досболаев М.К., Коданова С.К., Рамазанов Т.С. // ТВТ. 2021. Т. 59. С. 657.
- Дзлиева Е.С., Карасев В.Ю., Павлов С.И. // Физ. Плазм. 2016. Т. 42. С. 147.
- Дзлиева Е.С., Ермоленко М.А., Карасев В.Ю. // Физ. Плазм. 2012. Т. 38. С. 591.
- Недоспасов А.В. // УФН. 1968. Т. 94. С. 439.
- Чен Ф. Введение в физику плазмы. М.: Мир, 1987.
- Цитович В.Н., Винтер Дж. // УФН. 1998. Т. 168. С. 899.
Supplementary files






