Excitation of Acoustic Modes by Tone Harmonics of a Hole in a Jet-Driven Helmholtz Oscillator
- Authors: Abdrashitov A.A.1, Marfin E.A.1
-
Affiliations:
- Institute of Energy and Advanced Technologies, FRC Kazan Scientific Center, Russian Academy of Sciences, 420111, Kazan, Russia
- Issue: Vol 69, No 4 (2023)
- Pages: 430-437
- Section: ФИЗИЧЕСКАЯ АКУСТИКА
- URL: https://ogarev-online.ru/0320-7919/article/view/134455
- DOI: https://doi.org/10.31857/S0320791922600329
- EDN: https://elibrary.ru/BYGNTE
- ID: 134455
Cite item
Full Text
Abstract
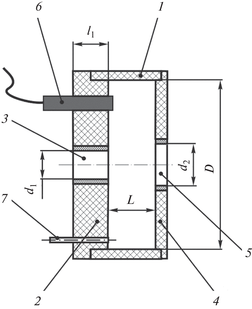
Periodic pressure fluctuations were studied experimentally in the model of a jet-driven Helmholtz oscillator with a cylindrical chamber with a round air jet impinging on the sharp edge of the outlet. The evolution of the amplitude–frequency spectrum of the hole tone from its appearance at a jet velocity of about 2 m/s to excitation of the first acoustic resonance mode at the Helmholtz frequency was studied. The hole tone was a family of harmonics that progressively became more complex as the length and velocity of the jet increased. The successive occurrence of a family of acoustic modes on the harmonics of the jet tone with a further increase in jet velocity is studied. Modes at the Helmholtz frequency arose alternately on the harmonics of the hole tone in the gain band of the oscillator, starting from the highest harmonic. The first mode occurred at the highest harmonic; the second mode, at the previous harmonic; and so on. The final mode arose at the fundamental harmonic of the hole tone and had the maximum amplitude. With a further increase in the Reynolds number, periodic pressure fluctuations became disordered turbulent fluctuations. With a sufficient chamber size and jet velocity, azimuthal and half-wave resonances appeared at the highest harmonic of the hole tone. The largest Reynolds number at which resonance at the Helmholtz frequency was observed was 105.
Keywords
About the authors
A. A. Abdrashitov
Institute of Energy and Advanced Technologies, FRC Kazan Scientific Center, Russian Academy of Sciences, 420111, Kazan, Russia
Email: abdary@mail.ru
Россия, 420111, Казань, Лобачевского ул. 2/31
E. A. Marfin
Institute of Energy and Advanced Technologies, FRC Kazan Scientific Center, Russian Academy of Sciences, 420111, Kazan, Russia
Author for correspondence.
Email: abdary@mail.ru
Россия, 420111, Казань, Лобачевского ул. 2/31
References
- Nyborg W.L., Woodbridge C.L., Schilling H.K. Characteristics of jet-edge-resonator whistles // J. Acoust. Soc. Am. 1953. V. 25. № 1. P. 138–146. https://doi.org/10.1121/1.1906988
- Sami S., Anderson C. Helmholtz oscillator for the self-modulation of a jet // Proc. 7th Int. Symp. on jet cutting technology. BHRA. Cranfield. Bedford. England. 1984. P. 91–98.
- Sami S., Memar H. Self-sustained pressure oscillations in two-dimensional cavity // J. Hydraul. Eng. 1987. V. 113. № 8. P. 1055–1061. https://doi.org/10.1061/(ASCE)0733-9429(1987)113: 8(1055)
- Brackenridge J.B., Nyborg W.L. Acoustical characteristics of oscillating jet-edge systems in water // J. Acoust. Soc. Am. 1957. V. 29. № 4. P. 459–463. https://doi.org/10.1121/1.1908928
- Powell A. On the edgetone // J. Acoust. Soc. of Am. 1961. V. 33. № 4. P. 395–409. https://doi.org/10.1121/1.1908677
- Vaik I., Varga R., Paal G. Frequency and phase characteristics of the edge-tone // Period. Polytech. Mech. Eng. 2014. V. 58. № 1. P. 55–67. https://doi.org/10.3311/PPme.7031
- Khosropour R., Millet P. Excitation of a Helmholtz resonator by an air jet // J. Acoust. Soc. Am. 1990. V. 88. № 3. P. 1211–1221. https://doi.org/10.1121/1.399698
- Panton R.L., Miller J.M. Resonant frequencies of cylindrical Helmholtz resonators // J. Acoust. Soc. of Am. 1975. V. 57. № 6. P. 1533–1535. https://doi.org/10.1121/1.380596
- Блохинцев Д.И. Возбуждение резонаторов потоком воздуха // Журн. технической физики. 1945. Т. 15. С. 63–70.
- Стрэтт Дж.В. (Лорд Рэлей). Теория звука. Т. 2. М.–Л.: ОГИЗ, 1944. 477 с.
- Chan Y.Y. Spatial waves in turbulent jets // Phys. Fluid. 1974. V. 17. № 1. P. 46–53. https://doi.org/10.1063/1.1694612
- Liu J.T.C. Nonlinear development of an instability wave in a turbulent wake // Phys. Fluid. 1971. V. 14. № 11. P. 2251–2257. https://doi.org/10.1063/1.1693325
- Dushin N.S., Mikheev A.N., Mikheev N.I., Molochnikov V.M. Experimental setup for vusualization of pulsating turbulent flows // Instrum. Exp. Tech. 2014. V. 57. № 4. P. 499–502. https://doi.org/10.1134/S0020441214030154
- Krüger F. Teorie der Schneidentöne // Ann. der Phys. 1920. V. 367. № 16. P. 673–690. https://doi.org/10.1002/andp.19203671602
- Anderson A.B.C. A jet-tone orifice number for orifices of small thickness-diameter ratio // J. Acoust. Soc. Am. 1954. V. 26. № 1. P. 21–25. https://doi.org/10.1121/1.1907284
- Morel Th. Experimental study of a jet-driven Helmholtz oscillator // J. Fluid Eng. 1979. V. 101. № 3. P. 383–390. https://doi.org/10.1115/1.3448983
- Schlichting H. Boundary-layer theory. New York: McGraw Hill, 1955. 535 p.
- Abdrashitov A.A., Marfin E.A. Nozzle length effect on the performance of the jet-driven Helmholtz oscillator // Fluid Dyn. 2021. V. 56. № 1. P. 142–151. https://doi.org/10.1134/S0015462821010018
- Абдрашитов А.А., Марфин Е.А., Чачков Д.В. Экспериментальное изучение скважинного акустического излучателя с кольцом в длинной цилиндрической камере // Акуст. журн. 2018. Т. 64. № 2. С. 241–249.
- Абдрашитов А.А., Марфин Е.А., Чачков Д.В., Чефанов В.М. Влияние формы сопла на амплитуду генерации в скважинном акустическом излучателе // Акуст. журн. 2018. Т. 64. № 4. С. 488–498.
- Марфин Е.А., Кравцов Я.И. Выбор оптимальных геометрических параметров излучателя на основе резонатора Гельмгольца // Известия РАН. Энергетика. 2005. № 6. С. 108–113.
- Rossiter J.E. Wind-tunnel experiments on the flow over rectangular cavities at subsonic and transonic speeds. Reports and Memoranda № 3438. London. 1964. 36 p. https://reports.aerade.cranfield.ac.uk/handle/1826.2/4020
- Ziada S., Bolduc M., Lafon P. Flow-excited resonance of diametral acoustic modes in ducted rectangular cavities // AIAA J. 2017. V. 55. № 11. P. 3817–3830. https://doi.org/10.2514/1.J056010
- Bennett G.J., Stephens D.B., Rodrigues Verdugo F. Resonant mode characterisation of a cylindrical Helmholtz cavity excited by a shear layer // J. Acoust. Soc. Am. 2017. V. 141. № 1. P. 7–18.
Supplementary files










