Исследование прочности в условиях равномерной нагруженности комбинированных резьбовых соединений в конструкциях деталей из термопласта с металлической арматурой
- Авторы: Гулиев А.А.1, Гасанова Н.А.1, Ханкишиева Т.У.1
-
Учреждения:
- Азербайджанский государственный университет Нефти и Промышленности
- Выпуск: № 6 (2024)
- Страницы: 63-73
- Раздел: НАДЕЖНОСТЬ, ПРОЧНОСТЬ, ИЗНОСОСТОЙКОСТЬ МАШИН И КОНСТРУКЦИЙ
- URL: https://ogarev-online.ru/0235-7119/article/view/282746
- DOI: https://doi.org/10.31857/S0235711924060074
- EDN: https://elibrary.ru/NOVXUM
- ID: 282746
Цитировать
Аннотация
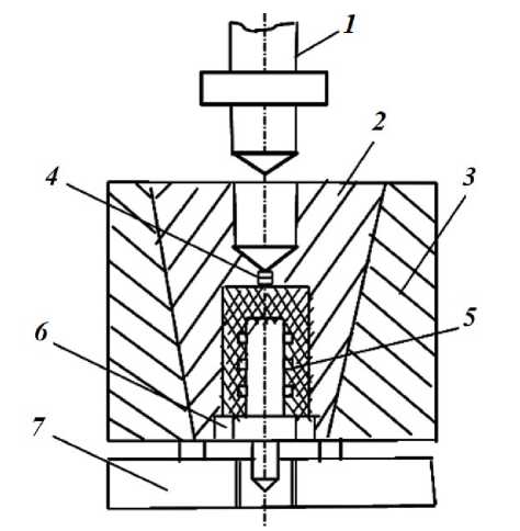
Настоящая статья представлена как исследование комбинированных резьбовых соединений, применяемых в машиностроении и нефтепромысловых объемных гидроприводных устройствах и других областях. На первый план выдвигается вопрос создания комбинированной арматуры методом прессования-литья детали из пластической массы на металлическую арматуру. Установлено, что профиль и шаг резьбы следует выбирать из одного и того же расчета прочности резьбы из металла и термопласта, определяющую роль в расчете играет длина резьбы, являющаяся одним из основных параметров. Величина минимальной толщины стенок выбирается с помощью профилей резьбы. Исследование показало, что предел прочности при срезе термопластичных материалов значительно отличается от предела прочности металлических материалов. Исследована зависимость предела прочности при срезе по длине различных резьбовых соединений от длины металлической арматуры и соответствующей ей толщины. В статье предпринята попытка изучить зависимость прочности на срез комбинированных резьбовых соединений от параметров резьбы детали металлической арматуры, режима соединения термопластического литья с прессованием, диаметра арматуры, толщины стенки термопласта и длины резьбы.
Полный текст
Об авторах
А. А. Гулиев
Азербайджанский государственный университет Нефти и Промышленности
Автор, ответственный за переписку.
Email: haciyevanaila64@gmail.com
Азербайджан, Баку
Н. А. Гасанова
Азербайджанский государственный университет Нефти и Промышленности
Email: haciyevanaila64@gmail.com
Азербайджан, Баку
Т. У. Ханкишиева
Азербайджанский государственный университет Нефти и Промышленности
Email: haciyevanaila64@gmail.com
Азербайджан, Баку
Список литературы
- Керимов Д. А., Курбанова С. К. Основы конструирования пластмассовых деталей и пресс-форм. Баку: Елм, 1997. 504 с.
- Рагимов А. М., Гулиев А. А., Бабаев С. Г. Исследование методов переработки и режимов изготовления изделий электроводных композиционных пластических масс. Баку: АГНА, 2000. 170 с.
- Конструкционные материалы. Справочник / Под ред. Б. Н. Арзамасова. М.: Машиностроение, 1990. 688 с.
- Крыжановский В. К., Бурлов В. В., Паниматченко А. Д., Крыжановская Ю. В. Технические свойства полимерных материалов. СПб.: Профессия, 2005.
- Шульга А. В. Основы материаловедения композиционных материалов. Ч. 1. М.: НИЯУ МИФИ, 2013. 96 с.
- Кербер М. Л. Полимерные композиционные материалы. Структура. Свойства. Технологии СПб.: Профессия, 2008. 560 с.
- Волков С. С., Розанов Д. С., Станкевич И. В. Разработка и исследование основных особенностей соединения пластмасс с металлами // Известия высших учебных заведений. Машиностроение. 2020. № 3. С. 15. https://doi.org/10.18698/0536-1044-2020-3-15-22
- Волков С. С. Сварка и склеивание полимерных материалов. М.: Химия, 2001. 376 с.
- Kerimov D. A., Gasanova N. A. Determination of quality of plastic details without disruptions // 13th Int. Conf. on Theory and Application of Fuzzy Systems and Soft Computing — ICAFS-2018, Advances in Intelligent Systems and Computing (AISC), Warsaw, 2019. V. 896. Р. 848. https://doi.org/10.1007/978-3-030-04164-9_111
- Баранчиков В. И., Тарапанов А. С., Харламов Г. А. Обработка специальных материалов в машиностроении: Справочник. Библиотека технолога. М.: Машиностроение, 2002. 264 с.
- Бабин А. Н. Связующие для полимерных композиционных материалов нового поколения // Труды ВИАМ: электрон. науч.-технич. журн. 2013. № 4. С. 1.
Дополнительные файлы










