О трении эластомеров. 1. Постановка задачи
- Авторы: Шепелевский А.А.1, Неверовская А.Ю.2, Возняковский А.П.2, Седакова Е.Ю.1
-
Учреждения:
- Институт проблем машиноведения РАН
- Научно-исследовательский институт синтетического каучука им. академика С.В. Лебедева
- Выпуск: № 1 (2024)
- Страницы: 70-78
- Раздел: НАДЕЖНОСТЬ, ПРОЧНОСТЬ, ИЗНОСОСТОЙКОСТЬ МАШИН И КОНСТРУКЦИЙ
- URL: https://ogarev-online.ru/0235-7119/article/view/262553
- DOI: https://doi.org/10.31857/S0235711924010087
- EDN: https://elibrary.ru/SMXVTJ
- ID: 262553
Цитировать
Полный текст
Аннотация
Показана неприменимость расчетных методик для трения твердых тел в случае трения скольжения по эластомерам. Показано, что при трении твердого тела по эластомеру отсутствует период приработки, и трение изначально носит стационарный характер. Предложена методика вычисления трибологических характеристик эластомеров.
Ключевые слова
Полный текст
В последние годы в трибологии снова возникла необходимость проведения исследований трения при движении твердого тела по эластомерам. Проводятся достаточно тонкие исследования влияния адгезии на трение качения и скольжения твердого тела по эластомеру при жестком и мягком контакте [1], исследуется динамический отклик эластомера при трении [2] и ряд других вопросов [3, 4], посвященных в основном исследованию физики происходящих процессов в трибозазоре при трении твердого тела по эластомеру.
В то же время для получения систематических триботехнических характеристик трибопроцесса при трении по эластомеру твердых тел требуется совершенно определенная методика. Такие методики разработаны для жестких трибопар, но они неприменимы для трибопар с эластомером. В предлагаемой статье делается попытка ликвидировать этот пробел.
Использование стандартных машин трения типа СМЦ, 2070 СМТ-1, ИИ 5018 и им подобных для измерения трибопараметров твердых (жестких) тел определяет и выбор методики измерений, в процессе которых снимаются размеры пятна трения и проводятся соответствующие расчеты. Примеры методик экспресс-испытаний приведены в [5–7]. Но при трении твердых тел предполагается, что: 1) макроформа исследуемого образца не меняется в пределах ошибки измерений, т. е. деформацией, вызванной давлением одного образца на другой, можно пренебречь; 2) давление на исследуемый образец распределено равномерно по площади трибоконтакта, и его можно вычислить как отношение нагрузки к номинальной площади трибоконтакта, которую можно измерить; 3) даже если жесткость одного из компонентов трибопары (контртело) заметно больше другого, эти положения выполняются.
Именно для случаев такого трибоэксперимента разработаны методики экспресс-измерений параметров трибопроцесса [1–3] и им подобные. Они годятся для металлов, керамик, жестких композитов на основе полимеров, полимеров ниже температуры стеклования Тс, некоторых полимеров и композитов на их основе выше температуры стеклования. Что же касается полимеров, не относящихся к этой категории, наиболее выразительными из которых являются эластомеры, то для них нет методик, аналогичных описываемым в [5–7].
Трибоконтакт в случае трибопар эластомер – твердое тело имеет принципиальные отличия. При давлении жесткого контртела на эластомерный образец номинальная площадь контакта контртел определяется не пятном износа, как в случае жестких тел, а деформацией эластомера. Это приводит к необходимости рассмотреть процесс взаимодействия таких контртел в деталях.
Цель статьи. Предлагаемая статья посвящена более подробному рассмотрению задачи трибоэксперимента твердое (жесткое) тело – эластомер выше Тс.
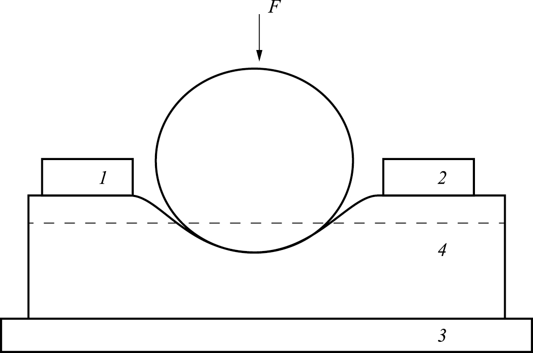
Образцы и оборудование. В исследованиях использовался эластомер марки СКУ-ПФЛ-100, машина трения ИИ 5018, прибор для измерения перемещений “Микрон-02”, штангенциркуль. Форма исследованной трибопары: цилиндрическое контртело – плоскость. Высота цилиндра 15 мм, сталь ШХ-15. Исследованный образец эластомера был в форме стержня прямоугольного сечения размером 70 × 10 × 7 мм, закрепленного с двух сторон (рис. 1).
Результаты. Эластомер под нагрузкой имеет сложную форму, что можно видеть на рис. 1.
Рис. 1. Реальный профиль контакта цилиндрического контртела с бруском эластомера: 1, 2 – крепеж бруска к основанию 3; 4 – брусок эластомера.
Однако для более подробного рассмотрения достаточно ограничиться формой лишь той части образца, которая находится в контакте с контртелом (выделено штриховой линией).
При приложении нагрузки к трибопаре твердое тело – эластомер происходит следующее.
- Деформация эластомерного образца изначально изменяет его макроформу: образец деформируется во все стороны, меняя не только свою толщину, но и форму контакта. Так, для образца эластомера в виде стержня прямоугольного сечения при трении его о цилиндрическое твердое контртело форма контакта имеет вид не прямоугольника, как было бы в случае трения жестких тел, а усеченного овала (рис. 2), который получается за счет увеличения под давлением поперечного размера стержня. Сама площадь контакта определяется не процессами трения и износа, а деформацией эластомера под действием нагрузки.
- Кроме того, давление в трибоконтакте нельзя вычислить как отношение приложенной нагрузки к площади трибоконтакта, даже если знать точную величину контактной площади. Это определяется неравномерным распределением приложенного усилия по площади трибоконтакта, что можно видеть из схемы поперечного сечения трибоконтакта в геометрии цилиндр (твердое тело) – плоскость (эластомер) (рис. 3).
Рис. 2. Схема увеличения площади трибоконтакта за счет боковых сегментов.
Рис. 3. Сечение трибоконтакта цилиндр – плоскость в нагруженном состоянии.
Длина штрихов вертикальной штриховки соответствует величинам приложенной нагрузки. Размер KМ соответствует задаваемому номиналу, прочие – соответственно меньше.
Номинальная величина приложенного усилия (рис. 2) имеет место только в точке максимума деформации образца. Во всех остальных точках она меньше и стремится к нулю при приближении к краю трибоконтакта. Соответственно, и давление в трибоконтакте распределяется от максимума, соответствующего номиналу прикладываемого усилия в центре контакта, до нуля на краю.
Это обстоятельство как минимум затрудняет определение несущей способности по зависимости начального давления на трибоконтакте от приложенной нагрузки [7]. И не только потому, что нагрузка распределена неравномерно по площади трибоконтакта, но еще и потому, что это давление определяется фактически задаваемой площадью трибоконтакта при приложении нагрузки, а не нарабатываемой в процессе трения. Боковые сегменты и при широком, и при узком образце будут практически одинаковы и зависят от величины нагрузки, диаметра ролика контртела, а также от толщины и податливости образца. Но при любом образце, задавая нагрузку, мы тем самым задаем одновременно и площадь трибоконтакта не как результата трения, а как результата деформации под задаваемой нагрузкой.
- Соответствующим образом распределен и износ, который максимален в точке максимума деформации и стремится к нулю при приближении к краю трибоконтакта, что приводит к неопределенности и неотчетливости его границ после снятия нагрузки.
Таким образом, рассмотренные особенности трения эластомеров не позволяют использовать для расчетов методики, разработанные для твердых трибопар, и требуют предварительных измерений площади контакта при различных нагрузках.
В [8] рассмотрена еще одна особенность трения твердого тела по эластомеру. В этой работе рассматривалось скольжение микровыпуклости твердого тела по поверхности эластомера, в процессе которого имеет место смещение пятна статического контакта в направлении движения твердой микровыпуклости из-за одновременного растяжения области эластомера позади микровыпуклости касательными усилиями адгезионной природы, что в большой степени определяет гистерезисную составляющую данного процесса трения.
В макромасштабе при трении цилиндрического образца по плоскости эластомера также возможен сдвиг статического пятна контакта по тем же причинам. Однако, в отличие от неконтролируемого гистерезиса на микроуровне, с гистерезисом на макроуровне можно бороться. Для этого необходимо исключить определяющую роль адгезии в процессе трения с помощью эффективного смазывания, что скажется и на микроуровне, а также выбирать достаточно толстые и жестко закрепленные вблизи пятна трения образцы эластомеров. В этом случае макрогистерезисом можно будет пренебречь и считать пятном трения реальное пятно статического контакта. Однако для очень мягких эластомеров этого может быть недостаточно. Но для большинства полиуретанов, в том числе для рассмотренных в настоящей статье, предложенное эффективно.
Рассмотрим измерения деформации образца эластомера СКУ-ПФЛ-100 в виде бруска прямоугольного сечения, на который давит цилиндрическое контртело (как при трении в геометрии цилиндр – плоскость) при статическом нагружении различными нагрузками. Размеры бруска: толщина 6 мм, ширина 8.15 мм, длина 50 мм. Образец закреплен справа и слева от пятна трения, сколь можно близко к нему. При каждой нагрузке проводилось измерение двух параметров: размера KМ (рис. 2) с точностью в 1.0 мкм и размера СD (рис. 2) с точностью 0.05 мм. Нагрузка задавалась ступенчато через 100 Н от нуля до 1000 Н с точностью приблизительно 4 Н. Площадь сегмента, являющегося частью площади эллипса (как косое сечение цилиндра), для простоты расчетов заменена площадью сегмента окружности с той же высотой и хордой. При этом учитывалось, что эта площадь является площадью боковой поверхности цилиндра.
В табл. 1 приведены результаты измерений деформации сжатия, размер KМ на рис. 3 и размеры увеличивающейся ширины СD на рис. 2 в зависимости от прилагаемой нагрузки. Поскольку ширина предполагаемого пятна износа (дуга окружности цилиндрического контртела, находящаяся в контакте с телом (рис. 2)) не мала, приведены результаты ее вычисления L, а также значения величины KО на рис. 4.
Таблица 1. Зависимость деформации сжатия KМ (рис. 3) и уширения СD (рис. 2) рассматриваемого образца от нагрузки
FN, Н | KМ, мм | СD, мм | L, мм | KО, мм |
0 | 0 | 8.15 | 0 | 23.0 |
100 | 0.799 | 10.00 | 12.16 | 22.201 |
200 | 1.352 | 10.70 | 15.85 | 21.648 |
300 | 1.769 | 11.00 | 18.16 | 21.231 |
400 | 2.122 | 11.55 | 19.92 | 20.878 |
500 | 2.427 | 12.05 | 21.32 | 20.573 |
600 | 2.705 | 12.30 | 22.54 | 20.295 |
700 | 2.941 | 12.50 | 23.52 | 20.059 |
800 | 3.087 | 13.05 | 24.11 | 19.913 |
900 | 3.299 | 13.40 | 24.94 | 19.701 |
1000 | 3.438 | 13.80 | 25.47 | 19.562 |
Рис. 4. Распределение нагрузки в трибоконтакте деформированного образца.
В табл. 2 приведены результаты расчетов реальной площади трибоконтакта в принятой геометрии испытаний на основании измерений при статическом нагружении различными нагрузками. При этом было принято в расчет, что площадь пятна является площадью боковой поверхности цилиндра.
Таблица 2. Зависимость площади трибоконтакта от нагрузки
FN, Н | СK, мм | SСЕГМ, мм2 | SПТ, мм2 | 2SСЕГМ/SПТ, % | Увеличение площади трибоконтакта, мм2 |
0 | 0 | 0 | 0 | – | 0 |
100 | 0.92 | 13.32 | 125.73 | 21.2 | 125.73 |
200 | 1.27 | 16.70 | 162.59 | 20.5 | 36.86 |
300 | 1.42 | 19.11 | 186.22 | 20.5 | 23.63 |
400 | 1.70 | 21.05 | 204.42 | 20.6 | 18.20 |
500 | 1.95 | 22.63 | 219.04 | 20.7 | 14.62 |
600 | 2.07 | 23.93 | 231.52 | 20.7 | 12.48 |
700 | 2.17 | 24.97 | 241.66 | 20.7 | 10.14 |
800 | 2.45 | 25.74 | 247.97 | 20.8 | 6.31 |
900 | 2.62 | 26.70 | 256.70 | 20.8 | 8.73 |
1000 | 2.82 | 27.39 | 262.36 | 20.9 | 5.66 |
Обозначения: СK – высота бокового кругового (на самом деле эллиптического) сегмента (рис. 2), SСЕГМ – площадь этого сегмента; SПТ – общая площадь пятна трения (трибоконтакта).
Увеличение площади (табл. 2) за счет бокового уширения для данного образца и при данных условиях может быть не менее 20%. Зависимость же площади трибопятна от нагрузки представляет возрастающую кривую с насыщением, что определяется конечностью размеров образца, поскольку максимальная деформация образца под нагрузкой не может быть больше толщины образца.
О давлении. Оно, как и нагрузка, распределено неравномерно. В центральной части пятна трения, где приложенная сила равна задаваемому номиналу, давление на площадь узкого пятна в 1 мм длиною 10 мм (ширина деформированного бруска) при нагрузке 1 кН равно 72.5 МПа. В то же время при приближении к краю давление стремится к нулю. Это затрудняет определение давления на образце в целом. Однако если знать закон распределения нагрузки, то можно воспользоваться понятием среднего значения функции на данном интервале, что позволит получить среднее давление при заданной нагрузке. Последнее можно использовать при выборе методики исследования.
В соответствии с первой теоремой о среднем [9] среднее значение функции на данном интервале аргумента равно площади, ограничиваемой функцией на этом интервале аргумента, деленной на значение интервала. Исходя из этого, определим закон распределения нагрузки от середины трибоконтакта, где она максимальна, до края, где она равна нулю (рис. 3). Рассмотрим половину этого симметричного рисунка в прямоугольной системе координат XY (рис. 4). Начало этой системы координат совпадает с центром цилиндрического контртела радиуса R = ОМ. Таким образом, дуга МС является дугой окружности радиуса R, центр которой лежит в начале координат. Исходя из уравнения окружности с центром в начале координат и в соответствии с первой теоремой о среднем [9], среднее значение функции Y(x) для данного случая будет определяться как
(1)
где B – значение x в точке B.
После взятия интеграла выражение (1) примет вид
Найденная точка среднего значения функции будет иметь одинаковые аргументы и для фигуры ОМNB, и для заштрихованной фигуры KМN. Разница будет лишь в значении ординаты.
Найдем ординату фигуры KМN, соответствующую среднему значению функции, найдем ее долю в значении KМ и с помощью этой доли определим величину средней силы при нагрузке, соответствующей деформации KМ. Поделив найденную среднюю силу на площадь, которой она соответствует, получим среднее давление.
На рис. 5 представлена полученная таким образом зависимость среднего давления от приложенной нагрузки.
Рис. 5. Зависимость среднего давления в трибоконтакте от прикладываемой нагрузки FN.
Практически прямолинейный вид зависимости давления от нагрузки в случае трения жестких тел означает, что процесс трения происходит на приработанном пятне, т. е. стационарен. В этом случае износ носит линейный характер. В случае же эластомера стационарный характер процесса, как выяснилось, имеет место изначально, поскольку пятном трения является не предварительно натертое пятно, а пятно деформации под нагрузкой. Иначе говоря, режим приработки в случае трения твердых тел с эластомерами отсутствует. При этом в каждой точке площади контакта контртела с образцом имеет место стационарный режим, но с разными давлениями в разных точках по окружности контртела.
Среди схем, предложенных в методике экспрессных триботехнических испытаний антифрикционных полимеров работы [6], для оценки параметров трения стали по эластомеру можно использовать схему 2, которая предполагает стационарный характер процесса трения. Однако начальное давление, прикладываемое к трибопятну, следует определять как отношение средней нагрузки FN к площади деформационного пятна при данной нагрузке, а не номинальной нагрузки к площади следа трения после снятия предварительной нагрузки.
Прочие трибопараметры – коэффициент трения f, интенсивности линейного Ih и объемного Iv износов – в зависимости от начального давления Рн определяются предложенным в [6] образом.
Следует отметить еще ряд особенностей процесса трения в рассматриваемом трибоконтакте.
В первую очередь сформулируем способ определения износа. Реальное пятно трения после снятия нагрузки имеет продольный размер, равный поперечному размеру образца (длина канавки износа), поперечный же размер может не иметь четких границ, что затрудняет как минимум определение его площади. Для определения поперечного размера канавки износа потребуется дополнительная процедура определения границы на пятне трибоконтакта, с которой начинается износ.
Поскольку нагрузка FN, приложенная к трибоконтакту, распределена неравномерно и близка к нулю у краев контактного пятна, то и износ, максимальный при максимальном усилии в центре, на краях близок к нулю. При смазывании реально изнашивается лишь часть площади трибоконтакта, где приложена достаточная нагрузка. На краях этой нагрузки может быть недостаточно, и будет иметь место безызносное трение.
Реальный износ и пятно износа под нагрузкой в случае эластомеров всегда существенно меньше площади реального трибоконтакта. Поэтому, чтобы определить износ, придется определять ту нагрузку, при которой при выбранных условиях начинается реальный износ материала.
При трении стали по эластомеру даже при смазывании маслом исключить адгезию полностью не удается. Следствием этого при определенной нагрузке на стальном контртеле возникает отчетливый след как результат переноса материала каучука на контртело. Если определить ту нагрузку, с которой начинается этот перенос, то при дальнейшем увеличении нагрузки границу ширины канавки износа следует отсчитывать от точки приложения данной силы, которую также нужно будет определять как долю приложенного номинала, чтобы определить ее местоположение на пятне трибоконтакта.
Выводы. 1. Рассмотрен процесс трибосопряжения жесткое тело – эластомер в случае использования стандартных машин трения. Показано отличие от аналогичных сопряжений жестких тел. 2. Показано, что методики измерений и расчетов [5–7] в том виде, как они использовались для характеристики трения жестких тел, неприменимы при исследовании трибологии эластомеров выше температуры стеклования. 3. Показано, что в случае трибоконтакта жесткое тело – эластомер (выше Тс) необходимы предварительные измерения деформации эластомера в зависимости от нагрузки для определения площади реального трибоконтакта. Эти измерения дадут одновременно и информацию о распределении давления в трибоконтакте еще до трибоиспытаний. 4. Показан изначально стационарный характер процесса трения жесткого тела по эластомеру без предварительной наработки пятна трения. 5. Предложена методика вычисления трибологических характеристик эластомеров.
Финансирование. Работа выполнена в рамках государственного задания Министерства науки и высшего образования Российской Федерации (тема № 121112500318-1).
Об авторах
А. А. Шепелевский
Институт проблем машиноведения РАН
Автор, ответственный за переписку.
Email: spbc63@yandex.ru
Россия, Санкт-Петербург
А. Ю. Неверовская
Научно-исследовательский институт синтетического каучука им. академика С.В. Лебедева
Email: spbc63@yandex.ru
Россия, Санкт-Петербург
А. П. Возняковский
Научно-исследовательский институт синтетического каучука им. академика С.В. Лебедева
Email: spbc63@yandex.ru
Россия, Санкт-Петербург
Е. Ю. Седакова
Институт проблем машиноведения РАН
Email: spbc63@yandex.ru
Россия, Санкт-Петербург
Список литературы
- Popov V. L., Li Q. et al. Adhesion and friction in hard and soft contacts: theory and experiment // Friction. 2021. V. 9. № 6. P. 1688.
- Nakano K., Kawaguchi K., Takeshima K. et al. Investigathion on dynamic response of rubber in frictional contact // Front Mech. Eng. 2019. V. 5. P. 9.
- Sahli R., Pallaris G., Papangelo A. et al. Shear-induced anisotropy in rough elastomer contact // Phys. Rev. Lett. 2019. V. 122. № 21. P. 214301.
- Burkhart C., Schollmayer T., Van der Vorst B. et al. Development of an online-wear-measurement for elastomer materials in a tribologically equivalent system for radial shaft seals // Wear. 2021. V. 476. Р. 203671. https://doi.org/10.1016/j.wear.2021.203671
- Козырев Ю. П., Гинзбург Б. М., Приемский Н. Д. и др. Определение характеристик изнашивания при линейном начальном контакте цилиндрических контртел // Трение и износ. 1993. Т. 14. № 4. C. 759.
- Точильников Д. Г., Гинзбург Б. М. Методика экспрессных триботехнических испытаний антифрикционных полимеров // Вопросы материаловедения. 2002. Т. 31. № 3. С. 39.
- Гинзбург Б. М., Точильников Д. Г. и др. Несущая способность полимеров и полимерных композитов при трении по металлам и смазывании водой // Трение и износ. 2011. Т. 32. № 3. С. 214.
- Мур Д. Трение и смазка эластомеров. М.: Химия, 1981. 262 с.
- Бронштейн И. Н., Семендяев К. А. Справочник по математике. М.: ГИТТЛ, 1981. 718 с.
Дополнительные файлы







