Динамический гаситель колебаний с регулируемой жесткостью
- Авторы: Зотов А.Н.1, Токарев А.П.1
-
Учреждения:
- Уфимский государственный нефтяной технический университет
- Выпуск: № 6 (2023)
- Страницы: 3-10
- Раздел: МЕХАНИКА МАШИН
- URL: https://ogarev-online.ru/0235-7119/article/view/162303
- DOI: https://doi.org/10.31857/S0235711923050176
- EDN: https://elibrary.ru/UAFWLW
- ID: 162303
Цитировать
Полный текст
Аннотация
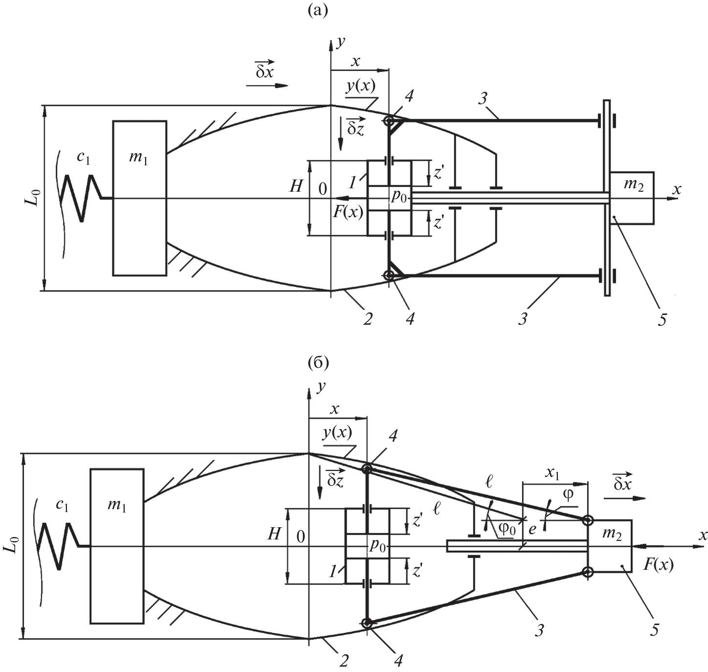
Статья посвящена разработке динамического гасителя колебаний, представляющего собой систему, в которой пневмопружина перемещается между направляющими заданной формы перпендикулярно их оси симметрии. Форма направляющих определяется из условия, что характеристика динамического гасителя – линейная, что эквивалентно пружине с заданной жесткостью. Основным недостатком большинства современных динамических гасителей является то, что они эффективны при работе только на определенной частоте вынуждающей силы, действующей на защищаемый объект. При небольшом изменении этой частоты, амплитуда защищаемого объекта может многократно возрасти. В статье доказано, что, изменяя расчетным образом давление в пневмопружине предлагаемого гасителя, можно получить заданную жесткость динамического гасителя, при которой он эффективен при различных частотах вынуждающей силы.
Ключевые слова
Об авторах
А. Н. Зотов
Уфимский государственный нефтяной технический университет
Email: art-tokarev@yandex.ru
Россия, Уфа
А. П. Токарев
Уфимский государственный нефтяной технический университет
Автор, ответственный за переписку.
Email: art-tokarev@yandex.ru
Россия, Уфа
Список литературы
- Пановко Я.Г. Основы прикладной теории колебаний и удара Л.: Политехника. 1990. С. 272.
- Вибрации в технике: справочник в 6-ти т. / Под ред. В.Н. Челомея. М.: Машиностроение, 1978. Т. 6. Защита от вибрации и ударов / Под ред. К.В. Фролова, 1981. С. 456.
- Cheng Y., Deyu L., Li Ch. Dynamic vibration absorbers for vibration control within a frequency band // Journal of Sound and Vibration. 2011. V. 330. P. 1582.
- Aguirre G., Gorostiaga M., Porchez T., Munoa J. Self-tuning dynamic vibration absorber for machine tool chatter suppression // 28th Annual Meeting of the American Society for Precission Engineering (ASPE), Oct. 2013, St. Paul, Minnesota, United States.
- Yongjun S., Xiaoran W., Shaopu Y., Haijun X. Parameters Optimization for a Kind of Dynamic Vibration Absorber with Negative Stiffness // Mathematical Problems in Engineering. 2016. V. 4. P. 1. https://doi.org/10.1155/2016/9624325
- Ramy F.H., Jimmy S.I. Design of a vibration absorber for harmonically forced damped systems // J. of Vibration and Control. 2013. V. 21. Iss. 9. P. 1810.
- Xuezhi Z., Zhaobo C., Yinghou J. Optimizations of distributed dynamic vibration absorbers for suppressing vibrations in plates // Journal of Low Frequency Noise, Vibration and Active Control. 2018. V. 37 (4). P. 1188.
- Vu D.P., Tong V.C., Pham V.L. Optimal parameters of dynamic vibration absorber for linear damped rotary systems subjected to harmonic excitation // Vietnam Journal of Mechanics, VAST. 2020. V. 42. № 4. P. 385.
- Khomenko A.P., Eliseev S.V., Artyunin A.I. Dynamic damping of vibrations of technical object with two degrees of freedom // IOP Conf. Series: Earth and Environmental Science 87, 2017.
- Almashhor A., Asiri S.A. Development of a new tuned vibration absorber based on one degree-of-freedom of translational motion // Cogent Engineering. 2021. V. 8 (1). P. 1.
- Komatsuzaki T., Iwata Y. Design of a Real-Time Adaptively Tuned Dynamic Vibration Absorber with a Variable Stiffness Property Using Magnetorheological Elastomer // Shock and Vibration. 2015. V. 568. P. 1. https://doi.org/10.1155/2015/676508
- Frahm H. US Patent 989958. Device for damping vibrations of bodies, 1909.
- Ден-Гартог Д.П. Механические колебания. М.: Физматгиз, 1960. 580 с.
- Тимошенко С.П. Колебания в инженерном деле. М.: Наука, 1971. 444 с.
- Елисеев С.В. и др. Динамический синтез в обобщенных задачах виброзащиты и виброизоляции технических объектов. Иркутск: ИГУ, 2008. 523 с.
- Макаров С.Б., Панкова Н.В., Перминов М.Д. Мультирезонансный динамический гаситель // Проблемы машиностроения и автоматизации. 2012. № 2. С. 70.
- Трофимов А.Н. Концепция обратной связи в динамике механических систем и процессы динамического гашения колебаний: Автореф. дисс. … канд. техн. наук. Иркутск: Иркут. гос. ун-т путей сообщения, 2012. 17 с.
- Макаров С.Б. и др. Исследование упругих конструкций, частично заполненных жидкостью, в качестве многочастотных динамических гасителей колебаний (МДГК) // Проблемы машиностроения и автоматизации. 2016. № 2. С. 80. URL: https://rucont.ru/efd/422116 (дата обращения: 16.03.2023).
Дополнительные файлы








