Разработка методов оптимизации и машинного проектирования соединительных узлов нефтепромыслового оборудования
- Авторы: Рагимова М.С.1
-
Учреждения:
- Азербайджанский государственный университет нефти и промышленности
- Выпуск: № 4 (2023)
- Страницы: 71-74
- Раздел: НАДЕЖНОСТЬ, ПРОЧНОСТЬ, ИЗНОСОСТОЙКОСТЬ МАШИН И КОНСТРУКЦИЙ
- URL: https://ogarev-online.ru/0235-7119/article/view/137602
- DOI: https://doi.org/10.31857/S0235711923040120
- EDN: https://elibrary.ru/XWMHRQ
- ID: 137602
Цитировать
Полный текст
Аннотация
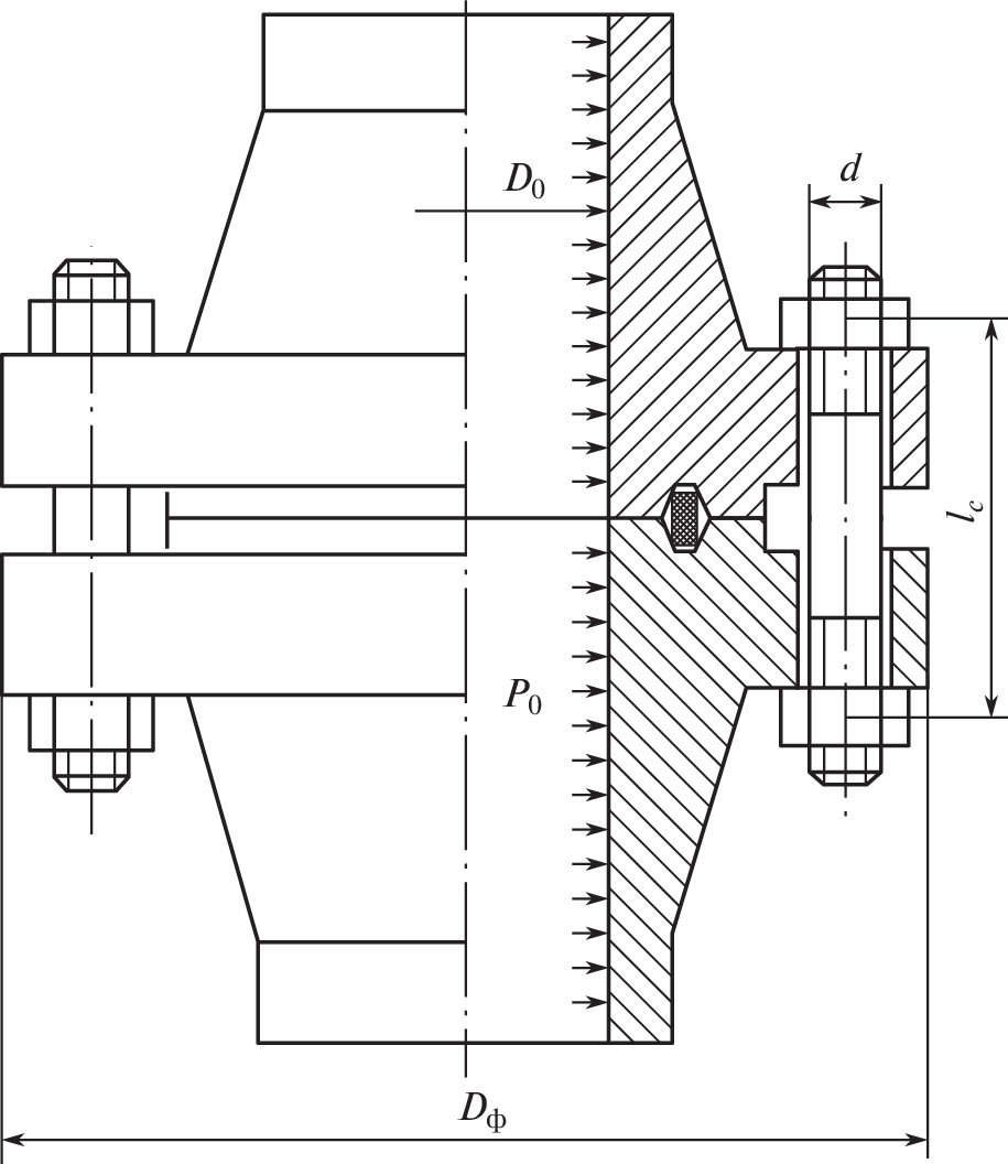
Экспериментальным способом определено, что для обеспечения полной герметизации величина контактного давления на герметизирующей поверхности должна быть в три раза больше, чем внутреннее давление. Герметичность фланцевых соединений обеспечивается созданием необходимого давления на уплотняющих поверхностях фланцев. Причем требуемое удельное давление создается в уплотнителях путем затяжки болтов, скрепляющих фланцы. На величину утечки влияют шероховатость поверхности и точность изготовления элементов уплотнения.
Ключевые слова
Об авторах
М. С. Рагимова
Азербайджанский государственный университет нефти и промышленности
Автор, ответственный за переписку.
Email: rahimova_mahluqa@mail.ru
Азербайджан,
Баку
Список литературы
- Рагимова М.С. Вопросы обеспечения плотности и герметичности фланцевых соединений // Автоматизация, телемеханизация и связь в нефтяной промышленности. 2020. № 11 (568). С. 43.
- Мордвинов А.А., Захаров А.А., Миклина О.А., Полубоярцев Е.Л. Устьевое оборудование фонтанных и нагнетательных скважин: Методические указания. Ухта: УГТУ, 2004. 31 с.
- Kondakov L.A. et al. Sealing and sealing equipment: Handbook. M.: Machine building, 1994. 445 p.
- Даффин Р., Питерсон Э., Денер В. Геометрическое программирование. М.: Мир, 1972. 311 с.
- Хазов Б.Ф., Дидусев Б.A. Справочник по расчету надежности машин на стадии проектирования. Москва: “Машиностроение”, 1986. 224 с.
- Реклейтис Г., Рейвиндран А., Регдель К. Оптимизация в технике. В 2-х кн. Кн. 2 / Пер. с англ. М.: Мир, 1986. 320 с.
Дополнительные файлы



