Инерциальная масса в органе равновесия Pomacea diffusa. Эксперимент на биоспутнике “Бион-11”
- Авторы: Горгиладзе Г.И.1
-
Учреждения:
- ФГБУН Государственный научный центр Российской Федерации, Институт медико-биологических проблем РАН
- Выпуск: Том 37, № 3 (2023)
- Страницы: 258-268
- Раздел: СЛУХОВАЯ И ВЕСТИБУЛЯРНАЯ СИСТЕМЫ
- URL: https://ogarev-online.ru/0235-0092/article/view/138234
- DOI: https://doi.org/10.31857/S0235009223030058
- EDN: https://elibrary.ru/ZVGJKR
- ID: 138234
Цитировать
Полный текст
Аннотация
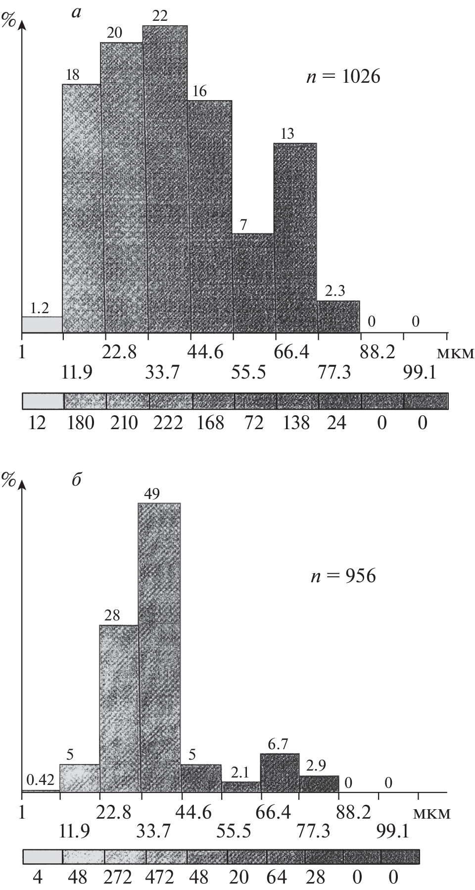
Инерциальную массу в органе равновесия-статоцисте Pomacea diffusa изучали с момента вылупления улиток из яиц и до завершения жизненного цикла. Оценивали последствия воздействия невесомости на инерциальную массу в 14-суточном орбитальном полете на биоспутнике “Бион-11”. По мере взросления улиток диаметр статоциста возрастал с 150 до 650 мкм, а содержащаяся в нем инерциальная масса увеличивалась c 11–13 до 700 статоконий. Внутренняя структура статоконии имела слоистую структуру с ядром в ее центральном участке. Основной минеральный элемент, придающий статокониям тяжесть, это карбонат кальция, представленный в виде кристаллов арагонита. 14-суточная экспозиция в невесомости привела к заметным изменениям морфометрической картины инерциальной массы в статоцистах полетных улиток в сравнении с контрольными улитками синхронного сопровождения. У большей части статоконий возросли показатели площади, размера, периметра, формфактора, длины и ширины, что могло указывать на стимулирующее влияние невесомости на инерциальную массу в органе равновесия Pomacea diffusa.
Ключевые слова
Об авторах
Г. И. Горгиладзе
ФГБУН Государственный научный центр Российской Федерации, Институт медико-биологических проблем РАН
Автор, ответственный за переписку.
Email: gio119193@mail.ru
Россия, 123007, Москва, Хорошевское шоссе, д. 76а
Список литературы
- Винников Я.А., Газенко О.Г., Титова Л.К. Рецептор гравитации. Серия “Проблемы космической биологии”. Т. XII. Л.: “Наука”, 1971. 523 с.
- Горгиладзе Г.И. Стимулирующее влияние невесомости на рост статоконий (эксперименты на автоматических космических аппаратах “Фотон” и “Ресурс-Ф” и пилотируемом орбитальном комплексе “Мир”). Georgian Engineering News. 2001. № 4. С. 113–119.
- Горгиладзе Г.И. Структурно-функциональные особенности статоциста улиток Helix lucorum. Орбитальная станция “Мир”. Медико-биологические эксперименты. 2002. Т. 2. С. 366–383.
- Горгиладзе Г.И. Пластичность инерциальной массы в органе равновесия в изменяющемся гравитационном поле. Сенсорные системы. 2020. Т. 34. № 4. С. 267–282.
- Горгиладзе Г.И., Носовский А.М., Букия Р.Д. Статолит Pomatias rivulare. Сенсорные системы. 2013. Т. 27. № 3. С. 216–223.
- Geuze J.J. Observations on the function and the structure of the statocysts of Lymnae stagnalis. Netherl. J. Zool. 1968. V. 18. № 2. P. 155–204.
- Ghesquiere S. Apple snail. 2007. (Stijn Ghesquiere. http://www.applesnail.net).
- Pedrozo H.A., Schwartz Z., Luther M. A mechanism of adaptation to hypergravity in the statocyst of Aplysia californica. Hear. Res. 1996. V. 102. № 1–2. P. 51–62.
- Pedrozo H.A., Wiederhold M.L. Effects of hypergravity on statocyst development in embryonic Aplysia californica. Hear. Res. 1994. V. 79. P. 137–146.
- Wiederhold M.L., Harrison J.L., Ortiz C.A. Enhanced production of the “test mass” in the statocyst of pond snails reared in microgravity. Proc. Fifteenth Space Utilization Res. Sympos. Tokyo. 1999. V. 15. P. 89–92.
- Wiederhold M.L., Harrison J.L., Parker K.A., Nomura H. Otoliths developed in microgravity. J. Grav. Physiol. 2000. V. 7. № 2. P. 39–42.
- Wiederhold M.L., Pedrozo H.A., Harrison J.L. et al. Development of gravity-sensing organs in altered gravity conditions: opposite conclusions from an amphibian and a molluscan preparation. J. Grav. Physiol. 1997. V. 4. № 2. P. 51–54.
Дополнительные файлы















