The effect of aluminum in its mixtures with ammonium nitrate on the ignition of burning and its transition to convective burning regime
- Authors: Khrapovskiy V.E.1, Khudaverdiev V.G.1,2, Sulimov A.A.1, Komissarov P.V.1, Basakina S.S.1
-
Affiliations:
- Semenov Federal Research Center of Chemical Physics, Russian Academy of Sciences
- Institute of Radiation Problem of the Ministry of Science and Education of the Republic of Azerbaijan
- Issue: Vol 43, No 8 (2024)
- Pages: 92-100
- Section: Combustion, explosion and shock waves
- URL: https://ogarev-online.ru/0207-401X/article/view/280187
- DOI: https://doi.org/10.31857/S0207401X24080109
- ID: 280187
Cite item
Full Text
Abstract
The ignition of normal layer-by-layer burning and its transition to convective burning regime in mixtures of ammonium nitrate with bulk density aluminum are studied. The experiments in a constant-volume bomb with pressure registration were carried out. The porosity of the samples was 0.55–0.59, the particle size of the ammonium nitrate was varied from 20–40 to 250–630 µm, and the aluminum content varied from 8 to 47 wt %. Aluminum of two grades was used: ASD4 and PAP2. It is shown that mixtures are capable to be ignited at the igniter pressure close to or above the critical (minimum) value. The values of the critical pressure of the igniter, the pressure and time at which burning and convective burning occurs for mixtures with different particle sizes of ammonium nitrate and aluminum and different concentrations are measured. The replacement of aluminum ASD4 with PAP2 leads to a significant (by an order of magnitude or even more) decrease in the values of critical pressure and pressures at which the burning and convective burning begins.
Full Text
ВВЕДЕНИЕ
Длительное время считалось, что аммиачная селитра (АС) является безопасной при хранении. Однако многочисленные аварии при ее производстве и хранении, сопровождающиеся переходом горения во взрыв, начиная с 1916 г. в Нью-Джерси (США) и в последнее время – в 2020 г. в Бейруте (Ливан) и в 2022 г. в Уинстон Сейдем (США) [1, 2] – свидетельствуют об обратном. Известно [3], что начальной стадией развития взрыва в энергетических порошкообразных составах является переход послойного горения (ПГ) в конвективное (КГ). Интенсивные исследования этого процесса, результаты которых описаны в работах [3, 4], проводились в 1960–1970 гг. на инициирующем ВВ (гремучая ртуть), бризантных ВВ (тротил, тэн, гексоген и др.) и на смесевых составах на основе перхлоратов аммония и калия. Сжигание осуществлялась обычно в манометрических бомбах. Размер используемых частиц варьировался от 5–20 до 500 мкм, удельная площадь поверхности – от 0.05–0.07 до 0.7–1 м2/г. Диаметр изучаемых образцов составлял 5–10 мм, высота – 40–70 мм, пористость изменялась от 3 до 50%, газопроницаемость – от 10−5 до 10−3 Дарси (1 Дарси ≈ 1 мкм2). Боковая поверхность и нижний торец образцов были забронированы. Воспламенение верхнего торца осуществлялось либо нихромовой проволочкой, либо продуктами сгорания навески дымного ружейного пороха, создававшей небольшое начальное давление. Его регистрация проводилась с помощью пьезокварцевых или тензометрических датчиков давления обычно на шлейфовых осциллографах с частотой не более 15 кГц. В отдельных опытах одновременно с записью давления осуществлялась оптическая съемка процесса через прозрачные окна манометрической бомбы. На начальной стадии заряды горели в послойном режиме. Скорость нарастания давления в бомбе составляла 0.01–1.0 МПа/мс. При переходе горения в конвективный режим она возрастала в несколько раз. В качестве основной характеристики, определяющей возникновение конвективного горения, была принята величина критического давления срыва послойного горения (Pc): значение давления на стадии послойного горения образца, при котором темп его нарастания начинал резко увеличиваться (в 3–7 и более раз). Установлено, что величина Pc зависит от состава, пористости, газопроницаемости, диаметра и длины заряда, а также от размера используемых частиц. Была проведена классификация различных ВВ по степени их устойчивости, выявлено влияние плавления и начального заполнения пор азотом на величину давления срыва.
В работе [5] показана возможность перехода послойного горения в конвективное при низких давлениях (0.5–0.7 МПа) на образцах, спрессованных из гранул семиканального пироксилинового пороха марки 5/7 с плотностью 1.34–1.47 г/см3 (пористостью 7–15%). Установлено, что покрытие гранул по боковой поверхности пленкой поливинилбутираля толщиной ~35 мкм приводит к увеличению длительности послойного горения и снижению величины Pc. Результаты исследований возникновения и развития конвективного режима горения и его перехода во взрывной процесс в смесях аммиачной селитры с углем и алюминием насыпной плотности описаны в работах [6–9]. Опыты проводились в манометрической бомбе и в щелевых оболочках с одновременной оптической регистрацией процесса и измерениями давления. Изучалось влияние величины давления, создаваемого воспламенителем, начальной высоты заряда, размера частиц и массовых долей окислителя и горючего на интенсивность подъема давления в смеси и скорость распространения процесса. Было введено понятие порогового давления воспламенителя (Pit) как минимального, при котором осуществляется воспламенение смеси. Определены величины Pit для смесей аммиачной селитры с углем. Построена его зависимость от концентрации угля при разных размерах частиц нитрата аммония: 20–40 и 250–630 мкм. Отмечено существование порогового давления для смесей аммиачной селитры с алюминием марки АСД-4, однако его значения не приводятся. В работе [10] приведены результаты численного моделирования роста давления при переходе конвективного горении смесей на основе аммиачной селитры в детонацию. Полученные результаты сравнивались с экспериментальными данными. Строились пространственные профили давления и объемной доли к-фазы в разные моменты времени в зарядах различной длины.
Следует отметить, что в работах [6–10] основное внимание уделялось исследованию перехода конвективного горения в детонацию. Условия, при которых начинается послойное горение (до или после сгорания воспламенителя), значения величин давления и времени, при которых происходит его протекание, длительность его развития, интенсивность изменения давления не определялись. Также не определялись значения давления Pc и времени tс срыва послойного горения. Однако вышеперечисленные параметры необходимо знать как для понимания критических условий, при которых происходит смена режима горения, так и для более точного моделирования обсуждаемых процессов.
Цель данной работы состояла в изучении закономерностей возникновения и развития послойного и конвективного горения в смесях аммиачной селитры с алюминием. Задача исследования заключалась в измерении кривых зависимости Pc(tс) в манометрической бомбе при горении смесей разных составов, их анализе, определении порогового давления воспламенителя, его влияния на значения давления и времени, при которых начинается послойное горение и происходит его переход в конвективное.
МЕТОДИКА ЭКСПЕРИМЕНТА
Эксперименты проводились в манометрической бомбе объемом ~100 см3, схема которой приведена на рис. 1. Использовалась аммиачная селитра производства французской фирмы Grande Paroisse Company, Total Fina Elf Group, при применении которой произошел аварийный взрыв на заводе AZF в г. Тулуза (2001 г.). Аммиачная селитра представляла собой пористые сферические гранулы со средним размером 1–2 мм. Ее гравиметрическая плотность составляла в среднем 700 кг/м3, а максимальная (ρmax) – 1.725 кг/м3. Гранулы измельчались. Применялись две фракции селитры с размерами частиц (dАС) 20–40 и 250–630 мкм. Величина удельной площади поверхности АС (Sуд АС), рассчитанная по формуле
(1)
составляла 0.09–0.17 и 0.006–0.014 м2/г соответственно. Перед смешиванием АС тщательно сушилась до прекращения потери веса.
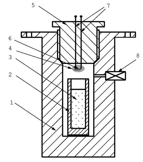
Рис. 1. Схема манометрической бомбы: 1 – стенки бомбы, 2 – металлический стаканчик, 3 – исследуемый состав, 4 – воспламенитель, 5 – крышка бомбы, 6 – нихромовая спираль, 7 – электрические вводы, 8 – датчик давления.
Использовались следующие марки алюминия: АСД-4 со средним размером сферических частиц ~2–8 мкм и удельной поверхностью Sуд АСД-4 ~0.4–0.6 м2/г [11]; ПАП-2 с чешуйчатыми частицами толщиной свода ~0.12–0.16 мкм и линейными размерами от 10–20 до 50–100 мкм. Его удельная поверхность Sуд ПАП-2 составляла ~1 м2/г [12].
Селитра и алюминий тщательно перемешивались в нужной пропорции. Смесь порционно насыпалась в канал 2 (рис. 1) металлического стаканчика диаметром 16 мм и глубиной 65 мм. Высота смеси 3 составляла 48–50 мм, масса – 7.1 г, пористость – 55–59%. Стаканчик с образцом располагался внутри манометрической бомбе объемом ~100 см3.
Поджигание смеси осуществлялось воспламенителем 4 (рис. 1), расположенным на крышке бомбы 5. В качестве основного состава использовался измельченный дымный ружейный порох (ДРП-3) с размером частиц меньше 50 мкм и весом 0.5 г. Порох поджигался нихромовой спиралью 6, подсоединенной к изолированным от крышки электрическим вводам 7, и создавал в объеме давление Pi ~0.8 МПа. Регулирование величины Pi осуществлялось за счет сжигания совместно с основным воспламенителем дополнительных навесок смеси пороха марки ДРП-3 с тонкосводным пироксилиновым порохом марки “Сокол” в равных долях. Зазоры между крышкой бомбы с ее стенками и с электрическими вводами тщательно уплотнялись для исключения протечек, образующихся в опытах продуктов сгорания. Регистрация изменения давления от времени осуществлялась пьезокварцевыми датчиками 8 марки Т-6000 с частотой дискретизации сигнала 200 кГц. Интервал времени от момента окончания приготовления смеси до проведения опыта составлял около 30 мин. Погрешность измерения давления не превышала 5–8%.
РЕЗУЛЬТАТЫ ЭКСПЕРИМЕНТОВ
Исследуемые составы начинали гореть в послойном режиме, если давление воспламенителя равнялось или превышало некоторое пороговое значение Pit. После его достижения (точка Iit с координатами Pit, tit, кривая 1 рис. 2) давление сначала снижалось из-за охлаждения продуктов сгорания воспламенителя стенками манометрической бомбы и металлического стаканчика, а также их фильтрации в поры образца. Возникновение горения смеси приводило к изменению зависимости p(t) от спадающей на возрастающую. Для определения значений давления Pb и времени tb, при которых начиналось послойное горение, проводилась экстраполяция кривой снижения давления воспламенителя (штриховая кривая 3) до момента изменения темпа нарастания давления на кривой 1 (точка С). За возникновение ПГ принимался момент, соответствующий точке B с координатами Pb, tb, после которого происходило отклонение реальной кривой от экстраполированной. Такое отклонение свидетельствует об увеличении давления за счет дополнительного поступления газов и тепла от горения смеси. После возникновения послойного горения давление в бомбе еще некоторое время снижалось до достижения локального минимума. Дальнейшее развитие ПГ происходило в условиях нарастающего давления с разными интенсивностями его подъема (∆p/∆t). При анализе записей p(t) измерялось среднее значение скорости его роста на начальной, (∆p/∆t)1, и последующей стадиях, (∆p/∆t)2. Согласно проведенным ранее исследованиям [3, 4], принималось, что повышение ∆p/∆t связано с переходом послойного горения в конвективное. Определялись значения давления Pс и времени tс (точка С), при которых начиналось заметное (в 3 и более раза) увеличение интенсивности роста давления. По значениям времен начала послойного (tb) и конвективного (tс) горения рассчитывалась длительность протекания послойного горения (от точки B до точки C) как разница между ними: td = tс − tb.
Рис. 2. Характерные записи изменения давления во времени в манометрической бомбе при горении смеси 92 вес.% NH4NO3 + 8 вес.% АСД-4 при давлении воспламенителя, близком к пороговому – кривая 1 (опыт № 695), ниже порогового – кривая 2 (опыт № 693); 3 – кривая, аппроксимирующая спад давления от сгорания воспламенителя.
За счет распространения конвективного режима и догорания образующейся взвеси давление повышалось до максимального значения, после которого начинало снижаться из-за уменьшения поверхности горения и охлаждения образовавшихся продуктов. Определялись величина максимального давления Pm и время его достижения tm (точка М).
При давлении воспламенителя ниже порогового (точка I2, кривая 2 рис. 2) послойного и конвективного горения не возникало. Давление только снижалось из-за охлаждения продуктов сгорания. Смесь уплотнялась и частично разлагалась.
В статье приводятся результаты определения Pit, которые были получены для каждого состава в результате нескольких экспериментов с разными навесками воспламенителя. Исследовалось влияние концентрации алюминия, его марки, размера частиц аммиачной селитры на величину порогового давления воспламенителя Pit, значения давлений Pb, Pс и времен tb, tс, при которых возникают послойный и конвективный режимы горения. Определялась интенсивность нарастания давления при их протекании, которая зависела от состава смеси. В отдельных случаях ее изменение при переходе послойного горения в конвективное происходит не так резко, как показано на рис. 2. Критерием для перехода ПГ в КГ служило увеличение отношения (∆p/∆t)2 к (∆p/∆t)1 в 2.5 и более раза.
Влияние содержания алюминия изучалось в смесях АСД-4 с обеими фракциями аммиачной селитры. Повышение концентрации алюминия с 8 до 47 вес.% позволило на порядок и более (с 26.2 до 1.6 МПа при dАС = 20–40 мкм и с 21.6 до 1.5 МПа при dАС = 250–630 мкм) снизить величину порогового давления воспламенителя (табл. 1). При этом понижались значения Pb, увеличивались величины tb, при которых начиналось ПГ, уменьшалась интенсивность подъема давления (∆p/∆t)1 при его развитии. Конвективное горение начиналось при давлениях Pc, близких или превышающих значения Pb. Скорость нарастания давления (∆p/∆t)2 в большинстве опытов снижалась. Отклонение от описанной выше тенденции наблюдалось для состава с размером частиц аммиачной селитры dАС = 250–630 мкм и содержанием алюминия марки АСД-4, равным 31 вес.% (опыт № 687). В этом случае послойное горение протекало при давлении, близком к постоянному, и длительнее. Возможно, это связано с неустойчивым развитием процесса. В параллельном опыте с этой смесью и таким же значением Pit послойный и конвективный режимы горения не возникли.
Таблица 1. Значения давлений и времен возникновения послойного и конвективное горения в смесях нитрата аммония с алюминием разного состава
№ опыта | Марка алюминия | Размер частиц селитры dAC, мкм | Состав смеси NH4NO3/Al, вес.% | Pit, МПа | tit, мс | Pb, МПа | tb, мс | Pс, МПа | tс, мс | td, мс | (∆p/∆t)1, МПа/мс | (∆p/∆t)2, МПа/мс |
695 | АСД-4 | 20–40 | 92/8 | 26.2 | 12.2 | 24.7 | 57.1 | 24.7 | 187 | 130 | 0.024 | 0.060 |
661 | 82/18 | 11.4 | 9 | 8.6 | 206 | 9.4 | 320 | 114 | 0.02 | 0.053 | ||
669 | 53/47 | 1.6 | 10 | 0.59 | 375 | 1.4 | 2431 | 2056 | 0.0005 | 0.005 | ||
692 | 250–630 | 92/8 | 21.6 | 10.6 | 17.1 | 102 | 17.4 | 281 | 179 | 0.012 | 0.041 | |
687 | 69/31 | 4.1 | 18 | 1.4 | 703 | 1.3 | 3250 | 2547 | 0.000 | 0.00013 | ||
690 | 53/47 | 1.5 | 20 | 0.97 | 120 | 1.6 | 1300 | 1189 | 0.00069 | 0.00024 | ||
711 | ПАП-2 | 20–40 | 82/18 | 0.95 | 7 | 0.95 | 7 | 0.95 | 24 | 17 | 0.000 | 0.02 |
Влияние размера частиц аммиачной селитры исследовалось для смесей с алюминием марки АСД-4. Увеличение размера частиц окислителя привело к снижению пороговых значений давления воспламенителя, что связано с повышением газопроницаемости образцов [3]. Однако условия, при которых начинаются послойное и конвективное горение, длительность протекания послойного горения, темп нарастания давления для смесей с разным размером частиц, зависели от содержания алюминия в смеси.
При концентрации АСД-4 8 вес.% использование крупных частиц селитры привело к снижению давления Pb, увеличению времени tb, при котором началось послойное горение (точка B на кривой 2 рис. 3, табл. 1 – опыты № 695 и № 692), и повышению длительности td его протекания. Послойное горение развивалось с меньшей скоростью подъема (∆p/∆t)1. Снизились давление Pс, при котором возникло конвективное горение (точка С), и интенсивность нарастания (∆p/∆t)2 при его распространении.
Рис. 3. Диаграммы “давление–время” в манометрической бомбе для смесей 92 вес.% АС + 8 вес.% АСД-4 при следующих размерах частиц АС: 1 – 20–40 мкм (опыт № 695); 2 – 250–630 мкм (опыт № 692).
При увеличенном до 47 вес.% содержании АСД-4 в образцах с крупными частицами АС послойное горение началось раньше при большем значении Pb (точка B на кривой 2 рис. 4, табл. 1 – опыты № 690 и № 669). Его развитие протекало быстрее и сопровождалось увеличенной скоростью подъема давления. Конвективное горение (точка С) возникло примерно при таком же давлении Pс, что для смеси с мелкими частицами, но при меньшем времени tc.
Рис. 4. Записи “давление–время” манометрической бомбе для смесей 47 вес.% АСД-4 + 53 вес.% АС c размерами частиц АС, равными 20–40 мкм (кривая 1, опыт № 669) и 250–630 мкм (кривая 2, опыт № 690).
Влияние марки алюминия на развитие горения изучалось при его концентрации в смеси 18 вес.% и размере гранул аммиачной селитры dAC = 20–40 мкм. Замена сферического алюминия марки АСД-4 с размером частиц ~2–8 мкм на чешуйчатый марки ПАП-2 с меньшей толщиной свода и увеличенной удельной поверхностью позволила существенно снизить (с 11.4 до 0.95 МПа) величину порогового давления воспламенителя Pit (кривые 1 и 2 рис. 5, опыты № 661 и № 711 табл. 1). Послойное горение началось раньше (tb ≈ 7 мс) – при достижении воспламенителем максимального давления – и протекало при давлении, близком к постоянному значению, равному 0.95 МПа. Существенно сократились время tс (с 320 до 24 мс) и величина давления Pс (с 9.4 до 0.95 МПа), при которых возник конвективный режим.
Рис. 5. Изменение зависимости давления от времени при сгорании смесей 18 вес.% АСД-4 + 82 вес.% АС (кривая 1, опыт № 661) и 18 вес.% ПАП-2 + 82 вес.% АС (кривая 2, опыт № 711).
Значения Pit, Pb и Pс, определенные для смеси с содержанием 18 вес.% алюминия марки ПАП-2, близки аналогичным величинам для смеси с содержанием 47 вес.% алюминия марки АСД-4 (табл. 1 – опыты № 711, № 669). Однако при использовании чешуйчатого алюминия процессы послойного и конвективного горения начинаются раньше (кривые 1, 2 рис. 6).
Рис. 6. Записи давления время в манометрической бомбе при сгорании смесей, содержащих 18 вес.% ПАП-2 + 82 вес.% АС (кривая 1, опыт № 711) и 47 вес.% АСД4 + 53 вес.% АС (кривая 2, опыт № 669). Размер частиц АС равен 20–40 мкм.
На основании полученных результатов можно заключить, что использование алюминия марки ПАП-2 вместо АСД-4 повышает опасность возникновения послойного и конвективного горения в смесях с аммиачной селитрой. Определенные для смесей с содержанием 47 вес.% АСД-4 и 18 вес.% ПАП-2 давления срыва послойного горения близки по величине к значениям давления срыва, измеренным для смесей перхлората аммония с горючими добавками [3], что необходимо учитывать при оценке их взрывоопасности.
ОБСУЖДЕНИЕ РЕЗУЛЬТАТОВ
Используемые в смеси компоненты обладают заметно различающимися коэффициентами теплопроводности λ. Для аммиачной селитры величина λАС составляет 0.38–0.42 Вт/(м ⋅ К); для алюминия λAl = 200–220 Вт/(м ⋅ К). Теплопроводность смеси λсм зависит от ее пористости, коэффициентов теплопроводности составляющих твердых компонент (λАС, λAl) и газов, заполняющих поры (λg) [13]. Ее вычисления являются трудоемкими и требуют введения нескольких эмпирических коэффициентов. Сравнение рассчитанных для ряда составов значений λсм с определенными экспериментально показало, что для двойных смесей ее величина (при одинаковых пористости и составе газа в порах) определяется соотношением удельных объемных концентраций используемых компонент, mv1/mv2. Величина λсм возрастает с увеличением отношения объемного содержания вещества с высокой теплопроводностью к объемному содержанию вещества с низкой теплопроводностью, в нашем случае – mvAl/mvАС. В работах [14–16] было показано, что введение в конденсированную систему теплопроводящих элементов (ТЭ) – медных проволочек – с высоким коэффициентом теплопроводности позволяет увеличить поток тепла к исходному составу. Нагрев и воспламенение происходит в первую очередь на границе контакта системы с ТЭ. Горение распространяется вдоль проволочек со скоростью, в несколько раз превышающей скорость горения исходной смеси.
Вышеописанные результаты показывают, что добавление алюминия к аммиачной селитре увеличивает теплопроводность смеси, величина которой возрастает с повышением его концентрации. Увеличивается поверхность контакта частиц алюминия с поверхностью частиц селитры. Для исследуемых смесей были определены зависимости критического давления воспламенителя Pit от отношения площади поверхности частиц алюминия к площади поверхности частиц аммиачной селитры в единице объема (Sv Al/Sv АС) при разном размере гранул селитры (рис. 7), которые хорошо описываются экспоненциальными функциями. При размере частиц селитры dАС = 20–40 мкм экспериментальные данные с алюминием марок АСД-4 и ПАП-2 (опыт № 711) ложатся на одну кривую 1 (рис. 7), которую можно представить формулой
(2)
Увеличение dAC до 250–630 мкм приводит к смещению кривой Pit в сторону больших значений (Sv Al/Sv AC). Ее зависимость (кривая 2 рис. 7) определяется выражением
(3)
В обоих случаях повышение отношения Sv Al /Sv AC ведет к снижению Pit.
Рис. 7. Изменение порогового давления воспламенителя от отношения площади поверхности частиц алюминия к площади поверхности гранул аммиачной селитры в единице объема смеси (Sv Al/Sv AC) для образцов с dAC = 20–40 мкм (кривая 1) и 250–630 мкм (кривая 2).
При использовании в смесях частиц горючего и окислителя с заметно различающимися размерами (250–630 мкм для аммиачной селитры и 2–8 мкм для алюминия марки АСД-4) мелкие гранулы в большом количестве могут располагаются в порах между крупными. В этом случае при малом содержании алюминия (8 вес.%) уменьшается площадь поверхности контакта между частицами металла и окислителя, ухудшается прогрев смеси, что приводит к увеличению времени возникновения послойного горения tb и длительности его протекания, что наблюдается в опытах № 695 и № 692 при замене мелких гранул селитры на крупные (кривые 1, 2 рис. 3).
При высоком содержании алюминия (47 вес.%) преобладающим для смеси с крупными частицами АС, вероятно, является влияние увеличенного значения отношения площадей поверхности частиц алюминия и селитры, Sv Al/Sv AC, которое приводит к улучшению прогрева смеси, снижению времен начала послойного и конвективного горения. Этот эффект регистрируется в опытах № 690 и № 669 (кривые 2, 1 рис. 4). Следует отметить, что в смесях с разным размером частиц аммиачной селитры при увеличении отношения Sv Al/Sv AC величина Pit стремится к ~1 МПа, а при его уменьшении до нулевого значения (отсутствие алюминия в смеси) – к ~33–60 МПа.
ЗАКЛЮЧЕНИЕ
В манометрической бомбе в смесях аммиачной селитры с алюминием насыпной плотности исследовано возникновение послойного горения и его переход в конвективное. Определены величины порогового (минимального) давления воспламенителя, при которых осуществляется их устойчивое поджигание, установлена их зависимость от состава смесей. Показано, что в большинстве случаев послойное горение начинается после сгорания воспламенителя на стадии падения давления. Измерены давления и времена, соответствующие возникновению послойного и конвективного горения. Установлены их зависимости от концентрации и марки алюминия, размера частиц аммиачной селитры. Показано, что замена сферических частиц алюминия марки АСД-4 на чешуйчатые марки ПАП-2 приводит к существенному (на порядок и более) уменьшению значений порогового давления, а также давлений, при которых начинаются послойный и конвективный режимы горения.
Работа выполнена за счет субсидирования, выделенного ФИЦ ХФ РАН на выполнение программы фундаментальных научных исследований РФ (тема № 122040500073-4).
About the authors
V. E. Khrapovskiy
Semenov Federal Research Center of Chemical Physics, Russian Academy of Sciences
Author for correspondence.
Email: khrapovsky@mail.ru
Russian Federation, Moscow
V. G. Khudaverdiev
Semenov Federal Research Center of Chemical Physics, Russian Academy of Sciences; Institute of Radiation Problem of the Ministry of Science and Education of the Republic of Azerbaijan
Email: khrapovsky@mail.ru
Russian Federation, Moscow; Baku, Azerbaijan
A. A. Sulimov
Semenov Federal Research Center of Chemical Physics, Russian Academy of Sciences
Email: khrapovsky@mail.ru
Russian Federation, Moscow
P. V. Komissarov
Semenov Federal Research Center of Chemical Physics, Russian Academy of Sciences
Email: khrapovsky@mail.ru
Russian Federation, Moscow
S. S. Basakina
Semenov Federal Research Center of Chemical Physics, Russian Academy of Sciences
Email: khrapovsky@mail.ru
Russian Federation, Moscow
References
- Prugh R.W. // Process Safety Progress. 39 (4), 12210 (2020). https://doi.org/10.1002/prs.12210
- Wes Y. // Winston-Salem Journal. 2022. February. № 7. P. 1.
- Belyaev A.F., Bobolev V.K., Korotkov A.I. et al. // Transition of Combustion of Condensed Systems into an Explosion (Nauka, Moscow, 1973) [in Russian].
- Belyaev A.F. Goreniya, Detonation, Rabota Vzryva of Condensed Systems (Nauka, Moscow, 1968) [in Russian].
- Khrapovskii V.E. // Russ. J. Phys. Chem. B 17(2), 439 (2023). https://doi.org/10.31857/S0207401X23030068
- Khrapovskii V.E., Khudaverdiev V.G., Sulimov A. A. // Goren. Vzryv. 6 (1), 211 (2013).
- Ermolaev B.S., Sulimov A.A., Khrapovskii V.E. et al. Russ. J. Phys. Chem. B 5(4), 640 (2011). https://doi.org/10.7868/S0207401X16020047
- Ermolaev B.S., Khudaverdiev V.G., Belyaev A.A., Sulimov A.A., Khrapovskii V.E., Russ. J. Phys. Chem. B 10(1), 42 https://doi.org/10.7868/S0207401X16020047
- Ermolaev B.S., Khudaverdiev V.G., Belyaev A.A. et al. // Goren. Vzryv. 13 (2), 80 (2020). https://doi.org/10.30826/CE20130209
- Ermolaev B.S., Khudaverdiev V.G., Belyaev A.A. // Goren. Vzryv. 8 (2), 234 (2015). https://doi.org/10.7868/S0207401X16020047
- TU (Technical Conditions) 1791-007-49421776-2011: Aluminum Powder ASD-4 (2011).
- GOST (State Standard) 5494-95: Aluminum Powder (2006).
- Dulnev G.N., Zarichnyak Yu.P, Teploprovodnost of mixtures and composite materials. Reference book. (Energy, Leningrad, 1974) [in Russian].
- G. Golub. J. Spacecraft. 2 (4), 593 (1965). https://doi.org/10.2514/3.28234
- L.H. Caveny, R.L. Glick J. Spaceraft. 4 (1), 79 (1967). https://doi.org/10.2514/3.28813
- N.N. Bahman, I.N. Lobanov. Fiz. Goreniya Vzryva. 10 (1), 46 (1983).
Supplementary files









