Mass Velocity Profiles for Non-Ideal Detonation of Mixtures of Nitromethane and Ammonium Perchlorate Overloaded with Aluminum. Measurements and Calculation
- Authors: Ermolaev B.S.1, Komissarov P.V.1,2, Basakina S.S.1,2, Lavrov V.V.3
-
Affiliations:
- Semenov Institute of Chemical Physics, Russian Academy of Sciences
- Joint Institute for High Temperatures, Russian Academy of Sciences
- Federal Research Center of Problems of Chemical Physics and Medicinal Chemistry, Russian Academy of Sciences
- Issue: Vol 43, No 3 (2024)
- Pages: 87-94
- Section: Combustion, explosion and shock waves
- URL: https://ogarev-online.ru/0207-401X/article/view/263297
- DOI: https://doi.org/10.31857/S0207401X24030096
- EDN: https://elibrary.ru/VFSEHY
- ID: 263297
Cite item
Full Text
Abstract
Earlier, by comparing the results of mathematical modeling with experimental data on the non-ideal detonation velocities of triple mixtures of nitromethane and ammonium perchlorate with aluminum excess, the rates of exothermic reactions and the consumption degree of components within the detonation wave reaction zone were determined. A quasi-one-dimensional model of steady detonation was used for calculations, in which all components have a common pressure and move with a common mass velocity, and exothermic conversion is carried out in three stages, which include decomposition of nitromethane and ammonium perchlorate and diffusion combustion of aluminum. To confirm the obtained results and the applicability of the relatively simple theoretical model, calculations of the mass velocity profile during detonation of one of the triple mixtures with 17% nitromethane have been carried out. The calculation results are in agreement with the measured mass velocity profile, concerning the shape of the profile, the amplitude and the rate of decrease of the mass velocity along the detonation reaction zone. A possible explanation of a “leaning” of the beginning portion of the mass velocity profile observed in experiments has been proposed, and an estimate of the rise time of the sensor signal is given, taking into account the calculated curvature of the shock front of the detonation wave.
Full Text
ВВЕДЕНИЕ
Трехкомпонентные смеси нитрометана (НМ) и перхлората аммония (ПХА), обогащенные алюминием (Al), представляют интерес для разработки композиций, обеспечивающих повышение эффективности взрывных волн за счет дожигания избытка алюминия в окружающей среде (воздух или вода). Ранее было показано [1–4], что эти смеси детонируют в неидеальном режиме со скоростями, которые значительно уступают идеальным скоростям детонации, получаемым в результате термодинамических расчетов. Неидеальный характер детонации связан со стадийностью экзотермического превращения смеси, в котором вслед за быстрой стадией превращения НМ следуют гораздо более медленная стадия превращения ПХА и еще более медленная стадия горения алюминия.
Наибольший интерес представляет доля ПХА, успевшего сгореть в пределах зоны реакции детонационной волны. Оценки, проведенные с использованием математического моделирования стационарной детонации [4], показали, что при соотношении Al/ПХА, равном 1 : 1, в пределах зоны реакции сгорает около половины ПХА, а при соотношении Al/ПХА 2 : 1 – около одной трети.
Получение информации о скоростях экзотермического превращения, которая необходима для моделирования неидеальной детонации много-компонентных смесей, является непростой задачей. Путем согласования результатов расчета с экспериментальными данными по зависимости скорости детонации от диаметра заряда можно получить значения только двух коэффициентов, входящих в уравнение скорости экзотермического превращения. Это, в принципе, достаточно для одностадийной реакции, однако если экзотермическое превращение включает несколько стадий, то требуется дополнительная информация. Такие сведения можно, например, получить, анализируя с помощью математического моделирования экспериментальные данные по детонации отдельных компонентов смеси.
Результаты математического моделирования неидеальной детонации тройных смесей НМ/ /ПХА/Al, в которых алюминий взят с большим избытком, приведены в работе [4]. Использована модель, в которой все компоненты имеют общее давление и движутся с общей массовой скоростью, а экзотермическое превращение смеси протекает в три стадии, включающих разложение НМ и ПХА и диффузионное горение алюминия. Значения констант скоростей превращения НМ и ПХА определялись из наилучшего согласия расчетов с экспериментами по зависимости скорости детонации от диаметра заряда для двойной смеси НМ c содержанием ПХА 54%. Показатели степени по давлению были положены равными единицы. Константа скорости диффузионного горения алюминия была выбрана по результатам анализа экспериментов по скорости детонации смесей ПХА с алюминием. Показатель степени по давлению был положен равным нулю. Расчеты дали хорошие согласие с опытными данными по скорости детонации тройных смесей в стальных оболочках диаметром 18 мм с варьированием в широком диапазоне содержания НМ и соотношения ПХА/ /алюминий.
Применение сравнительно простой теоретической модели для описания детонации сложной трехкомпонентной смеси со стадийным превращением компонентов ставит задачу получения дополнительных результатов, подтверждающих модель и сведения, полученные с ее помощью. В данной статье представлен следующий этап исследований, который связан с получением и анализом профиля массовой скорости при детонации смесей НМ/ПХА/Al. Профиль массовой скорости, измеряемый с помощью электромагнитной методики, является одной из важнейших характеристик волны неидеальной детонации. Темп спада массовой скорости по мере удаления от ударного фронта волны непосредственно связан со скоростью экзотермического превращения ВВ. Согласие расчетов с измерениями профиля массовой скорости будет служить дополнительным аргументом, повышающим доверие к методике и оценкам скоростей экзотермического превращения компонентов смеси, которые были получены в работе [4].
Ниже приводятся результаты измерений профиля массовой скорости при детонации тройной смеси НМ/ПХА/Al. Далее рассмотрены результаты теоретических расчетов и рассчитанный профиль массовой скорости сравнивается с экспериментом. В конце статьи даются краткое обсуждение полученных результатов и выводы исследования.
ЭКСПЕРИМЕНТ
Электромагнитный метод измерения массовой скорости широко применяется для изучения детонации конденсированных ВВ, определения параметров ударных волн и волн разгрузки [5–9]. Метод основан на возникновении ЭДС в проводнике, движущемся в магнитном поле. Датчик представляет собой П-образную полоску из тонкой алюминиевой фольги, которая размещается в исследуемом взрывчатом материале таким образом, чтобы рабочее плечо датчика, являющееся чувствительным элементом, было направлено строго параллельно фронту детонационной волны и силовым линиям магнитного поля. При прохождении детонационной волны датчик вовлекается в движение вместе с продуктами взрыва. Электродвижущая сила, возникающая в датчике в результате пересечения магнитных силовых линий, изменяется пропорционально скорости движения датчика, которая полагается равной массовой скорости вещества.
Опыты проводились в экспериментальной установке, схема которой приведена на рис. 1. Исследуемая смесь помещалась в полипропиленовую трубу (внутренний диаметр – 21.2 или 31.4 мм, длина – 370 мм). Инициатор состоял из капсюля-детонатора и навески аммонита № 6ЖВ насыпной плотности, который занимал 40 мм длины трубы у открытого торца. Для измерения скорости детонации служили пять оконтактных датчиков, которые устанавливались в углублениях в оболочке ближе к дальнему от инициатора торцу трубы на расстоянии 20 мм друг от друга. К этому торцу трубы прикреплялась секция в виде отрезка трубы длиной 30 мм; в ней размещались два электромагнитных датчика, изготовленные из алюминиевой фольги толщиной 150 мкм с чувствительным участком (плечом) размерами 10 × 10 мм. Датчики располагались один над другим строго по центру на расстоянии 20 мм друг от друга. Первый датчик, ближайший к торцу трубы, служил для измерения массовой скорости. Второй датчик использовался для контроля скорости детонации. Пустая часть секции заполнялась исследуемой смесью.
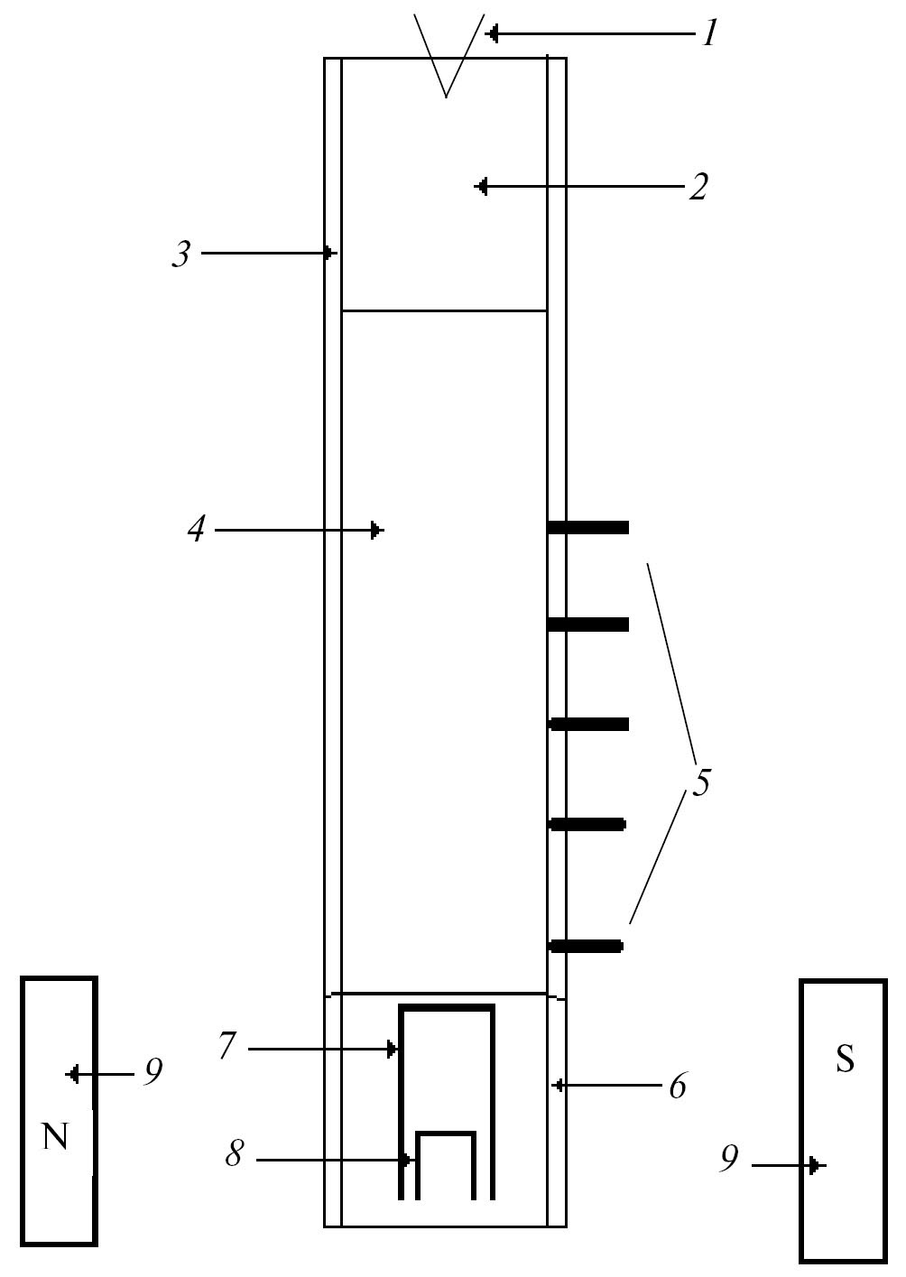
Рис. 1. Схема электромагнитной методики измерения массовой скорости при детонации конденсированных ВВ: 1 – капсюль-детонатор, 2 – промежуточный детонатор, 3 – трубка, 4 – исследуемый образец ВВ, 5 – электро-контактные датчики для измерения скорости детонации, 6 – секция c электромагнитными датчиками, 7 – первый датчик для измерения массовой скорости, 8 – второй датчик для контроля скорости детонации, 9 – полюса электромагнита.
В одном сечении с пятым контактным датчиком, который располагался на расстоянии 15 мм от торца трубы и использовался для измерения скорости детонации, размещался еще один контактный датчик. который служил для запуска осциллографа, регистрирующего ЭДС, Последний возникает на контактных клеммах электромагнитных датчиков при их движении в поле электромагнита. Система регистрации обеспечивала измерение ЭДС с частотой дискретизации 500 МГц. Ширина полосы пропускания – 200 МГц. Диаметр наконечников полюсов электромагнита равен 220 мм, зазор между полюсами – 600 мм, напряженность магнитного поля – 400 Э, неоднородность поля на расстоянии в пределах 100 мм от оси не превышала 1.5%. Погрешность измерений массовой скорости согласно оценке составляет около 5%.
Большое количество алюминия в исследуемых смесях могло привести к искажениям сигнала из-за появления проводимости и налипания расплавленных частиц алюминия на рабочее плечо датчика. Чтобы по возможности избежать этих эффектов, дюралюминиевые датчики покрывали лаковым изоляционным слоем. Опыты показали, что такие датчики позволяют получить вполне интерпретируемые профили массовой скорости. На рис. 2 приведены примеры записей, которые были получены при детонации смеси плотностью 1.1 г/см3, содержащей 17% НМ при отношении ПХА/Al 1 : 1. В двух опытах использовались полипропиленовые трубы диаметром 21.2 и 31.4 мм (толщина стенок – 5.4 и 3.8 мм соответственно), в третьем опыте – труба из нержавеющей стали (внутренний диаметр – 32 мм, толщина стенок – 1.2 мм).
Рис. 2. Измеренные профили массовой скорости при детонации смеси 17% НМ + ПХА/Al (1 : 1) плотностью 1.1 г/см3. Использовали тонкостенные полипропиленовые трубы внутренним диаметром 21.45 (1) и 31.84 мм (2), а также трубу из нержавеющей стали (3).
Во всех трех опытах скорость детонации составляла ≈3000 м/с. Передний фронт массовой скорости имел характерный “завал” длительностью 0.3–0.5 мкс. Максимальное значение амплитуды массовой скорости находится в диапазоне 1260–1380 м/с. После достижения максимума массовая скорость снижается по мере удаления от фронта волны с темпом, который составил 160–200 м/с за 1 мкс для опытов в полипропиленовых трубах и около 100 м/с за 1 мкс для опыта в оболочке из нержавеющей стали. Профили на этом участке имеют слабую выпуклость вниз без характерных для идеальных ВВ изломов, которые, как считается, ограничивают зону реакции детонационной волны. Обычная длительность записи без искажений составляла около 4 мкс.
МАТЕМАТИЧЕСКОЕ МОДЕЛИРОВАНИЕ
Для расчетов применялась квазиодномерная модель стационарной неидеальной детонации, разработанная для односкоростной двухфазной реагирующей среды и подробно представленная в ряде публикаций [3, 10–12]. При анализе тройных смесей НМ/ПХА/Al предполагалось, что экзотермическое превращение включает три стадии: разложение НМ и ПХА и диффузионное горение алюминия. В работе [4] путем анализа результатов моделирования и сравнения расчетов с экспериментальными данными по зависимости скорости детонации от условий опыта определены константы скоростей экзотермического превращения для всех трех стадий.
В уравнения для скоростей химического превращения НМ и ПХА включены массовая доля компонента (η) и давление:
(1)
Здесь ρ0 – теоретическая максимальная плотность исходного компонента, η0 – его начальная массовая доля в смеси. Параметр Pr введен для удобства, чтобы коэффициент G имел размерность с–1 независимо от величины n, и выбран равным 1 ГПа.
Для обеих реакций показатель степени по давлению, n, принят равным единице, показатель дегрессивности горения, k, принят равным 2/3 для ПХА и 0.3 для НМ. Для диффузионного горения частиц алюминия показатели n = 0 и k = 2/3. Уравнение скорости горения, как следует из [13], включает прямо пропорциональную зависимость от концентрации окисляющих агентов, образующихся в ходе превращения НМ и ПХА. Для смесей, приготовленных на основе ПХА с размером частиц 40 мкм, получены следующие значения коэффициента G для стадий разложения НМ, ПХА и горения алюминия: 0.2, 0.03 и 0.25 мкс–1 соответственно. Расчеты, проведенные при этих значениях коэффициентов G, дали хорошее согласие по скорости детонации смесей НМ/ПХА/Al с различным соотношением компонентов в прочных стальных оболочках.
Проблема, однако, состоит в том, что из-за трудностей, связанных с равномерным заполнением исследуемой смесью секции с электромагнитными датчиками, опыты с измерением профиля массовой скорости проводились при гораздо более низкой плотности смеси, которая составила 1.1 г/см3, вместо 1.48 г/см3, как в опытах в прочных стальных оболочках, когда измерялась только скорость детонации. Значительное увеличение пор, заполненных воздухом, может привести к появлению максимума на зависимости скорости детонации от плотности смеси, как это наблюдалось, к примеру, при детонации чистого ПХА [14]. Чтобы воспроизвести этот эффект при численном моделировании, нужно будет подбирать новые значения коэффициентов G для скорости превращения ПХА или НМ.
На рис. 3 приведены экспериментальные данные по зависимости скорости детонации смеси 17% НМ + Al/ПХА (1 : 1) от плотности в интервале ее значений от 0.92 до 1.37 г/см3. Опыты проводились в полипропиленовых трубах внутренним диаметром 32.4 мм. Несмотря на значительный разброс, в результатах измерений, превышающий 100 м/с отчетливо видно, что на зависимости скорости детонации от плотности имеется максимум при плотности около 1.14 г/см3. На графике наличие максимума показано двумя штриховыми линиями. Кроме того, спад скорости детонации при увеличении плотности от 1.14 г/см3 до 1.37 г/см3 подтверждается опытами, которые проводились для смеси, содержащей 20.5% НМ. Результаты этих опытов и расчетов, выполненных с константами скоростей экзотермического превращения компонентов смеси 17% НМ + Al/ПХА (1 : 1), полученными в [4], также приведены на рис. 3. Использована версия модели с плоским фронтом, в которой течение в зоне реакции дивергентно благодаря боковому расширению оболочки, осуществляющемуся в инерционном режиме. При плотности смеси 1.36 г/см3 рассчитанная скорость детонации составила 2600 м/с, что попадает в диапазон измеренных значений. Однако при уменьшении плотности смеси рассчитанная скорость детонации, естественно, снижается, тогда как экспериментальные значения растут.
Рис. 3. Зависимость скорости детонации от плотности смеси полипропиленовые трубы внутренним диаметром 32.4 мм, толщина стенок – 3.8 мм: – опытные данные для смеси 17% НМ + Al/ПХА (1 : 1); – опытные данные для смеси 20.5% НМ + Al/ПХА (1 : 1); – расчет с коэффициентами G, взятыми из [4] (0.2, 0.03 и 0.25 мкс–1 для скоростей разложения НМ, ПХА и горения алюминия соответственно); – расчет с коэффициентами G, равными 0.28, 0.06 и 0.25 мкс–1
Чтобы получить согласие расчетов с экспериментом при плотности смеси 1.1 г/см3, значения коэффициентов G взяли равными 0.28, 0.06 и 0.25 мкс–1. Рассчитанная скорость детонации совпала с измеренной, составив 2960 м/с. При дальнейшем снижении плотности рассчитанная скорость детонации падает приблизительно так же, как в эксперименте.
Полученные значения коэффициентов G были использованы для расчетов профиля массовой скорости. Расчеты проводили с помощью версии модели с искривленным фронтом волны. Зависимость кривизны фронта от скорости детонации, рассчитанная для смеси 17% НМ + Al/ПХА (1 : 1) при плотности 1.1 г/см3, приведена на рис. 4. Кривизна фронта при скорости детонации 2900 м/с составила 53.6 м–1. Соответственно, радиус кривизны фронта детонационной волны, равный обратной величине кривизны, умноженной на 2, равен 37 мм.
Рис. 4. Зависимость кривизны фронта от скорости детонации. Расчет для смеси 17% НМ + Al/ПХА (1 : 1) при плотности 1.1 г/см3.
Анализируя причины “завала” фронта на экспериментальном профиле массовой скорости, мы убедились, что наблюдаемый эффект не связан с системой регистрации. Наиболее вероятной причиной является неодновременный приход ударного фронта детонационной волны на плечо датчика с отставанием по длине плеча из-за кривизны ударного фронта. Зная радиус кривизны фронта (37 мм) и длину плеча датчика (10 мм), получим, что отставание ударного фронта на длине плеча составляет 1.5 мм, что при скорости детонации около 3000 м/с дает для характерного времени нарастания сигнала оценку в 0.5 мкс. Примерно такую величину имеет “завал” фронта на экспериментальных записях массой скорости, которые приведены на рис. 2.
Профиль массовой скорости, рассчитанный при скорости детонации 2900 м/с, приведен на рис. 5. Там же для сравнения дан профиль массовой скорости, полученный в эксперименте. Скорость детонации, измеренная в этом опыте, составила 2990 м/с. В расчете мы использовали несколько меньшее значение: 2900 м/с, которое лучше согласуется с измерениями скорости детонации при плотности 1.1 г/см3, приведенными на рис. 3.
Рис. 5. Сравнение профилей массовой скорости, измеренной (1) и рассчитанной (2) по версии модели с искривленным фронтом. Смесь 17% НМ + Al/ПХА (1 : 1), полипропиленовая оболочка диаметром 32.4 мм, толщина стенок – 3.8 мм, плотность образца – 1.1 г/см3. Скорость детонации в опыте составляла 2990 м/с, в расчете – 2900 м/с.
Видно, что рассчитанный профиль, как и его экспериментальный аналог, имеет слабую вогнутость. Средний спад массовой скорости равен 160 м/с за 1 мкс, а расхождение между профилями не выходит за пределы погрешности измерений. Рассчитанное значение массовой скорости на ударном фронте волны равно 1540 м/с; давление на фронте составляет около 5 ГПа. Полное время вдоль зоны реакции от ударного фронта до поверхности Чепмена–Жуге, полученное в расчете, равно ≈ 5 мкс. Таким образом, расчеты позволяют сделать вывод, что измеренный профиль массовой скорости целиком приходится на зону реакции детонационной волны.
ОБСУЖДЕНИЕ РЕЗУЛЬТАТОВ
Ранее в работе [4] был выполнен теоретический анализ неидеальной детонации тройных смесей НМ/ПХА/Al, содержащих избыток алюминия. Анализ позволил оценить степень превращения компонентов в пределах зоны реакции детонационной волны и определить скорости экзотермических реакций. Вместе с тем при использовании сравнительно простой теоретической модели, в которой все компоненты движутся с общей массовой скоростью и имеют общее давление, а экзотермическое превращение осуществляется в три стадии, которые включают разложение НМ и ПХА и диффузионное горение алюминия, необходимо получать дополнительные данные, которые могли бы служить подтверждением модели и полученных с ее помощью результатов.
В данной статье приведены результаты измерений профиля массовой скорости детонационной волны в тройной смеси 17% НМ + Al/ПХА (1 : 1) и дан их теоретический анализ. Трудность анализа состояла в том, что опыты проводились в тонкостенных полипропиленовых трубах при существенно более низкой плотности смеси (1.1 г/см3) по сравнению с той (1.48 г/см3), при которой проводились опыты и определение скоростей превращения компонентов в работе [4]. Измерения скорости детонации, проведенные при различной плотности смеси в диапазоне ее значений от 0.92 до 1.37 г/см3, показали, что зависимость проходит через максимум при плотности около 1.14 г/см3. Поскольку теоретически при неизменных коэффициентах скорости экзотермического превращения уменьшение плотности приводит к уменьшению скорости детонации, становится очевидным, что при плотности 1.1 г/см3, т.е. вблизи максимума, на зависимости скорости детонации от плотности, скорость превращения компонентов должна быть выше, чем определенная ранее в [4].
После соответствующей корректировки коэффициентов G для скоростей разложения НМ и ПХА, проведенной путем согласования расчетов с измерениями скорости детонации при плотности смеси 1.1 г/см3, были проведены расчеты кривизны ударного фронта волны и профиля массовой скорости применительно к экспериментальным данным при скорости детонации 2900 м/с. Рассчитанный профиль по форме, амплитуде и темпу спада массовой скорости по мере удаления от фронта волны согласуется с экспериментальной кривой. Рассчитанное время вдоль зоны реакции от ударного фронта до поверхности Чепмена–Жуге составляет около 5 мкс. Это означает, что экспериментальный профиль целиком приходится на зону реакции детонационной волны.
Различие в профилях имеет место на переднем фронте волны, где в опыте наблюдается “завал” длительностью около 0.3–0.5 мкс. По оценке, выполненной с использованием значения радиуса кривизны фронта, рассчитанного для скорости детонационной волны в 2900 м/с, время формирования полноценного сигнала составляет 0.5 мкс.
ВЫВОДЫ
1. Измерен профиль массовой скорости при неидеальной детонации тройной смеси 17% НМ + + Al/ПХА (1 : 1), заключенной в тонкостенные трубы из полипропилена или нержавеющей стали.
2. Профиль массовой скорости, рассчитанный для данной смеси с помощью стационарной квазиодномерной модели неидеальной детонации, согласуется с экспериментальной кривой по форме, амплитуде и темпу спада массовой скорости по мере удаления от переднего фронта волны.
3. Результаты расчета использованы для оценки времени “завала” переднего фронта на экспериментальном профиле массовой скорости, вызванного кривизной фронта волны.
Работа выполнена при финансовом содействии Российского фонда фундаментальных исследований (проект № 20-08-00654).
About the authors
B. S. Ermolaev
Semenov Institute of Chemical Physics, Russian Academy of Sciences
Author for correspondence.
Email: boris.ermolaev44@mail.ru
Russian Federation, Moscow
P. V. Komissarov
Semenov Institute of Chemical Physics, Russian Academy of Sciences; Joint Institute for High Temperatures, Russian Academy of Sciences
Email: boris.ermolaev44@mail.ru
Russian Federation, Moscow; Moscow
S. S. Basakina
Semenov Institute of Chemical Physics, Russian Academy of Sciences; Joint Institute for High Temperatures, Russian Academy of Sciences
Email: boris.ermolaev44@mail.ru
Russian Federation, Moscow; Moscow
V. V. Lavrov
Federal Research Center of Problems of Chemical Physics and Medicinal Chemistry, Russian Academy of Sciences
Email: boris.ermolaev44@mail.ru
Russian Federation, Chernogolovka
References
- Komissarov P.V., Sokolov G.N., Ermolaev B.S., Borisov A.A. // Russian Journal of Physical Chemistry B. 2011. V. 5. № 3. P. 502–512.
- B.S. Ermolaev, P.V. Komissarov, G.N. Sokolov, A.A. Borisov // Russian Journal of Physical Chemistry B. 2012. V. 6. № 5. P. 613–625.
- Komissarov P.V., Sulimov A.A., Ermolaev B.S. et al. // Russian Journal of Physical Chemistry B. 2020. V. 14. № 4. P. 618–624.
- Ermolaev B.S., Komissarov P.V., Basakina S.S., Lavrov V.V. Otsenka skorostei ekzotermitcheskich reaktsii pri neidealnoi detonatsii troinych smesei nitrometan/ perchlorate ammoniya/ aluminii // Kchimitcheskaya Fizika, 2022, accepted for publication.
- Zaitsev V.M., Pochil P.F., Shvedov K.K. // Doklady АN SSSR. 1960. V. 132. № 6. P. 1339–1340.
- Zubarev V.N. // PMTF. 1965. № 2. P. 54–58.
- Dremin А.N., Savrov S.D., Trofimov V.S., Shvedov K.K. Detonatsionnye volny v kondensirovannych sredach // М.: Nauka, 1970. 169 P.
- Vorthman J., Andrews G., Wakerle J. // Proceedings of the 8-th Int. Symposium on Detonation, 1985, Albuquerque, N.M., DTIC ADA247997, Р. 99–110.
- Martynuk V.F., Sulimov А.А., Dubovitskii V.F. // Combustion, Explosion, and Shock Waves. 1981. V. 17. № 4. P. 136–140.
- Ermolaev B.S., Khasainov B.A., Presles N., Vidal P. // Proc. Second European Combustion Meeting, ECM. 2005. Louvain-la-Neuve, Belgium, CD ROM: ECM-2005.
- Ermolaev B.S., Sulimov A.A. Convective Burning and Low-Velocity Detonation in Porous Media // Destech Publ., 2019, endorsed by IBS, 335 P.
- Ermolaev B.S., Shevehenko A.A., Dolgoborodov A.Y., Maklashova I.V. // Russian Journal of Physical Chemistry B. 2019. V. 13. № 1. P. 145–155.
- Beckstead M.W. A summary of aluminum combustion // Internal aerodynamics in solid rocket propulsion, Rhode-Saint-Genese, Belgium, 2004. RTO-EN-023, P. 5-1–5-45.
- D. Price, A.R. Clairmont Jr., I. Jaffe // Combustion and Flame. 1967. V. 11. Issue 5. Р. 415–425.
Supplementary files







