Моделирование изотерм адсорбции воды на клиноптилолите
- Authors: Иванов И.В.1
-
Affiliations:
- Российский государственный аграрный университет – Московская сельскохозяйственная академия им. К. А. Тимирязева
- Issue: Vol 98, No 10 (2024)
- Pages: 92–96
- Section: PHYSICAL CHEMISTRY OF DISPERSED SYSTEMS AND SURFACE PHENOMENA
- Submitted: 09.03.2025
- Accepted: 09.03.2025
- Published: 11.10.2024
- URL: https://ogarev-online.ru/0044-4537/article/view/282910
- DOI: https://doi.org/10.31857/S0044453724100147
- EDN: https://elibrary.ru/EATJEG
- ID: 282910
Cite item
Full Text
Abstract
В рамках термодинамического подхода построена изотерма адсорбции паров воды на клиноптилолите в диапазоне относительной влажности воздуха от 0 до 1 при физически допустимых значениях параметров системы. Отмечено, что изотерма имеет характерную точку перегиба в области средней влажности, что позволяет отнести ее к изотермам четвертого типа, имеющим при определенных значениях параметров системы петлю гистерезиса. Сделан вывод, что полученная модельная изотерма описывает адсорбцию в мезопористых материалах, какими и являются применяемые в агрохимической практике иониты, и вполне соответствует экспериментальной изотерме адсорбции данного типа.
Keywords
Full Text
Ионообменные материалы (иониты) используются в сельском хозяйстве для приготовления субстратов для полноценного и долговременного питания растений. Основные питательные элементы в связанной форме содержатся в ионогенных группах ионита. Степень диссоциации этих групп, а, следовательно, выход ионов в почву зависят от влагосодержания ионита. В случае затяжных дождей или длительной засухи ионообменные свойства ионита будут разными. Поэтому изучение адсорбции воды в таких ионитах – задача достаточно актуальная.
В середине прошлого века начались исследования по получению и применению полноценных питательных сред для растений на основе ионообменных материалов (ионитов) [1]. Разработанные цеолитные субстраты содержат полный комплект необходимых растению биогенных элементов в виде ионов, сорбированных природным цеолитом – клиноптилолитом. Предпосылкой для использования таких питательных сред является высокая концентрация питательных элементов в субстратах в сочетании с безопасной для растений концентрацией равновесных растворов и отсутствием в них нитратов. Весь азот в них находится в аммонийной форме [2]. Таким образом, основные питательные элементы в связанной форме содержатся в ионогенных группах ионита. Степень диссоциации этих групп, а, следовательно, выход ионов в почву зависят от влагосодержания ионита. В случае затяжных дождей или длительной засухи ионообменные свойства ионита будут разными. Поэтому изучение адсорбции воды в таких ионитах – задача достаточно актуальная.
В настоящее время не существует единого общего уравнения, адекватно описывающего изотерму адсорбции вещества из газовой фазы на поверхность с определенными свойствами во всем диапазоне относительных давлений сорбируемого газа, т. е. от 0 до 1. Для описания изотерм полислойной адсорбции газов на непористых, мезопористых и микропористых поверхностях твердых тел используются различные уравнения, причем для разных диапазонов относительных давлений уравнения тоже могут отличаться [3].
Адекватное описание адсорбции паров воды ионитами возможно лишь на основе моделей, учитывающих специфическую особенность ионита – взаимосвязь между количеством поглощенной воды и диссоциацией ионогенных групп [4–12]. С одной стороны, увеличение содержания воды способствует усилению гидратации, а, следовательно, и диссоциации ионогенных групп. С другой стороны, имеет место осмотический эффект – зависимость влагосодержания от степени диссоциации. Такая взаимная зависимость определяет вид изотерм адсорбции (зависимость количества поглощенной воды от относительной влажности воздуха). Как отмечалось в работах [12–14], при некоторых параметрах системы на изотермах адсорбции появляются скачкообразные участки – резкое увеличение влагосодержания ионита. Эти критические явления на экспериментальных изотермах адсорбции-десорбции проявляются в виде петель гистерезиса и в указанных работах объяснены на основании модели, учитывающей взаимное влияние изменения энергии диссоциации ионогенных групп и осмотического эффекта.
В настоящей работе в рамках термодинамического подхода, подробно изложенного в [14], построены изотермы адсорбции паров воды в ионитах в диапазоне относительной влажности воздуха от 0 до 1 при физически допустимых значениях параметров системы. Адекватность этих параметров обоснована сравнением теоретических и экспериментальных изотерм адсорбции воды на клиноптилолите [15]. Данный подход позволяет моделировать изотермы адсорбции для различных образцов с различными параметрами матрицы ионита.
Теоретический анализ
Модель адсорбции паров воды в ионитах построена посредством минимизации полного термодинамического потенциала системы, состоящей из твердого ионита, адсорбированных на поверхности его пор молекул воды и ионов, перешедших в жидкую фазу в результате диссоциации ионогенных групп [14]:
где Ф0 – термодинамический потенциал стандартного состояния, в качестве которого взят ионит, содержащий молекулы воды, непосредственно взаимодействующие с его гидрофильными центрами; ФW – изменение потенциала при последующей конденсации воды; ФI – потенциал ионной подсистемы, связанный с диссоциацией ионогенных групп и формированием их гидратных оболочек, образованием раствора, состоящего из гидратированных ионов и свободной воды, а также энтропийным вкладом, обусловленным различными конфигурациями в размещении диссоциированных и недиссоциированных ионогенных групп на поверхности пор ионита и ионов в растворе; ФE – потенциал, связанный с упругой деформацией стенок пор при влагопоглощении. В отличие от предыдущих моделей, данная модель точнее учитывает энергию диссоциации ионогенных групп: учтены дебаевское экранирование, поверхностный заряд, ион-дипольное взаимодействие при сорбции полярных молекул. Вклад этих факторов наиболее существен в области малых и средних влажностей.
Не вдаваясь в детали расчета, подробно изложенного в работе [14], приведем систему уравнений, описывающую адсорбцию молекул воды на поверхности ионообменного материала:
В систему входят следующие параметры: P/Ps – относительная влажность воздуха, где P – парциальное давление водяного пара, Ps – давление насыщенного водяного пара при данной температуре; β = NW /N – степень влагосодержания, β0 = NW0/N – условное число гидратации ионогенных групп, где N – количество ионогенных групп, фиксированных на поверхности пор ионита, NW0 – число молекул воды, входящих в первичные гидратные оболочки ионогенных групп, NW – полное количество молекул воды, адсорбированных образцом ионита; α – степень диссоциации ионогенных групп; n – условное число гидратации ионов в однокомпонентном растворе; T – абсолютная температура, выраженная в энергетических единицах; ED = E0 + EEL – энергия диссоциации ионогенных групп, включающая энергию отрыва иона от поверхности поры (E0) и изменение его электростатической энергии (EEL); Uβ = 1/2∂(Uβ2)/∂β, где UTβ2/2 – энергия упругой деформации стенки поры в расчете на одну ионогенную группу, U = 6(VW/VP)2, VW – объем молекулы воды, VP – объем участка поры, приходящегося на одну ионогенную группу. В работе [14] рассматривались органические иониты с достаточно упругим полимерным каркасом. Однако они не соответствуют санитарно-гигиеническим требованиям и запрещены для введения в почву [2]. В агрохимической практике применяют цеолиты – неорганические иониты с жесткими, практически недеформируемыми в процессе влагопоглощения порами, например, клиноптилолит. По этой причине изменение энергии упругой деформации стенок пор учитываться не будет.
Предельные переходы переводят эту систему в стандартные соотношения: при большом влагосодержании ∂(αED)/∂α → Е0, ∂ED /∂β → 0, уравнение (1) переходит в соотношение, описывающее равновесное давление пара над раствором в зависимости от концентрации [16], а формула (2) – в закон действующих масс [17]. В представленном виде уравнения (1) и (2) позволяют определить не только объемные равновесные значения α и β, но и исследовать их изменение в тонких пленках сорбированной воды.
Рассчитанная в [14] энергия диссоциации ионогенных групп имеет вид
(3)
где и – безразмерные величины, включающие следующие параметры: q – заряд иона, s – площадь поверхности, приходящаяся на одну ионогенную группу, ε – диэлектрическая проницаемость раствора; f = (ε – ε1)/(ε + ε1), ε1 – диэлектрическая проницаемость стенок ионита; δq – эффективный заряд противоположных сторон диполя – полярной молекулы воды (δ ~ 0.1).
В этом выражении второе слагаемое содержит объемный вклад в энергию от экранирующего облака и вклад зарядов, индуцированных в твердом диэлектрике; третье слагаемое – вклад заряженной поверхности; четвертое слагаемое – энергия взаимодействия иона со своей гидратной оболочкой (ион-дипольное взаимодействие).
Зависимость (3) справедлива для всех физически допустимых значений параметров влагосодержания и степени диссоциации. Даже для предельно низких значений влагосодержания, когда идет формирование гидратных оболочек оторвавшихся от поверхности пор ионов, можно получить адекватный результат, задав зависимость числа гидратации от влагосодержания n(β). Поэтому данную формулу можно использовать во всем диапазоне относительной влажности воздуха.
Обсуждение результатов
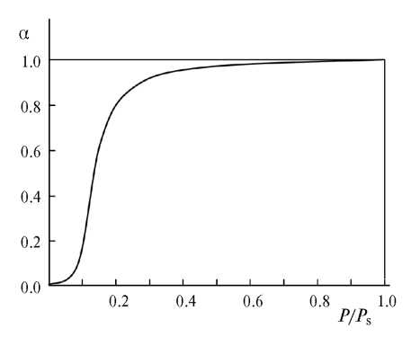
Численное решение системы (1), (2) с учетом (3) позволяет построить изотерму адсорбции водяного пара на поверхности ионита – зависимость β(P/Ps), рис. 1, а также найти зависимость степени диссоциации ионогенных групп от влажности воздуха α(P/Ps), рис. 2. При построении этих зависимостей использованы следующие значения параметров системы:
q = 4.8×10–10 ед. СГСЭ, ε = 79, ε1 = 4, VW = = 3×10–23 см3, s = 1.2×10–15 см2, n = 4, U = 0, β0 = 2, K0 = exp(–E0/T) = 1.2 при температуре t = 22°C.
Рис. 1. Зависимость β(P/Ps).
Рис. 2. Зависимость α(P/Ps).
Изотерма, изображенная на рис. 1, имеет точку перегиба в области средних значений влажности и относится к четвертому типу, свойственному для адсорбции в мезопористых материалах [3], какими, собственно, и являются применяемые в агрохимической практике иониты. Кружками обозначены экспериментальные точки, полученные в работе [15] на образцах клиноптилолита – природного цеолита с катионобменной емкостью 1.17 ммоль/г при температуре 22°C в диапазоне относительной влажности 0.11–0.98. Средний диаметр пор образцов составлял порядка 11 нм, что в соответствии с общепринятой классификацией [3] позволяет отнести их к мезопористым материалам. Следует отметить, что хорошее соответствие теоретических и экспериментальных значений в этом диапазоне при вполне реалистичных параметрах системы подтверждает адекватность предложенной модели. Участки экспериментальной изотермы в работе [15] описаны следующим образом. При малых значениях относительной влажности (P/Ps < 0.2) основной вклад вносит ион-дипольное взаимодействие молекул воды с отрицательно заряженными участками матрицы ионита и оторвавшимися от ионогенных групп катионами. Действительно, в соответствии с данной моделью отрицательно заряженные участки на поверхности пор возникают при диссоциации ионогенных групп катионобменного материала. В диапазоне 0.2–0.7 рост влагосодержания идет медленно, что, по мнению авторов [15], обусловлено формированием мономолекулярного слоя воды на поверхности пор. На наш взгляд, кроме указанного процесса в данном диапазоне происходит окончательное формирование гидратных оболочек оторвавшихся от ионогенных групп катионов, что дополнительно замедляет сорбционный процесс. В области высоких влажностей (P/Ps > 0.7) влагосодержание ионита растет довольно быстро, а при P/Ps ~ 0.9–1.0 происходит полное затопление пор, и адсорбция прекращается. В соответствии с предложенной в данной работе моделью быстрый рост влагосодержания ионита может быть объяснен осмотическим эффектом: с ростом концентрации ионов в растворе усиливается влагопоглощение на его поверхности.
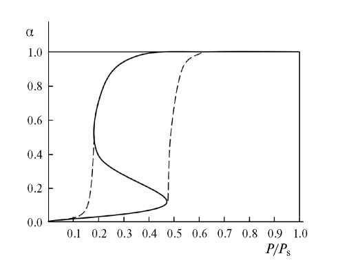
Как указано в [4], для изотерм данного типа экспериментально обнаружен гистерезис, причем как в области высоких, так и низких значений активности сорбируемых молекул. Полученная модельная изотерма тоже “допускает” подобное критическое явление. Действительно, меняя параметры ионита, например, s или β0, можно получить характерные скачкообразные участки на изотерме при высоких, а также и при низких значениях относительной влажности воздуха. Такие ситуации могут возникнуть, например, в ионитах со слабой гидратацией поверхностных ионогенных групп или с редко размещенными ионогенными группами. На рис. 3 представлена модельная изотерма адсорбции (сплошная кривая) для ионита с редко размещенными ионогенными группами (s = 4.8×10–15 см2), имеющая характерный s-образный участок в области низких и средних значений влажности. Пунктирные линии показывают, как можно интерпретировать данный участок на практике: правая пунктирная линия соответствует ветви адсорбции, а левая – десорбции.
Рис. 3. Зависимость β(P/Ps) с гистерезисом.
В рамках предложенной модели гистерезис на изотермах адсорбции можно объяснить взаимосвязью между количеством поглощенной воды и диссоциацией ионогенных групп. С одной стороны, увеличение содержания воды способствует усилению гидратации, а, следовательно, и диссоциации ионогенных групп. С другой стороны, имеет место осмотический эффект – зависимость влагосодержания от степени диссоциации. При наличии такой взаимной зависимости возможна ситуация, когда флуктуационное увеличение влагосодержания усиливает диссоциацию ионогенных групп, что в силу осмотического эффекта приводит к переходу дополнительных молекул воды в фазу ионита и резкому увеличению толщины пленки адсорбированной воды.
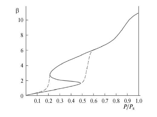
Если изотерма адсорбции имеет гистерезис, то он проявится также и в зависимости степени диссоциации ионогенных групп от влажности воздуха α(P/Ps), рис. 4. Для ионитных субстратов это явление нежелательное, поскольку скачкообразный выброс ионов в почву в результате резкой диссоциации ионогенных групп или, напротив, резкое выведение ионов из почвы в результате ассоциации (восстановления) ионогенных групп негативно действуют на растения.
Рис. 4. Зависимость α(P/Ps) с гистерезисом.
“Некритическая” зависимость α(P/Ps), рис. 2, дает возможность оценить выход полезных для растений ионов в почву. При низких значениях влажности ионогенные группы диссоциированы слабо, и ионы в почву не выходят. При P/Ps ~ 0.3–0.4 диссоциирует около 90% ионогенных групп. То есть в области средних и высоких влажностей почти все ионогенные группы диссоциированы. Однако наиболее эффективно ионы могут выходить в почву и усваиваться растениями только при практически полном затоплении пор ионита. На рис. 1 эта область соответствует P/Ps ~ 0.9–1.0 – это по существу “рабочий” диапазон влажности для цеолитов, входящих в состав почвенных субстратов. Другими словами, только сильно увлажненный цеолитный почвенный субстрат может доставлять растениям необходимые питательные элементы. Это ограничивает использование таких субстратов исключительно тепличными хозяйствами с хорошим контролем влажности. Действительно, в открытом грунте во время длительной засухи с теплыми ночами, когда отсутствует конденсация водяного пара, цеолитный субстрат как удобрение не функционирует. С другой стороны, в случае затяжных дождей вышедшие из цеолита ионы будут “разбавляться” внешней водой, что сильно снизит эффективность подкормки.
Заключение
Результаты настоящей работы свидетельствуют, что при теоретической интерпретации имеющихся экспериментальных данных по адсорбции воды в ионитах на основании термодинамического подхода принципиально важно как можно точнее учитывать электростатическую энергию зарядов в сорбированной пленке.
Численное решение системы уравнений, описывающих адсорбцию молекул воды на поверхности ионита, дало возможность построить изотерму адсорбции с характерной точкой перегиба в области средней влажности, соответствующую изотермам четвертого типа, имеющим при определенных значениях параметров системы петлю гистерезиса. Модельная изотерма описывает адсорбцию в мезопористых материалах, какими и являются иониты, и вполне соответствует экспериментальной изотерме адсорбции данного типа для клиноптилолита. Кроме того, полученные в рамках предложенного подхода зависимости позволяют давать конкретные практические рекомендации по использованию таких ионитов в сельском хозяйстве.
About the authors
И. В. Иванов
Российский государственный аграрный университет – Московская сельскохозяйственная академия им. К. А. Тимирязева
Author for correspondence.
Email: mcxa_iv@inbox.ru
Калужский филиал
Russian Federation, КалугаReferences
- Солдатов В.С., Перышкина Н.Г., Хорошко Р.П. Ионитные почвы. Минск: Наука и техника, 1978. 270 с.
- Солдатов В.С., Косандрович С.Ю., Ионова О.В., и др. // Агрохимия. 2020. № 3. C. 31.
- Грег С., Синг К. Адсорбция, удельная поверхность, пористость. М.: Мир, 1984. 306 с.
- Кокотов Ю.А., Пасечник В.А. Равновесие и кинетика ионного обмена. Л.: Химия, 1970. 336 с.
- Кокотов Ю.А. Иониты и ионный обмен. Л.: Химия, 1980. 172 с.
- Kreuer K. // J. Membrane Sci. 2001. V. 185. P. 29.
- Kusoglu A., Weber A. // Chem. Rev. 2017. V. 117. P. 987.
- Kononenko N., Nikonenko V., Fomenko M., et al. // Adv. Colloid Interfac. 2017. V. 246. P. 196.
- Gierke T., Munn G., Wilson F. // J. Polym. Sci., Pol. Phys. 1981. V. 19. P. 1687.
- McLean R., Doyle M., Sauer B. // Macromolecules. 2000. V. 33. P. 6541.
- Гантман А.И. // Журн. физ. химии. 1992. Т. 66. № 7. С. 1713.
- Агафонов В.М., Иванов И.В. // Там же. 1996. Т. 70. № 5. С. 888.
- Иванов И.В. // Там же. 2005. Т. 79. № 3. C. 534.
- Иванов И.В. // Там же. 2021. Т. 95. № 12. C. 1893.
- Котова Д.Л., Артамонова М.Н., Крысанова Т.А., и др. // Сорбц. хроматограф. процессы. 2016. Т. 16. № 3. С. 390.
- Ландау Л.Д., Лифшиц Е.М. Теоретическая физика. Т. 5. Статистическая физика. М.: Наука, 1964. 584 с.
- Френкель Я.И. Кинетическая теория жидкостей. Л.: Наука, 1975. 592 с.
Supplementary files






