Количественная оценка толщины гидратной оболочки молекул моногидрата лактозы в водных растворах
- Authors: Князькова А.И.1,2, Снегерев М.С.1, Вотинцев А.П.1, Николаев В.В.1, Вражнов Д.А.1,2, Кистенев Ю.В.1,2
-
Affiliations:
- Томский государственный университет
- Институт оптики атмосферы им. В. Е. Зуева СО РАН
- Issue: Vol 98, No 6 (2024)
- Pages: 87-94
- Section: ТВЕРДОТЕЛЬНАЯ И БИООРГАНИЧЕСКАЯ СПЕКТРОСКОПИЯ
- Submitted: 29.12.2024
- Accepted: 29.12.2024
- Published: 29.12.2024
- URL: https://ogarev-online.ru/0044-4537/article/view/274854
- DOI: https://doi.org/10.31857/S0044453724060133
- EDN: https://elibrary.ru/PXFZRA
- ID: 274854
Cite item
Full Text
Abstract
Методом терагерцовой спектроскопии в режиме пропускания исследовано влияние растворителей, схожих по физическим свойствам с водой, на образование гидратной оболочки вокруг молекул моногидрата лактозы. Установлена связь между концентрацией водных растворов моногидрата лактозы и толщиной ее гидратной оболочки при растворении в очищенной воде, водном растворе высокого разбавления (ВР) и в водном растворе высокого разбавления с антителами к интерферону-гамма (ВР АТ к ИФНг). Обнаружено, что растворитель ВР АТ к ИФНг растворяет больше молекул моногидрата лактозы при одинаковом объеме по сравнению с ВР и очищенной водой.
Full Text
Количественная оценка толщины гидратной оболочки молекул моногидрата лактозы в водных растворах1
В клинической фармакологии и фармацевтической производственной практике моногидрат лактозы часто используют в качестве вспомогательного вещества при изготовлении таблеток. Это кристаллизованный порошок, получаемый охлаждением пересыщенного раствора, отбором соответствующей фракции и его сушкой [1].
Проникновение жидкости во вспомогательные вещества является начальной стадией процесса растворения таблетки с высвобождением лекарственного средства. При контакте фармацевтического препарата с физиологическими жидкостями организма объем компонентов таблетки увеличивается, что сопровождается ее распадом на более мелкие фрагменты. Это приводит к значительно более высокой скорости высвобождения лекарственного средства за счет увеличения площади пор вспомогательного вещества [2].
Воду, окружающую молекулу моногидрата лактозы, исходя из ее взаимодействия с растворенным веществом, можно разделить на две категории: 1) объемную воду, которая окружает молекулу моногидрата лактозы на расстоянии, большем, чем взаимодействие Ван-дер-Ваальса, и 2) связанную воду (гидратная/сольватационная вода), которая окружает молекулу моногидрата лактозы при их прямом взаимодействии, то есть при образовании водородных связей [3]. Вода взаимодействует с полярными группами молекулы моногидрата лактозы, окружает ее диполями, становясь при этом связанной. Количество молекул воды, окружающих каждую растворенную молекулу моногидрата лактозы, определяет ее число гидратации. Гидратная оболочка, образующаяся вокруг молекул растворенного вещества, изменяет его физико-химические свойства [4, 5]. Характеристикой образовавшейся гидратной оболочки является ее толщина, при этом сама гидратная оболочка может состоять из нескольких слоев молекул связанной воды. Процесс растворимости вещества напрямую связан с толщиной гидратной оболочки [6]. Определить толщину гидратной оболочки можно путем оценки концентрации вещества в водном растворе, при которой все молекулы воды в растворе становятся связанными [7, 8].
Гидратация и водородные связи между молекулами воды и молекулами растворенных веществ уже изучены методами рентгеновской кристаллографии, диэлектрической спектроскопии и неупругого рассеяния нейтронов [9, 10]. Флуоресцентная спектроскопия и двумерная инфракрасная спектроскопия также использовались для исследования динамики гидратной оболочки, связанной с пикосекундными и фемтосекундными временными масштабами. Данные методы позволяют исследовать только молекулы воды первого слоя гидратной оболочки. Гидратацию моногидрата лактозы также изучали с помощью терагерцовой (ТГц) спектроскопии во временной области, которая чувствительна к водонасыщенности в пористых средах и дает информацию о структурных свойствах биохимических соединений [11, 12]. Поскольку ТГц-спектроскопия позволяет обнаружить изменения водородных связей за пределами первого слоя гидратной оболочки, измеряя концентрационную зависимость коэффициента поглощения в ТГц-диапазоне, можно определить толщину гидратной оболочки [7, 8, 13, 14].
Ранее было показано, что лактоза конформационно изменяется после насыщения активными фармацевтическими ингредиентами, полученными путем многократного разведения АТ к ИФНг (антител к интерферону-гамма) в сочетании с внешней интенсивной вибрационной обработкой. Более того, было обнаружено, что эти растворы представляют собой самоорганизующиеся дисперсные системы, в которых образуются нанообъекты [15].
Известно, что вода, подвергнутая специфической технологической обработке, например многократному разбавлению вещества с уменьшением концентрации или аналогичной процедуре без исходного вещества, проявляет свойства, отличные от свойств исходной воды. К таким свойствам относится структура, которая зависит от характеристик водородных связей [16–18]. В работе [19] авторы показали, что измеренные значения термолюминесценции в замороженных образцах очищенной воды и ВР-растворах (растворах высокого разбавления) хлоридов лития и натрия различаются. Проведенное исследование термолюминесценции позволяет предположить, что свойства водородных связей в ВР-растворах отличаются от свойств водородных связей в очищенной воде, хотя оба растворителя не содержат молекул хлоридов лития и натрия. Высокие разбавления оказывают модифицирующее влияние на свойства исходного вещества [20], несмотря на огромную разницу в количествах смешиваемых веществ (исходного вещества и его высокого разбавления) [21]. Поэтому важно определить, как технологическая обработка воды влияет на свойства гидратной оболочки, образующейся вокруг моногидрата лактозы. Как показано в [15, 22], водные растворы моногидрата лактозы, насыщенные водой (водно-спиртовая смесь), подвергнутые разным видам технологической обработки, имеют различную структуру, по-видимому, из-за различий в толщине гидратной оболочки моногидрата лактозы.
Таким образом, целью данного исследования было определение влияние растворителя на образование гидратной оболочки молекул моногидрата лактозы в водных растворах.
ЭКСПЕРИМЕНТАЛЬНАЯ ЧАСТЬ
Приготовление растворов
В исследовании использовался моногидрат лактозы, представленный в форме таблеток (SuperTab® 30GR, DFE pharma, Goch, Germany). В работе рассмотрено взаимодействие моногидрата лактозы с тремя растворителями, полученными с помощью системы очистки Milli-Q (Millipore, Darmstadt, Germany), а именно:
1) очищенная вода;
2) водный раствор высокого разбавления антител к интерферону-гамма (ВР АТ к ИФНг), подвергнутый постепенному снижению первоначальной концентрации при определенных условиях [23]. Вкратце, антитела к интерферону-гамма (2.5 мг/мл) смешивали с водой в соотношении 1:100 при интенсивной вибрационной обработке для получения первого сотенного разбавления. Все последующие разбавления содержали 1 часть предыдущего разбавления и 99 частей воды. Конечный раствор содержал смесь 12, 30 и 50 сотенных разведений антител к ИФНг. Расчетная теоретическая концентрация антител к ИФНг в конечном растворе не превышала 2.5×10–24 мг/мл, или 2.5×10–18 ppb (w/w). Однако, согласно физико-химическим исследованиям, для образцов, изготовленных по технологии высоких разведений, такая оценка может быть некорректной из-за нелинейного снижения концентрации растворенного вещества. Действительно, было показано, что даже в разбавлениях ниже 10–24 молекулы растворенного вещества могут сохраняться за счет эффекта флотации [24, 25]. Антитела к ИФНг были произведены в соответствии с текущими требованиями ЕС [26] компанией AB Biotechnology (Эдинбург, Великобритания);
3) в качестве технологического контроля использовали воду, подвергнутую той же процедуре, что и раствор в предыдущем разделе. Кратко мы будем называть ее ВР воды.
Все образцы были предоставлены для исследования ООО «НПФ “МАТЕРИА МЕДИКА ХОЛДИНГ» (Москва, Россия). Производитель имеет сертификат GMP, что гарантирует строгое соблюдение протоколов подготовки проб. Все препараты готовили в чистых условиях (класс чистоты D) в ламинарном боксе с использованием стерильных автоматических пипеток и стерильных наконечников для пипеток. Все образцы были приготовлены в один день одним человеком и в одинаковых условиях. Протокол приготовления учитывает любые загрязнения из флаконов, другой стеклянной посуды, партий растворителей или атмосферы. Это также позволяет компенсировать барометрические и температурные колебания.
Планирование и проведение экспериментальных исследований образцов, анализ полученных результатов, включая статистический анализ; а также подготовка рукописи осуществлялись исключительно сотрудниками Томского государственного университета (Томск, Россия).
Приготовление растворов моногидрата лактозы различной концентрации
Пробоподготовка растворов моногидрата лактозы с концентрациями от 10 до 60% (массовая доля) осуществлялась следующим образом: таблетированный моногидрат лактозы перемалывался в течение 10 мин с помощью механической ступки MG100 «Grinder» (Beijing Grinder Instrument Co., Ltd, Китай) до гомогенного порошкообразного состояния. Далее на аналитических весах GR-120 (точность 0.0001 г) (AND, Япония) взвешивались необходимые навески порошка (см. табл. 1), навески помещали в одноразовые пробирки IMEC (Nningbo Greetmed Medical Instruments Co., Ltd, Китай) (объем 2 мл). В каждую пробирку при помощи одноканального дозатора переменного объема «ЭКОХИМ» (ООО «Экросхим», Россия) добавляли в соответствии с формулой:
, (1)
(где ω, % – массовая доля растворенного вещества)
Таблица 1. Используемые навески для приготовления исследуемых растворов лактозы
ω, % | mн, г | mр, г |
10 | 0.0556 | 0.5 |
20 | 0.1250 | 0.5 |
30 | 0.2143 | 0.5 |
40 | 0.3333 | 0.5 |
50 | 0.5000 | 0.5 |
60 | 0.7500 | 0.5 |
Обозначения: ω – концентрация, mн –масса навески, mр – масса растворителя
растворитель необходимой массы (см. табл. 1), проводили смешивание до однородного раствора с помощью Вортекс V-1 plus (Biosan, Латвия) на скорости 2000 об/мин в течение 1 мин.
Пропорции порошок/растворитель рассчитывались в соответствии с формулой (1). Таким образом, готовились растворы шести различных концентраций (с массовой долей от 10 до 60%) при неизменной массе растворителя 0.5 граммов. В табл. 1 показаны соответствующие массовые доли порошка, используемые для приготовления растворов. Расчет массы навески для получения растворов заданной концентрации (т. е. с определенной массовой долей лактозы)проводили по формуле (1).
ТГц-спектроскопия
Изучение спектральных характеристик образцов проводили с использованием ТГц спектрометра T-Spec (EXPLA, Литва) в частотном диапазоне от 0.3 до 1 ТГц. Данный диапазон выбран в связи с сильным поглощением ТГц излучения водой на более высоких частотах.
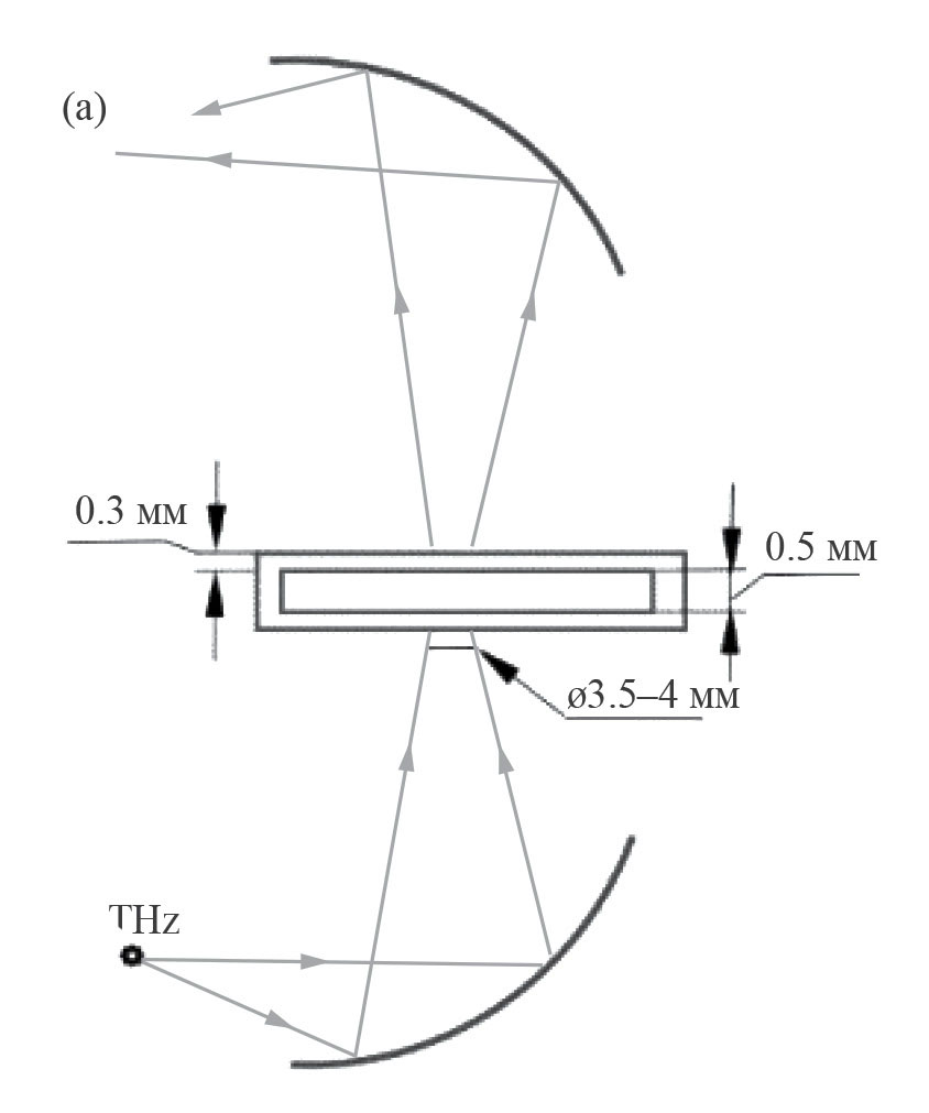
Методология проведения эксперимента заключалась в прохождении сигнала через кювету, заполненную исследуемым образцом. Схема эксперимента представлена на рис. 1. Для работы использовали специальные кюветы, напечатанные на 3D-принтере Designer X PRO (PICASO 3D, Россия) из пластика Watson (BestFilament, Россия) (стирол бутадиен сополимер – прочный, пластичный и термостойкий пластик) [27, 28]. Выбор материала для печати обусловлен его достаточной прозрачностью в ТГц области спектра [27]. Каждый раз, перед регистрацией терагерцового спектра жидкости, измеряли пустую ячейку, а затем заполняли жидким образцом, не меняя положения ячейки.
Рис. 1. Схема измерения и параметры кюветы
Измерения растворов лактозы проводили сразу после приготовления. Каждую кювету с образцом сканировали в девяти точках с шагом 0.1 мм по вертикали и по горизонтали. Усреднение по времени (последовательно регистрировали 128 спектров в течение 21 с) проводилось автоматически в каждой из девяти точек. Данная процедура позволяла увеличить соотношение сигнал/шум. Все измерения проводили в лабораторных условиях при температуре 21°C ± 1°C и влажности воздуха 30%.
Для вычисления значений комплексной функции диэлектрической проницаемости e(w) из комплексного экспериментального пропускания T(w) мы использовали следующий подход [28]:
, (2)
где Esignal(ω) – интенсивность сигнала, прошедшего через кювету со слоем раствора, толщиной d; Eref(ω) – интенсивность сигнала, прошедшего через пустую кювету, ω = 2pf; f – частота в терагерцах, T(w) – коэффициент пропускания, a(ω) – коэффициент поглощения в см–1, n(ω) – показатель преломления, ε(ω) – диэлектрическая постоянная, с – скорость света в вакууме см/с.
Определение толщины гидратной оболочки
В работе [12] получено уравнение, определяющее гидратационное число (nh) для молекулы лактозы:
, (3)
где N – общее количество молекул воды на молекулу лактозы, ε″water(0.5 THz) – мнимая часть диэлектрической проницаемости воды, ε″solution – мнимая часть диэлектрической проницаемости раствора.
В результате связывания свободной воды с молекулой лактозы образуется несколько гидратных слоев [29]. Молекулы воды вблизи растворенного вещества переходят в различные динамические состояния в зависимости от расстояния до поверхности молекулы лактозы. В первом гидратном слое молекулы воды имеют сильные водородные связи, что выражается в медленной динамике молекулы, следовательно, определение диэлектрической проницаемости позволяет оценить гидратное число [29]. Толщину второго слоя гидратной оболочки (около 5 Å от поверхности молекулы лактозы) невозможно экспериментально оценить посредством использования диэлектрической проницаемости [29].
Для расчета толщины гидратной оболочки рассмотрим молекулу лактозы как сферу, как до, так и после связывания с растворителем. Тогда зная гидратационное число (nh), толщина гидратной оболочки (Dr) геометрически выводится из уравнения (4) [30], при условии, что слой гидратации равномерно распределен вокруг сферической молекулы лактозы радиусом (rlactose):
, (4)
где rwater – гидродинамический радиус молекулы воды, rlactose – гидродинамический радиус молекулы лактозы. Известно, что rwater = 1.3 Å, rlactose = 4.3 Å, [31].
ОБСУЖДЕНИЕ РЕЗУЛЬТАТОВ
Показатели поглощения растворов лактозы
Спектр поглощения сухого порошка моногидрата лактозы имеет пик на частоте 0.53 ТГц (рис. 2). Все три растворителя имеют схожий коэффициент поглощения (рис. 3 при концентрации 0%), но имеются небольшие отклонения, например, для ВР воды в диапазоне 0.55–0.70 наблюдается менее заметное падение сигнала по сравнению с очищенной водой и ВР АТ к ИФНг. Добавление лактозы вызывает снижение коэффициента поглощения, что можно объяснить уменьшением объемной доли свободной воды.
Рис. 2. Показатель поглощения (коэффициент поглощения, α) сухого порошка моногидрата лактозы; ν – частота
Спектры поглощения трех типов растворов с концентрацией от 10 до 60% представлены на рис. 3. В растворе «ВР вода + лактоза» значения поглощения при всех концентрациях лактозы выше по сравнению с раствором «Вода очищенная + лактоза». лактоза» и растворы «ВР AB к ИФНг+лактоза». Добавление лактозы вызывает снижение коэффициента поглощения, что можно объяснить уменьшением объемной доли свободной воды.
Рис. 3. Показатели поглощения трех видов раствора при концентрациях от 0 до 60%, (a) раствор ВР воды + лактоза, (б) раствор очищенной воды + лактоза, (в) раствор ВР АТ к ИФНг + лактоза
На основе временного сигнала по формуле (2) получена мнимая часть диэлектрической проницаемости ε(ω) растворов лактозы (рис. 4). Аналогично показателю поглощения для всех растворов лактозы значения мнимой части диэлектрической проницаемости убывают с увеличением концентрации дисахарида. На основании этих данных можно выявить динамику и структуру гидратной оболочки вокруг дисахарида в зависимости от растворителя и концентрации растворяемого вещества [11].
Рис. 4. Мнимая часть диэлектрической проницаемости (Im[ε]) трех видов раствора при концентрациях от 0% до 60%, (a) раствор ВР воды + лактоза, (б) раствор очищенной воды + лактоза, (в) раствор ВР АТ к ИФНг + лактоза
Значения толщины гидратной оболочки лактозы в трех видах растворителя
Воспользовавшись уравнением (3), было получено гидратационное число, значение которого для трех растворов при концентрациях от 10 до 60% показаны на рис. 5. Полученные зависимости гидратного числа от концентрации раствора были аппроксимированы одно-экспоненциальной моделью y(x) = ae–bx + d, где a – амплитуда, b – коэффициент затухания кривой, d – смещение. В табл. 2 приведены параметры модели аппроксимации зависимости гидратного числа от концентрации.
Рис. 5. Гидратационное число (nh) лактозы в трех видах раствора при концентрациях (ɷ) от 10 до 60%, (a) раствор ВР воды + лактоза, (б) раствор очищенной воды + лактоза, (в) раствор ВР АТ к ИФНг + лактоза. Столбики погрешностей представляют собой доверительный интервал, полученный посредством t-критерия Стьюдента с доверительной вероятностью 0.95
Таблица 2. Значение амплитуды (а), коэффициента затухания кривой (b), смещение (d) и значение среднеквадратичного отклонения (std) для модели аппроксимации
Модель | a | b | d | std |
ВР воды + лактоза | 184.058 | 0.080 | 7.795 | 1.5640 |
Очищенная вода + лактоза | 174.828 | 0.077 | 10.056 | 1.8402 |
ВР АТ к ИФНг + лактоза | 193.788 | 0.072 | 9.362 | 1.1492 |
Исходя из полученной аппроксимации были оценены значения концентраций для связывания максимального количества молекул воды (исходя из литературных данных это значение равно 180) с одной молекулой лактозы [32].
Концентрация вещества в растворе напрямую влияет на толщину гидратной оболочки рис. 6. Увеличение процентного соотношения вещество/растворитель уменьшает толщину гидратной оболочки. На 10% концентрации образуется один слой гидратной оболочки толщиной в одну молекулу воды (~2.3 Å).
Рис. 6. Толщина гидратной оболочки лактозы (h) в трех видах раствора при концентрациях от 10% до 60%, (a) раствор ВР воды + лактоза, (б) раствор очищенной воды + лактоза, (в) раствор ВР АТ к ИФНг + лактоза. Столбики погрешностей представляют собой доверительный интервал, полученный посредством t-критерия Стьюдента с доверительной вероятностью 0.95
Используя аппроксимацию модели зависимости гидратного числа от концентрации, были вычислены концентрации растворов: ВР воды, очищенной воды, ВР АТ к ИФНг при которых каждая молекула лактозы связывается с 90 и 180 молекулами воды соответственно. Результаты представлены в табл. 3.
Таблица 3. Значения концентрации (с), при которой с одной молекулой лактозы связываются 90 молекул воды (первый столбец) и 180 молекул воды (второй столбец)
Модель | c, при nh = 90 | c, при nh = 180 |
ВР воды + лактоза | 10.08 | 0.832 |
Очищенная вода + лактоза | 10.16 | 0.368 |
ВР АТ к ИФНг + лактоза | 12.18 | 1.767 |
Известно, что максимальное число молекул воды способных связаться с лактозой составляет 180. Путем аппроксимации зависимости числа гидратации от концентрации моногидрата лактозы в растворах установлено, что для ВР воды концентрация, при которой каждая молекула лактозы в растворителе должна полностью связаться с водой, составляет 0.832%. Аналогично, для очищенной воды концентрация равна 0.386%, для ВР АТ к ИФНг – 1.767%. Как видно из представленных данных (см. табл. 3), растворение моногидрата лактозы в растворах высокого разбавления отличны от растворения в очищенной воде. Таким образом, мы делаем вывод, что ВР АТ к ИФНг растворяет больше молекул лактозы при одинаковом объем растворителя, по сравнению с ВР воды и очищенной воды. В зависимости от используемого растворителя: очищенной воды или воды, прошедшей специальную технологическую обработку (многократное последовательное снижение концентрации вещества в растворе с интенсивным встряхиванием при каждом разведении), в растворах лактозы толщина гидратной оболочки молекул различается.
БЛАГОДАРНОСТИ
Исследование выполнено при поддержке Программы развития Томского государственного университета (Приоритет-2030) и при частичной финансовой поддержке ООО «НПФ «МАТЕРИА МЕДИКА ХОЛДИНГ» (Москва, Россия).
1 Иркутская обл., пос. Чара, 3–7 июля 2023 года.
About the authors
А. И. Князькова
Томский государственный университет; Институт оптики атмосферы им. В. Е. Зуева СО РАН
Email: yuk@iao.ru
Russian Federation, Томск; Томск
М. С. Снегерев
Томский государственный университет
Email: yuk@iao.ru
Russian Federation, Томск
А. П. Вотинцев
Томский государственный университет
Email: yuk@iao.ru
Russian Federation, Томск
В. В. Николаев
Томский государственный университет
Email: yuk@iao.ru
Russian Federation, Томск
Д. А. Вражнов
Томский государственный университет; Институт оптики атмосферы им. В. Е. Зуева СО РАН
Email: yuk@iao.ru
Russian Federation, Томск; Томск
Ю. В. Кистенев
Томский государственный университет; Институт оптики атмосферы им. В. Е. Зуева СО РАН
Author for correspondence.
Email: yuk@iao.ru
Russian Federation, Томск; Томск
References
- Dominici S., Marescotti F., Sanmartin C. et al. //Foods. 2022. V. 11. P. 1486. doi: 10.3390/foods11101486
- Kemp M.C. //2007 Joint 32nd International Conference on Infrared and Millimeter Waves and the 15th International Conference on Terahertz Electronics. 2007. P. 647–648. doi: 10.1109/ICIMW.2007.4516664
- Chen X., Weber I., Harrison R.W. //The J. of Phys. Chem. B. 2008. V. 112. P. 12073. doi: 10.1021/jp802795a
- George P., Witonsky R.J., Trachtman M. et al. //Biochimica et Biophysica Acta (BBA)-Bioenergetics. 1970. V. 223. P. 1. doi: 10.1016/0005-2728(70)90126-X
- Sokolov A.P., Roh J.H., Mamontov E., García Sakai V. //Chemical Physics. 2008. V. 345. P. 212. doi: 10.1016/j.chemphys.2007.07.013
- Burgos-Cara A., Putnis C.V., Rodriguez-Navarro C., Ruiz-Agudo E. //Geochimica et Cosmochimica Acta. 2016. V. 179. P. 110. doi: 10.1016/j.gca.2016.02.008
- Sun Y., Zhong J., Zhang C. et al. //J. of Biomedical Optics. 2015. V. 20. P. 037006. doi: 10.1117/1.JBO.20.3.037006
- Zapanta M.J., Postelmans A., Saeys W. //Terahertz Photonics II. – SPIE, 2022. V. 12134. P. 66. doi: 10.1117/12.2620986
- Collins M.D., Hummer G., Quillin M.L. et al. //Proceedings of the National Academy of Sciences. 2005. V. 102. P. 16668. doi: 10.1073/pnas.0508224102
- Zhong D., Pal S.K., Zhang D. et al. //Ibid. 2002. V. 99. P. 13. doi: 10.1073/pnas.012582399
- Shiraga K., Adachi A., Nakamura M. et al. //The J. of Chem. Phys. 2017. V. 146. doi: 10.1063/1.4978232
- Shiraga K., Ogawa Y., Kondo N. et al. //Food Chemistry. 2013. V. 140. P. 315. doi: 10.1016/j.foodchem.2013.02.066
- Penkov N., Yashin V., Fesenko E. et al. //Applied spectroscopy. 2018. V. 72. P. 257. doi: 10.1177/0003702817735551
- Heugen U., Schwaab G., Bründermann E. et al. //Proceedings of the National Academy of Sciences. 2006. V. 103. P. 12301. doi: 10.1073/pnas.0604897103
- Bunkin N.F., Shkirin A.V., Ninham B.W. et al. //ACS omega. 2020. V. 5. P. 14689. doi: 10.1021/acsomega.0c01444
- Penkov N., Penkova N. //Frontiers in Physics. 2020. V. 8. P. 624779. doi: 10.3389/fphy.2020.624779
- Slatinskaya O.V., Pyrkov Yu. N., Filatova S.A. et al. // Ibid. 2021. V. 9. P. 641110. doi: 10.3389/fphy.2021.641110
- Gudkov S.V., Penkov N.V., Baimler I.V. et al. //Intern. J. of Molecular Sciences. 2020. V. 21. P. 8033. doi: 10.3390/ijms21218033
- Rey L. //Physica A: Statistical Mechanics and its Applications. 2003. V. 323. P. 67. doi: 10.1016/S0378-4371(03)00047-5
- Penkov N.V. //Physics of Wave Phenomena. 2019. V. 27. P. 128. doi: 10.3103/S1541308X19020079
- Penkov N.V. // Ibid. 2020. V. 28. P. 135. doi: 10.3103/S1541308X20020132
- Penkov N.V. //Pharmaceutics. 2021. V. 13. P. 1864. doi: 10.3390/pharmaceutics13111864
- Ryzhkina I.S., Murtazina L.I., Kiseleva Yu. V., Konovalov A.I. //Dokl. Phys. Chem. 2015. V. 462. P. 110–114. doi: 10.1134/S0012501615050048
- Sarimov R.M., Simakin A.V., Matveeva T.A. et al. //Applied Sciences. 2021. V. 11. P. 11466. doi: 10.3390/app112311466
- Chikramane P.S., Kalita D., Suresh A.K. et al. //Langmuir. 2012. V. 28. P. 15864–15875. doi: 10.1021/la303477s
- Europea. U. //Official J.of the European Union. L 2004. V. 136. P. 34.
- Vrazhnov D., Knyazkova A., Konnikova M. et al. //Applied Sciences. 2022. V. 12. P. 10533. doi: 10.3390/app122010533
- Cherkasova O.P., Nazarov M.M., Konnikova M., Shkurinov A.P. //J. of Infrared, Millimeter, and Terahertz Waves. 2020. V. 41. P. 1057. doi: 10.1007/s10762-020-00684-4
- Shiraga K., Suzuki T., Kondo N. et al. //Carbohydrate research. 2015. V. 406. P. 46–54. doi: 10.1016/j.carres.2015.01.002
- Shiraga K., Suzuki T., Kondo N. et al. //The J. of Chemical Physics. 2015. V. 142. doi: 10.1063/1.4922482
- Ribeiro A.C. F., Ortona O., Simões S.M. N. et al. //J. of Chemical & Engineering Data. 2006. V. 51. P. 1836. doi: 10.1021/je0602061
- Leitner D.M., Gruebele M., Havenith M. //HFSP Journal. 2008. V. 2. P. 314. doi: 10.2976/1.2976661
Supplementary files








