Кинетика окисления сплава свинца с сурьмой ССу3, модифицированного литием, в твердом состоянии
- Авторы: Окилов Ш.Ш.1, Ганиев И.Н.1, Джайлоев Д.Х.1, Муллоева Н.М.1
-
Учреждения:
- Институт химии им. В.И. Никитина Национальной академии наук Таджикистана
- Выпуск: Том 98, № 3 (2024)
- Страницы: 62–68
- Раздел: ХИМИЧЕСКАЯ КИНЕТИКА И КАТАЛИЗ
- Статья получена: 04.10.2024
- Статья одобрена: 04.10.2024
- Статья опубликована: 09.10.2024
- URL: https://ogarev-online.ru/0044-4537/article/view/265489
- DOI: https://doi.org/10.31857/S0044453724030074
- EDN: https://elibrary.ru/QPXMJC
- ID: 265489
Цитировать
Полный текст
Аннотация
Изучен процесс окисления свинцового сплава ССу3 с литием на воздухе в изотермических условиях термогравиметрическим методом с непрерывной фиксацией массы образца, в течение часа при температурах 473, 523 и 573 К. На основании экспериментальных данных построены кинетические кривые окисления сплава ССу3 с литием, по которым определены зависимости увеличения удельной массы от количества легирующей добавки и температуры. По результатам исследований установлено, что добавка лития до 1.0 мас.% увеличивает скорость окисления свинцового сплава, что сопровождается уменьшением величины кажущейся энергии активации процесса окисления. Построены квадратичные кинетические кривые окисления сплавов. Установлен механизм окисления сплавов. Показано, что процесс окисления сплавов в изученном температурном интервале 473–573 К подчиняется гиперболической зависимости y = kxn, где n = 1 – 4.
Полный текст
Введение
Решение многих задач современной техники связано с использованием материалов, обладающих высоким сопротивлением окислению. Изучение взаимодействия кислорода с металлами и сплавами приобрело большое значение в связи с широким их применением в различных областях науки и техника. В литературе нет сведений о жаростойкости свинцовых сплавов, легированных литием.
Свинец и его сплавы являются пятым наиболее используемым металлом в мире. Наиболее важными областями применения свинца и свинцовых сплавов являются свинцово-кислотные аккумуляторные батареи (в решетчатых пластинах, стойках и соединительных лентах), боеприпасы, оболочка кабелей и строительные материалы (такие как листы, трубы, припой и т.д.). Другими важными областями их применения являются противовесы, аккумуляторные зажимы и другие литые изделия (подшипники, прокладки, литой металл и фольга) [1].
Свинец в различных формах и сочетаниях находит все более широкое применение в качестве материала для подавления звука и механических колебаний. Кроме того, во многих формах он важен как защита от рентгеновских лучей, а в атомной промышленности – от гамма-лучей. Кроме того, свинец используется в качестве легирующего элемента в стали и медных сплавах для улучшения обрабатываемости и других характеристик, а также в легкоплавких сплавах для спринклеров систем пожаротушения [2–4].
Сплавы на основе свинца весьма перспективны для создания новых материалов. Для эффективной работы таких материалов при высоких температурах необходимо знать кинетические параметры окисления, которые позволяют определить для каждого сплава наиболее оптимальные температурные режимы. Такие сведения в литературе крайне ограниченны [5, 6]. Имеются сведения о положительном влиянии щелочных металлов на коррозионную стойкость свинцовых баббитов [7–9]. Также сообщается о повышении коррозионной стойкости свинца и его сплавов путем легирования литием [10, 11]. В нашей работе [12] сообщалось о повышении на 20% анодной устойчивости исходного сплава ССу3 при его легировании литием.
Цель настоящей работы заключается в исследовании влияния добавки лития на кинетику окисления сплава свинца с сурьмой (ССу3) в твердом состоянии. Для решения поставленной задачи применяли метод термогравиметрии с непрерывным взвешиванием образцов.
Экспериментальная часть
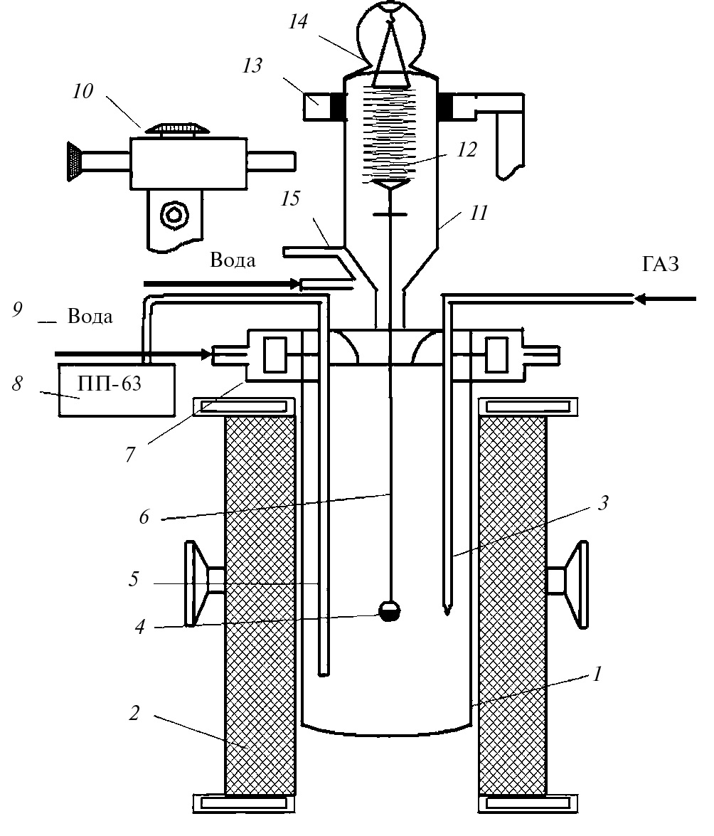
Кинетику окисления сплавов исследовали в неизотермических условиях в атмосфере воздуха по методике, описанной в работах [13–17]. Схема установки для исследования кинетики окисления сплавов приведена на рис. 1. Основные части установки – печь Таммана (1) и ее чехол из оксида алюминия (2). При проведении экспериментов чехол в верхней части закрывается водоохлаждающими крышками (7). Крышки имеют отверстия для газопроводящей трубки (3), тигля (4) для образцов из сплавов и термопары (5). Образец подвешивается на платиновой нити (6) к пружине. Пружина (12) изготовлена из молибденовой проволоки. Пружину калибруют предварительно и вводят в баллон из молибденового стекла (11) с притертой крышкой (14). Чехол с пружиной закрепляют на подставке (13), независимой от печи, для исключения вибрации и сотрясений. Для защиты весов от теплового излучения печи на нижнем конце баллона используют трон-холодильник (15).
Рис. 1. Схема установки для изучения кинетики окисления металлов и сплавов: 1 – печь Таммана, 2 – чехол из оксида алюминия, 3 – газопроводящая трубка, 4 – тигель, 5 – термопара, 6 – платиновая нить, 7 – водоохлаждаемая крышка, 8 – потенциометр, 9 – вода, 10 – катетометр, 11 – чехол из молибденового стекла, 12 – пружина из молибденовой проволоки, 13 – подставка, 14 – крышка, 15 – трон-холодильник.
По растяжению пружины с помощью катетометра КМ-8 осуществляется фиксация изменения массы образца. В наших опытах применяли тигли из оксида алюминия диаметром 18–20 и высотой 25–26 мм. Перед опытом тигли прокаливали до постоянной массы при 1273–1473 К в окислительной среде 1.5 ч. Окисление сплавов в твердом состоянии проводили на воздухе при постоянных температурах 473, 523, 573 К. Тигель с исследуемым образцом помещали в изотермическую зону печи. Разогрев металла выполняли в атмосфере воздуха. Подъем температуры проводили со скоростью 2–3 оС/мин. Перед разогревом печи катетометр настраивали на указатель пружины, записывали на шкале точку отсчета и в течение нагрева контролировали изменение массы. При достижении заданного режима записывали новую точку отсчета.
Среднюю скорость окисления сплавов определяли по касательным, проведенным через большинство экспериментальных точек к кривым окисления сплавов.
Результаты термогравиметрического исследования кинетики окисления свинцового сплава ССу3, легированного литием, приведены в табл. 1. Установлено, что средняя скорость окисления исходного сплава увеличивается в зависимости от состава и температуры исследуемых сплавов в пределах концентрации добавки 0.05–1.0 мас.% лития. Так, средняя скорость окисления исходного сплава в интервале температур 473–573 К имеет величину 2.50×10–4– 3.25×10–4кг м–2 с–1, а для сплава с добавкой 1.0 мас.% лития достигает величины 2.65×10–4– 3.40×10–4 кг м–2 с–1 при тех же температурах. Эффективная энергия активации процесса окисления выше указанных сплавов при этом уменьшается соответственно от 38.32 до 30.10 кДж/моль. Кинетические и энергетические параметры процесса окисления сплавов определяются структурой образующихся оксидных пленок. Если образующаяся на образцах оксидная пленка рыхлая, то процесс переноса кислорода через нее облегчается и соответственно увеличивается скорость окисления. Образование плотной пленки затрудняет транспорт кислорода через нее, что приводит к понижению скорости процесса.
Таблица 1. Кинетические параметры процесса окисления сплава ССу3 с литием в твердом состоянии
[Li], мас.% | Т, К | К×104, кг м–2 с–1 | Q, кДж/моль |
0.0 | 473 523 573 | 2.50 2.77 3.25 | 38.32 |
0.05 | 473 523 573 | 2.53 2.80 3.28 | 37.01 |
0.1 | 473 523 573 | 2.57 2.85 3.32 | 35.50 |
0.5 | 473 523 573 | 2.61 2.89 3.36 | 32.90 |
1.0 | 473 523 573 | 2.65 2.94 3.40 | 30.10 |
Обозначения: [Li] – содержание лития в сплаве, Т – температура окисления, K – средняя скорость окисления, Q – кажущаяся энергия активации окисления, g/s – удельный прирост массы образцов.
В качестве примера на рис. 2 приведены кинетические кривые окисления, характеризующие изменение массы во времени для свинцового сплава ССу3, содержащего 0.05 – 1.0 мас.% лития, при температурах 473, 523 и 573 К. Процесс окисления протекает с диффузионными затруднениями и заканчивается на 15–20-й минутах.
Рис. 2. Кинетические кривые окисления сплава ССу3 (а) с литием: 0.1 (б), 0.5 (в), 1.0 мас.% (г).
Квадратичные кинетические кривые окисления сплава ССу3 с литием (0.05–1.0 мас.%) представлены на рис. 3.
Рис. 3. Квадратичные кривые окисления сплава ССу3 (а) с литием: 0.1 (б), 0.5 (в), 1.0 мас.% (г).
Результаты математической обработки квадратичных кинетических кривых окисления сплавов в координатах (g/s)2–t обобщены в табл. 2. Полиномы кривых окисления сплавов свидетельствуют, что процесс окисления описывается гиперболическим уравнением y = kxn, где значение n = 1 – 4.
Таблица 2. Полиномы квадратичных кинетических кривых окисления сплава ССу3 с литием в твердом состоянии
[Li], мас.% | Т, К | Полиномы квадратичных кинетических кривых окисления сплавов | R2 |
0.0 | 473 523 573 | y = ‒0.6×10‒4x4+0.7×10‒3x3‒0.045x2+1.2074x y = ‒0.6×10‒6x4+0.1×10‒3x3‒0.0596x2+1.4699x y = ‒0.6×10‒9x4+1.5×10‒3x3‒0.0792x2+1.7884x | 0.977 0.988 0.995 |
0.05 | 473 523 573 | y = ‒0.6×10‒3x4+0.6×10‒3x3‒0.042x2+1.1729x y = ‒0.6×10‒6x4+0.1×10‒3x3‒0.0607x2+1.5215x y = ‒0.5×10‒1x4+1.5×10‒3x3‒0.0843x2+1.9264x | 0.975 0.984 0.993 |
0.1 | 473 523 573 | y = ‒0.6×10‒3x4+0.7×10‒3x3‒0.0442x2+1.2303x y = ‒0.6×10‒7x4+1.1×10‒3x3‒0.0648x2+1.6015x y = ‒0.5×10‒1x4+1.6×10‒3x3‒0.0884x2+2.0065x | 0.974 0.985 0.994 |
0.5 | 473 523 573 | y = ‒0.6×10‒4x4+0.7×10‒3x3‒0.0466x2+1.2915x y = ‒0.6×10‒7x4+1.2×10‒3x3‒0.0678x2+1.6689x y = ‒0.5×10‒1x4+1.8×10‒3x3‒0.0953x2+2.1208x | 0.972 0.984 0.993 |
1.0 | 473 523 573 | y = ‒0.6×10‒4x4+0.7×10‒3x3‒0.0486x2+1.3453x y = ‒0.6×10‒8x4+1.2×10‒3x3‒0.0722x2+1.7506x y = ‒0.5×10‒1x4+1.9×10‒3x3‒0.0991x2+2.1944x | 0.971 0.984 0.993 |
Обозначения: R2 – коэффициент регрессии, y − удельный привес массы образцов, кг/м2; x − время окисления образцов, мин.
Изохроны окисления сплавов, соответствующих температурам 473 К и 573 К, приведены на рис. 4. Отмечается тенденция роста скорости окисления исходного сплава по мере увеличения содержания лития до 1.0 мас.%, что сопровождается понижением кажущейся энергии активации процесса окисления.
Рис. 4. Изохроны окисления сплава ССу3 с литием при 473 (а) и 573 К (б).
На рис. 5 приведена зависимость –lgK–1/Т для сплава ССу3 с литием. Видно, что в целом в координатах –lgK–1/Т кривые имеют прямолинейный характер и линии, относящиеся к сплавам с литием, располагаются выше кривой для исходного сплава ССу3. По тангенсу угла наклона данных кривых определялось значение энергии активации сплавов.
Рис. 5. Зависимости -lgK от 1/Т для сплава свинца с сурьмой ССу3 (1) с содержанием лития: 0.05 (2), 0.1 (3), 0.5 (4), 1.0 мас.% (5).
Легированные литием сплавы характеризуются более высоким значением истинной скорости окисления по сравнению с исходным сплавом свинца с сурьмой ССу3. Этого и следует ожидать, так как суммарная скорость окисления слагается из целого ряда этапов, различных по своей природе. Можно проследить некоторые закономерности, характерные для окисления сплавов данной системы в твердом состоянии. Это прежде всего то, что с ростом температуры скорость окисления сплавов растет. Добавка лития уменьшает кажущуюся энергию активации процесса окисления сплава ССу3 в твердом состоянии. Константы истинной скорости окисления при одинаковых температурах у сплава ССу3 с 0.05–1.0 мас.% литием несколько больше, чем у исходного сплава ССу3. В целом с повышением температуры и увеличением содержании лития в сплаве ССу3 скорость окисления сплавов повышается.
Методом рентгенофазового анализа на приборе ДРОН-3М исследованы продукты, образующиеся при окислении легированных литием свинцового сплава ССу3 (рис. 6). Видно, что продукты окисления исследованных сплавов на примере легированного литием 1 мас.% сплава состоят из оксидов Li2PbO3, Pb3O4, Sb2O3. Оксиды, образующиеся на поверхности образцов из исходного сплава ССу3, состоят из следующих фаз: PbSb2O6, Sb2O4, PbO,Sb5O13.
Рис. 6. Штрихдифрактограммы продуктов окисления сплава ССу3 (а) и сплава с 1.0 мас.% лития (б).
Микроструктуры сплавов исследовали на микроскопе «Биомед-1». В качестве примера на рис. 7 представлены микроструктуры образцов до и после модифицирования литием. Видно, что добавки лития, особенно 0.1 мас.%, значительно измельчают структурные составляющие исходного сплава ССу3.
Рис. 7. Микроструктуры (x500) сплава ССу3 (а), содержащего 0.1 мас.% (б) лития.
Заключение
Решение многих задач современной техники связано с использованием материалов, обладающих высоким сопротивлением окислению. В создании новых коррозионностойких материалов и улучшении коррозионных характеристик имеющихся материалов существенную роль играют процессы легирования. В связи с исключительной важностью сведений о поведении металлов и сплавов в окислительных средах необходимость в достаточно полной систематизации таких данных очевидна. В настоящей работе изложены экспериментальные результаты, относящиеся к поведению сплава свинца с сурьмой ССу3 в газовой атмосфере, при высоких температурах. Исследования влияния лития на окисляемость сплава ССу3 показывают, что легирующая добавка лития до 1.0 мас.% увеличивает окисление исходного сплава по механизму образования многокомпонентных оксидов типа шпинелей, которые не обладают достаточными защитными свойствами. При условии, что небольшие концентрации лития в сплаве ССу3 приводят к незначительному росту окисления сплавов, такие соотношения можно считать целесообразными для работы изделий из этих сплавов при невысоких температурах.
Таким образом, методом термогравиметрии исследована зависимость скорости окисления сплава ССу3 от содержания лития и температуры. Показано, что скорость окисления сплава ССу3 с ростом температуры и концентрации лития увеличивается. Получены полиномы квадратичных кинетических кривых окисления сплавов, и с их помощью установлено, что окисление протекает по гиперболическому механизму.
Об авторах
Ш. Ш. Окилов
Институт химии им. В.И. Никитина Национальной академии наук Таджикистана
Автор, ответственный за переписку.
Email: Okilov70070@mail.ru
Таджикистан, 734063, Душанбе
И. Н. Ганиев
Институт химии им. В.И. Никитина Национальной академии наук Таджикистана
Email: Okilov70070@mail.ru
Таджикистан, 734063, Душанбе
Дж. Х. Джайлоев
Институт химии им. В.И. Никитина Национальной академии наук Таджикистана
Email: Okilov70070@mail.ru
Таджикистан, 734063, Душанбе
Н. М. Муллоева
Институт химии им. В.И. Никитина Национальной академии наук Таджикистана
Email: Okilov70070@mail.ru
Таджикистан, 734063, Душанбе
Список литературы
- Александров В.М. Материаловедение и технология конструкционных материалов: Учеб. пособие. Ч. 1. Материаловедение. Архангельск: Северный (Арктический) федеральный университет, 2015. 327 с.
- Лужникова Л.П. Материалы в машиностроении. Т. 1. Цветные металлы и сплавы. М., 1967. 287 с.
- Кубашевский О.Я., Гопкинс Б.Э. Окисление металлов и сплавов. Пер. с англ. В.А. Алексеева. 2-е изд. М.: Металлургия, 1965. 428 с.
- Зиновьев В.Е. Кинетические свойства металлов при высоких температурах: Справочник. М.: Металлургия, 1984. 200 с.
- Лепинских Б.М., Кисилев В. // Изв. АН СССР. Металлы. 1974. № 5. С. 51.
- Талашманова Ю.С. Окисление жидких сплавов на основе кремния, германия, олова и свинца. Красноярск, 2007. 130 с.
- Ганиев И.Н., Ходжаназаров Х.М., Ходжаев Ф.К., Якубов У.Ш. // Вестн. Казанского гос. техн. ун-та им. А.Н. Туполева. 2022. Т. 78. № 1. С. 7.
- Ганиев И.Н., Ходжаназаров Х.М., Ходжаев Ф.К. // Ползуновский вестник. Алтайский гос. техн. университет им. И.И. Ползунова. 2022. № 1. С. 126.
- Назаров Ш.А., Ганиев И.Н., Calliari I. и др. // Металлы. 2018. № 1. С. 34.
- Дунаев Ю.Д. Нерастворимые аноды на основе свинца. Алма-Ата: Наука Каз. ССР, 1978. 316 с.
- Ганиев И.Н., Муллоева Н.М., Эшов Б.Б., Махмадуллоев Х.А. // Журн. физ. химии. 2015. Т. 89. № 10. С. 1568.
- Ганиев И.Н., Окилов Ш.Ш., Муллоева Н.М. // Неорган. материалы. 2023. Т. 59. № 3. С. 1.
- Муллоева Н.М., Ганиев И.Н., Эшов Б.Б. // Журн. физ. химии. 2013. Т. 87. № 11. С. 1894.
- Содикова С.С., Ганиев И.Н., Саидзода Р.Х. // Вестн. Санкт-Петербургского гос. ун-та технологии и дизайна. Сер. 1: Естественные и технические науки. 2022. № 3. С. 108.
- Хакимов И.Б., Рахимов Ф.А., Ганиев И.Н., Обидов З.Р. // Изв. высш. учебных заведений. Сер.: Химия и химическая технология. 2021. Т. 64. № 6. С. 35.
- Ганиев И.Н., Ходжаназаров Х.М., Ходжаев Ф.К. // Журн. физ. химии. 2023. Т. 97. № 2. С. 216.
- Ганиев И.Н., Ходжаназаров Х.М., Одиназода Х.О., Ходжаев Ф.К. // Металлы. 2023. № 2. С. 93.
Дополнительные файлы









