Плотность и молярный объем жидких амальгам таллия, свинца и висмута
- Авторы: Саввин В.С.1,2
-
Учреждения:
- Национальный исследовательский ядерный университет “МИФИ”
- Институт атомной энергетики
- Выпуск: Том 61, № 3 (2023)
- Страницы: 370-375
- Раздел: Статьи
- URL: https://ogarev-online.ru/0040-3644/article/view/232637
- DOI: https://doi.org/10.31857/S0040364423030195
- ID: 232637
Цитировать
Полный текст
Аннотация
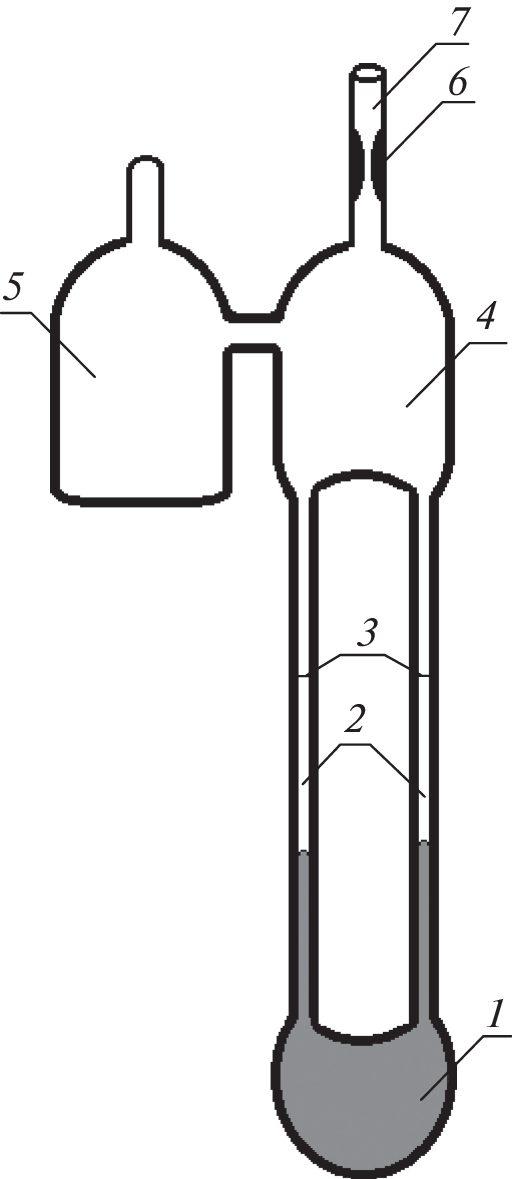
С помощью откачанного двухкапиллярного пикнометра измерены плотность и молярный объем жидких растворов таллия, свинца и висмута в ртути. Измерения проведены во всем интервале составов при температурах от ликвидуса до 400–500°С.
Об авторах
В. С. Саввин
Национальный исследовательский ядерный университет “МИФИ”; Институт атомной энергетики
Автор, ответственный за переписку.
Email: savvin-vs@yandex.ru
Россия, Москва; Россия, г. Обнинск
Список литературы
- Степанов В.П. Плотность и адиабатическая сжимаемость смесей LiF + KBr в двухфазной области // ТВТ. 2019. Т. 57. № 3. С. 371.
- Алчагиров Б.Б., Мозговой А.Г., Шампаров Т.М. Плотность расплавленного висмута при высоких температурах // ТВТ. 2004. Т. 42. № 3. С. 487.
- Станкус С.В., Хайрулин Р.А., Мозговой А.Г., Рощупкин В.В., Покрасин М.А. Плотность жидкого сплава Pb–Bi эвтектического состава при температурах до 700 К // ТВТ. 2004. Т. 42. № 6. С. 982.
- Richards T.W., Daniels F. Concentrated Thallium Amalgams: Their Electro-chemical and Thermochemical Behavior, Densities and Freezing Points // J. Am. Chem. Soc. 1919. V. 41. № 11. P. 1732.
- Olsen D.A., Johnson D.C. The Surface Tension of Mercury–Thallium and Mercury–Indium Amalgams // J. Phys. Chem. 1963. V. 67. № 12. P. 2529.
- Olsen D.A., Bunde R.E., Johnson R.E., Johnson D.C. Viscosity and Density of Mercury–Thallium Amalgams // J. Chem. Eng. Data. 1970. V. 15. № 1. P. 190.
- Abowitz G., Gordon R.B. Compressibility of the Mercury Alloys // Trans. Met. Soc. AIME. 1963. V. 227. № 1. P. 51.
- Foley W.T., Basak A.K., Delorey J.R. Density and Viscosity of Thallium Amalgams // Can. J. Chem. 1964. V. 42. P. 2749.
- Predel B., Emam A. Überschuβvolumina flüssiger Legierungen der Systeme Bi–Sn, Sn–TI, Pb–Sn, Bi–TI, Hg–In, Hg–TI und Pb–TI // Mat. Sci. Eng. 1969. Bd. 4. № 5. S. 287.
- Kleppa O.J., Kaplan M., Thalmayer C.E. The Volume Change on Mixing in Liquid Metallic Solutions II. Some Binary Alloys Involving Mercury, Zinc and Bismuth // J. Phys. Chem. 1961. V. 65. № 5. P. 843.
- Sato T., Itami T., Shimoji M. The Volume of Liquid Hg–Tl and Hg–Cs Alloys // J. Phys. Soc. Jap. 1982. V. 51. № 8. P. 2493.
- Ибрагимов X.И., Покровский Н.Л., Пугачевич П.П. Вакуумный двухкапиллярный пикнометр для измерения плотности металлических расплавов // ЖФХ. 1966. Т. 40. № 4. С. 957.
- Пугачевич П.П. Работа со ртутью в лабораторных и производственных условиях. М.: Химия, 1972. 320 с.
- Вукалович М.П., Иванов А.И., Фокин Л.Р., Яковлев А.Т. Теплофизические свойства ртути. М.: Изд-во стандартов, 1971. 314 с.
- Карамурзов Б.С. Поверхностное натяжение, плотность и работа выхода электрона легкоплавких бинарных систем на основе галлия. Автореф. дис. … канд. физ.-мат. наук. Нальчик.: Каб.-Балк. гос. ун-т, 1975. 20 с.
- Crawley A.F. The Density and Viscosity of Liquid Thallium // Trans. Met. Soc. AIME. 1968. V. 242. № 11. P. 2309.
- Thresh H.R., Crawley A.F., While D.W.G. The Density of Liquid Tin, Lead and Tin–Lead Alloys // Trans. Met. Soc. AIME. 1968. V. 242. № 5. P. 819.
- Басин А.С., Соловьев А.Н. Исследование плотности жидких свинца, цезия и галлия гамма-методом // ПМТФ. 1967. № 6. С. 83.
- Crawley A.F., Kiff D.R. Density of Liquid Bismuth // Met. Trans. V. 2. № 2. P. 609.
- Bedon P., Desre P. Densite du bismuth et des allages bismuth–zine a l’etat liguide // C.r. Acad. Sci. C. 1972. V. 274. P. 40.
- Devis H.A., Leach J.S.L. Electron Transport Properties of Liquid Mercury Alloys. In: The Properties of Liquid Metals. London: Taylor & Francis, 1973. P. 229.
Дополнительные файлы






