Механизм деградации катализатора катода полимерного топливного элемента: исследование и моделирование
- Authors: Кольцова Э.М.1, Василенко В.А.1, Женса А.В.1, Богдановская В.А.2, Радина М.В.2
-
Affiliations:
- Российский химико-технологический университет имени Д.И. Менделеева
- Институт физической химии и электрохимии им. А.Н. Фрумкина РАН
- Issue: Vol 58, No 6 (2024)
- Pages: 690-702
- Section: Articles
- Published: 15.12.2024
- URL: https://ogarev-online.ru/0040-3571/article/view/283274
- DOI: https://doi.org/10.31857/S0040357124060035
- EDN: https://elibrary.ru/VJENHS
- ID: 283274
Cite item
Full Text
Abstract
Представлена математическая модель деградации активной поверхности платинового катализатора в составе водородно-воздушного (кислородного) топливного элемента с протонпроводящим полимерным электролитом. Математическая модель представляет собой систему интегро-дифференциальных уравнений, решаемых методом конечных разностей. Модель учитывает явления: электрохимическое растворение наночастиц платины, рост частиц (за счет осаждения и миграции, созревания по Оствальду, коалесценции наночастиц платины на поверхности углеродного носителя), диффузию ионов платины в иономере и их внедрение в мембрану. Расчеты проводили для платиновых катализаторов двух типов: коммерческой моноплатиновой системы, синтезированной на саже, и каталитической системы, синтезированной на углеродных нанотрубках. В результате моделирования получены данные по распределению частиц платины по размерам и значения площади электрохимически активной поверхности в зависимости от времени ускоренного стресс-тестирования. Выявлен преобладающий механизм деградации катализатора – коалесценция наночастиц платины. Модель позволяет прогнозировать срок службы топливного элемента.
Full Text
ВВЕДЕНИЕ
Все больше стран взяли на себя обязательство стать углеродно-нейтральными. Технологии экологически чистой энергии, включая возобновляемые источники энергии, такие как топливные элементы (ТЭ), способствуют достижению поставленных общемировых целей по сокращению выбросов [1].
Актуальной проблемой при эксплуатации ТЭ является увеличение их рабочего ресурса. Разработка катализаторов для топливных элементов с твердым полимерным электролитом (ТЭТПЭ) является приоритетным направлением развития данных источников тока. Особое внимание исследователей направлено на повышение активности и стабильности катализаторов.
В настоящее время платиновые катализаторы на углеродных носителях (сажах) являются единственной коммерциализуемой каталитической системой, которая обеспечивает достаточно успешное функционирование водородно-воздушных ТЭТПЭ, несмотря на высокую стоимость и недостаточную коррозионную устойчивость в процессе эксплуатации. Деградация платиносодержащего катализатора в составе активных слоев (АС) электродов в ТЭТПЭ, особенно на катоде, обусловлена агрессивной средой: полимерный электролит с высокой кислотностью, атмосфера кислорода, повышенная (60–80°С) температура – вызывают растворение платины и окислительную деградацию углеродного носителя.
Моделирование и проектирование имеют решающее значение при разработке оптимальных системных инженерных решений. В настоящее время для описания работы ТЭ сформулировано большое количество математических моделей. Часть моделей представлена в обзорах [2–4]. Основное внимание уделяется моделированию механизмов деградации ТЭ с полимерным электролитом и связи между моделями, описывающими производительность ТЭ и деградацию катализатора.
Известны 4 механизма деградации активной поверхности платины на электродах ТЭ [5]:
- рост частиц платины вследствие созревания по Оствальду, основанного на укрупнении отдельных наночастиц платины на поверхности носителя (углерода); укрупнение происходит за счет электрохимического растворения малых частиц платины, диффузии растворенных малых частиц к большим частицам в фазе иономера и реосаждения растворенной платины на больших частицах. Механизм созревания по Оствальду подробно описан в работе [2]. Движущей силой является разница в электрохимическом потенциале между частицами различных размеров;
- коалесценция частиц вследствие миграции наночастиц платины;
- осыпание наночастиц платины с поверхности углеродного носителя из-за его разрушения в результате коррозии и дальнейшая агломерация частиц;
- растворение и переосаждение монокристаллов платины в иономере и мембране в результате химического восстановления ионов платины молекулами водорода, проникающими через мембрану, что приводит к потере платины, входящей в состав активного слоя на катоде и участвующей в электрохимической реакции восстановления кислорода.
При моделировании деградации ТЭТПЭ большинство авторов предполагают, что основные массовые потери платины возникают вследствие ее электрохимического растворения [6–10]. В работе [7] предложенная модель описывает процессы электрохимического растворения платины, образования и химического растворения оксида платины. В [8] предложена модель, учитывающая электрохимическое растворение и повторное осаждение платины на катоде, перенос ионов платины за счет диффузии и химическое восстановление ионов платины в мембране водородом, проникающим со стороны анода. Авторы [9] предложили модель, сочетающую теорию неидеального твердого раствора для растворения платины с динамикой изменения размера частиц с учетом роста частиц за счет созревания по Оствальду и коалесценции. Отмечено, что рост размера частиц происходит в первую очередь из-за коалесценции частиц платины, а не вследствие реосаждения. Авторы [9] предполагают, что коррозия углеродного носителя также может играть активную роль в агломерации частиц платины.
Механизм созревания по Оствальду, приводящий к укрупнению частиц на основе платины на углеродном носителе, также учитывается в [10–14]. Авторы [15–16] для описания деградации активной поверхности платины катализатора катода ТЭ применяли модель деградации, предложенную в [10], учитывающую созревание по Оствальду, растворение платины и ее повторное осаждение. Выявлено, что потеря активной поверхности неравномерна по всему каталитическому слою. В исследовании [17] представлена и проверена одномерная модель старения двухкомпонентного катализатора катода ТЭ на основе сплава Pt-Co. В основе лежит модель, предложенная в [16], а точность модели подтверждена экспериментальными результатами, полученными в [13]. В [18] при моделировании деградации активной поверхности катализатора так же, как и в [14], учитывали потери за счет растворения платины и созревания по Оствальду. Прогнозы показали, что значение площади активной поверхности уменьшатся на 33% через год и на 65% через 10 лет работы ТЭ.
Коалесценция и миграция платины рассматриваются в [19, 20]. С применением метода электронной томографии авторы выявили, что старение катализаторов в нормальных условиях эксплуатации ТЭ приводит к укрупнению наночастиц в основном за счет коалесценции, что, в свою очередь, приводит к потере производительности. Было отмечено, что наблюдаемые события коалесценции являются результатом миграции наночастиц на углеродном носителе во время циклирования потенциала.
В нашей предыдущей работе [21] прогноз падения активной поверхности платинового катализатора описывался уравнением регрессии, а в [22] основным механизмом являлась коалесценция.
Мы также предложили новую модель [23], которая впервые рассматривает одновременно пять явлений: электрохимическое растворение наночастиц платины, рост частиц за счет созревания по Оствальду, миграцию наночастиц вдоль углеродного носителя, коалесценцию мелкодисперсных частиц, диффузию ионов платины в иономере и их проникание в мембрану. Математическая модель представляет собой систему интегро-дифференциальных уравнений. Модель основана на аппарате механики гетерогенных сред (применительно к процессам растворения, роста, коалесценции частиц), разработанным и описанным в трудах научной школы академика В.В. Кафарова [24–26].
В данной работе мы развили этот подход и приводим численный метод решения (с высоким порядком аппроксимации) интегро-дифференциальных уравнений математической модели деградации активной поверхности катализатора.
ЭКСПЕРИМЕНТАЛЬНЫЕ ИССЛЕДОВАНИЯ ДЕГРАДАЦИИ ПОВЕРХНОСТИ КАТАЛИЗАТОРА КАТОДА
Экспериментальные исследования по изучению механизмов деградации платиновых катализаторов проводились в ИФХЭ РАН [27–29]. В работе [28] подробно приведены методики проведения экспериментов, в том числе полиольный метод синтеза моноплатинового катализатора на углеродных нанотрубках (УНТ), методики подготовки электродов для модельных измерений, формирования мембранно-электродных блоков (МЭБ), проведения ускоренного стресс-тестирования (УСТ).
Проведено исследование синтезированных платиновых систем в условиях электрохимического (циклирование потенциала) воздействия в составе МЭБ ТЭ. Были получены разрядные кривые для экспериментов с различными типами электрокатализаторов в составе МЭБ рабочей поверхностью (площадью электрода, Ṡ) 25 см2. Испытания МЭБ проводили на стендах Arbin и ElectroChem. При проведении экспериментов МЭБ помещали между двумя газодиффузионными слоями (Sigracet 10BC) в испытательные ячейки ElectroChem. Характеристики МЭБ определяли по разрядным вольт-амперным кривым для водородо-воздушных (кислородных) ТЭ, записанным в гальваностатических условиях. При скорости развертки потенциала 0.1 В/с эти условия близки к стационарным. Испытания МЭБ проводили при 100% увлажнении газов, при температуре ячейки 65°С в среде водород – воздух при избыточном давлении 1 ати и в условиях водород-кислород при давлении 1 ати. Для определения величины электрохимически активной поверхности катализатора в АС катода записывали циклические вольт-амперограммы (ЦВА) в инертной атмосфере. Для этого через катодное пространство пропускали инертный газ (азот), а через анодное пространство – чистый водород при 100% увлажнении газов. Анод выполнял роль вспомогательного электрода и электрода сравнения, относительно которого регистрировали ЦВА на катоде. Измерению ЦВА предшествовала продувка катода инертным газом при фиксированном значении потенциала 0.2 В в течение 1 часа для удаления остатков кислорода из АС.
Значение активной поверхности катализатора (S) рассчитывали по уравнению:
, (1)
где QH0 – количество электричества, затраченного на десорбцию монослоя атомов водорода с 1 см2 гладкой платины (0.21 мКл/см2Pt).
Толщину АС катода δ определяли по зависимости:
(2)
где gC – количество углерода в активном слое катода, А – коэффициент, соответствующий толщине АС в расчете на 1 мг углерода (А = 28 мкм/(мгС/см2АС).
УСТ МЭБ проводили путем многократного наложения треугольных импульсов напряжения. Циклирование потенциала проводили в интервале 0.6–1.3 В со скоростью развертки потенциала 0.1 В/с при температуре 65°С. Оценку активности и величины поверхности катодного катализатора проводили после выхода ТЭ на режим и периодически после определенного числа циклов, вплоть до пропускания 2000 циклов. Общее омическое cопротивление МЭБ для дальнейшего учета омических потерь определяли методом спектроскопии электрохимического импеданса на установке Solartron SI 1287. Измерения проводили на МЭБ до начала деградационного воздействия и после наложения серий из 1000 циклов. Как показали результаты проведенных экспериментов, сопротивление мембраны сохранялось приблизительно постоянным. Проницаемость мембраны по водороду в токовом эквиваленте определяли в режиме, описанном для записи ЦВА. Потенциал поддерживали равным 0.45–0.50 В, что соответствует предельному току окисления водорода, проникающему через мембрану с анода на катод. Полученную величину тока считали предельными потерями, вызванными кроссовером водорода, и использовали при прогнозировании состоянии мембраны.
Полученные результаты экспериментальных исследований суммированы в табл. 1.
Таблица 1. Циклирование МЭБ с катодами на основе коммерческой и синтезированной на УНТ каталитической системы. Состав активного слоя катода: 0.40 ̶ 0.50 мгPt/см2. Состав анода для всех случаев HiSPEC 60 Pt/C, 0.3 мгPt/см2
Катализатор катода МЭБ // g, мгPt/см2 | Число циклов N | S, м2/г | U, В (i = 0/5 мA/см2), воздух, 1 ати | UN – U0, мВ | Romh, мОм × см2 |
20 Pt/С (E-TEK) // 0.4 | 0 | 57.0 | 0.738 | 0 | 89.5 |
1000 | 22.8 | 0.719 | 19 | 90.5 | |
2000 | 14.6 | 0.689 | 49 | 82.75 | |
20 Pt/УНТ + 15% XC72 // 0.5 | 0 | 20.3 | 0.713 | 0 | 84.5 |
1000 | 16.7 | 0.705 | 8 | 83.5 | |
2000 | 14.5 | 0.695 | 18 | 84.5 |
При циклировании в интервале напряжений 0.6–1.3 В активная поверхность коммерческого катализатора после 2000 циклов составляет 14.6/57 = 26%, т.е. уменьшилась на 75%. У синтезированного катализатора 20 Pt/УНТ+15% ХС72 поверхность после циклирования составляет 14.5/20.3 = 71%, т.е. в данном случае уменьшилась на 29%.
Таким образом, наблюдается более высокая стабильность катализаторов, синтезированных на УНТ при испытаниях методом УСТ. Снижение напряжения ячейки при плотности тока 0.5 А/см2 для катализатора на УНТ существенно меньше. Высокая устойчивость синтезированных на УНТ катализаторов подтверждается результатами анализа структурных и морфологических параметров катализаторов, полученных методом просвечивающией электронной микроскопии и рентгеновской фотоэлектронной спектроскопии [27].
Дополнительным фактором снижения активности коммерческого катализатора при циклировании может быть блокировка нанопор (10–100 нм) углеродного носителя вследствие его разрушения. Что приводит к уменьшению объема пор, доступного для диффузии молекул кислорода [30].
ТЕОРЕТИЧЕСКИЕ И ЧИСЛЕННЫЕ МЕТОДЫ
При моделировании предполагали, что на катоде протекают следующие реакции, связанные с деградацией активной поверхности катализатора:
электрохимическая реакция растворения/реосаждения платины:
(3)
взаимодействие ионов платины с молекулами водорода, поступающими со стороны анода:
(4)
Скорости прямой (W1, моль/(м2·с)) и обратной (W–1, моль/(м2·с)) электрохимической реакции (1) определяли при помощи выражений (5)–(6):
, (5)
(6)
Разность потенциалов платины в металлической фазе Em и растворенной (ионной) фазе Es – потенциал электрода.
Выражение для определения термодинамически обратимого электродного потенциала реакции (3) имеет вид:
(7)
Для определения электрохимического потенциала использовали уравнение Кельвина, предложенное авторами [7]:
. (8)
Это соотношение учитывает влияние поверхностного натяжения кристаллита платины на равновесный потенциал. Поскольку частицы платины становятся больше, сдвиг в химическом потенциале платины уменьшается.
При выводе уравнения, характеризующего изменение числа частиц платины от времени, считали, что частицы платины могут отрываться от углеродного носителя, коалесцировать, растворяться в результате электрохимической реакции и реосаждаться (кристаллизоваться) по механизму Оствальда.
Пусть N – число кристаллитов платины с размерами от l до l+dl, тогда φ(t, x, l) – плотность функции распределения частиц платины по размерам:
(9)
Уравнение, описывающее скорость уменьшения кристаллита платины за счет электрохимического растворения η1, м/с, имеет вид:
(10)
Уравнение, описывающее скорость роста кристаллита платины за счет электрохимического осаждения по Оствальду η2, м/с, имеет вид:
(11)
Получено уравнение (12), характеризующее изменение числа частиц платины от времени:
, (12)
где DPt – коэффициент диффузии частиц платины, м2/с; μ (μ-фаза) – совокупность частиц, размеры которых принадлежат отрезку [μ, μ + dμ]; K(μ, l) – константа агрегации (коалесценции), характеризующая вероятность агрегации (коалесценции) частиц размерами μ и l.
В уравнении (12) второе и третье слагаемые в левой части характеризуют изменение числа наночастиц платины за счет электрохимического растворения (второй член) и реосаждения (третий член). В правой части первое слагаемое характеризует миграцию наночастиц платины по поверхности углеродного носителя, второе и третье характеризуют изменение числа частиц за счет коалесценции. Второе слагаемое в правой части характеризует слияние частиц размерами и μ, третье слагаемое характеризует уменьшение числа частиц размером l за счет их агрегации (коалесценции) со всеми другими частицами.
Уравнение изменения концентрации ионов платины Pt2+ в иономере записывается в виде выражения:
(13)
где v – скорость миграции ионов платины (м/с):
. (14)
Уравнение (13) учитывает диффузию ионов Pt2+ в полимерную мембрану со стороны АС (первое слагаемое в правой части), миграцию под влиянием электрического поля (второе слагаемое) и образование/расход за счет электрохимического растворения платины.
Уравнения (12) и (13) решали конечно-разностным методом. Программный модуль реализован авторами на языке программирования C++.
Для решения уравнений заданы начальные и граничные условия.
Начальное условие для уравнения (12):
φ (t = 0, x, l) = φ° (x, l). (15)
Граничные условия для уравнения (12):
φ (t, x, l = L) = 0, (16)
φ (t, x, l = ln) η(t, x, l = ln) = In, (17)
, (18)
где ln – размер зародыша первичной частицы, м; In – скорость зародышеобразования, м/с; kn – константа скорости зародышеобразования, м/с.
Для нахождения решения на границах АС задаются граничные условия 2-го рода:
, (19)
(20)
Начальное условие для уравнения (13):
(21)
Граничные условия для уравнения (13):
(22)
(23)
Считали, что водород находится в мембране в избытке, тогда скорость реакции взаимодействия ионов платины с молекулярным водородом (4) W2 можно записать следующим образом:
(24)
Для записи разностной схемы, аппроксимирующей уравнение (12), вводится трехмерная разностная сетка: время t, координата по толщине АС x, размер частицы l.
Для решения системы уравнений (12–13) использовали разностные схемы, дающие второй порядок аппроксимации по времени и пространственной переменной O (Δt2, Δx2) и первый порядок по переменной l O (Δl): для уравнения (12) – схема расщепления (предиктор-корректор); для уравнения (13) – схема Кранка–Николсона, второго порядка аппроксимации по переменным t, x: O (Δt2, Δx2).
Предиктор. Предиктор работает от n шага по времени до n + 1/2; на предикторе добиваются устойчивости, все подсхемы предиктора являются абсолютно устойчивыми.
1-я подсхема предиктора:
. (25)
2-я подсхема предиктора:
(26)
где i – индекс по пространственной координате х; j, k – индексы по размерной координате; n – индекс по временной координате t; – индекс, соответствующий размеру .
3-я подсхема предиктора:
. (27)
Корректор. Корректор работает на коррекцию разностной схемы, достигая аппроксимации O (Δt2, Δl, Δx2), т.е. второго порядка по времени Δt2, первого по координате размеру Δl, второго по пространственной переменной Δx2.
Корректор
(28)
Схема предиктор-корректор для решения уравнения (12) является абсолютно устойчивой.
Разностная схема Кранка–Николсона (29) является разностным аналогом уравнения (13).
(29)
Разностная схема является абсолютно устойчивой.
Площадь удельной поверхности катализатора Ŝ [м2Pt/м3] в единице объема АС рассчитывали с использованием функции распределения частиц по размерам:
(30)
Средний размер частицы в единице объема АС определяли по выражению:
(31)
Общее число частиц в объеме АС катализатора:
. (32)
Величину удельной поверхности платинового катализатора, отнесенную к массе платины (S)
. (33)
Поиск констант k1, k–1, k2, kn, K осуществлялся методом случайного поиска при условии минимизации фактора рассогласования Ф между расчетными и экспериментальными значениями электрохимически активной поверхности катализатора:
, (34)
где m – число экспериментальных значений.
Начальное распределение частиц по размерам представляется в виде нормального распределения.
РЕЗУЛЬТАТЫ И ИХ ОБСУЖДЕНИЕ
Расчеты на основе математической модели, рассмотренной в разделе “Теоретические и численные методы”, проводились для синтезированного на смеси УНТ и сажи катализатора 20Pt/УНТ+15% ХС72 (0.50 мгPt/см2), показавшего более высокую активность, стабильность и коррозионную устойчивость, в процессе циклирования потенциала по сравнению с коммерческим катализатором. Предполагается, что разрушения углеродного носителя в катализаторе, синтезированном на УНТ, не происходит, а основными механизмами деградации платинового катализатора являются электрохимическое растворение/реосаждение и коалесценция.
Поиск констант проводили методом сканирования на основе сравнения расчетных значений площади активной поверхности катализатора с экспериментальными данными.
В табл. 2 приведены значения констант, найденные в результате расчетов.
Таблица 2. Перечень параметров, используемых при моделировании деградации активной поверхности катализатора 20Pt(УНТ + 15%ХС72)
Наименование параметра | Значение параметра |
Потенциал твердой фазы, В | 1.85 |
Потенциал растворенной фазы, В | 1 × 10–4 |
Стандартный потенциал реакции растворения Pt, В | 1.188 |
Константы скоростей прямой и обратной реакции электрохимического растворения Pt, моль/(м2с) | 3.4 × 10–12 |
Константа скорости зародышеобразования, 1/(м3с) | 1 × 10–35 |
Константа скорости реакции (4), моль/(м2с) | 1 × 10–10 |
Константа коалесценции, м3/с | 5 × 10–18 |
Коэффициент диффузии наночастиц платины, м2/с | 1 × 10–15 |
Коэффициент диффузии ионов платины, м2/с | 1 × 10–10 |
Порядок процесса зародышеобразования | 2 |
Порядок реакции (4) | 1 |
На рис. 1. приведены экспериментальные значения падения активной поверхности катализатора, значения, рассчитанные по уравнению регрессии, представленного в нашем предыдущем исследовании [22], и значения, полученные по выражению (33) в зависимости от количества циклов, в том числе и при большем количестве циклов (5000), при котором испытания не проводились.
Рис. 1. Сравнение значений активной поверхности катодного катализатора 20Pt/CNT+15% ХС72 (0.50 мгPt/см2), полученных по регрессионной модели и разработанной модели деградации : 1 – по регрессионной модели; 2 – по зависимости (33). Точки – эксперимент, линии – расчет.
Из рис. 1 видно, что данные, рассчитанные на основе представленной в данной работе модели (уравнения (12)–(13)), согласуются с экспериментальными данными лучше, чем регрессионная модель [22]. Фактор рассогласования, рассчитанный для регрессионной модели, и модели деградации (уравнения (12)–(13)) равен 0.2 и 0.02 соответственно.
С целью изучения влияния каждого механизма деградации на общую деградацию поверхности платинового катализатора катода моделирование проводили, приравнивая константы, отвечающие за остальные механизмы деградации, нулю.
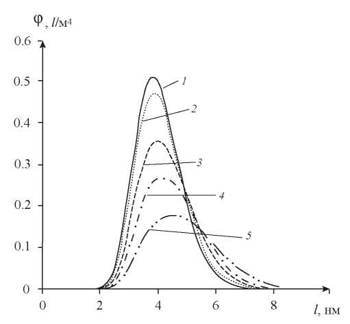
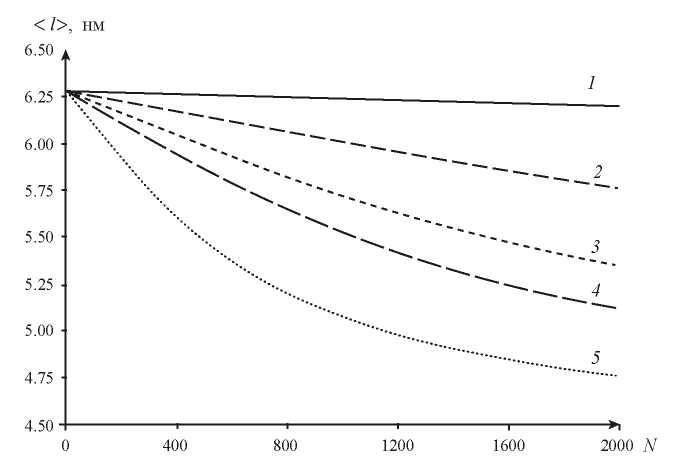
При изучении отдельно влияния механизма электрохимического растворения платины изменяли значение потенциала электрода в интервале 1.18–1.3 В. Результаты моделирования показаны на рис. 2. Показано распределение частиц платины по размеру после моделирования 2000 циклов при различных значениях потенциала.
Рис. 2. Распределение частиц по размерам после моделирования 2000 циклов при различных значениях потенциала катода (только механизм электрохимического растворения платины): 1 – 1.2 В; 2 – 1.25 В; 3 – 1.27 В; 4 – 1.28 В; 5 – 1.3 В.
Выявлено, что при значениях потенциала ниже значения 1.2 В влияние данного механизма мало. Его действие начинает сказываться только при более высоких значениях потенциала. Так как рабочие условия ячейки обычно находятся ниже значения потенциала 1.2 В, вклад этого механизма в общую потерю активной поверхности катализатора будет незначительным.
Поскольку движущая сила электрохимического растворения платины увеличивается с уменьшением размера частиц [8], меньшие по размеру частицы обладают более высокой скоростью растворения во время анодного процесса и более низкой скоростью осаждения ионов платины во время катодного процесса (экспоненциальный множитель в формулах (5)–(6)). Следовательно, во время циклирования потенциала количество мелких частиц платины уменьшается за счет потери массы платины в результате ее растворения, а количество крупных частиц растет за счет осаждения ионов Pt2+.
Увеличение потенциала катода способствует увеличению скорости электрохимического растворения платины, что выражается в виде уменьшения среднего размера частиц (рис. 3) и уменьшения площади под кривой, соответствующей массе кристаллитов платины (рис. 2).
Рис. 3. Изменение среднего размера частицы платины в процессе циклирования для различных значений потенциала катода: 1 – 1.2 В; 2 – 1.25 В; 3 – 1.27 В; 4 – 1.28 В; 5 – 1.3 В.
Выявлено, что при рабочих условиях ячейки влияние одного лишь механизма реосаждения (рекристаллизации на поверхности носителя) платины на деградацию в целом не существенно. В то же время изменение электрохимически активной поверхности платинового катализатора за счет механизма коалесценции оказалось значительным.
На рис. 4 показано изменение активной поверхности катализатора при моделировании 2000 циклов по механизму коалесценции при различных значениях константы коалесценции.
Рис. 4. Изменение доли активной поверхности катализатора в результате моделирования при различном значении константы коалесценции: 1 – 1 × 10–17; 2 – 1 × 10–18; 3 – 1 × 10–19.
С ростом константы коалесценции наблюдается значительное падение активной поверхности катализатора, что согласуется с данными [9], доказывающими укрупнение размеров частиц платины в первую очередь за счет механизма коалесценции, а не созревания по Оствальду.
При моделировании влияния диффузии частиц платины на деградацию активной поверхности предполагали, что до циклирования потенциала (t = 0) частицы платины нормально распределены по сечению катализатора в точке x= δ/2. В остальных точках частицы отсутствуют.
На рис. 5 показано влияние только диффузии кристаллитов платины на распределение частиц по размеру и координате х: а – после моделирования 20 циклов; соответственно, б – после моделирования 100 циклов.
Рис. 5. Влияние диффузии кристаллитов платины на распределение частиц по размеру и координате х: а – после моделирования 20 циклов; б – после моделирования 100 циклов.
Видно, что диффузия существенно влияет на распределение частиц по толщине АС катализатора. В течение времени (циклирования потенциала) происходит “размытие” пика и выравнивание плотности распределения частиц по толщине АС, при этом распределение частиц по размерам сохраняет форму Гауссовского распределения (нормального распределения).
Результаты моделирования с учетом всех механизмов деградации поверхности катализатора показаны на рис. 6–7.
Рис. 6. Распределение частиц по размерам катодного катализатора 20Pt/CNT+15% ХС72 (0.50 мгPt/см2) при разном количестве циклов. Кривые: 1 – 0 циклов; 2 – 100 циклов; 3 – 500 циклов; 4 – 1000 циклов; 5 – 2000 циклов.
Рис. 7. Изменение среднего размера частиц платины катодного катализатора 20Pt/CNT+15% ХС72 (0.50 мгPt/см2) в процессе циклирования потенциала.
На рис. 6 приведено изменение функции распределения кристаллитов платины по размерам в процессе циклирования потенциала. Видно, что кривая функции распределения приобретает так называемые “хвосты” как в области малых частиц, так и в области больших по размеру частиц. Оба выраженных “хвоста” свидетельствуют о совместном вкладе обоих механизмов деградации в общий процесс, но “хвост” в сторону укрупнения частиц платины во время циклирования свидетельствует о существенном преобладании механизма коалесценции [31].
На рис. 7 приведено изменение среднего размера наночастиц платины катализатора катода при различном количестве циклов.
Наблюдается рост среднего размера частицы платины с первоначального 4.1 нм до 4.9 нм после 2000 циклов.
ЗАКЛЮЧЕНИЕ
Разработанная модель включает в себя основные механизмы деградации платинового катализатора: электрохимическое растворение наночастиц платины, рост частиц за счет созревания по Оствальду, миграцию частиц по углеродному носителю, коалесценцию мелких частиц, диффузию ионов платины в иономере и их уход в мембрану.
Для решения системы уравнений математической модели использовали абсолютно устойчивые разностные схемы, дающие второй порядок аппроксимации по времени O (Δt2) и пространственной переменной O (Δx2), первый порядок по размеру частицы платины O (Δl). Для решения интегродифференциального уравнения, описывающего изменение числа частиц платины от времени, использовалась схема расщепления (предиктор-корректор). Для уравнения, описывающего изменения концентрации ионов платины, – схема Кранка–Николсона.
На основе математической модели можно получить распределение частиц по размерам, распределение концентрации ионов платины от времени и по толщине АС. По зависимости площади активной поверхности от времени можно спрогнозировать рабочий ресурс топливного элемента.
Выявлено влияние потенциала катализатора на процесс электрохимического растворения кристаллитов платины. Увеличение потенциала катода способствует увеличению скорости процесса электрохимического растворения платины, что выражается в виде уменьшения среднего размера частиц и уменьшения площади под кривой, соответствующей массе кристаллитов платины.
Выявлено, что при рабочих условиях ячейки влияние только механизма реосаждения (рекристаллизации на поверхности носителя) платины на деградацию в целом не существенно. В то же время наблюдаются значительные изменения электрохимически активной поверхности платинового катализатора за счет механизма коалесценции. В целом результаты моделирования свидетельствуют о совместном вкладе обоих механизмов, но вклад механизма коалесценции в общий процесс деградации катализатора является преобладающим.
Результаты экспериментальных исследований показывали большую стабильность каталитической системы, изготовленной с использованием нанотрубок, по сравнению с коммерческими, синтезированными на саже. Синтезированные каталитические системы на основе УНТ могут быть хорошей альтернативой коммерческим катализаторам.
В данной работе не учитывали влияние коррозии углеродного носителя в снижении активной поверхности катализатора, предполагая, что наноструктурированный на УНТ катализатор стабилен и коррозионно-устойчив. Необходима дальнейшая модификация уравнения математического модели (уравнения (12)–(13)) для учета явления коррозии как углеродного носителя, так и металла–катализатора.
Работа выполнена в рамках программы развития РХТУ им. Д.И. Менделеева “Приоритет–2030”.
ОБОЗНАЧЕНИЯ
А коэффициент, соответствующий толщине активного слоя в расчете на 1 мг углерода;
а доля активной поверхности;
C концентрация, моль/м3;
D коэффициент диффузии, м2/с;
Е потенциал, В;
F постоянная Фарадея, Кл/моль;
g удельная масса компонента в активном слое катализатора, кг/м2;
I скорость зародышеобразования, м/с;
i плотность тока, отнесенная к рабочей площади активного слоя катода, A/м2;
K константа коалесценции, м3/с;
k константа скорости реакции, моль/(м2∙с)
l размер частицы, м;
M молекулярная масса, кг/моль;
N количество циклов;
n число электронов;
QH заряд ЦВА, затраченный на десорбцию водорода, Кл;
QH0 количество электричества, затраченного на десорбцию монослоя атомов водорода с 1 см2 гладкой платины, Кл/см2;
R универсальная газовая постоянная, Дж/(моль∙К);
Romh удельное электрическое сопротивление, Ом∙м2;
S величина удельной поверхности платинового катализатора, отнесенная к массе платины, м2/кг;
Ŝ величина удельной поверхности платинового катализатора, отнесенная к объему активного слоя, м2Pt/м3;
Ṡ рабочая поверхность МЭБ (площадь электрода), м2;
T температура, К;
t время, с;
U термодинамически обратимый электродный потенциал реакции, В;
Ueq стандартный электродный потенциал реакции, В;
W скорость реакции, моль/(м2∙с);
x пространственная координата, м;
α коэффициент переноса заряда;
δ толщина активного слоя катода, м;
η1 скорость уменьшения кристаллита платины за счет электрохимического растворения, м/с;
η2 скорость роста кристаллита платины за счет электрохимического осаждения, м/с;
μ электрохимический потенциал, Дж/моль;
ρ плотность, кг/м3.
σ поверхностное натяжение, Дж/м2;
Ф фактор рассогласования;
φ плотность функции распределения частиц по размерам, 1/м4;
ИНДЕКСЫ
eq – стандартный;
n – индекс по временной координате.
0 – начальное значение;
-1 – обратная реакция (1);
1 – прямая реакция (1);
a – относится к анодному процессу;
с – относится к катодному процессу;
calc – расчетные данные;
exp – экспериментальные данные;
i – индекс по пространственной координате;
j, k – индекс по размерной координате;
m – металлическая фаза;
n – зародыш;
ref – равновесное значение;
s – растворенная фаза.
About the authors
Э. М. Кольцова
Российский химико-технологический университет имени Д.И. Менделеева
Author for correspondence.
Email: koltsova.e.m@muctr.ru
Russian Federation, Москва
В. А. Василенко
Российский химико-технологический университет имени Д.И. Менделеева
Email: koltsova.e.m@muctr.ru
Russian Federation, Москва
А. В. Женса
Российский химико-технологический университет имени Д.И. Менделеева
Email: koltsova.e.m@muctr.ru
Russian Federation, Москва
В. А. Богдановская
Институт физической химии и электрохимии им. А.Н. Фрумкина РАН
Email: koltsova.e.m@muctr.ru
Russian Federation, Москва
М. В. Радина
Институт физической химии и электрохимии им. А.Н. Фрумкина РАН
Email: koltsova.e.m@muctr.ru
Russian Federation, Москва
References
- Meshalkin V.P., Belyakov A.V., Butusov O.B., Burukhina T.F., Khodchenko S.M., Garabadzhiu A.V., Dovì V.G., Bobkov V.I. State of the art and research development prospects of energy and resource-efficient environmentally safe chemical process systems engineering // Mendeleev Commun. 2021. V. 31. № 5. P. 593.
- Jahnke T., Futter G., Latz A.; Malkow T., Papakonstantinou G., Tsotridis G., Schott P., Gérard M., Quinaud M., Quiroga M., Franco A.A., Malek K., Calle-Vallejo F., Ferreira de Morais R., Kerber T., Sautet P., Loffreda D., Strahl S., Serra M., Polverino P., Pianese C., Mayur M., Bessler W.G., Kompis C. Performance and degradation of proton exchange membrane fuel cells: state of the art in simulation from atomistic to system scale // J. Power Sources. 2016. V. 304. P. 207.
- Zhao J., Li X., Shum C., McPhee J. A review of physics-based and data-driven models for real-time control of polymer electrolyte membrane fuel cells // Energy and AI. 2021. V. 6. 100114.
- Arif M., Cheung S.C.P., Andrews J. Different approaches used for simulation and simulation of polymer electrolyte membrane fuel cells: A review // Energy Fuels. 2020. V. 34. № 10. P. 11897.
- Shao-Horn Y., Sheng W.C., Chen S., Ferreira P.J., Holby E.F., Morgan D. Instability of supported platinum nanoparticles in low-temperature fuel cells // Top. Catal. 2007. V. 46. P. 285.
- Franco A.A., Tembely M. Transient multiscale modeling of aging mechanisms in a PEFC cathode // J. Electrochem. Soc. 2007. V. 154. № 7. P. B712.
- Darling R.M., Meyers J.P. Kinetic model of platinum dissolution in PEMFCs // J. Electrochem. Soc. 2003. V. 150. № 11. P. A1523.
- Bi W., Fuller T.F. Modeling of PEM fuel cell Pt/C catalyst degradation // J. Power Sources. 2008. V. 178. № 1. P. 188.
- Ahluwalia R.K., Arisetty S., Peng J.-K., Subbaraman R., Wang X., Kariuki N., Myers D.J., Mukundan R., Borup R., Polevaya O. Dynamics of particle growth and electrochemical surface area loss due to platinum dissolution // J. Electrochem. Soc. 2014. V. 161. № 3. P. F291.
- Holby E.F., Sheng W., Shao-Horn Y., Morgan D. Pt nanoparticle stability in PEM fuel cells: influence of particle size distribution and crossover hydrogen // Energy Environ. Sci. 2009. V. 2. № 8. P. 865.
- Ferreira P.J., la O’ G.J., Shao-Horn Y., Morgan D., Makharia R., Kocha S., Gasteiger H.A. Instability of Pt∕C electrocatalysts in proton exchange membrane fuel cells: a mechanistic investigation // J. Electrochem. Soc. 2005. V. 152. № 11. P. A2256.
- Carlton C.E., Chen S., Ferreira P.J., Allard L.F., Shao-Horn Y. Sub-nanometer-resolution elemental mapping of “” nanoparticle catalyst degradation in proton-exchange membrane fuel cells // J. Phys. Chem. Lett. 2012. V. 3. P. 161.
- Chen S., Gasteiger H.A., Hayakawa K., Tada T., Shao-Horn Y. Platinum-alloy cathode catalyst degradation in proton exchange membrane fuel cells: nanometer-scale compositional and morphological changes // J. Electrochem. Soc. 2010. V. 157. P. A82.
- Ao Y., Chen K., Laghrouche S., Depernet D. Proton exchange membrane fuel cell degradation model based on catalyst transformation theory // Fuel Cells. 2021. V. 21. P. 254.
- Kovtunenko V.A., Karpenko-Jereb L. Study of voltage cycling conditions on Pt oxidation and dissolution in polymer electrolyte fuel cells // J. Power Sources. 2021. V. 493. P. 229693.
- Li Y., Moriyama K., Gu W., Arisetty S., Wang C.Y. A one-dimensional Pt degradation model for polymer electrolyte fuel cells // J. Electrochem. Soc. 2015. V. 162. № 8. P. F834.
- Yang Y., Bai M., Su L., Lv J., Hu C., Gao L., Li Y., Li Y., Song Y. One-dimensional numerical simulation of Pt-Co alloy catalyst aging for proton exchange membrane fuel cells // Sustainability. 2022. V. 14. P. 11462.
- Tochigi S., Dowaki K. Environmental impact assessment of PEM fuel cell combined heat and power generation system for residential application considering cathode catalyst layer degradation // Energies. 2023. V. 16. P. 1985.
- Xin H.L., Mundy J.A., Liu Z.Y., Cabezas R., Hovden R., Kourkoutis L.F., Zhang J.L., Subramanian N.P., Makharia R., Wagner F.T., Muller D.A. Atomic-resolution spectroscopic imaging of ensembles of nanocatalyst particles across the life of a fuel cell // Nano Lett. 2012. V. 12. P. 490.
- Yu Y., Xin H.L., Hovden R., Wang D., Rus E.D., Mundy J.A., Muller D.A., Abruna H.D. Three-dimensional tracking and visualization of hundreds of Pt-Co fuel cell nanocatalysts during electrochemical aging // Nano Lett. 2012. V. 12. P. 4417.
- Mitrichev I., Vasilenko V., Scherbakov A., Koltsova E. Simulation of PEMFC with Pt/CNT nanostructured cathode catalyst // Chem. Eng. Trans. 2016. V. 52. P. 1003.
- Kol’tsova E.M., Bogdanovskaya V.A., Tarasevich M.R., Vasilenko V.A., Stankevich M.M., Filippova E.B., Khoroshavina A.A. Computer aided simulation of hydrogen–oxygen (air) fuel cell with regard to the degradation mechanism of platinum catalyst on the cathode // Russ. J. Electrochem. 2016. V. 52. № 1. P. 53. [Кольцова Э.М., Богдановская В.А., Тарасевич М.Р., Василенко В.А., Станкевич М.М., Филиппова Е.Б., Хорошавина А.А. Компьютерное моделирование водородо-кислородного (воздушного) топливного элемента с учетом механизма деградации платинового катализатора на катоде // Электрохимия. 2016. Т. 52. № 1. С. 62.]
- Koltsova E., Vasilenko V., Shcherbakov A., Fokina E., Bogdanovskaya V. Mathematical simulation of PEMFC platinum cathode degradation accounting catalyst’s nanoparticles growth // Chem. Eng. Trans. 2018. V. 70. P. 1303.
- Кафаров В.В., Дорохов И.Н., Кольцова Э.М. Системный анализ процессов химической технологии. Энтропия и вариационные методы неравновесной термодинамики в задачах химической технологии. М.: Наука, 1988.
- Кафаров В.В., Дорохов И.Н., Кольцова Э.М. Системный анализ процессов химической технологии: методы неравновесной термодинамики: монография / Под ред. Жаворонков Н.М. – 2-е изд., перераб. и доп. – М.: Юрайт, 2021.
- Кафаров В.В., Дорохов И.Н., Кольцова Э.М. Системный анализ процессов химической технологии: массовая кристаллизация: монография / ответственный редактор Н.М. Жаворонков. – 2-е изд., перераб. и доп. – М.: Юрайт. 2023.
- Bogdanovskaya V.A., Kol’tsova E.M., Tarasevich M.R., Radina M.V., Zhutaeva G.V., Kuzov A.V., Gavrilova N.N. Highly active and stable catalysts based on nanotubes and modified platinum for fuel cells // Russ. J. Electrochem. 2016. V. 52. № 8. P. 723. [Богдановская В.А., Кольцова Э.М., Тарасевич М.Р., Радина М.В., Жутаева Г.В., Кузов А.В., Гаврилова Н.Н. Высокоактивные и стабильные катализаторы на основе нанотрубок и модифицированной платины для топливных элементов // Электрохимия. 2016. Т. 52. № 8. С. 810.]
- Bogdanovskaya V.A., Kuzov A.V., Radina M.V., Filimonov V.Y., Sudarev G.M., Osina M.A. Stability against degradation and activity of catalysts with different platinum load synthesized at carbon nanotubes // Russ. J. Electrochem. 2020. V. 56. № 12. P. 969. [Богдановская В.А., Кузов А.В., Радина М.В., Филимонов В.Я., Сударев Г.М., Осина М.А. Устойчивость к деградации и активность катализаторов с различным содержанием платины, синтезированных на углеродных нанотрубках // Электрохимия. 2020. Т. 56. № 12. С. 1083.
- Kuzov A.V., Tarasevich M.R., Bogdanovskaya V.A., Modestov A.D., Tripachev O.V., Korchagin O.V. Degradation processes in hydrogen–air fuel cell as a function of the operating conditions and composition of membrane–electrode assemblies // Russ. J. Electrochem. 2016. V. 52. № 7. P. 705. [Кузов А.В., Тарасевич М.Р., Богдановская В.А., Модестов А.Д., Трипачев О.В., Корчагин О.В. Деградационные процессы в водородо-воздушном топливном элементе в зависимости от рабочих условий и состава мембранно-электродных блоков // Электрохимия. 2016. Т. 52. № 7. С. 790.]
- Avakov V.B., Aliev A.D., Beketaeva L.A., Bogdanovskaya V.A., Burkovskii E.V., Datskevich A.A., Ivanitskii B.A., Kazanskii L.P., Kapustin A.V., Korchagin O.V., Kuzov A.V., Landgraf I.K., Lozovaya O.V., Modestov A.D., Stankevich M.M., Tarasevich M.R., Chalykh A.E. Study of degradation of membrane-electrode assemblies of hydrogen-oxygen (air) fuel cell under the conditions of life tests and voltage cycling // Russ J Electrochem. 2014. V. 50. P. 773. [Аваков В.Б., Алиев А.Д., Бекетаева Л.А., Богдановская В.А., Бурковский Е.В., Дацкевич А.А., Иваницкий Б.А., Казанский Л.П., Капустин А.В., Корчагин О.В., Кузов А.В., Ландграф И.К., Лозовая О.В., Модестов А.Д., Станкевич М.М., Тарасевич М.Р., Чалых А.Е. Исследование деградации мембранно-электродных блоков водородо-кислородного (воздушного) топливного элемента в условиях ресурсных испытаний и циклирования напряжения // Электрохимия. 2014. Т. 50. № 8. С. 858].
- Ascarelli P., Contini V., Giorgi R. Formation process of nanocrystalline materials from x-ray diffraction profile analysis: Application to platinum catalysts // J. Appl. Phys. 2002. V. 91. № 7.
Supplementary files









