Nickel oxide epitaxial films and diode structures based on them
- Authors: Averin S.V.1, Luzanov V.A.1, Zhitov V.A.1, Zaharov L.Y.1, Kotov V.M.1, Temiryazeva M.P.1, Mirgorodskaya E.N.1
-
Affiliations:
- Fryazino branch Kotelnikov Institute of Radioengineering and Electronics of RAS
- Issue: Vol 69, No 9 (2024)
- Pages: 908-923
- Section: НАНОЭЛЕКТРОНИКА
- URL: https://ogarev-online.ru/0033-8494/article/view/282008
- DOI: https://doi.org/10.31857/S0033849424090124
- EDN: https://elibrary.ru/HQZMRS
- ID: 282008
Cite item
Full Text
Abstract
Epitaxial NiO films on LiNbO3 substrates were produced using magnetron sputtering. Optimal conditions for deposition of NiO films to achieve their high crystalline perfection were found. Optical properties of NiO films were studied in the wavelength range of 250...800 nm. The band gap of nickel oxide was determined. Semiconductor diode structures in the form of interdigital Schottky barrier contacts to the epitaxial NiO film were fabricated. The current-voltage characteristics of the diode structures demonstrate low dark currents and the possibility of creating photodetectors for the UV part of the spectrum with a long-wavelength boundary of 340 nm on their basis.
Full Text
ВВЕДЕНИЕ
Оксид переходного металла, NiO – полупроводник р-типа с шириной запрещенной зоны 3.6 … 4.0 эВ – перспективный полупроводниковый материал для многих практических применений [1, 2], таких как активные слои химических сенсоров [3], оптически прозрачные токопроводящие пленки [4], электрохромные устройства [5], солнечные элементы [6], светоизлучающие диоды [7], детекторы УФ-излучения [8]. Оксид никеля может быть выращен различными методами и на разных подложках: это химическое осаждение в ванне и из паровой фазы, струйный пиролиз, электрохимическое осаждение, термическое и магнетронное распыление [9–11]. Каждый из этих процессов имеет свои преимущества и недостатки. При этом метод магнетронного распыления является легко управляемым процессом с достаточно высокой скоростью осаждения, сравнительно дешев и широко используется в промышленности.
Оптические свойства пленок NiO во многом определяют характеристики приборов, изготовленных на их основе, особенно когда толщина выращенных пленок уменьшается до нанометровых масштабов [12, 13]. Установлено, что подложки, на которых осаждены пленки NiO, в значительной степени изменяют оптические свойства выращенных пленок [13]. В основном это были подложки из сапфира, кварцевого стекла, полимерных материалов. Наши предыдущие исследования показали, что небольшое рассогласование кристаллических решеток позволяет получить структурно совершенные тонкие слои NiO на подложках LiNbO3 [14].
Ниобат лития является традиционным материалом для использования в электрооптических, акустооптических и акустоэлектронных устройствах и комбинация пленок оксида никеля с подложкой LiNbO3 представляет несомненный интерес как для различных физических исследований, так и для создания электронных устройств на их основе [14].
Цель данной работы – впервые провести экспериментальные исследования оптических и электрических свойств полупроводниковых структур на основе оксида никеля, выращенного на подложках ниобата лития методом магнетронного распыления.
ЭКСПЕРИМЕНТАЛЬНЫЕ РЕЗУЛЬТАТЫ И ОБСУЖДЕНИЕ
1.1. Технология изготовления пленок ниобата лития
Перед нанесением пленок оксида никеля монокристаллические подложки ниобата лития проходили трехстадийную подготовку поверхности. Вначале их обрабатывали в смеси серной кислоты, перекиси водорода и деионизированной воды, затем опускали в водный раствор азотной кислоты и, наконец, очищали в водном растворе гироксида аммония и перекиси водорода. Подготовку заканчивали промывкой в деионизированной воде, после чего подложки высушивали продувкой азотом. Для осаждения пленок оксида никеля использована модифицированная вакуумная установка катодного распыления A550 VZK (Leybold Heraeus GmbH), оборудованная магнитной системой. Перед напылением камеру откачивали до давления 1 × 10–6 Торр и подложку нагревали до температуры 400°С. Для распыления Ni была использована мишень с чистотой Ni 99.999%. При осаждении пленок варьировались такие параметры, как ток разряда (в пределах 100 … 200 мА при напряжении 350 В), компоненты реакционной смеси Ar–O2 в соотношении от 0 : 1 до 1 : 1 и ее давление в пределах от 6 × 10–3 до 2 × 10–2 Торр. В этих условиях скорость осаждения пленок NiO составляла ~ 10 нм/мин. Толщина осажденных пленок в экспериментах были в диапазоне 50 … 500 нм.
1.2. Рентгеноструктурный анализ
Выращенные пленки были исследованы методом рентгеноструктурного анализа на автоматизированном двухкристальном дифрактометре ДРОН-3, работающим по схеме Брэгга–Брентано. Для выделения характеристической линии Kα1 использовали кварцевый монохроматор. Качество полученных пленок определяли по полуширине кривой качания для плоскости (111). Наши исследования показали, что снижение тока разряда с 200 до 100 мА позволяет реализовать более равновесный процесс осаждения NiO и, как следствие, получать кристаллически более совершенные пленки. Самый кристаллически совершенный образец получен при токе разряда I = 100 мА. На рис. 1 представлена кривая качания от плоскости (111) NiO для этого образца с толщиной эпитаксиальной пленки NiO 300 нм. При этом полуширина кривой качания для плоскости (111) составляет ∆Ω = 0.04° при соотношении реакционной смеси Ar–50%, O2–50%, тогда как при токе разряда I = 200 мА и таком же соотношении компонентов реакционной смеси полуширина кривой качания составляет уже ∆Ω = 0.09°. Также было установлено, что использование реакционной смеси с O2–100% значительно снижает кристаллическое совершенство осажденных пленок NiO. Полуширина кривой качания составляет в этом случае 0.3°. Таким образом, были найдены оптимальные условия напыления пленок NiO для достижения их высокого кристаллического совершенства.
Рис. 1. Кривая качания для образца 2, толщина эпитаксиального слоя NiO 300 нм.
1.3. Поверхность выращенных пленок
Поверхность исходных подложек LiNbO3 и выращенных на них пленок NiO была исследована на атомно-силовом микроскопе (АСМ) Smart SPM (АИСТ-НТ). На рис. 2а, 2б представлены 2D- и 3D-топографические ACM-изображения фрагмента поверхности полупроводниковой структуры NiO/LiNbO3 c толщиной эпитаксиального слоя NiO 50 нм. Среднеквадратичная высота неровностей на площадке 1.5 × 1.5 мкм2 RMS = 1.73 нм была определена из анализа изображения при использовании программы Gwyddion. С увеличением толщины выращенной пленки NiO среднеквадратичная высота неровностей эпитаксиального слоя увеличивалась за счет накопления количества дефектов вследствие ионной бомбардировки поверхности. Так, при толщине пленки 200 нм она уже составляла RMS = 2.97 нм. Для сравнения шероховатость поверхности пленки при термическом распылении порошка NiO составила RMS = 5 нм при толщине пленки NiO 100 нм [2].
Рис. 2. Фрагмент поверхности гетероструктуры NiO/LiNbO3 (а) и его морфология (б); изображение получено с помощью атомно-силового микроскопа.
На рис. 3 представлена микрофотография фрагмента поверхности исходной подложки LiNbO3. Среднеквадратичная высота неровностей составляет всего RMS = 0.25 нм. Таким образом, используемые подложки LiNbO3 очень высокого качества и практически не дают вклада в морфологию поверхности выращенных пленок.
Рис. 3. Фрагмент поверхности исходной подложки LiNbO3 (АСМ-изображение); среднеквадратичная высота неровностей RMS = 0.25 нм.
1.4. Оптические свойства пленок оксида никеля
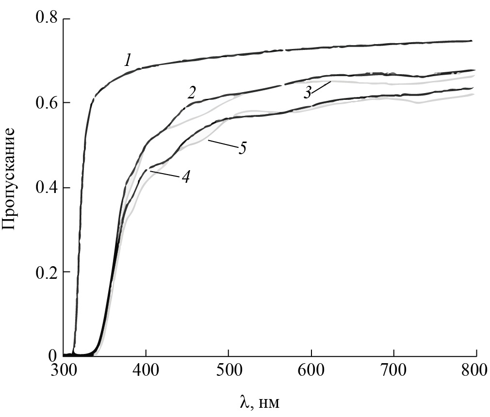
Изучение оптических свойств эпитаксиальных пленок позволяет определить ширину запрещенной зоны используемого полупроводникового материала, оценить электрические параметры (напряжение пробоя, темновой ток) и длинноволновую (красную) границу отклика фотодетектора. Было исследовано оптическое пропускание изготовленных гетероструктур NiO/ LiNbO3 в диапазоне длин волн 250 … .800 нм. Для регистрации спектров изучаемых образцов использован спектрофотометр SPECORD UV VIS. На рис. 4 представлены экспериментальные спектры пропускания самой подложки ниобата лития (без пленки) и спектры пропускания исследуемых структур (пленка-NiO/подложка LiNbO3) с слоем NiO разной толщины. Видно, что оптическое пропускание пленок NiO в диапазоне длин волн 450 … 800 нм составляет ~ 60% , что хорошо согласуется с пропусканием света в пленках NiO, выращенных в других исследованиях, например, на Si-подложках [2]. Перед осаждением пленок NiO были также исследованы оптические свойства подложек LiNbO3 (см. рис. 4).
Рис. 4. Спектры пропускания исследуемых образцов: 1 – только подложка LiNbO3, 2–5 – гетероструктуры пленка NiO/подложка LiNbO3 со слоем NiO разной толщины: d = 300 нм (2) образец 2, d = 320 нм (3) образец 3, d = 380 нм (4) образец 4, d = 525 нм (5) образец 5.
Из рисунка следует, что подложка LiNbO3 имеет край поглощения на длине волны ~310 нм и пропускает свет (по уровню 0.7 от максимально возможного) для всех волн, длиннее 350 нм. Следовательно, при освещении со стороны подложки она может быть пригодна для исследования оптических свойств материалов (и приборов на их основе), ширина запрещенной зоны которых попадает в диапазоны длин волн, превышающих ~310 нм. В частности, поскольку край оптического поглощения NiO находится на 340 нм, это позволяет создать на основе гетероструктуры NiO/LiNbO3 узкополосный фотодетектор, отклик которого будет ограничен диапазоном 310 … 340 нм. Такой полосовой детектор является солнечно слепым и позволяет фиксировать биологически опасное излучение Солнца в области длин волн 305 … 340 нм [15].
Сопоставляя спектр пропускания подложки LiNbO3 (см. рис. 4, кривая 1) со спектрами пропускания изучаемых образцов с NiO-слоем разной толщины (кривые 2–5) и учитывая высокое качество поверхности исследуемых пленок NiO, можно предположить, что наблюдаемые осцилляции спектров связаны с интерференцией в эпитаксиальном NiO-слое структуры NiO/LiNbO3 Это предположение подтверждается наблюдениями и выводами других исследователей [12, 13, 16]. Поскольку свет проходит через две полупрозрачные поверхности, он частично отражается от каждой из них, что приводит к процессам реабсорбции (повторное поглощение) и интерференции, которую можно рассматривать как осцилляции Фабри–Перо [13, 17]. Эти интерференционные колебания спектров пропускания исчезают на длинах волн, близких к краю оптического поглощения пленок NiO. При этом cледует отметить, что пленки NiO, осажденные на подложках LiNbO3, с использованием тока разряда 100 мА, обладают меньшим оптическим поглощением в области прозрачности и являются кристаллически более совершенными (образцы 2 и 5).
Для расчета ширины запрещенной зоны в исследуемых пленках NiO использовалось уравнение Таука [18], которое для прямозонного полупроводника имеет вид
,
где hν – энергия фотона, Eg – ширина запрещенной зоны, A – постоянная, α – коэффициент поглощения. Построив график (αhν)2 = f (hν) (рис. 5) и экстраполируя линейный участок к точке пересечения с осью hν, можно определить Eg в осажденных пленках. Найденные значения края поглощения для прямых разрешенных переходов для всех исследуемых нами структур лежат в диапазоне 3.57 … 3.59 эВ, что хорошо согласуется с результатами, опубликованными в работах [1, 13, 19].
Рис. 5. График (αhν)2 = f (hν) для определения Eg в осажденных пленках, образец 2.
1.5. Диодные структуры металл–полупроводник–металл на основе пленок оксида никеля и их электрические характеристики
На выращенных пленках NiO были изготовлены полупроводниковые диодные структуры. Обзор литературы показывает, что в настоящее время наиболее перспективной является диодная структура на основе двух выпрямляющих, последовательно включенных, Шоттки барьерных контактов в системе металл–полупроводник–металл (МПМ) [20]. Она позволяет использовать полупроводниковый материал только одного типа проводимости, при этом планарная геометрия структуры обеспечивает легкую интеграцию таких диодов с современными схемами усиления и обработки сигналов. В данной работе диодная структура была реализована в виде встречно-штыревых Шоттки барьерных контактов металл–полупроводник к эпитаксиальной пленке NiO (рис. 6). Для этого на поверхность пленки NiO последовательно напылялись Ni и Au c общей толщиной ~200 нм и методами фотолитографии формировались встречно-штыревые контакты МПМ-диодов с шириной контактов и расстояниями между ними 10 мкм при общей площади диода 500 × 500 мкм2. Шероховатость поверхности встречно-штыревых контактных штырей МПМ-диодов согласно измерениям была равна RMS = 3.7 нм.
Рис. 6. Диодная МПМ-структура в разрезе: ширина встречно-штыревых контактов NiAu и расстояние между ними 10 мкм, активная площадь диода 500 × 500 мкм2.
Измерение вольт-амперных характеристик изготовленных МПМ-диодов показало, что их темновые токи при напряжении смещения 5 В составляют несколько микроампер и возрастают на порядок величины при увеличении смещения до 35 В (рис. 7). Диодные структуры без пробоя выдерживают увеличение напряжения смещения вплоть до 50 В.
Рис. 7. Вольт-амперные характеристики диодных МПМ-структур при различной толщине пленки NiO: d = 200 (1), 100 (2) и 50 нм (3).
Нелинейная зависимость тока от напряжения подтверждает присутствие барьера Шоттки на интерфейсе Ni/NiO. Увеличение толщины пленки оксида никеля ведет к росту дефектов эпитаксиального слоя и увеличению темновых токов диодных структур МПМ (см. рис. 7). Наблюдалось увеличение темнового тока МПМ-диода при освещении светом с энергией фотонов большей, чем ширина запрещенной зоны NiO. Темновые токи, реализованные в наших исследованиях, находятся в хорошем соответствии с результатами других авторов. Так МПМ-детектор на пленке NiO, выращенной на Si, демонстрировал темновой ток 5 мкА при напряжении смещения 5 В [12]. В работе [1] темновой ток Шоттки барьерных диодных структур на основе NiO составлял 1 мкА при напряжении смещения 3 В. Несколько большие темновые токи были реализованы на МПМ-диодах с использованием наноструктурных пленок NiO на Si(100) подложках [21]. Они составляли 150 мкА при смещении 5 В. Хорошо известно, что низкие темновые токи диодных структур являются необходимым условием для реализации чувствительных фотодиодов.
Таким образом, пленки NiO, выращенные на подложках LiNbO3, являются перспективными для создания на их основе детекторов излучения УФ-части спектра.
ЗАКЛЮЧЕНИЕ
Изучено влияние условий магнетронного осаждения пленок NiO на подложках LiNbO3 на кристаллическое совершенство и оптические свойства эпитаксиальных пленок NiO. Найдены оптимальные условия напыления таких пленок.
Исследовано оптическое пропускание гетероструктур NiO/LiNbO3 в диапазоне длин волн 250 … 800 нм. Показано, что гетероструктура NiO/LiNbO3 позволяет создать узкополосный фотодетектор, отклик которого будет ограничен диапазоном длин волн 310 … 340 нм.
Найдены значения края поглощения для прямых разрешенных переходов в NiO, которые находятся в пределах 3.57 … 3.59 эВ.
Изготовлены планарные диодные структуры МПМ с использованием встречно-штыревых Шоттки барьерных контактов к эпитаксиальной пленке NiO. Низкие темновые токи показывают перспективность диодных структур для создания детекторов излучения УФ-части спектра.
Авторы данной работы заявляют об отсутствии конфликта интересов.
ФИНАНСИРОВАНИЕ РАБОТЫ
Работа выполнена в рамках государственного задания Института радиотехники и электроники им. В.А. Котельникова РАН.
About the authors
S. V. Averin
Fryazino branch Kotelnikov Institute of Radioengineering and Electronics of RAS
Author for correspondence.
Email: sva278@ire216.msk.su
Russian Federation, Vvedensii Squar. 1, Fryazino, Moscow oblast, 141190
V. A. Luzanov
Fryazino branch Kotelnikov Institute of Radioengineering and Electronics of RAS
Email: sva278@ire216.msk.su
Russian Federation, Vvedensii Squar. 1, Fryazino, Moscow oblast, 141190
V. A. Zhitov
Fryazino branch Kotelnikov Institute of Radioengineering and Electronics of RAS
Email: sva278@ire216.msk.su
Russian Federation, Vvedensii Squar. 1, Fryazino, Moscow oblast, 141190
L. Yu. Zaharov
Fryazino branch Kotelnikov Institute of Radioengineering and Electronics of RAS
Email: sva278@ire216.msk.su
Russian Federation, Vvedensii Squar. 1, Fryazino, Moscow oblast, 141190
V. M. Kotov
Fryazino branch Kotelnikov Institute of Radioengineering and Electronics of RAS
Email: sva278@ire216.msk.su
Russian Federation, Vvedensii Squar. 1, Fryazino, Moscow oblast, 141190
M. P. Temiryazeva
Fryazino branch Kotelnikov Institute of Radioengineering and Electronics of RAS
Email: sva278@ire216.msk.su
Russian Federation, Vvedensii Squar. 1, Fryazino, Moscow oblast, 141190
E. N. Mirgorodskaya
Fryazino branch Kotelnikov Institute of Radioengineering and Electronics of RAS
Email: sva278@ire216.msk.su
Russian Federation, Vvedensii Squar. 1, Fryazino, Moscow oblast, 141190
References
- Gupta R.K., Hendi A.A., Cavas M. et al. // Phys. E. 2014. V. 56. P. 288.
- Choi J.-M., Im S. // Appl. Surface Sci. 2005. V. 244. № 1-4. P. 435.
- Steinebach H., Kannan S., Rieth L., Solzbacher F. // Sensors Actuators B: Chem. 2010. V. 151. P. 162.
- Sato H., Minami T., Takata S., Yamada T. // Thin Solid Films. 1993. V. 236. № 1-2. P. 27.
- Lou X.C., Zhao X.J., He X. // Solar Energy. 2009. V. 83.№ 12. P. 2103.
- Shinde V.R., Gujar T.P., Lokhande C.D. et al. // Mater. Chem. Phys. 2006. V. 96. № 2-3. P. 326.
- Park S.-W., Choi J.M., Kim E., Im S. // Appl. Surf. Sci. 2005. V. 244. № 1. P. 439.
- Ohta H., Hirano M., Nakahara K. et al. // Appl. Phys. Lett. 2003. V. 83. № 5. P. 1029.
- Kakehi Y., Nakao S., Satoh K., Kusaka T. // J. Crystal Growth. 2002. V. 237–239. Pt. 1. P. 591.
- Lindahl E., Lu J., Ottosson M., Carlsson J.-O. // J. Crystal Growth. 2009. V. 311. № 16. P. 4082.
- Wang Y., Ghanbaja J., Boulet P. et al. // Acta Materialia. 2019. V. 164. P. 648.
- Ahmed A.A., Devarajan M., Afzal N. // Sensors and Actuators A: Phys. 2017. V. 262. P. 78.
- Manjnatra K.N., Paul Sh. // Appl. Surface Sci. 2015. V. 352. P. 10.
- Лузанов В.А. // РЭ. 2020. Т. 65. № 12. С. 1206.
- Бланк Т.Б., Гольдберг Ю.А. // Физика и техника полупроводников. 2003. Т. 37. № 9. С. 1025.
- Lin D.Y., Chen W.L., Lin W.C. et al. // Phys. Stat. Solidi. 2006. V. C-3. № 6. P. 1983.
- Surender S., Probakaran K., Pradeep S. et al. // Opt. Mater. 2023. V. 136. Article No. 113462.
- Tauc J. // Mater. Res. Bull. 1968. V. 3. № 1. P. 37.
- Hadi A.A., Badr B.A., Mahdi R.O., Khashan K.S. // Optic-Int. J. Light and Electron Optics. 2020. V. 219. Article No. 165019.
- Averine S.V., Chan Y.C., Lam Y.L. // Solid-State Electron. 2001. V. 45. № 3. P. 441.
- Ahmed A.A., Hashim M.R., Abdalrheem R., Rashid M. // J. Alloys Comp. 2019. V. 798. P. 300.
Supplementary files









