Formation of a nutation line contour under conditions of a strong inhomogeneous field in flow-thru nuclear magnetic spectrometers with a rapid change in flow velocity
- Authors: Davydov V.V.1,2, Gol’dberg A.A.1, Davydov R.V.1,2,3
-
Affiliations:
- Peter the Great Saint Petersburg Polytechnic University
- Bonch-Bruevich Saint Petersburg State University of Telecommunications
- Alferov University
- Issue: Vol 69, No 7 (2024)
- Pages: 669-677
- Section: PHYSICAL PROCESSES IN ELECTRONIC DEVICES
- URL: https://ogarev-online.ru/0033-8494/article/view/279644
- DOI: https://doi.org/10.31857/S0033849424070099
- EDN: https://elibrary.ru/HYUZFJ
- ID: 279644
Cite item
Full Text
Abstract
The problems arising in experiments using liquid flows are considered. The advantages of using nuclear magnetic resonance-based devices for flow parameter control both in research and in industrial parameter measurements are noted. A new method for forming a nutation line contour with a given profile from a liquid flow with magnetization inversion has been developed, and the features of controlling the processes of this contour formation have been established. Experimental studies have been conducted and the possibility of applying the new method for measuring the liquid flow rate q with rapid changes in the flow velocity has been proven. New coefficients in the Bloch equations are proposed that describe the motion of three magnetization components (Mx’, My’ and Mz’) in the nutation coil in a liquid flow in a strong inhomogeneous field. The nutation line contour has been calculated for various parameters B0 and q. The minimum value of the magnetic field inhomogeneity has been established taking into account q and the parameters of the current medium, which must be ensured in the nutation coil location sector when forming the line contour at the noise level to implement the “magnetic” mark mode when measuring q. A comparison of theoretical calculations with experimental data was carried out.
Full Text
ВВЕДЕНИЕ
Развитие новых технологий требует постоянного совершенствования методов и приборов для контроля различных физических величин явлений и параметров конденсированных сред [1–4]. Одна из сложных задач, которую сейчас приходится решать при проведении исследований, контроле различных технологических процессов и состояния конденсированных сред, связана с измерениями в потоках жидких сред в реальном времени [3, 5–10]. С учетом постоянного повышения требований к точности измерений, расширению числа параметров, которые необходимы для определения состояния текущей среды, а также к функциональным возможностям измерительных устройств предпочтения при работе с потоками жидкости все больше отдается применению бесконтактных приборов [3, 5–11]. Ядерно-магнитные расходомеры-релаксометры обладают неоспоримыми преимуществами при их использовании для контроля параметров потока жидких сред [7–10, 12–15] по сравнению с другими бесконтактными измерителями. Применение этих приборов позволяет решать сложные задачи, в которых другие бесконтактные приборы для реализации необходимых измерений или неприменимы, или не позволяют получить полную информацию о параметрах потока жидкости для принятия адекватного решения по результатам исследований.
В случае регистрации сигнала ядерно-магнитного резонанса (ЯМР) от текущей жидкости с использованием метода последовательности импульсов Карра–Парселла–Мельбума–Гилла или последовательности импульсов спинового эха при быстром изменении скорости потока в экспериментальных установках, а также в промышленных ЯМР расходомерах-релаксометрах, возникает ряд непреодолимых в настоящее время проблем. Эти проблемы связаны как с измерением времен продольной Т1 и поперечной Т2 релаксации, так и с возможностью реализации отстройки частоты регистрации ЯМР-сигнала на резонансные частоты других ядер для получения дополнительной информации о составе текущей среды. Для обеспечения диапазона измерения расхода жидкости q в диапазоне двух порядков регистрация ЯМР-сигнала в расходомерах-релаксометрах осуществляется на резонансной частоте протонов, так как они, в отличие от других ядер, обладают наибольшей чувствительностью к методу ЯМР и содержатся в составе 99.8% жидких сред. Классический спектр, который регистрируется в ЯМР-спектрометрах с неподвижным образцом, в проточном ЯМР расходомере-релаксометре отсутствует.
Кроме того, для обеспечения измерений значения q, которое изменяется в диапазоне более двух порядков, при быстром изменении скорости потока требуются большие габариты магнитных систем. Длина всей конструкции прибора может достигать до 8…10 м, а масса до 4000 кг и более. Это создает огромные проблемы с монтажом, ремонтом и пр. Практические примеры данных проблем рассмотрены в [3, 13, 15–18].
Анализ работы программ управления работой промышленных ЯМР расходомеров-релаксометров (например, модель M-PHASE 5000) показал, что в них заложена функция перестройки параметров последовательности импульсов при переходе в измерениях от одной жидкой среды к принципиально другой (нефть или питательная вода в системах охлаждения). Это связано с изменениями значений Т1 и Т2 в исследуемых средах. При больших изменениях температуры текущей среды Т значения Т1 и Т2 также изменяются. Это приведет к прекращению процесса измерения (нет автоматического переключения с достоверным выбором параметров последовательности) – среда не изменилась при эксплуатации прибора. Поэтому модели промышленных ЯМР-приборов разрабатываются для измерений параметров определенного класса текущих сред, что существенно ограничивает возможности эксперимента с их использованием.
Очень большая проблема при проведении экспериментов возникает при быстром значительном изменении расхода текущей жидкости, что приводит в приборе к выходу за диапазон измерения q (измерения в данный момент проводились на краю диапазона). В этой ситуации измерения q прекратятся, и прибор надо будет перезапускать. Эксперименты придется начинать заново. Будет потеряно время, израсходована дополнительная электрическая энергия, в ряде случаев потрачены дополнительные материалы (например, химикаты и пр.).
Разработанные нами опытные модели ЯМР расходомеров-релаксометров, в которых для регистрации сигнала ЯМР применяется модуляционная методика, позволяют решить отмеченные проблемы с использованием для измерения q режима «магнитной» метки [10, 15–18]. В этих приборах «магнитная» метка была реализована с использованием модуляции постоянного магнитного поля в секторе размещения катушки нутации [10, 15–18]. Длительная эксплуатация ЯМР расходомеров-релаксометров с режимом «магнитной» метки позволила выявить ряд проблем, которые влияют на достоверность результатов экспериментальных исследований и промышленных измерений q.
В результате исследования было установлено, что существенное изменение Т, которое приводит к изменению Т1 и Т2, оказывает влияние на формирование структуры магнитной метки. Необходимо отметить, что для разных жидких сред и их смесей зависимости изменения Т1 и Т2 от Т различаются. Все это вместе с изменением расхода q при смене рабочей жидкости или попадания в ее состав примесей приводит к увеличению погрешности измерения q, Т1 и Т2 до 3.0% и более, что неприемлемо как для научных исследований, так и промышленных измерений.
Для случаев проведения экспериментальных исследований с текущей средой при значениях q, которые близко расположены к верхнему пределу измеряемого расхода (данный режим часто применяется в токамаках и системах охлаждения экспериментальных реакторов), сбой в формировании магнитной метки при быстром изменении q (в сторону увеличения) приводит к прекращению измерений q. Экспериментальные исследования после перезапуска прибора необходимо будет начать заново. Это приводит к потере времени и расходу ресурсов. Кроме того, при продолжительных исследованиях есть вероятность повторения сбоя в формировании магнитной метки и прекращения измерений q.
Установленные нами в результате исследований закономерности существенно ограничивают функциональные возможности применения ЯМР расходомера-релаксометра с «магнитной» меткой для проведения экспериментальных исследований, решения производственных задач и других технических приложений.
Целью данной работы является разработка нового метода управления формированием контура линии нутации (ЛН) при изменении амплитуды регистрируемого сигнала ЯМР с инверсией намагниченности от максимального значения до уровня шумов, применение которого не обладает отмеченными ограничениями. Использование этого метода должно позволить получать достоверные результаты измерения расхода жидкости q в большом диапазоне его изменения, при существенном изменении состава жидкости и в случаях быстрых изменений скорости потока.
1. ОСОБЕННОСТИ ФОРМИРОВАНИЯ ЛИНИИ НУТАЦИИ НА УРОВНЕ ШУМОВ И ЭКСПЕРИМЕНТАЛЬНАЯ УСТАНОВКА
Проведенные нами исследования [10, 15–19] показали, что с увеличением неоднородности магнитного поля ΔВ0 в секторе расположения катушки нутации ширина ЛН Δfn увеличивается. Кроме того, увеличение значения ΔВ0 приводит к уменьшению амплитуды регистрируемого ЯМР-сигнала с инверсией намагниченности, который используется для измерений q в ЯМР расходомерах-релаксометрах [10, 12, 15–19]. Проведенные нами исследования на разработанной ранее экспериментальной установке [15, 18, 19] показали, что изменения Т потока жидкости оказывают влияние на амплитуду регистрируемого ЯМР-сигнала с инверсией намагниченности по причине изменения Т1. В этом случае изменяются процессы намагничивания жидкости в магните-поляризаторе и ее размагничивания (за счет релаксационных процессов в рассеянных магнитных полях, когда она протекает от магнита-поляризатора до катушки регистрации ЯМР-сигнала). На рис. 1 представлены результаты исследований изменения контура ЛН от Т для водопроводной воды. Анализ полученных данных показывает, что контур ЛН не изменяется в отличие от режима «магнитной» метки, который сформирован с использованием модуляции постоянного магнитного поля в секторе размещения катушки нутации [15, 17, 18].
Рис. 1. Контур линии нутации на основе зависимости изменения амплитуды ЯМР-сигнала Us от fn для потока водопроводной воды при Т = 288.2 (1), 293.1 (2) и 308.6 (3); расход воды qопт = 2.59 мл/с; индукция поля В1 = 32.16 мкТл.
На рис. 2 представлены результаты исследования изменения контура ЛН от изменения значения ΔВ0 в секторе размещения катушки нутации. Анализ данных зависимостей показывает существенное влияние неоднородности магнитного поля ΔВ0 на величину Δfn (ширина ЛН). Необходимо также отметить, что при изменении ΔВ0 сокращается время tn, за которое осуществляется взаимодействие поля В1 с намагниченной жидкостью в катушке нутации в окрестности резонансной частоты f0 = γВ0 (γ – гиромагнитное отношение протонов). Это создает сложности с формированием сигнала ЯМР с инверсией намагниченности с максимальным отношением сигнал/шум, которое составляет по амплитуде максимум 72…75% от амплитуды сигнала ЯМР, регистрируемого при отключенной катушке нутации. Погрешность при измерениях в экспериментах увеличивается при увеличении значения ΔВ0, достоверность полученных результатов снижается.
Рис. 2. Контур линии нутации на основе зависимости изменения амплитуды ЯМР-сигнала Us от fn для потока намагниченной жидкости (водопроводная вода) при индукции В0 = 0.56071 Тл, qопт = 2.59 мл/с и различных значениях неоднородности ΔВ0 (мТл∙см–1) и индукции В1 (мкТл) соответственно: 5.58, 2.69 (кривая 1), 11.45, 2.69 (кривая 2), 17.01, 4.06 (кривая 3).
На основе проведенных исследований [10, 15, 17–20] и анализа разработок других ученых [3, 5, 7–9, 10, 11–13, 16, 21–25] нами предложен новый метод управления структурой ЛН с использованием воздействия сильного неоднородного магнитного поля на вектор намагниченности в катушке нутации с учетом установленных особенностей формирования контура ЛН в сильных неоднородных полях. Управляя направлением вектора намагниченности в катушке нутации за счет изменения ΔВ0, можно получить устойчивый к быстрому изменению расхода q режим его измерения, аналогичный режиму с использованием «магнитной» метки, в котором амплитуда ЯМР-сигнала формируется на уровне шумов.
На рис. 3 представлен разработанный нами лабораторный стенд с функцией ЯМР расходомера-релаксометра и возможностью управления неоднородностью магнитного поля в широких пределах в секторе размещения катушки нутации. Данная конструкция стенда обеспечивает возможность исследования особенностей формирования контура ЛН с инверсией намагниченности на уровне шумов и реализацию на основе этого явления нового режима измерения q в потоке жидкости.
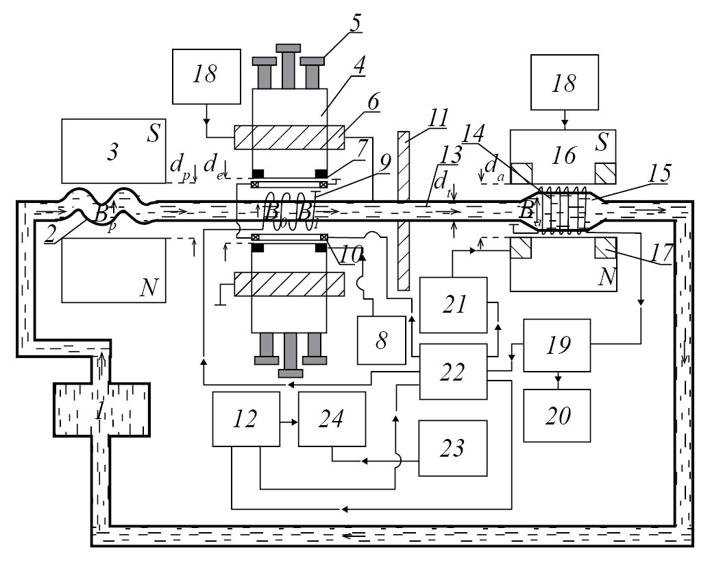
Рис. 3. Экспериментальный стенд для исследований потоков жидких сред в различных условиях с функцией ядерно-магнитного расходомера-релаксометра: 1 – циркулярный насос, 2 – сосуд специальной формы из немагнитного материала, 3 – магнит-поляризатор, 4 – полюсные наконечники электромагнита, 5 – регулировочные винты положения полюсов электромагнита, 6 – катушки магнитного поля для полюсных наконечников, 7 – коррекционные катушки, 8 – специальный блок питания коррекционных катушек, 9 – катушка нутации, 10 – катушки модуляции поля В0, 11 – магнитный экран, 12 – генератор нутации, 13 – соединительный участок трубопровода, 14 – катушка регистрации сигнала ЯМР, 15 – сосуд-анализатор, 16 – электромагнит с управлением значения поля Ва, 17 – катушки модуляции поля Ва, 18 – многофункциональный блок питания электромагнитов 6 и 16, 19 – устройство регистрации сигнала ЯМР, 20 – осциллограф, 21, 23 – радиочастотный генератор, 22 – устройство управления и обработки, 24 – частотомер двухканальный.
Процессы создания намагниченности в текущей жидкости от циркулярного насоса 1 подробно рассмотрены во многих работах [3, 5, 7–10, 15, 17–20]. Необходимо отметить, что конструкции систем 2 и 3 (рис. 3) отличаются между собой индукцией магнитного поля, размерами и конфигурацией, а также диапазоном времен нахождения потока жидкости в поле Вр. Это время должно обеспечить при регистрации ЯМР-сигнала отношение сигнал/шум (С/Ш) > 2.5 [3, 5, 7–10, 15, 17–20, 22, 25] для проведения измерений с погрешностью менее 1%. В разработанной экспериментальной установке использовалось поле с Bp = 1.272 Тл при dp = 22 мм с однородностью поля 0.0104 см–1. Жидкость из системы 2 поступает в катушку нутации 9 по трубопроводу dt, внутренний диаметр которого равен 3.0 мм.
Принципиально новым элементом в разработанной конструкции лабораторного стенда является специальный электромагнит, в котором значение В0 изменяется от 0 до 1.427 Тл, неоднородность – от 0.0001 до 0.1 см–1. Управление величиной неоднородности поля осуществляется с помощью специальных корректирующих катушек 7 и регулировочных винтов 5 (см. рис. 3). Магнитное поле создается между полюсными наконечниками с диаметром 150 мм, расстояние de между ними можно регулировать в пределах от 2 до 58 мм.
Созданные нами в электромагните широкие функциональные возможности позволяют управлять неоднородностью поля с различной скоростью, в том числе с использованием импульсного напряжения, которое подается на катушки 7. Поворот вектора намагниченности Мр в катушке нутации 9 осуществляется воздействием поля В1 на текущую намагниченную жидкость. Под действием поля В1 в катушке 9 вектор намагниченности Мр поворачивается на угол φn от направления поля Вр. Значение φn зависит от параметров магнитного поля в секторе расположения катушки 9. Особенностью управления контуром ЛН является то, что между катушками 9 и 14 для потока жидкости с намагниченностью действует условие адиабатической теоремы (ориентация вектора Мp не изменяется). Это позволяет сохранить форму контура ЛН с амплитудой на уровне шумов до момента регистрации ЯМР-сигнала в катушке регистрации 14, куда поступает поток жидкости по 13 из катушки 9.
В качестве магнита-анализатора 16 был использован электромагнит, так как необходима отстройка на различные резонансные частоты (по изменению индукции поля Вa) регистрации ЯМР-сигналов, на которых уровень внешних помех минимальный. В условиях лаборатории это соответствовало индукции Ва = 0.354 Тл. Между полюсами магнита в секторе расположения катушки регистрации 14 была обеспечена неоднородность поля 0.0001 см–1 при da = 1.8 см (см. рис. 3). Для регистрации ЯМР-сигнала в лабораторном стенде применяли генератор слабых колебаний (автодин) [10–12, 15, 17, 20], к которому была подключена катушка регистрации 14. Структурно генератор слабых колебаний является частью схемы регистрации 19 (см. рис. 3).
Для обеспечения возможности сравнения полученных нами экспериментальных данных с результатами исследований других работ все исследования на лабораторном стенде проводились с использованием потока водопроводной воды при температуре Т, которая изменялась в диапазоне от 288 до 308 К (базовая температура жидкости при исследованиях Т = 293.1 К). При Т = 293.1 К времена релаксации водопроводной воды имеют следующие значения: Т1 = 1.27 с, Т2 = 0.89 мс. Сигнал ЯМР регистрировался на резонансной частоте протонов.
2. РЕЗУЛЬТАТЫ ЭКСПЕРИМЕНТАЛЬНЫХ ИССЛЕДОВАНИЙ ФОРМИРОВАНИЯ КОНТУРА ЛИНИИ НУТАЦИИ И ИХ ОБСУЖДЕНИЕ
В разработанном лабораторном стенде реализована функция ядерно-магнитного расходомера-релаксометра. Управление контуром ЛН, формирующимся в катушке нутации 9 (рис. 3) между полюсами 4 в электромагните, осуществлялось с использованием регулировочных винтов 5 и специальных коррекционных катушек 7 посредством изменения неоднородности поля ΔВ0. Контроль значения неоднородности ΔВ0 осуществлялся по ширине ЛН Δfn = f2 – f1 (f2 и f1 – частоты, при которых амплитуда регистрируемого ЯМР-сигнала после воздействия поля В1 равна нулю (см. рис. 1)).
На рис. 4 представлены результаты исследования влияния неоднородности магнитного поля ΔВ0 на изменение контура ЛН. Необходимо отметить, что амплитуда регистрируемого ЯМР-сигнала с инверсией намагниченности изменяется при изменении ΔВ0. Для одного из вариантов сформированной ЛН (рис. 4, кривая 1) была измерена неоднородность магнитного поля в секторе расположения катушки нутации в электромагните, которая составила 29.01 ± 0.29 мТл∙см–1. Данный результат совпадает (в пределах погрешности измерений) c величиной неоднородности 29.09 ± 0.29 мТл∙см–1, измеренной с использованием измерителя магнитной индукции «Ш1-1», а также значением 28.96 ± 0.29 мТл∙см–1, измеренным тесламетром Measure ac & dc magnetic field DX-160 (компания Xiamen Dexing Magnet Tech. Co., Ltd).
Рис. 4. Контур линии нутации потока водопроводной воды с намагниченностью при qопт = 2.59 мл/с в поле В0 = 1.5871 Тл (центральная зона между полюсными наконечниками магнитной системы) и различных значениях неоднородности магнитного поля ΔВ0 в зоне размещения катушки нутации (мТл∙см–1) и В1 (мкТл): 29.36, 2.69 (кривая 1), 70.93, 3.42 (кривая 2), 98.88, 5.45 (кривая 3).
Особенностью управления контуром ЛН в разработанном лабораторном стенде является применение двух режимов управления величиной неоднородности ΔВ0. Реализованная особенность позволила получить два варианта ЛН для двух режимов формирования неоднородности магнитного поля в зоне размещения катушки нутации (рис. 5), которые представляют в дальнейшем интерес для измерения q. График 1 соответствует режиму формирования ΔВ0 с использованием регулировочных винтов 5 и специальных изготовленных коррекционных катушек 7 (неоднородность магнитного поля в хоне расположения катушки нутации выставлена на максимум). График 2 (см. рис. 5) соответствует преобразованию структуры ЛН при отключении катушек 7.
Рис. 5. Контур линии нутации потока водопроводной воды с намагниченностью при qопт = 2.59 мл/с в поле В0 = 1.5871 Тл (центральная зона между полюсными наконечниками магнитной системы) и различных значениях неоднородности магнитного поля ΔВ0 в зоне размещения катушки нутации (мТл∙см–1) и В1 (мкТл): 27.62, 2.69 (кривая 1), 114.43, 5.67 (кривая 2).
Анализ полученных результатов показал, что при значениях неоднородности магнитного поля ΔВ0 от 10–4 до 0.1271 Тл/см в разработанной конструкции экспериментального стенда – при внутреннем диаметре трубопровода 2 мм, внешний диаметр трубопровода 4 мм, диаметр каркаса катушки нутации 8 мм, длина катушки нутации 10 мм, расстояние между полюсами 14 мм и более – сформировать контур ЛН с инверсией намагниченности на уровне шумов не получится. Необходимо отметить, что увеличение расстояние между полюсами приводит к увеличению неоднородности магнитного поля ΔВ0 в относительных единицах, по абсолютной величине значение ΔВ0 может уменьшиться, так как с увеличением de значение В0 уменьшается. Поэтому управление контуром ЛН с помощью изменения значения ΔВ0 за счет изменения de является нерациональным способом, который может создать неопределенность в измерениях. В приборном варианте такой способ в автоматическом режиме реализовать крайне сложно.
Вместе с тем установлено, что уменьшение амплитуды ЯМР-сигнала с инверсией намагниченности при увеличении ΔВ0 – ярко выраженная функция, которая стремится к нулю. При этом необходимо подстраивать значение В1, так как при изменении ΔВ0 сокращается зона взаимодействия поля В1 с намагниченной жидкостью на резонансной частоте поля В0. Кроме того, с увеличением расхода жидкости происходит уменьшение времени tn, за которое на намагниченную жидкость в катушке нутации действует поле В1:
(1)
где Vn – объем катушки нутации, зависящий от диаметра трубопровода dt.
Изменение tn приводит к нарушению условия π-импульса, которое обеспечивает инверсию намагниченности [10–12, 17–20]. Это обстоятельство следует учитывать при разработке магнитной системы для управления формой ЛН.
Необходимо отметить, что в результате экспериментальных исследований было установлено, что в разработанном лабораторном стенде, который, по сути, является ЯМР расходомером-релаксометром (в нем заложены функции измерения q, Т1 и Т2), можно реализовать новый режим измерения расхода q с использованием принципа «магнитной» метки, который ранее формировался при модуляции поля В0 [10, 15, 17, 18]. Измерения в данном режиме реализуются в цифровом коде 0 и 1. Формируется меандр, который исключает влияние многих факторов на результат измерения длительности импульса и, соответственно, на погрешность определения q.
В конструкции лабораторного макета с функцией ЯМР расходомера-релаксометра (см. рис. 3) режим измерения q в цифровом коде 0 и 1 можно сформировать следующим образом. Разница между амплитудами сигналов ЯМР с инверсией намагниченности (см. рис. 5 (график 1 с широкой площадкой по уровню (– 0.13 в относительных единицах)) и график 2 – близкий к классической неуширенной линии нутации) составляет более 3.5 раза.
Необходимо отметить, что особенностью управления контуром линии нутации в лабораторном стенде является то, что при изменении ΔВ0 с помощью регулировки положения полюсов 4 регулировочными винтами 5 разница между амплитудами сигналов ЯМР на графиках 1 и 2 (рис. 5) в 3.5 раз почти не измениться при изменении ΔВ0 в интервале от 0.056 до 0.127 Тл/см. Это позволит в дальнейшем сформировать контур линии нутации с инверсией намагниченности на уровне шумов для реализации устойчивого режима измерения q к быстрым изменениям скорости потока, как это реализовано в режиме «магнитной» метки с использованием модуляции магнитного поля В0 [10, 15, 17, 18]. Сигнал ЯМР (рис. 5, кривая 1) при достижении уровня шумов после инвертированного операционного усилителя с коэффициентом усиления 4…5 будет в окрестностях нуля. Этот сигнал будет соответствовать для цифрового кода логическому нулю. Максимальная амплитуда Umаx сигнала ЯМР (кривая 2) после усиления будет равна 1.0, что соответствует логической единице. В результате сформируется сигнал для измерения времени протекания жидкой среды в форме меандра, что позволяет компенсировать большое число негативных факторов, как в [10, 15, 17, 18], которые влияют на измерение длительности импульса и соответственно на погрешность измерения q. Для формирования такого режима необходимо определить соотношения между ΔВ0, В1 и tn с учетом расхода жидкости q, размеров катушки нутации, а также зависимость ΔВ0 от de.
Еще одной особенностью в проведении исследований контура линии нутации, которая обеспечит возможность адекватного использования данных зависимостей для управления контуром линии, является обеспечение выполнения условия адиабатической теоремы в соединительном трубопроводе 13 (см. рис. 3) для потока намагниченной жидкости.
Стоит также отметить, что в текущей среде, которая используется в технологических процессах, может изменяться температура Т, особенно в системах охлаждения ядерных реакторов, спектрометров, мощных электромагнитов, токамаков и ускорителей [10, 15, 17, 18]. Изменение температуры приводит к изменению значений Т1 и Т2, которые оказывают влияние на режим формирования «магнитной» метки, так как они входят в уравнения Блоха [26, 27]. Проведенные ранее нами исследования для режима формирования магнитной метки с использованием модуляции магнитного поля B0 это подтверждают [10, 15, 17, 18]. Все это показывает, что отмеченные соотношения экспериментально определить крайне сложно и дорого, поэтому данную задачу более целесообразно решить с использованием математического моделирования.
3. НОВАЯ МЕТОДИКА МОДЕЛИРОВАНИЯ ПРОЦЕССОВ УПРАВЛЕНИЯ КОНТУРОМ ЛИНИИ НУТАЦИИ В УСЛОВИЯХ СИЛЬНОГО НЕОДНОРОДНОГО ПОЛЯ
Движение компонент намагниченности текущей жидкости Mx, My и Mz в катушке нутации описывается уравнениями Блоха [26, 27]. В ранее проведенных исследованиях [10–12, 15, 17–20] потоков жидких сред было установлено, что амплитуда и фаза регистрируемого сигнала ЯМР с использованием модуляционной методики определяется значением и фазой компоненты Mz в катушке 9. Компоненты Mx и My затухают до катушки регистрации 14 ЯМР-сигнала в рассеянных магнитных полях между катушками 9 и 14 (рис. 3). Для решения задачи определения амплитуды и фазы компоненты Mz на выходе из катушки нутации 9 нами в уравнения Блоха вводится новый коэффициент S(ΔВ0), который учитывает изменение ΔВ0 в секторе расположения катушки нутации, а также время tn, в течение которого на сегмент намагниченной текущей жидкости действует поле В1 в катушке 9. С новым коэффициентом уравнения Блоха, трансформированные во вращательную систему координат по методу Вагнесса [26, 28, 29] принимают следующий вид:
(2)
С учетом особенностей управления неоднородностью магнитного поля в используемом нами электромагните 4 (рис. 3) в секторе расположения катушки нутации 9, были разработаны пять вариантов функции, которая описывает изменение ΔВ0 по мере протекания намагниченной жидкости по катушке нутации 9:
В качестве примера на рис. 6а-6г представлены результаты расчета структуры ЛН от расстройки частоты Δfn поля B1 для S(ΔВ0), которая соответствует варианту 1.
Рис. 6. Контур линии нутации по результатам расчета компоненты намагниченности Mz для потока водопроводной воды при tn = 62 мс, Т1 = 1.27 с, Т2 = 0.89 мс и различных значениях неоднородности магнитного поля ΔВ0 в зоне размещения катушки нутации (мТл∙см–1) и В1 (мкТл): а) 0.0047, 2.69; б) 34.9252, 3.11; в) 102.0519, 5.45; г) 274.3253, 12.97.
Анализ полученных результатов показывает, что для формирования контура ЛН, форма которого воспроизводит режим магнитной метки на уровне шумов, необходимо обеспечить в секторе размещения катушки нутации 9 значение ΔВ0 = 0.27432 Тл/см и более. Данное значение ΔВ0 определено через Δfn = 11.679781 МГц, которое установлено по зависимости на рис. 6г. Это минимальное значение ΔВ0, которое необходимо обеспечить в секторе расположения катушки 9 для получения контура ЛН на уровне шумов. В реальной конструкции ЯМР расходомера-релаксометра необходимо будет ввести 15%-ный запас по дополнительному изменению значения ΔВ0 от определенного минимального значения ΔВ0 для получения контура ЛН с инверсией намагниченности на уровне шумов. Это позволит реализовать компенсацию различных температурных факторов, которые могут привести к изменению значения В0 с последующим изменением ΔВ0, что также надо компенсировать. Отмеченное обстоятельство является еще одной особенностью формирования контура ЛН с инверсией намагниченности на уровне шумов в сильных неоднородных полях.
ЗАКЛЮЧЕНИЕ
Полученные нами результаты подтверждают возможность с учетом установленных особенностей управлять формой контура ЛН с помощью сильного неоднородного магнитного поля. Это позволяет при определенных значениях ΔВ0 сформировать от потока жидкости с инверсией намагниченности ЯМР-сигнал на уровне шумов, как в ранее разработанном режиме «магнитной» метки. Необходимо отметить, что полученный контур ЛН устойчив к изменению температурного режима текущей жидкости в пределах 105 оС (возможно, и больше). Для проверки на более высокие температуры необходима специальная система по разогреву текущей жидкости. Автоматически это означает, что контур ЛН также устойчив к изменению температуры окружающей среды. Наличие температурной устойчивости исключает ошибки при проведении исследований или промышленных измерений для контроля параметров потока жидких сред. В ранее разработанных конструкциях ЯМР расходомеров-релаксометров с использованием режима «магнитной» метки, сформированной с применением модуляции поля В0 [10, 15, 17, 18], обеспечить такой устойчивый режим работы было невозможно.
Разработанная математическая модель с новым коэффициентом для уравнений Блоха позволила установить зону Δfnn, в которой формируется сигнал ЯМР с инверсией намагниченности на уровне шумов с использованием управления неоднородностью магнитного поля в секторе размещения катушки нутации. Эта зона составляет по частоте порядка 11 МГц (с учетом отмеченного 15%-ного запаса на изменение температуры Т текущей среды). Анализ данных, полученных нами для разработанных ранее конструкций ЯМР расходомеров-релаксометров с применением для измерения q режима «магнитной» метки, которая формируется с использованием модуляции поля В0 [10, 15, 17, 18], показал, что значения Δfnn ≈ 60 кГц достаточно для обеспечения устойчивых измерений q при резком изменении скорости потока в три раза. Это позволяет сделать вывод, что новый метод формирования контура ЛН обеспечивает устойчивую работу прибора во время исследований при резком изменении скорости потока жидкости минимум на порядок и больше, что в ряде случаев происходит на экспериментальном реакторе или в системах охлаждения токамаков и ускорителей частиц. Этого достаточно для проведения исследования с использованием потоков жидких сред продолжительное время.
Авторы данной работы заявляют об отсутствии конфликта интересов.
About the authors
V. V. Davydov
Peter the Great Saint Petersburg Polytechnic University; Bonch-Bruevich Saint Petersburg State University of Telecommunications
Author for correspondence.
Email: Davydov_vadim66@mail.ru
Russian Federation, Polytechnicheskaya Str, 29, St.Petersburg, 195251; Bol’shevikov Ave., 22, St.Petersburg, 193232
A. A. Gol’dberg
Peter the Great Saint Petersburg Polytechnic University
Email: Davydov_vadim66@mail.ru
Russian Federation, Polytechnicheskaya Str, 29, St.Petersburg, 195251
R. V. Davydov
Peter the Great Saint Petersburg Polytechnic University; Bonch-Bruevich Saint Petersburg State University of Telecommunications; Alferov University
Email: Davydov_vadim66@mail.ru
Russian Federation, Polytechnicheskaya Str, 29, St.Petersburg, 195251; Bol’shevikov Ave., 22, St.Petersburg, 193232; Khlopin Str., 8, build.3, St.Petersburg, 194021
References
- Gizatullin B., Gafurov M., Vakhin A. et al. // Energy and Fuels. 2019. V. 33. № 11. P. 10923.
- Marusina M.Y., // . 2018. V. 19. № 10. P. 2771.
- Zargar M., Johns M.L., Aljindan L.M. et al. // SPE Production & Operation, 2021. V. 36. № 2. P. 423.
- Gizatullin B., Gafurov M., Rodionov A. et al. // Energy and Fuels. 2018. V. 32. № 11. P. 11261.
- Marusina M.Y., Bazarov B.A., Galaidin P.A. et al. // Measurement Techniques. 2014. V. 57. № 5. P. 461.
- Davydov V., // . 2022. V. 15. № 2. P. 457.
- Kashaev R.S., // . 2019. V. 86. № 5. P. 890.
- Marusina M.Y., Bazarov B.A., Galaidin P.A. et al. // Measurement Techiques. 2014. V. 57. № 6. P. 580.
- O’Neill K.T., Brancato L., Stanwix P.L. et al. // Chem. Eng. Sci. 2019. V. 202. P. 222.
- Давыдов В.В.//Оптика и спектроскопия. 2016. Т. 121. № 1. С. 20.
- Eremina R., // . 2023. V. 54. № 4-5. P. 435.
- Жерновой А.И., Дьяченко С.В. // ЖТФ. 2015. Т. 85. № 4. С. 118.
- Deng F., Xiao L., Wang M. et. al. // Appl. Magnetic Resonance. 2016. V. 47. № 10. P. 1239.
- Sadovnikova M.A., Murzakhanov F.F., // . 2012. V. 15. № 17. P. 6204.
- Davydov R., // 15. № 5. P. 1748.
- Deng F., Xiong C., Chen S. // Petroleum Exploration and Development. 2020. V. 47. P. 855.
- Давыдов В. В., Мязин Н. С., Давыдов Р.В. // Измерительная техника. 2022. №6. С. 52.
- Давыдов В. В., Мязин Н. С., Давыдов Р.В. // Измерительная техника. 2022. №4. С. 49.
- Давыдов В. В., Величко Е. Н., Дудкин В. И., Карсеев А. Ю. //Метрология. 2014. № 5. С. 32.
- Давыдов В.В., Дудкин В.И., Николаев Д.И. и др. // РЭ. 2021. Т. 66. №10. С. 1017.
- Кашаев Р. С., Козелкова В. О., Овсеенко Г. А. и др. // Измерительная техника. 2023. №5. С. 52.
- Deng F., Xiong C., Chen S. // Petroleum Exploration and Development. 2020. V. 47. P. 855.
- Fouilloux P., et al. // . 2023. V. 253. P. 126307.
- Safiullin K., et al. // . 2022. V. 210. P. 110010.
- Cao G., // . 2023. V. 13. № 1. P. 4558.
- Leshe A. Nuclear Induction. Berlin: Verlag Wissenschaften, 1963.
- Abragam A. The Principles of Nuclear Magnetism. Qxford: Clarendon Press, 1961.
- Jacobsohn B.A., Wangsness R.K. // Phys. Rev. 1948. V. 73. № 9. P. 942.
- Bloch F., Wangsness R.K. // Phys. Rev. 1950. V. 78. № 1. P. 82.
Supplementary files








