Determination of constants and construction of field dependences of parameters of metal-oxide-semiconductor structures with ultrathin layers of silicon oxide based on their experimental high-frequency voltage-capacitance-characteristics
- Authors: Belorusov D.A.1, Goldman E.I.1, Chucheva G.V.1, Shusharin I.A.1
-
Affiliations:
- Kotelnikov Institute of Radioengineering and Electronics of Russian Academy of Sciences
- Issue: Vol 69, No 7 (2024)
- Pages: 656-663
- Section: НАНОЭЛЕКТРОНИКА
- URL: https://ogarev-online.ru/0033-8494/article/view/279640
- DOI: https://doi.org/10.31857/S0033849424070076
- EDN: https://elibrary.ru/HYVSYW
- ID: 279640
Cite item
Full Text
Abstract
An algorithm has been developed for determining from experimental field dependences the high–frequency impedance of silicon structures with an ultrathin (less than 5 nm) SiO2 layer of the insulating gap capacity and concentration of dopant directly at the Si-SiO2 interface. Relations allowing to estimate marginal errors of the developed approach are obtained. The proposed method is applied to experimental characteristics of the metal–oxide–semiconductor structure with a thickness of SiO2 4.2 nm. It is shown that the developed algorithm has sufficiently high accuracy and accessibility for use in processing high-frequency measurement data.
Full Text
ВВЕДЕНИЕ
Структуры n+polySi–SiO2–Si со сверхтонкими (с толщиной менее 5 нм) слоями окисла кремния являются в настоящее время и останутся в перспективе минимум одного-двух десятков лет основным элементом, используемым в производстве современных и новых объектов наноэлектроники [1]. Это утверждение основано на следующих обстоятельствах. По современной технологии высокотемпературного окисления кремния — радикальном термическом окислении с генерацией водяного пара у поверхности Si (in situ steam generation, ISSG) [2] — удается создавать структуры металл–окисел–полупроводник (МОП) высокого качества. Они практически бездефектные, концентрация содержащихся в них электронных ловушек (ЭЛ) невелика и позволяет развиваться эффекту поля. Реализованы структуры с толщинами пленок окисла кремния под затвором в несколько атомных слоев [3]. Материалы — кандидаты на замену SiO2 несмотря на непрерывное развитие — таких свойств еще не достигли. Таким образом, массовый переход в наноэлектронной индустрии к изолирующим слоям из заменяющих SiO2 диэлектриков или сегнетоэлектриков — это вопрос не ближайшего десятилетия.
Экспериментальные исследования физических явлений в МОП-структурах и контроль качества их изготовления требуют измерений потенциального и зарядового профилей в полупроводнике в окрестности его границы раздела (ГР) с окислом кремния. Информацию об изгибе зон в полупроводнике, падении внешнего напряжения на изоляторе, заряде пограничных ЭЛ и накоплении неосновных носителей заряда у поверхности Si получают из результатов измерений высокочастотной емкости МОП-структур с помощью построенных в рамках классической статистики формул [4]. Для обработки данных высокочастотных вольт-фарадных характеристик (ВЧ ВФХ) необходимо знать значения емкости изолирующего слоя Cиз, площади полевого электрода S и концентрации легирующей примеси в полупроводнике непосредственно у его границы с диэлектриком NД. Реальное значение S устанавливается из оптических измерений. Однако с двумя оставшимися константами сложнее. Во-первых, для кремниевых МОП-структур известно [5], что в условиях высокотемпературного окисления поверхности Si за счет термостимуляции процессов диффузии легирующей примеси концентрация NД у ГР Si−SiО2 изменяется по сравнению с ее значением в толще полупроводниковых подложек. Отклонения значений концентраций могут быть в разы, что не позволяет вычислять NД из значения удельного сопротивления подложки.
Во-вторых, в опытах при комнатной температуре локализованные на ГР Si−SiО2 ЭЛ перезаряжаются практически во всей области обеднения полупроводника. Поэтому использование с целью определения NД в широкой области напряжений формул ВФХ для идеальной МОП-структуры (т.е. в отсутствие перезаряжающихся локализованных электронных состояний) приводит к значительным погрешностям [6].
В-третьих, для образцов с толщинами слоя окисла кремния более 10 нм величина Cиз достаточно точно определяется как максимальное значение емкости на плато ВФХ в области глубокого обогащения полупроводника. У МОП-структур со сверхтонким окислом данный диапазон полевых напряжений лежит уже в области существенного повреждения или пробоя. Поэтому такой экспериментальный подход не применим. Вместе с тем на свойства сверхтонкого окисла существенно влияют переходные слои, где диэлектрическая проницаемость изменяется от значения в кремнии до величины в массивном окисле, доля этих слоев в общем объеме — десятки процентов. Строгая величина емкости изолятора определяется как , где H — толщина пленки SiО2, — профиль диэлектрической проницаемости в окисле кремния, z — координата по нормали к ГР Si−SiО2. Поэтому и расчет значения Cиз без знания функции невозможен. Таким образом, чтобы обработать данные ВЧ ВФХ, полученные для МОП-структур со сверхтонким окислом, необходимо найти из этих же характеристик значения Cиз и NД.
Цель данной работы — развить и проверить на практике методику определения емкости изолирующего промежутка и концентрации легирующей примеси в полупроводнике непосредственно у его границы с диэлектриком из экспериментальных данных ВЧ ВФХ МОП-структур со сверхтонким окислом.
1. АЛГОРИТМ ОПРЕДЕЛЕНИЯ ЗНАЧЕНИЙ ЕМКОСТИ ИЗОЛИРУЮЩЕГО ПРОМЕЖУТКА И КОНЦЕНТРАЦИИ ЛЕГИРУЮЩЕЙ ПРИМЕСИ В ПОЛУПРОВОДНИКЕ МОП-СТРУКТУРЫ НЕПОСРЕДСТВЕННО У ГРАНИЦЫ С ДИЭЛЕКТРИКОМ
Для определенности будем считать, что структура выращена на кремнии n-типа. У образцов со сверхтонким окислом величина Cиз настолько велика, что в области обогащения полупроводника сопротивление подложки существенно влияет на результаты высокочастотных вольт-емкостных измерений. Поэтому фиксируемая приборами емкость структуры С и емкость элемента n+polySi−SiO2−заряженный поверхностный слой кремния различаются, С зависит от частоты тестирующего сигнала, а — нет. Независимо от перезарядки ЭЛ, значения высокочастотных емкостей подчиняются закону сложения:
, (1)
где Cп – емкость заряженной части полупроводниковой подложки у границы раздела с окислом. Падения внешнего напряжения Vg на изолирующем слое Vi и на полупроводнике Vs связаны соотношением
, . (2)
Здесь EF — энергия Ферми электронов в кремнии, q — элементарный заряд, T — абсолютная температура в энергетических единицах, Nc — эффективная плотность состояний в зоне проводимости подложки. В выражениях (1) и (2) не учитываются емкость Ce и набег потенциала Ve на заряженной области полевого электрода из поликремния, а также в формуле (2) пренебрегается величиной энергии Ферми в затворе по сравнению со значением в полупроводнике.
Будем считать, что все перезаряжающиеся ЭЛ находятся на ГР Si–SiO2. Тогда можно записать
, (3)
где qns — заряд единицы площади поверхности полупроводника, связанный с перетеканием свободных электронов при изменении Vg. Для величин Cп и ns в рамках больцмановского распределения свободных электронов получаются следующие выражения [4]:
,
, (4)
.. (5)
Здесь — емкость полупроводника в состоянии плоских зон (), — безразмерный изгиб зон в кремнии ( при обеднении и при обогащении), — диэлектрическая проницаемость подложки,
Формулы (4), (5) получены для состояний обеднения или не слишком высокого обогащения поверхности полупроводника в отсутствие вырождения. Классическое распределение для электронов в состоянии обогащения кремния справедливо при условии (Ed — энергия активации электрона с мелкого донора, ). Для концентраций легирования не более 1017 см–3, это неравенство выполняется при комнатной температуре практически во всем диапазоне измерений, не повреждающих образец. Из равенства (3) с учетом выражений (2) и (5) получаем
. (6)
Полевой электрод из сильнолегированного (порядка 1020…1021 см–3) поликремния и подложка принципиально различаются. Сильнолегированные материалы относятся к неупорядоченным полупроводникам, для которых представления об отдельных заряженных и нейтральных атомах примеси не действуют. Поверхностный потенциал неупорядоченного полупроводника с помощью эффекта поля изменяется незначительно, также практически невозможно сколько-нибудь заметно уменьшить барьерную емкость на контакте, повышая обедняющий изгиб зон [7]. Таким образом, в условиях возможного проявления Ce в измерениях ВЧ ВФХ на участке, связанном с обогащением полупроводника, можно считать, что эта емкость постоянна и отвечает условиям плоских зон для затвора. Из линеаризованного уравнения, описывающего экранирование и изгиб зон в сильнолегированном полупроводнике [8], получаем, что , где
– дебаевский радиус экранирования вырожденного электронного газа, и m — диэлектрическая проницаемость и эффективная масса электрона в зоне проводимости кремния, ℏ — постоянная Планка, n — средняя по объему концентрация электронов в полевом электроде. Оценим отношение
.
При значении n = 1020 см–3 составляет 1.2 нм. Если принять, что h = 4нм, зависимость линейная в двух переходных слоях, каждый толщиной 0.8нм [9], то для отношения емкостей получим . Следовательно, для МОП-структур с толщинами изолирующего промежутка более 2 нм (при толщинах меньше размера двух переходных слоев нельзя говорить о SiO2 как о составе материала изолирующей пленки) обратная величина емкости полевого электрода играет роль малой добавки к , не изменяющейся с ростом напряжения.
При известных значениях емкостей Cиз, и площади полевого электрода S система уравнений (1), (2), (4)–(6) позволяет из экспериментальной зависимости построить потенциальный и зарядовый рельефы, реализующиеся на опыте в МОП-структуре. Функция вычисляется из соотношений (1) и (4), причем с учетом того, что монотонно растущая, а — падающая зависимости, связь изгиба зон с полевым напряжением получается однозначной. Неточности, обусловленные отбрасыванием , могут сказываться на функции только при напряжениях, отвечающих сильному обогащению полупроводника. Но в этой области Vg искомая зависимость имеет вид
,
слабо чувствительный к погрешности Cиз. Выражение для Vi получаем из формулы (2)
,
величины ns и psq вычисляются из равенств (5) и (6). Из-за того, что слагаемые в выражении (6), пропорциональные Cиз и , реально имеют разные знаки, даже малые ошибки в значении изгиба зон, обусловленные неучетом емкости Ce, могут фатально исказить функцию при напряжениях из области достаточно сильного обогащения полупроводника.
Перейдем непосредственно к алгоритму определения значений емкостей Cиз и по экспериментальной зависимости . Следует указать, что при произвольной связи psq и Vg данные построения невозможны. Реализация подхода требует существования на ВФХ участка, где характеристика образца практически «идеальна» [4], т.е. соблюдается условие , точнее говоря, требуется выполнение неравенства
(7а)
или в области обогащения полупроводника, эквивалентного ему соотношения
. (7б)
График типичной зависимости плотности ЭЛ в МОП-структурах от энергии имеет форму U-образной линии [9]. Поэтому для полевых напряжений, отвечающих положению уровня Ферми на ГР Si–SiO2 в окрестности минимума спектральной кривой ЭЛ, условия (7а) и (7б), как правило, выполняются. Обозначим VI и VII нижнюю и верхнюю границы области Vg, где величина минимальна, а неравенства (7а) или (7б) справедливы. (Подробнее см. далее.)
Продифференцируем выражения (1) и (6) по Vg и исключим из них производную . Получим
. (8а)
Если пренебречь , то уравнение (8а) переходит в приближенное равенство (данное соотношение использовалось в [6] для определения из измеренных ВФХ МОП-структур с известным значением Cиз величины NД), справедливое в диапазоне полевых напряжений , где ВФХ близка к идеальной:
. (8б)
Отметим, что в условиях, когда интервал оказывается в области сильного обеднения полупроводника, т.е. , уравнение (8б) переходит в известную [4] связь между производной по Vg от и концентрацией легирования NД (см. выражение (4) для ).
Неточности, возникающие из-за пренебрежения и отбрасывания при построении ,
препятствуют строгому выполнению равенства (8б). Поэтому для определения приближенных значений Cиз и удобно перейти к минимизации функционала :
. (9)
Искомыми являются те значения емкостей Cиз, при которых величина Ω минимальна. В выражении (9) безразмерный изгиб зон νs — это функция Vg, строящаяся из равенств (1) и (4) для каждой пары Cиз, . Процесс определения экстремума Ω удобно проводить итерациями, последовательно сужая рассматриваемые области Cиз и вокруг точек минимума из предыдущего приближения. Начинать перебор значений Cиз и разумно с интервалов , . Здесь Cиз* — максимальная величина экспериментальной , — емкость в состоянии плоских зон, отвечающая концентрации NД, вычисленной из значения удельного сопротивления подложки. При этом, если после начальной итерации точка минимума Ω окажется на границе выбранного интервала, то область перебора необходимо расширить за эту границу.
Для реальной МОП-структуры найденные по экстремуму функционала (9) значения Cиз и являются приближенными. Оценим точность получающихся результатов и применимость предлагаемого алгоритма. Приписывая величинам емкостей, минимизирующим Ω, индекс m, а точным значениям — ex, введем разности , . Полагая, что данные разности малы по сравнению с емкостями и соответственно, значение функционала Ωex при точных параметрах и можно выразить в виде квадратичного разложения Ω по Δиз, в окрестности точки минимума:
, (10)
где
,
,
.
Величины Ωmin, A, B и D вычисляются в процессе построения экстремума функционала Ω. Квадратичная форма (10) должна быть не отрицательна при любых Δиз и ,что накладывает на коэффициенты разложения условия: А > 0 , АD > В2. Из уравнения (8а) получаем
. (11)
Функции νs(Vg) и psq(Vg), фигурирующие в (11), соответствуют емкостям и . По смыслу минимума должно выполняться условие . Другое следствие разложения (10) — это выражения для максимально возможных отклонений емкостей, получающихся при минимизации функционала (9), от точного значения — фактически оценки предельной погрешности алгоритма:
,
. (12а)
Следует указать на трудности использования соотношений (12а) при обработке экспериментальных данных. Реально крутизна зависимостей функционала Ω от Cиз и абсолютно разная: . Надежно можно получить значения только коэффициентов A и D, для определения B требуется исключительно высокая точность измерений и вычислений (подробнее этот вопрос будет обсуждаться далее). Поэтому кроме формул (12а), приведем упрощенные соотношения, строго говоря, справедливые при :
,
. (12б)
2. АПРОБАЦИЯ АЛГОРИТМА ОПРЕДЕЛЕНИЯ КОНСТАНТ И ПОСТРОЕНИЕ ПОЛЕВЫХ ЗАВИСИМОСТЕЙ ПАРАМЕТРОВ КРЕМНИЕВОЙ МОП-СТРУКТУРЫ СО СВЕРХТОНКИМ ОКИСЛОМ ПО ЭКСПЕРИМЕНТАЛЬНЫМ ВЧ ВФХ
Для того чтобы применить на практике развитый в предыдущем разделе алгоритм определения емкостей Cиз и по экспериментальным ВФХ, необходима высокая точность измерений и маленький шаг фиксации полевого напряжения. Для демонстрации разработанного алгоритма и иллюстрации полученных теоретических результатов нужно обработать ВФХ реального образца. По графикам, представленным в работах других авторов, без возможности доступа к цифровым значениям зависимости емкости от напряжения и величинам параметров структуры, выполнить необходимые расчеты невозможно. Поэтому нами были проведены собственные, вообще говоря, не имеющие научной новизны, высокочастотные измерения ВФХ Al–n-Si–МОП-структур. Измерения проводили при комнатной температуре, площадь полевого электрода была S = 1.6 × 10–3 см2. Слой SiО2, толщина которого 4.2 нм (H определена по данным оптических измерений) был выращен при высокотемпературном окислении (100) кремния. Концентрация доноров в затворе составляла Ne ≈ 1020см–3, удельное сопротивление подложки n-типа было 4.5 Ом см, а толщина 0.07 см.
Особенностью МОП-структур со сверхтонким окислом является то, что на результаты измерений высокочастотного импеданса влияет сопротивление подложки Rb. Для определения искомой зависимости и величины Rb был использован так называемый метод двух частот [10, 11]:
,
. (13)
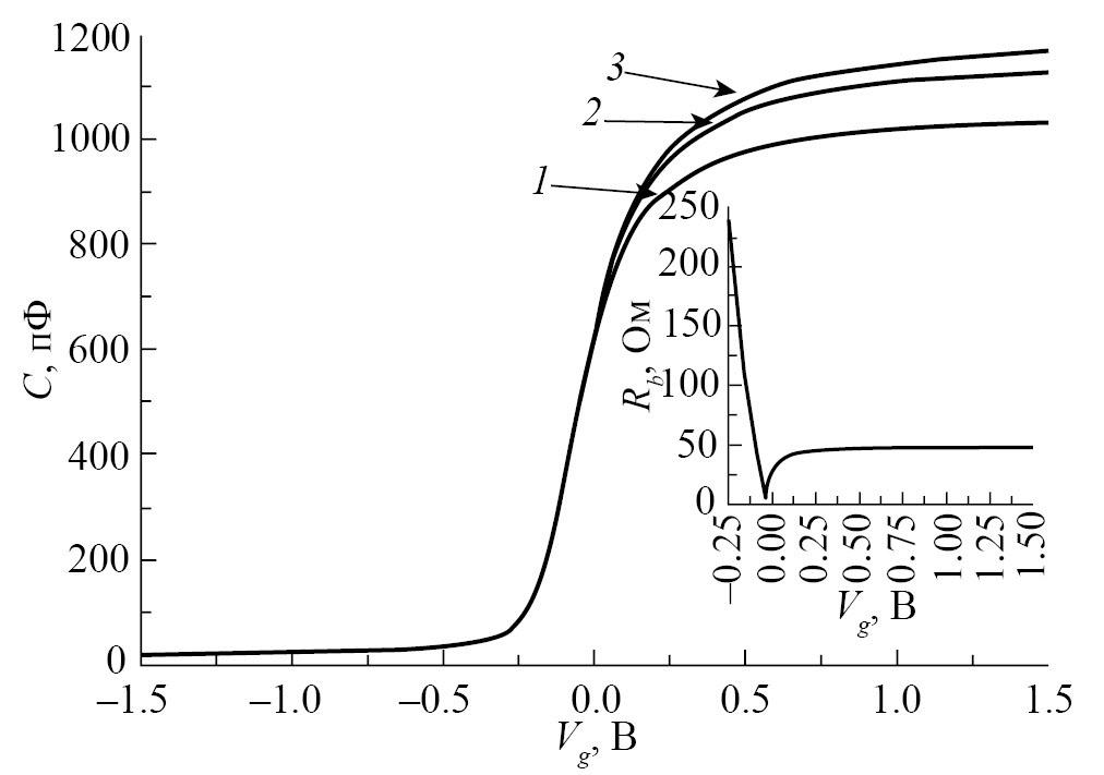
Здесь C1 и C2 – емкости, зафиксированные в одном и том же состоянии МОП — структуры на циклических частотах тестирующего напряжения ω1 и ω2 соответственно. Измерения проводили на сигналах 1 мГц (С1) и 0.5 мГц (С2) в динамическом режиме: Vg изменялось со скоростью 1 мВ/с от –1.5 до +1.5 В, значения емкостей фиксировались через 0.01 В; использовался прецизионный измеритель LCR Agilent E4980A. Кривые ВФХ и функция Rb(Vg) показаны на рис. 1.
Рис. 1. Высокочастотные вольт-фарадные характеристики и сопротивление кремниевой подложки: емкостные кривые 1 — 1 МГц, 2 — 0.5 МГц, 3 — . На вставке — зависимость сопротивления подложки от полевого напряжения, вычисленная по формуле (13).
Величину сопротивления подложки нужно определять в области максимального обогащения полупроводника. Дело в том, что с уменьшением полевого напряжения емкость структуры падает, графики , сливаются (рис. 1) и значение модуля разности C1 − C2 выходит за пределы точности измерений. В результате плато на кривой в области обогащения сменяется не физическими перепадами и ростом Rb (см. вставку на рис. 1). Сопротивление, определенное при Vg = 1.5 В, составило Rb = 48.2 Ом. Это значение меньше вычисленного из величины удельного сопротивления подложки по формулам для плоского прямоугольника более чем в 4 раза. Такое расхождение не удивительно, поскольку радиус полевого электрода 0.04 см почти в два раза меньше толщины подложки. Поэтому эффекты растекания существенно увеличивают проводимость подложки.
Поиск окна, где ВФХ близка к идеальной, проводили последовательным сужением интервала (VI, VII) в несколько итераций. В качестве первого приближения использовалась вся область измерений VI = –1.5 B, VII = 1.5 B. На каждой итерации находили значения Ci и Csfb, при которых функционал (9) минимален, на их основе по формулам (1), (4)–(6) строили функции νs(Vg), psq(Vg). На зависимости psq(Vg) определяли отрезок с наименьшими значениями ; после этого его границы принимались за новые величины VI, VII и происходил переход к следующей итерации. Было проведено три последовательных приближения и установлены окончательные значения VI = –0.39 B, VII = –0.19 B. Отметим, что в случае больших концентраций ЭЛ, когда величина ни при каких Vg не удовлетворяет неравенству (7a), нужно переходить к измерениям при пониженных температурах. «Вымораживание» ловушек существенно замедляет их перезарядку и снижает модуль производной .
Процесс нахождения минимума функционала (9) строили также методом последовательных приближений. Значение максимальной измеренной емкости составило Cиз* = 1164.9 пФ, а вычисленной из величины удельного сопротивления подложки емкости полупроводника в состоянии плоских зон — пФ. На первом этапе величины Cиз задавались c шагом 20 пФ в интервале , а — через 2 пФ на отрезке . По выражению (9) рассчитывали числа Ω для всех выбранных значений емкостей и фиксировали пару Cиз, с минимальным Ω. После этого вокруг данной пары составлялась новая, более узкая по сравнению с предыдущей, область перебора величин Cиз, и осуществлялся переход к следующей итерации, где минимизация функционала Ω повторялась. Всего было выполнено пять приближений, на последнем из них шаги перебора составили 0.1 пФ по Cиз и 0.05 пФ по .
Сформулируем окончательные результаты применения развитого алгоритма: область полевых напряжений, где ВФХ наиболее близка к идеальной, равна ; пФ, пФ, Ωmin = 1.085 × 1018Ф–2В–2. Расхождение значений и Cиз* составляет всего 7 %, а меньше в 1.6 раза. Таким образом, концентрация доноров непосредственно у ГР Si–SiO2 в 2.56 раза меньше, чем в объеме кремниевой подложки, что подтверждает тезис [5], высказанный во Введении, о роли процессов диффузии легирующей примеси при высокотемпературном окислении. Графики νs(Vg) и psq(Vg) показаны на рис. 2 и 3.
Рис. 2. Зависимость безразмерного изгиба зон в полупроводнике от полевого напряжения.
Рис. 3. Зависимость суммарной концентрации встроенного заряда, зарядов электронных ловушек и неосновных носителей заряда на контакте Si−SiО2 от полевого напряжения. На вставке — окно Vg, где характеристика наиболее близка к идеальной; кривая 1 — производная от psq по напряжению, кривая 2 — производная от ns по напряжению.
Отметим хорошее выполнение неравенства (7a) в окне Vg, где ВФХ наиболее близка к идеальной (см. вставку к рис. 3). В данной области полевых напряжений величина приближенно равна 5 × 1012см–2В–1, а безразмерный изгиб зон в кремнии уменьшается от 7 до 0. Вычисленное по формуле (11) значение Ωex составляет 1.254 × 1018Ф–2В–2. На рис. 4 приведены зависимости функционала (9) от Cиз и вблизи точки минимума.
Рис. 4. Зависимость функционала Ω от Cиз и вблизи точки минимума: (сплошная линия), (точки), (звездочки). Переменная является отклонением емкостей Cиз и от значений в минимуме функционала Ω.
Показаны три функции Ω от переменной , являющейся отклонением емкостей от значений в минимуме:
, ,
.
Поскольку
,
,
то из сопоставления кривых 1 и 2 на рис. 4 с данными формулами получаем
A = 4.9 × 1037Ф–4В–2, D = 3.3 × 1041Ф–4В–2.
Отметим, что при одинаковых величинах разница значений функционала у кривых 3 и 2 мала — она на два порядка меньше, чем Ω. Для кривой 3 на рис. 4 справедливо равенство
но
.
Поэтому для определения значения коэффициента B приходится вычитать одно большое число из другого, практически равного ему по величине. Эта некорректная операция приводит к выходу за пределы точности расчетов и невозможности нахождения надежного значения B. Таким образом, в соответствии с неравенствами (12б) отклонения значений емкостей, получающихся по развитому алгоритму, от точных не более следующих:
пФ, пФ.
Следовательно, для наших образцов точность определения емкости окисла составляет 6.6% (точнее говоря, речь идет о комбинации ), а емкости полупроводника в состоянии плоских зон — 0.6 %.
ЗАКЛЮЧЕНИЕ
Сформулирован алгоритм определения из экспериментальных высокочастотных ВФХ Si–МОП-структур со сверхтонким слоем окисла кремния емкости изолирующего промежутка и концентрации легирующей примеси непосредственно у ГР Si–SiО2. Получены выражения для оценки предельной погрешности развитого подхода. Применение разработанного метода и иллюстрация теоретических результатов на экспериментальных характеристиках реальной Si–МОП-структуры показали его достаточно высокую точность и возможность использования при высокочастотных измерениях. Подчеркнем еще раз перспективность высокочастотных измерений при электрофизических исследованиях настоящих и будущих наноразмерных структур. Понятие «высокочастотные» накладывает определенные требования только на периоды тестирующего сигнала. Они должны быть много меньше характерных времен перезарядки ЭЛ и рождения дырок; успевать реагировать на тест должны только свободные электроны. Зато скорости изменения полевого напряжения и других внешних воздействий на образец могут быть произвольными. Это позволяет исследователям проводить высокочастотные эксперименты в самых разных физических условиях: от квазистационарных до измерений во времени после ступенчатого изменения внешнего фактора. Большой объем вычислений, необходимый для обработки данных ВФХ, компенсируется построением в зависимости от изменения внешних параметров таких важных характеристик структуры, как изгиб зон в полупроводнике, падение напряжения на изолирующем промежутке и суммарная плотность заряженных ЭЛ и неосновных носителей заряда.
Укажем также на возможности использования разработанного алгоритма для структур металл–диэлектрик–полупроводник с изолирующим слоем из заменяющих окисел кремния материалов. В связи с неизбежным уменьшением толщин новых изоляторов у исследователей и разработчиков возникнет необходимость учитывать влияние переходных слоев на величины емкостей диэлектрических промежутков. Методы определения по экспериментально полученным ВФХ подобных структур емкостей изолирующих слоев могут быть развиты на основе предложенного в данной работе подхода.
Авторы данной работы заявляют об отсутствии конфликта интересов.
ФИНАНСИРОВАНИЕ РАБОТЫ
Работа выполнена в рамках государственного задания ИРЭ им. В.А. Котельникова РАН (№ 075-01110-23-01).
About the authors
D. A. Belorusov
Kotelnikov Institute of Radioengineering and Electronics of Russian Academy of Sciences
Email: gvc@ms.ire.rssi.ru
Fryazino branch
Russian Federation, Vvedensky sq. 1, Fryazino, Moscow region, 141190E. I. Goldman
Kotelnikov Institute of Radioengineering and Electronics of Russian Academy of Sciences
Email: gvc@ms.ire.rssi.ru
Fryazino branch
Russian Federation, Vvedensky sq. 1, Fryazino, Moscow region, 141190G. V. Chucheva
Kotelnikov Institute of Radioengineering and Electronics of Russian Academy of Sciences
Author for correspondence.
Email: gvc@ms.ire.rssi.ru
Fryazino branch
Russian Federation, Vvedensky sq. 1, Fryazino, Moscow region, 141190I. A. Shusharin
Kotelnikov Institute of Radioengineering and Electronics of Russian Academy of Sciences
Email: gvc@ms.ire.rssi.ru
Fryazino branch
Russian Federation, Vvedensky sq. 1, Fryazino, Moscow region, 141190References
- Zwanenburg F.A., Dzurak A.S., Morello A. et al. // Rev. Mod. Phys. 2013. V. 85. № 3. P. 961. doi: 10.1103/RevModPhys.85.961.
- Черняев М.В., Горохов С.А., Патюков С.И., Резванов А.А. // Электрон. техника. Сер. 3. Микроэлектроника. 2022. № 3. С. 31. doi: 10.7868/S2410993222030058.
- Muller D.A., Sorsch T., Moccio S. et al. // Nature. 1999. V. 399. № 6738. P. 758. doi: 10.1038/21602.
- Sze S.M., Kwok K. Ng. Physics of Semiconductor Devices. 3rd ed. N.Y.: John Willey @ Sons, 2007.
- Nicollian E.H., Brews I.R. MOS (Metal Oxide Semiconductor) Physics and Technology. N.Y.: John Willey @ Sons, 1982.
- Гольдман Е.И., Кухарская Н.Ф., Левашов С.А., Чучева Г.В. // ФТП. 2019. Т. 53. № 1. С. 46. doi: 10.21883/FTP.2019.01.46985.8802.
- Бонч-Бруевич В.Л., Звягин И.П., Кайпер Р. и др. Электронная теория неупорядоченных полупроводников. М.: Наука, 1981. С. 22.
- Шкловский Б.И., Эфрос А.Л. Физика полупроводников и полупроводниковых приборов. Электронные свойства легированных полупроводников. М.: Наука, 1979. С. 316.
- Барабан А.П., Булавинов В.В., Коноров П.П. Электроника слоев на кремнии. Л.: Изд-во ЛГУ, 1988.
- Lonnum L.F., Johannessen J.S. // Electron. Lett. 1986. V. 22. № 9. P. 456. doi: 10.1049/el:19860310
- Kevin J.Y., Chenming H. // IEEE Trans. 1999. V. ED-46. № 7. P. 1500. doi: 10.1109/16.772500
Supplementary files






