Математическая модель сигнала радиолокатора на основе антенной решетки с двумерным частотным сканированием

Обложка

Цитировать

Полный текст

Аннотация

Рассмотрена антенная решетка с последовательным возбуждением и ее применение в составе радиолокатора с линейной частотной модуляцией. Представлен анализ решетки, состоящей из Na параллельных одномерных подрешеток с последовательным возбуждением, образующих двумерную излучающую решетку и волноводов связи, соединяющих через волноводные повороты на 180° выход n-й подрешетки со входом n+1 подрешетки. Предложена приближенная модель антенны, позволяющая определить ее основные технические характеристики. С помощью разработанной модели исследованы временные характеристики сигнала на выходе сверхвысокочастотного блока гомодинного радиолокатора с линейной частотной модуляцией. Проанализированы зависимости показателей качества решетки от параметров рассеяния элементарных излучателей и волноводных поворотов на 180°, сформулированы предъявляемые к ним технические требования. Показано, что рассматриваемый радиолокатор обеспечивает сканирование в секторе азимутальных углов ±40° и ±10° по углу места при девиации частоты в полосе 2 ГГц.

Полный текст

1. ПОСТАНОВКА ЗАДАЧИ

Антенные решетки с последовательным возбуждением (АРПВ) широко используются в антенной технике с середины ХХ столетия. Одномерная или линейная АРПВ представляет собой линию передачи (ЛП) или волновод, периодически нагруженную элементарными излучателями [1], в качестве которых чаще всего используются щели. Если при этом роль ЛП выполняет металлический волновод, то имеют в виду волноводно-щелевую решетку (ВЩР) [2].

Для АРПВ характерен эффект частотного сканирования (ЧС), который состоит в изменении положения главного луча (ГЛ) диаграммы направленности (ДН) при изменении частоты излучаемого или принимаемого сигнала [3].

Интерес к АРПВ со стороны разработчиков радиоэлектронной аппаратуры обусловлен двумя факторами: простотой и дешевизной их конструкций и простотой реализации электронного сканирования. Нетрудно заметить, что ЧС не требует применения большого числа дорогостоящих фазовращателей или приемо-передающих модулей, как это имеет место в других типах фазированных антенных решеток (ФАР). Так, для построения обзорного локатора на основе АРПВ достаточно включить в его состав генератор с перестраиваемой частотой и приемник сигналов с частотной модуляцией.

Следует отметить, что АРПВ с ЧС вряд ли смогут когда-либо обеспечить гибкость и многофункциональность, характерную для ФАР. С их помощью сложно решать задачи формирования ДН с заданным положением нулей, задачи адаптации и помехоподавления. Тем не менее в тех случаях, когда необходимо обеспечить обзор пространства в некотором секторе углов при минимальных затратах, АРПВ могут составить серьезную конкуренцию ФАР.

Одномерные АРПВ формируют ДН веерной формы и характеризуются одномерным ЧС. Для формирования игольчатой ДН и реализации двумерного ЧС используются системы одномерных АРПВ, которые создают двумерную решетку [4]. Одномерные подрешетки возбуждаются через многоканальный делитель мощности (МДМ). При этом между выходами МДМ и входами подрешеток могут быть включены фазовращатели. Таким образом, реализуется функция двумерного частотно-фазового сканирования. В одной плоскости положение ГЛ ДН определяется частотой, а в другой — фазовым сдвигом между фазовращателями.

Во многих случаях в качестве МДМ используются структуры оптического типа: планарные линзы и зеркала [5–8], что позволяет полностью избавиться от применения фазовращателей, сохранив при этом функцию обзора пространства в двумерном секторе углов. В этом случае антенна является многолучевой антенной, которая формирует несколько лучей, ориентированных под разными азимутальными углами. Изменение угла места происходит за счет ЧС.

Важным фактором, который стимулировал интерес к многолучевым антеннам с ЧС, было развитие технологии многослойных печатных схем СВЧ, в частности, появление технологии substrate integrated waveguides (SIW), поскольку ее использование позволяет изготавливать многолучевую антенну в виде дешевой и технологичной печатной схемы.

Следует отметить, что антенны, которые мы обсуждали выше, используют одномерное ЧС, однако с середины ХХ в. предпринимались попытки создания АРПВ с двумерным ЧС [9]. Для этого использовалась комбинация двух видов ЧС с относительно быстрым движением луча по одной координате и медленным по другой. Такая антенна, как и представленные выше, представляла собой систему подрешеток из линейных АРПВ с ЧС. Ее возбуждение осуществлялось при помощи специального устройства — сканера. В простейшем случае сканер — это свернутая в спираль ЛП или волновод, к которой с некоторым периодом подключаются входы подрешеток. Скорость движения луча в направлении осей подрешеток относительно медленная, а скорость движения луча в ортогональной плоскости задается сканером, а именно длиной ЛП, соединяющей входы соседних подрешеток. Увеличивая этот параметр, мы можем обеспечить существенно большую скорость движения ГЛ в данном направлении.

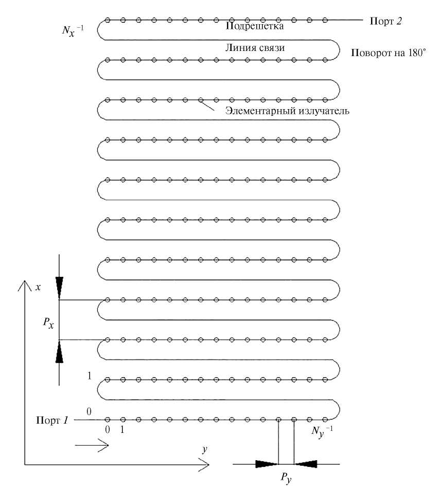
Применение сканера существенно усложняет конструкцию АРПВ с двумерным ЧС. В работах [1, 10] исследована АРПВ с двумерным ЧС, не требующая использования громоздкого и нетехнологичного сканера. Двумерное ЧС обеспечивается “змеевидной” структурой (рис. 1), которая включает линейные подрешетки и линии связи, соединяющие выход n-й подрешетки со входом n + 1 подрешетки. Соединение подрешетки и линии связи производится при помощи специального поворота ЛП на 180°. В работе [10] анализировалась сфокусированная в ближней зоне решетка.

 

Рис. 1. Структурная схема АРПВ с двумерным ЧС.

 

Следует отметить, что частотное сканирование, характерное для АРПВ неоднократно использовалось при создании радиолокаторов различного назначения (см., например, [11]).

Целью данной работы является исследование решетки, сфокусированной в дальней зоне и работающей в составе гомодинного радиолокатора с линейной частотной модуляцией (ЛЧМ).

Основной нашей задачей является построение математической модели, позволяющей определять форму локационного сигнала на выходе СВЧ-блока радиолокатора. Как будет показано ниже, сигнал существенно зависит от характеристик используемой АРПВ с двумерным ЧС. Поэтому значительная часть данной работы посвящена созданию ее приближенной модели.

2. ГОМОДИННЫЙ РАДИОЛОКАТОР

Типовая схема гомодинного локатора включает генератор с ЛЧМ, Y-циркулятор, антенну и смеситель (рис. 2).

 

Рис. 2. Схема гомодинного радиолокатора: Г — генератор, А — антенна, СМ — смеситель, Y Y-циркулятор.

 

Частота сигнала на выходе генератора меняется во времени в течение периода модуляции T m MathType@MTEF@5@5@+= feaahGart1ev3aaatCvAUfeBSjuyZL2yd9gzLbvyNv2Caerbov2D09 MBdbqedmvETj2BSbqeduuDJXwAKbYu51MyVXgarqqr1ngBPrgifHhD YfgasaacHOWxh9vrFfeu0dXdh9vqqj=hEeeu0xXdbba9frFj0=OqFf ea0dXdd9vqaq=JfrVkFHe9pgea0dXdar=Jb9hs0dXdbPYxe9vr0=vr 0=vqpWqaaeaabiGaaiaadaqabeaabeqacqaaaOqaaiaadsfadaWgaa WcbaGaamyBaaqabaaaaa@37FC@  по линейному закону:

f c (t)= f min +tΔf/ T m MathType@MTEF@5@5@+= feaahGart1ev3aqatCvAUfeBSjuyZL2yd9gzLbvyNv2Caerbov2D09 MBdbqedmvETj2BSbqeduuDJXwAKbYu51MyVXgarqqr1ngBPrgifHhD YfgasaacHOWxh9vrFfeu0dXdh9vqqj=hEeeu0xXdbba9frFj0=OqFf ea0dXdd9vqaq=JfrVkFHe9pgea0dXdar=Jb9hs0dXdbPYxe9vr0=vr 0=vqpWqaaeaabiGaaiaadaqabeaabeqacqaaaOqaaiaadAgadaWgaa WcbaGaae4yaaqabaGccaGGOaGaamiDaiaacMcacqGH9aqpcaWGMbWa aSbaaSqaaiGac2gacaGGPbGaaiOBaaqabaGccqGHRaWkcaWG0bGaeu iLdqKaamOzaiaac+cacaWGubWaaSbaaSqaaiaad2gaaeqaaaaa@462E@ ,    (1)

где Δf MathType@MTEF@5@5@+= feaahGart1ev3aaatCvAUfeBSjuyZL2yd9gzLbvyNv2Caerbov2D09 MBdbqedmvETj2BSbqeduuDJXwAKbYu51MyVXgarqqr1ngBPrgifHhD YfgasaacHOWxh9vrFfeu0dXdh9vqqj=hEeeu0xXdbba9frFj0=OqFf ea0dXdd9vqaq=JfrVkFHe9pgea0dXdar=Jb9hs0dXdbPYxe9vr0=vr 0=vqpWqaaeaabiGaaiaadaqabeaabeqacqaaaOqaaiabfs5aejaadA gaaaa@3856@ — девиация частоты, f min MathType@MTEF@5@5@+= feaahGart1ev3aaatCvAUfeBSjuyZL2yd9gzLbvyNv2Caerbov2D09 MBdbqedmvETj2BSbqeduuDJXwAKbYu51MyVXgarqqr1ngBPrgifHhD YfgasaacHOWxh9vrFfeu0dXdh9vqqj=hEeeu0xXdbba9frFj0=OqFf ea0dXdd9vqaq=JfrVkFHe9pgea0dXdar=Jb9hs0dXdbPYxe9vr0=vr 0=vqpWqaaeaabiGaaiaadaqabeaabeqacqaaaOqaaiaadAgadaWgaa WcbaGaciyBaiaacMgacaGGUbaabeaaaaa@39EE@ — минимальное значение частоты в рабочем диапазоне.

Полагаем, что мощность генератора Рг не зависит от времени. Тогда мощность отраженного от цели сигнала Рс на выходе антенны можно записать, используя форму радиолокации [12]:

Pc=PгG2σλ2(4π)3R4, (2)

где λ — длина волны в свободном пространстве, σ MathType@MTEF@5@5@+= feaahGart1ev3aaatCvAUfeBSjuyZL2yd9gzLbvyNv2Caerbov2D09 MBdbqedmvETj2BSbqeduuDJXwAKbYu51MyVXgarqqr1ngBPrgifHhD YfgasaacHOWxh9vrFfeu0dXdh9vqqj=hEeeu0xXdbba9frFj0=OqFf ea0dXdd9vqaq=JfrVkFHe9pgea0dXdar=Jb9hs0dXdbPYxe9vr0=vr 0=vqpWqaaeaabiGaaiaadaqabeaabeqacqaaaOqaaiabeo8aZbaa@37C8@ — эффективная площадь рассеяния цели, R — расстояние до цели, G — коэффициент усиления (КУ) антенны.

Поскольку сигнал, отраженный от цели, испытывает задержку во времени:

dt=2R/c, MathType@MTEF@5@5@+= feaahGart1ev3aaatCvAUfeBSjuyZL2yd9gzLbvyNv2Caerbov2D09 MBdbqedmvETj2BSbqeduuDJXwAKbYu51MyVXgarqqr1ngBPrgifHhD YfgasaacHOWxh9vrFfeu0dXdh9vqqj=hEeeu0xXdbba9frFj0=OqFf ea0dXdd9vqaq=JfrVkFHe9pgea0dXdar=Jb9hs0dXdbPYxe9vr0=vr 0=vqpWqaaeaabiGaaiaadaqabeaabeqacqaaaOqaaiaadsgacaWG0b Gaeyypa0JaaGOmaiaadkfacaGGVaGaam4yaiaacYcaaaa@3CCB@  (3)

то, как обычно в ЛЧМ-локации, частота отраженного сигнала сдвинута на величину f i : MathType@MTEF@5@5@+= feaahGart1ev3aaatCvAUfeBSjuyZL2yd9gzLbvyNv2Caerbov2D09 MBdbqedmvETj2BSbqeduuDJXwAKbYu51MyVXgarqqr1ngBPrgifHhD YfgasaacHOWxh9vrFfeu0dXdh9vqqj=hEeeu0xXdbba9frFj0=OqFf ea0dXdd9vqaq=JfrVkFHe9pgea0dXdar=Jb9hs0dXdbPYxe9vr0=vr 0=vqpWqaaeaabiGaaiaadaqabeaabeqacqaaaOqaaiaadAgadaWgaa WcbaGaamyAaaqabaGccaaMb8UaaiOoaaaa@3A5C@

f i =2RΔf/c T m . MathType@MTEF@5@5@+= feaahGart1ev3aaatCvAUfeBSjuyZL2yd9gzLbvyNv2Caerbov2D09 MBdbqedmvETj2BSbqeduuDJXwAKbYu51MyVXgarqqr1ngBPrgifHhD YfgasaacHOWxh9vrFfeu0dXdh9vqqj=hEeeu0xXdbba9frFj0=OqFf ea0dXdd9vqaq=JfrVkFHe9pgea0dXdar=Jb9hs0dXdbPYxe9vr0=vr 0=vqpWqaaeaabiGaaiaadaqabeaabeqacqaaaOqaaiaadAgadaWgaa WcbaGaamyAaaqabaGccqGH9aqpcaaIYaGaamOuaiabfs5aejaadAga caGGVaGaam4yaiaadsfadaWgaaWcbaGaamyBaaqabaGccaGGUaaaaa@414C@  (4)

Здесь с — скорость света в вакууме, f i MathType@MTEF@5@5@+= feaahGart1ev3aaatCvAUfeBSjuyZL2yd9gzLbvyNv2Caerbov2D09 MBdbqedmvETj2BSbqeduuDJXwAKbYu51MyVXgarqqr1ngBPrgifHhD YfgasaacHOWxh9vrFfeu0dXdh9vqqj=hEeeu0xXdbba9frFj0=OqFf ea0dXdd9vqaq=JfrVkFHe9pgea0dXdar=Jb9hs0dXdbPYxe9vr0=vr 0=vqpWqaaeaabiGaaiaadaqabeaabeqacqaaaOqaaiaadAgadaWgaa WcbaGaamyAaaqabaaaaa@380A@ — это частота на выходе смесителя, она несет информацию о дальности до цели локации.

Соотношение (1) записано в предположении о том, что ГЛ ДН антенны ориентирован в направлении цели. В нашем случае АРПВ с ЧС это условие не выполняется, так как ее ДН является функцией времени. С учетом данного фактора можем записать (1) в более общем виде:

Pc=PгG2(θt,φt,t)σλ2(t)(4π)3R4, (5)

где θt,φt  MathType@MTEF@5@5@+= feaahGart1ev3aqatCvAUfeBSjuyZL2yd9gzLbvyNv2CaerbuLwBLn hiov2DGi1BTfMBaeXatLxBI9gBaerbd9wDYLwzYbItLDharqqtubsr 4rNCHbGeaGqiVu0Je9sqqrpepC0xbbL8F4rqqrFfpeea0xe9Lq=Jc9 vqaqpepm0xbba9pwe9Q8fs0=yqaqpepae9pg0FirpepeKkFr0xfr=x fr=xb9adbaqaaeGaciGaaiaabeqaamaabaabaaGcbaqef4uz3r3BUb acfaqcLbvaqaaaaaaaaaWdbiaa=rbiaaa@3A2A@  углы сферической системы координат, в которой задана функция G(θ,φ,t). Они определяют координаты цели и не зависят от времени.

Для определения сигнала на выходе смесителя U c (t), MathType@MTEF@5@5@+= feaahGart1ev3aaatCvAUfeBSjuyZL2yd9gzLbvyNv2Caerbov2D09 MBdbqedmvETj2BSbqeduuDJXwAKbYu51MyVXgarqqr1ngBPrgifHhD YfgasaacHOWxh9vrFfeu0dXdh9vqqj=hEeeu0xXdbba9frFj0=OqFf ea0dXdd9vqaq=JfrVkFHe9pgea0dXdar=Jb9hs0dXdbPYxe9vr0=vr 0=vqpWqaaeaabiGaaiaadaqabeaabeqacqaaaOqaaiaadwfadaWgaa WcbaGaae4yaaqabaGccaGGOaGaamiDaiaacMcacaGGSaaaaa@3AFD@ т.е. на выходе СВЧ-блока надо учесть коэффициент передачи смесителя по мощности K m : MathType@MTEF@5@5@+= feaahGart1ev3aaatCvAUfeBSjuyZL2yd9gzLbvyNv2Caerbov2D09 MBdbqedmvETj2BSbqeduuDJXwAKbYu51MyVXgarqqr1ngBPrgifHhD YfgasaacHOWxh9vrFfeu0dXdh9vqqj=hEeeu0xXdbba9frFj0=OqFf ea0dXdd9vqaq=JfrVkFHe9pgea0dXdar=Jb9hs0dXdbPYxe9vr0=vr 0=vqpWqaaeaabiGaaiaadaqabeaabeqacqaaaOqaaiaadUeadaWgaa WcbaGaamyBaaqabaGccaaMb8UaaiOoaaaa@3A45@

Uc(t)=PгG2(θt,φt,t)σλ2(t)Km(4π)3R4cos(2πfi). (6)

3. МАТРИЦА РАССЕЯНИЯ АПРВ С ДВУМЕРНЫМ ЧС

Из выражения (5) нетрудно увидеть, что функция G(θ,φ,t) быстро изменяется во времени и во многом определяет форму искомого сигнала. В общем случае определение функции G(θ,φ,t) связано с решением граничной задачи электродинамики, которое может быть выполнено с помощью современных программ электродинамического моделирования. Однако здесь следует отметить, что модель такого уровня требует больших затрат компьютерных ресурсов, в первую очередь времени. Поэтому она плохо подходит для качественного анализа исследуемого устройства, а также для целей его оптимизации.

По этой причине на этапе предварительного анализа мы отдаем предпочтение приближенным моделям, которые, как мы увидим ниже, правильно передают основные закономерности функционирования радиолокатора, но при этом не требуют больших временных затрат, о которых мы упоминали выше.

Рассматриваемая АРПВ является, с одной стороны, излучающей структурой, которая описывается стандартным набором антенных параметров. С другой стороны, она является СВЧ-четырехполюсником с портами p1, 2 (см. рис. 1), который описывается параметрами рассеяния. Оба вида параметров необходимы нам для решения поставленной задачи. Начнем с анализа решетки как СВЧ-многополюсника.

С этой точки зрения АРПВ представляет собой ЛП, в которую последовательно включены два вида четырехполюсников: элементарные излучатели (ЭИ) и повороты на 180°. Говоря об излучателях, следует отметить, что взаимодействие между ними может осуществляться как через основную волну ЛП, так и через поля свободного пространства. Учет последнего фактора требует решения электродинамической задачи. При этом следует иметь в виду, что основное взаимодействие осуществляет волна ЛП, поэтому ограничимся приближением элементарной теории антенных решеток, которая не учитывает взаимное влияние излучателей через указанные выше поля.

В рамках принятого приближения, вообще говоря, нет необходимости учитывать конкретный вид ЛП и тип ЭИ. Мы имеем возможность описывать их в общем виде, используя обобщенные параметры, такие как, например, постоянная распространения ЛП. Однако там, где это возможно и необходимо, будем учитывать свойства наиболее перспективных вариантов выполнения элементов АРПВ.

Так, например, в качестве ЛП целесообразно использовать металлический волновод, имеющий минимальные потери в СВЧ-диапазоне. Возможно, конечно, применение коаксиальной и полосковой ЛП. Однако затухание волны в них многократно превышает затухание в металлическом волноводе. Постоянная распространения прямоугольного волновода γ описывается следующей формулой:

γ=βi α t , MathType@MTEF@5@5@+= feaahGart1ev3aaatCvAUfeBSjuyZL2yd9gzLbvyNv2Caerbov2D09 MBdbqedmvETj2BSbqeduuDJXwAKbYu51MyVXgarqqr1ngBPrgifHhD YfgasaacHOWxh9vrFfeu0dXdh9vqqj=hEeeu0xXdbba9frFj0=OqFf ea0dXdd9vqaq=JfrVkFHe9pgea0dXdar=Jb9hs0dXdbPYxe9vr0=vr 0=vqpWqaaeaabiGaaiaadaqabeaabeqacqaaaOqaaabaaaaaaaaape Gaeq4SdCMaeyypa0JaeqOSdiMaeyOeI0IaamyAaiabeg7aH9aadaWg aaWcbaWdbiaadshaa8aabeaakiaacYcaaaa@3FFA@  (7)

где

β= k 2 ε π/a 2 , MathType@MTEF@5@5@+= feaahGart1ev3aaatCvAUfeBSjuyZL2yd9gzLbvyNv2Caerbov2D09 MBdbqedmvETj2BSbqeduuDJXwAKbYu51MyVXgarqqr1ngBPrgifHhD YfgasaacHOWxh9vrFfeu0dXdh9vqqj=hEeeu0xXdbba9frFj0=OqFf ea0dXdd9vqaq=JfrVkFHe9pgea0dXdar=Jb9hs0dXdbPYxe9vr0=vr 0=vqpWqaaeaabiGaaiaadaqabeaabeqacqaaaOqaaiabek7aIjabg2 da9maakaaabaGaam4AamaaCaaaleqabaGaaGOmaaaakiabew7aLjab gkHiTmaabmaabaGaeqiWdaNaai4laiaadggaaiaawIcacaGLPaaada ahaaWcbeqaaiaaikdaaaaabeaakiaacYcaaaa@43B5@

α t =kε R s /βW, MathType@MTEF@5@5@+= feaahGart1ev3aaatCvAUfeBSjuyZL2yd9gzLbvyNv2Caerbov2D09 MBdbqedmvETj2BSbqeduuDJXwAKbYu51MyVXgarqqr1ngBPrgifHhD YfgasaacHOWxh9vrFfeu0dXdh9vqqj=hEeeu0xXdbba9frFj0=OqFf ea0dXdd9vqaq=JfrVkFHe9pgea0dXdar=Jb9hs0dXdbPYxe9vr0=vr 0=vqpWqaaeaabiGaaiaadaqabeaabeqacqaaaOqaaiabeg7aHnaaBa aaleaacaWG0baabeaakiabg2da9iaadUgacqaH1oqzcaWGsbWaaSba aSqaaiaadohaaeqaaOGaai4laiabek7aIjaadEfacaGGSaaaaa@4255@

k, W — волновое число и волновое сопротивление свободного пространства, ε — диэлектрическая проницаемость среды внутри волновода, а — размер его широкой стенки, R s MathType@MTEF@5@5@+= feaahGart1ev3aaatCvAUfeBSjuyZL2yd9gzLbvyNv2Caerbov2D09 MBdbqedmvETj2BSbqeduuDJXwAKbYu51MyVXgarqqr1ngBPrgifHhD YfgasaacHOWxh9vrFfeu0dXdh9vqqj=hEeeu0xXdbba9frFj0=OqFf ea0dXdd9vqaq=JfrVkFHe9pgea0dXdar=Jb9hs0dXdbPYxe9vr0=vr 0=vqpWqaaeaabiGaaiaadaqabeaabeqacqaaaOqaaiaadkfadaWgaa WcbaGaam4Caaqabaaaaa@3800@ — поверхностное сопротивление металла. Будем исходить из того, что волноводы в подрешетках и линиях связи могут иметь разные постоянные распространения γ1,2 соответственно. Отметим, что, даже несмотря на низкий уровень затухания в металлическом волноводе, его большая общая длина может приводить к значительным тепловым потерям. Поэтому в соотношение (7) включено затухание αt.

В качестве ЭИ в металлическом волноводе чаще всего используют продольные и поперечные щели. Рассмотрим продольные щели как в широкой, так и в узкой стенках. Их можно описать эквивалентной схемой в виде параллельной проводимости ys в ЛП [13] (рис. 3).

 

Рис. 3. Эквивалентная схема щели.

 

Для простоты дальнейших преобразований под ЭИ понимаем щель с отрезком волновода длиной, равной периоду решетки Ру. При этом известно [13], что щель является резонансным элементом. В этом случае ее ненормированную проводимость можно записать следующим образом:

y s = g s / 1+2i(f f p )Q/ f p , MathType@MTEF@5@5@+= feaahGart1ev3aaatCvAUfeBSjuyZL2yd9gzLbvyNv2Caerbov2D09 MBdbqedmvETj2BSbqeduuDJXwAKbYu51MyVXgarqqr1ngBPrgifHhD YfgasaacHOWxh9vrFfeu0dXdh9vqqj=hEeeu0xXdbba9frFj0=OqFf ea0dXdd9vqaq=JfrVkFHe9pgea0dXdar=Jb9hs0dXdbPYxe9vr0=vr 0=vqpWqaaeaabiGaaiaadaqabeaabeqacqaaaOqaaiaadMhadaWgaa WcbaGaam4CaaqabaGccqGH9aqpcaWGNbWaaSbaaSqaaiaadohaaeqa aOGaai4lamaabmaabaGaaGymaiabgUcaRiaaikdacaWGPbGaaiikai aadAgacqGHsislcaWGMbWaaSbaaSqaaiaabchaaeqaaOGaaiykaiaa dgfacaGGVaGaamOzamaaBaaaleaacaqGWbaabeaaaOGaayjkaiaawM caaiaacYcaaaa@4A66@

где g s MathType@MTEF@5@5@+= feaahGart1ev3aaatCvAUfeBSjuyZL2yd9gzLbvyNv2Caerbov2D09 MBdbqedmvETj2BSbqeduuDJXwAKbYu51MyVXgarqqr1ngBPrgifHhD YfgasaacHOWxh9vrFfeu0dXdh9vqqj=hEeeu0xXdbba9frFj0=OqFf ea0dXdd9vqaq=JfrVkFHe9pgea0dXdar=Jb9hs0dXdbPYxe9vr0=vr 0=vqpWqaaeaabiGaaiaadaqabeaabeqacqaaaOqaaiaadEgadaWgaa WcbaGaam4Caaqabaaaaa@3815@ — проводимость щели на резонансе, Q — добротность щели, fррезонансная частота.

Наряду с резонансными свойствами щели ее частотная характеристика зависит от поведения характеристического сопротивления волновода, поскольку в выражение для матрицы рассеяния входит нормированная проводимость щели. Особенно сильно влияние данного фактора сказывается на частотах, близких к критической, так как указанное сопротивление стремится к бесконечности пропорционально k/γ.

Учитывая сказанное выше, целесообразно использовать для нормированной проводимости щели yn следующую аппроксимацию:

y n = y s k/γ. MathType@MTEF@5@5@+= feaahGart1ev3aaatCvAUfeBSjuyZL2yd9gzLbvyNv2Caerbov2D09 MBdbqedmvETj2BSbqeduuDJXwAKbYu51MyVXgarqqr1ngBPrgifHhD YfgasaacHOWxh9vrFfeu0dXdh9vqqj=hEeeu0xXdbba9frFj0=OqFf ea0dXdd9vqaq=JfrVkFHe9pgea0dXdar=Jb9hs0dXdbPYxe9vr0=vr 0=vqpWqaaeaabiGaaiaadaqabeaabeqacqaaaOqaaiaadMhadaWgaa WcbaGaamOBaaqabaGccqGH9aqpcaWG5bWaaSbaaSqaaiaadohaaeqa aOGaam4Aaiaac+cacqaHZoWzcaGGUaaaaa@3F5A@  (8)

В рамках принятой модели ЭИ его матрица рассеяния Sr имеет вид

S r = y n 2 2 y n exp(i γ 1 P y ) 2+ y n MathType@MTEF@5@5@+= feaahGart1ev3aaatCvAUfeBSjuyZL2yd9gzLbvyNv2Caerbov2D09 MBdbqedmvETj2BSbqeduuDJXwAKbYu51MyVXgarqqr1ngBPrgifHhD YfgasaacHOWxh9vrFfeu0dXdh9vqqj=hEeeu0xXdbba9frFj0=OqFf ea0dXdd9vqaq=JfrVkFHe9pgea0dXdar=Jb9hs0dXdbPYxe9vr0=vr 0=vqpWqaaeaabiGaaiaadaqabeaabeqacqaaaOqaaiaahofadaWgaa WcbaGaamOCaaqabaGccqGH9aqpdaWadaqaauaabeqaciaaaeaacqGH sislcaWG5bWaaSbaaSqaaiaad6gaaeqaaaGcbaGaaGOmaaqaaiaaik daaeaacqGHsislcaWG5bWaaSbaaSqaaiaad6gaaeqaaaaaaOGaay5w aiaaw2faamaalaaabaGaciyzaiaacIhacaGGWbGaaiikaiabgkHiTi aadMgacqaHZoWzdaWgaaWcbaGaaGymaaqabaGccaWGqbWaaSbaaSqa aiaadMhaaeqaaOGaaiykaaqaaiaaikdacqGHRaWkcaWG5bWaaSbaaS qaaiaad6gaaeqaaaaaaaa@5131@ .(9)

Важным элементом АРПВ является поворот ЛП на 180°. В состав этого устройства мы включили два отрезка волновода длиной Lt и постоянной распространения γ1, а также собственно поворот. Считаем, что поворот идеально согласован на центральной частоте рабочего диапазона f0 и имеет коэффициент отражения Rm на его границах. С учетом сделанных замечаний матрица рассеяния поворота St имеет следующий вид:

S t = 2i R m (f f 0 )/Δf 1 2 R m (f f 0 )/Δf 2 1 2 R m (f f 0 )/Δf 2 2i R m (f f 0 )/Δf exp(i γ 1 L t ) MathType@MTEF@5@5@+= feaahGart1ev3aaatCvAUfeBSjuyZL2yd9gzLbvyNv2Caerbov2D09 MBdbqedmvETj2BSbqeduuDJXwAKbYu51MyVXgarqqr1ngBPrgifHhD YfgasaacHOWxh9vrFfeu0dXdh9vqqj=hEeeu0xXdbba9frFj0=OqFf ea0dXdd9vqaq=JfrVkFHe9pgea0dXdar=Jb9hs0dXdbPYxe9vr0=vr 0=vqpWqaaeaabiGaaiaadaqabeaabeqacqaaaOqaaiaahofadaWgaa WcbaGaamiDaaqabaGccqGH9aqpdaWadaqaauaabeqaciaaaeaacaaI YaGaamyAaiaadkfadaWgaaWcbaGaamyBaaqabaGccaGGOaGaamOzai abgkHiTiaadAgadaWgaaWcbaGaaGimaaqabaGccaGGPaGaai4laiab fs5aejaadAgaaeaadaGcaaqaaiaaigdacqGHsisldaqadaqaaiaaik dacaWGsbWaaSbaaSqaaiaad2gaaeqaaOGaaiikaiaadAgacqGHsisl caWGMbWaaSbaaSqaaiaaicdaaeqaaOGaaiykaiaac+cacqqHuoarca WGMbaacaGLOaGaayzkaaWaaWbaaSqabeaacaaIYaaaaaqabaaakeaa daGcaaqaaiaaigdacqGHsisldaqadaqaaiaaikdacaWGsbWaaSbaaS qaaiaad2gaaeqaaOGaaiikaiaadAgacqGHsislcaWGMbWaaSbaaSqa aiaaicdaaeqaaOGaaiykaiaac+cacqqHuoarcaWGMbaacaGLOaGaay zkaaWaaWbaaSqabeaacaaIYaaaaaqabaaakeaacaaIYaGaamyAaiaa dkfadaWgaaWcbaGaamyBaaqabaGccaGGOaGaamOzaiabgkHiTiaadA gadaWgaaWcbaGaaGimaaqabaGccaGGPaGaai4laiabfs5aejaadAga aaaacaGLBbGaayzxaaGaciyzaiaacIhacaGGWbGaaiikaiabgkHiTi aadMgacqaHZoWzdaWgaaWcbaGaaGymaaqabaGccaWGmbWaaSbaaSqa aiaadshaaeqaaOGaaiykaaaa@7B2F@  (10)

Нетрудно заметить, что параметр Rm задает максимальное значение коэффициента отражения в рабочей полосе частот.

Для определения матрицы рассеяния всей решетки в целом целесообразно перейти от матриц рассеяния к волновым матрицам передачи Т [14]:

T= 1 S 2,2 S 1,1 S 1,2 S 2,1 S 1,1 S 2,2 1 S 1,2 MathType@MTEF@5@5@+= feaahGart1ev3aaatCvAUfeBSjuyZL2yd9gzLbvyNv2Caerbov2D09 MBdbqedmvETj2BSbqeduuDJXwAKbYu51MyVXgarqqr1ngBPrgifHhD YfgasaacHOWxh9vrFfeu0dXdh9vqqj=hEeeu0xXdbba9frFj0=OqFf ea0dXdd9vqaq=JfrVkFHe9pgea0dXdar=Jb9hs0dXdbPYxe9vr0=vr 0=vqpWqaaeaabiGaaiaadaqabeaabeqacqaaaOqaaiaahsfacqGH9a qpdaWadaqaauaabeqaciaaaeaacaaIXaaabaGaeyOeI0Iaam4uamaa BaaaleaacaaIYaGaaiilaiaaikdaaeqaaaGcbaGaam4uamaaBaaale aacaaIXaGaaiilaiaaigdaaeqaaaGcbaGaam4uamaaBaaaleaacaaI XaGaaiilaiaaikdaaeqaaOGaam4uamaaBaaaleaacaaIYaGaaiilai aaigdaaeqaaOGaeyOeI0Iaam4uamaaBaaaleaacaaIXaGaaiilaiaa igdaaeqaaOGaam4uamaaBaaaleaacaaIYaGaaiilaiaaikdaaeqaaa aaaOGaay5waiaaw2faamaalaaabaGaaGymaaqaaiaadofadaWgaaWc baGaaGymaiaacYcacaaIYaaabeaaaaaaaa@53B3@ . (11)

Матрицу передачи периода решетки по оси 0х запишем следующим образом:

T x = T t T r N y T t T c , MathType@MTEF@5@5@+= feaahGart1ev3aaatCvAUfeBSjuyZL2yd9gzLbvyNv2Caerbov2D09 MBdbqedmvETj2BSbqeduuDJXwAKbYu51MyVXgarqqr1ngBPrgifHhD YfgasaacHOWxh9vrFfeu0dXdh9vqqj=hEeeu0xXdbba9frFj0=OqFf ea0dXdd9vqaq=JfrVkFHe9pgea0dXdar=Jb9hs0dXdbPYxe9vr0=vr 0=vqpWqaaeaabiGaaiaadaqabeaabeqacqaaaOqaaiaahsfadaWgaa WcbaGaamiEaaqabaGccqGH9aqpcaWHubWaaSbaaSqaaiaadshaaeqa aOWaaeWaaeaacaWHubWaaSbaaSqaaiaadkhaaeqaaaGccaGLOaGaay zkaaWaaWbaaSqabeaacaWGobWaaSbaaWqaaiaadMhaaeqaaaaakiaa hsfadaWgaaWcbaGaamiDaaqabaGccaWHubWaaSbaaSqaaiaadogaae qaaOGaaiilaaaa@45A6@  (12)

где T c MathType@MTEF@5@5@+= feaahGart1ev3aaatCvAUfeBSjuyZL2yd9gzLbvyNv2Caerbov2D09 MBdbqedmvETj2BSbqeduuDJXwAKbYu51MyVXgarqqr1ngBPrgifHhD YfgasaacHOWxh9vrFfeu0dXdh9vqqj=hEeeu0xXdbba9frFj0=OqFf ea0dXdd9vqaq=JfrVkFHe9pgea0dXdar=Jb9hs0dXdbPYxe9vr0=vr 0=vqpWqaaeaabiGaaiaadaqabeaabeqacqaaaOqaaiaadsfadaWgaa WcbaGaam4yaaqabaaaaa@37F2@ — матрица передачи отрезка ЛП с постоянной распространения γ2 длиной Lc:

L c = L w 2 L t , MathType@MTEF@5@5@+= feaahGart1ev3aaatCvAUfeBSjuyZL2yd9gzLbvyNv2Caerbov2D09 MBdbqedmvETj2BSbqeduuDJXwAKbYu51MyVXgarqqr1ngBPrgifHhD YfgasaacHOWxh9vrFfeu0dXdh9vqqj=hEeeu0xXdbba9frFj0=OqFf ea0dXdd9vqaq=JfrVkFHe9pgea0dXdar=Jb9hs0dXdbPYxe9vr0=vr 0=vqpWqaaeaabiGaaiaadaqabeaabeqacqaaaOqaaiaadYeadaWgaa WcbaGaam4yaaqabaGccqGH9aqpcaWGmbWaaSbaaSqaaiaadEhaaeqa aOGaeyOeI0IaaGOmaiaadYeadaWgaaWcbaGaamiDaaqabaGccaGGSa aaaa@3F56@  (13)

L w = N y P y +2 L t . MathType@MTEF@5@5@+= feaahGart1ev3aaatCvAUfeBSjuyZL2yd9gzLbvyNv2Caerbov2D09 MBdbqedmvETj2BSbqeduuDJXwAKbYu51MyVXgarqqr1ngBPrgifHhD YfgasaacHOWxh9vrFfeu0dXdh9vqqj=hEeeu0xXdbba9frFj0=OqFf ea0dXdd9vqaq=JfrVkFHe9pgea0dXdar=Jb9hs0dXdbPYxe9vr0=vr 0=vqpWqaaeaabiGaaiaadaqabeaabeqacqaaaOqaaiaadYeadaWgaa WcbaGaam4DaaqabaGccqGH9aqpcaWGobWaaSbaaSqaaiaadMhaaeqa aOGaamiuamaaBaaaleaacaWG5baabeaakiabgUcaRiaaikdacaWGmb WaaSbaaSqaaiaadshaaeqaaOGaaiOlaaaa@416E@

Здесь L w MathType@MTEF@5@5@+= feaahGart1ev3aaatCvAUfeBSjuyZL2yd9gzLbvyNv2Caerbov2D09 MBdbqedmvETj2BSbqeduuDJXwAKbYu51MyVXgarqqr1ngBPrgifHhD YfgasaacHOWxh9vrFfeu0dXdh9vqqj=hEeeu0xXdbba9frFj0=OqFf ea0dXdd9vqaq=JfrVkFHe9pgea0dXdar=Jb9hs0dXdbPYxe9vr0=vr 0=vqpWqaaeaabiGaaiaadaqabeaabeqacqaaaOqaaiaadYeadaWgaa WcbaGaam4Daaqabaaaaa@37FE@ — полная длина волновода вдоль оси 0у.

Матрица рассеяния отрезка ЛП имеет вид

S L = 0 exp(iγL) exp(iγL) 0 MathType@MTEF@5@5@+= feaahGart1ev3aaatCvAUfeBSjuyZL2yd9gzLbvyNv2Caerbov2D09 MBdbqedmvETj2BSbqeduuDJXwAKbYu51MyVXgarqqr1ngBPrgifHhD YfgasaacHOWxh9vrFfeu0dXdh9vqqj=hEeeu0xXdbba9frFj0=OqFf ea0dXdd9vqaq=JfrVkFHe9pgea0dXdar=Jb9hs0dXdbPYxe9vr0=vr 0=vqpWqaaeaabiGaaiaadaqabeaabeqacqaaaOqaaiaahofadaWgaa WcbaGaamitaaqabaGccqGH9aqpdaWadaqaauaabeqaciaaaeaacaaI WaaabaGaciyzaiaacIhacaGGWbGaaiikaiabgkHiTiaadMgacqaHZo WzcaWGmbGaaiykaaqaaiGacwgacaGG4bGaaiiCaiaacIcacqGHsisl caWGPbGaeq4SdCMaamitaiaacMcaaeaacaaIWaaaaaGaay5waiaaw2 faaaaa@4D72@ . (14)

Обратный переход от матрицы передачи к матрице рассеяния выполняется по известным соотношениям [14]:

S= T 2,1 T 1,1 T 2,2 T 1,2 T 2,1 1 T 1,2 1 T 1,1 MathType@MTEF@5@5@+= feaahGart1ev3aaatCvAUfeBSjuyZL2yd9gzLbvyNv2Caerbov2D09 MBdbqedmvETj2BSbqeduuDJXwAKbYu51MyVXgarqqr1ngBPrgifHhD YfgasaacHOWxh9vrFfeu0dXdh9vqqj=hEeeu0xXdbba9frFj0=OqFf ea0dXdd9vqaq=JfrVkFHe9pgea0dXdar=Jb9hs0dXdbPYxe9vr0=vr 0=vqpWqaaeaabiGaaiaadaqabeaabeqacqaaaOqaaiaahofacqGH9a qpdaWadaqaauaabeqaciaaaeaacaWGubWaaSbaaSqaaiaaikdacaGG SaGaaGymaaqabaaakeaacaWGubWaaSbaaSqaaiaaigdacaGGSaGaaG ymaaqabaGccaWGubWaaSbaaSqaaiaaikdacaGGSaGaaGOmaaqabaGc cqGHsislcaWGubWaaSbaaSqaaiaaigdacaGGSaGaaGOmaaqabaGcca WGubWaaSbaaSqaaiaaikdacaGGSaGaaGymaaqabaaakeaacaaIXaaa baGaeyOeI0IaamivamaaBaaaleaacaaIXaGaaiilaiaaikdaaeqaaa aaaOGaay5waiaaw2faamaalaaabaGaaGymaaqaaiaadsfadaWgaaWc baGaaGymaiaacYcacaaIXaaabeaaaaaaaa@53B8@ . (15)

С помощью формулы (15) можем определить матрицу рассеяния периода решетки по оси 0х — Sx. Матрицу передачи всей решетки T a MathType@MTEF@5@5@+= feaahGart1ev3aaatCvAUfeBSjuyZL2yd9gzLbvyNv2Caerbov2D09 MBdbqedmvETj2BSbqeduuDJXwAKbYu51MyVXgarqqr1ngBPrgifHhD YfgasaacHOWxh9vrFfeu0dXdh9vqqj=hEeeu0xXdbba9frFj0=OqFf ea0dXdd9vqaq=JfrVkFHe9pgea0dXdar=Jb9hs0dXdbPYxe9vr0=vr 0=vqpWqaaeaabiGaaiaadaqabeaabeqacqaaaOqaaiaahsfadaWgaa WcbaGaamyyaaqabaaaaa@37F4@  находим следующим образом:

T a = T x N x . MathType@MTEF@5@5@+= feaahGart1ev3aaatCvAUfeBSjuyZL2yd9gzLbvyNv2Caerbov2D09 MBdbqedmvETj2BSbqeduuDJXwAKbYu51MyVXgarqqr1ngBPrgifHhD YfgasaacHOWxh9vrFfeu0dXdh9vqqj=hEeeu0xXdbba9frFj0=OqFf ea0dXdd9vqaq=JfrVkFHe9pgea0dXdar=Jb9hs0dXdbPYxe9vr0=vr 0=vqpWqaaeaabiGaaiaadaqabeaabeqacqaaaOqaaiaahsfadaWgaa WcbaGaamyyaaqabaGccqGH9aqpdaqadaqaaiaahsfadaWgaaWcbaGa amiEaaqabaaakiaawIcacaGLPaaadaahaaWcbeqaaiaad6eadaWgaa adbaGaamiEaaqabaaaaOGaaGzaVlaac6caaaa@410D@  (16)

С помощью соотношений (15) и (16) нетрудно найти матрицу рассеяния решетки Sa.

4. АНТЕННЫЕ ПАРАМЕТРЫ АРПВ С ДВУМЕРНЫМ ЧАСТОТНЫМ СКАНИРОВАНИЕМ

Для вычисления ДН и других антенных параметров необходимо определить амплитудно-фазовое распределение (АФР) в раскрыве решетки. Пусть U n,m MathType@MTEF@5@5@+= feaahGart1ev3aaatCvAUfeBSjuyZL2yd9gzLbvyNv2Caerbov2D09 MBdbqedmvETj2BSbqeduuDJXwAKbYu51MyVXgarqqr1ngBPrgifHhD YfgasaacHOWxh9vrFfeu0dXdh9vqqj=hEeeu0xXdbba9frFj0=OqFf ea0dXdd9vqaq=JfrVkFHe9pgea0dXdar=Jb9hs0dXdbPYxe9vr0=vr 0=vqpWqaaeaabiGaaiaadaqabeaabeqacqaaaOqaaiaadwfadaWgaa WcbaGaamOBaiaacYcacaWGTbaabeaaaaa@39A0@ — комплексные амплитуды, с которыми возбуждаются ЭИ (здесь n, m — это индексы, определяющие положение ЭИ вдоль осей 0х и 0у соответственно).

Как известно [15], в рамках принятого приближения в большинстве практически интересных случаев в АРПВ имеет место экспоненциальное АФР:

U n,m =Aexp(n Δ x +inΔ φ x m Δ y +imΔ φ y ) MathType@MTEF@5@5@+= feaahGart1ev3aaatCvAUfeBSjuyZL2yd9gzLbvyNv2Caerbov2D09 MBdbqedmvETj2BSbqeduuDJXwAKbYu51MyVXgarqqr1ngBPrgifHhD YfgasaacHOWxh9vrFfeu0dXdh9vqqj=hEeeu0xXdbba9frFj0=OqFf ea0dXdd9vqaq=JfrVkFHe9pgea0dXdar=Jb9hs0dXdbPYxe9vr0=vr 0=vqpWqaaeaabiGaaiaadaqabeaabeqacqaaaOqaaiaadwfadaWgaa WcbaGaamOBaiaacYcacaWGTbaabeaakiabg2da9iaadgeaciGGLbGa aiiEaiaacchacaGGOaGaeyOeI0IaamOBaiabfs5aenaaBaaaleaaca WG4baabeaakiabgUcaRiaadMgacaWGUbGaeuiLdqKaeqOXdO2aaSba aSqaaiaadIhaaeqaaOGaeyOeI0IaamyBaiabfs5aenaaBaaaleaaca WG5baabeaakiabgUcaRiaadMgacaWGTbGaeuiLdqKaeqOXdO2aaSba aSqaaiaadMhaaeqaaOGaaiykaaaa@56CE@ , (17)

где Δ x,y MathType@MTEF@5@5@+= feaahGart1ev3aaatCvAUfeBSjuyZL2yd9gzLbvyNv2Caerbov2D09 MBdbqedmvETj2BSbqeduuDJXwAKbYu51MyVXgarqqr1ngBPrgifHhD YfgasaacHOWxh9vrFfeu0dXdh9vqqj=hEeeu0xXdbba9frFj0=OqFf ea0dXdd9vqaq=JfrVkFHe9pgea0dXdar=Jb9hs0dXdbPYxe9vr0=vr 0=vqpWqaaeaabiGaaiaadaqabeaabeqacqaaaOqaaiabfs5aenaaBa aaleaacaWG4bGaaiilaiaadMhaaeqaaaaa@3A42@ — затухания на период решетки по осям 0х и 0у, Δ φ x,y MathType@MTEF@5@5@+= feaahGart1ev3aaatCvAUfeBSjuyZL2yd9gzLbvyNv2Caerbov2D09 MBdbqedmvETj2BSbqeduuDJXwAKbYu51MyVXgarqqr1ngBPrgifHhD YfgasaacHOWxh9vrFfeu0dXdh9vqqj=hEeeu0xXdbba9frFj0=OqFf ea0dXdd9vqaq=JfrVkFHe9pgea0dXdar=Jb9hs0dXdbPYxe9vr0=vr 0=vqpWqaaeaabiGaaiaadaqabeaabeqacqaaaOqaaiabfs5aejabeA 8aQnaaBaaaleaacaWG4bGaaiilaiaadMhaaeqaaaaa@3BFF@ — фазовые сдвиги на период решетки по осям 0х и 0у соответственно, А — несущественный амплитудный множитель.

Фазовый сдвиг на периоде по оси 0у определяется матрицей рассеяния ЭИ (9):

Δ φ y =arg( S r12 ). MathType@MTEF@5@5@+= feaahGart1ev3aaatCvAUfeBSjuyZL2yd9gzLbvyNv2Caerbov2D09 MBdbqedmvETj2BSbqeduuDJXwAKbYu51MyVXgarqqr1ngBPrgifHhD YfgasaacHOWxh9vrFfeu0dXdh9vqqj=hEeeu0xXdbba9frFj0=OqFf ea0dXdd9vqaq=JfrVkFHe9pgea0dXdar=Jb9hs0dXdbPYxe9vr0=vr 0=vqpWqaaeaabiGaaiaadaqabeaabeqacqaaaOqaaiabfs5aejabeA 8aQnaaBaaaleaacaWG5baabeaakiabg2da9iGacggacaGGYbGaai4z aiaacIcacaWGtbWaaSbaaSqaaiaadkhacaaIXaGaaGOmaaqabaGcca GGPaGaaiOlaaaa@43B1@  (18)

Фазовый сдвиг по оси 0х определяется матрицей рассеяния периода Sx:

Δ φ x =arg( S x12 ). MathType@MTEF@5@5@+= feaahGart1ev3aaatCvAUfeBSjuyZL2yd9gzLbvyNv2Caerbov2D09 MBdbqedmvETj2BSbqeduuDJXwAKbYu51MyVXgarqqr1ngBPrgifHhD YfgasaacHOWxh9vrFfeu0dXdh9vqqj=hEeeu0xXdbba9frFj0=OqFf ea0dXdd9vqaq=JfrVkFHe9pgea0dXdar=Jb9hs0dXdbPYxe9vr0=vr 0=vqpWqaaeaabiGaaiaadaqabeaabeqacqaaaOqaaiabfs5aejabeA 8aQnaaBaaaleaacaWG4baabeaakiabg2da9iGacggacaGGYbGaai4z aiaacIcacaWGtbWaaSbaaSqaaiaadIhacaaIXaGaaGOmaaqabaGcca GGPaGaaiOlaaaa@43B6@  (19)

Затухание  Δ x MathType@MTEF@5@5@+= feaahGart1ev3aaatCvAUfeBSjuyZL2yd9gzLbvyNv2Caerbov2D09 MBdbqedmvETj2BSbqeduuDJXwAKbYu51MyVXgarqqr1ngBPrgifHhD YfgasaacHOWxh9vrFfeu0dXdh9vqqj=hEeeu0xXdbba9frFj0=OqFf ea0dXdd9vqaq=JfrVkFHe9pgea0dXdar=Jb9hs0dXdbPYxe9vr0=vr 0=vqpWqaaeaabiGaaiaadaqabeaabeqacqaaaOqaaiabfs5aenaaBa aaleaacaWG4baabeaaaaa@3894@ на период по оси 0х складывается из двух составляющих: затухание в подрешетке, обусловленное как излучением в свободное пространство, так и тепловыми потерями, а также тепловое затухание в двух поворотах и линии связи. С учетом сказанного выше можно записать параметр  Δ x MathType@MTEF@5@5@+= feaahGart1ev3aaatCvAUfeBSjuyZL2yd9gzLbvyNv2Caerbov2D09 MBdbqedmvETj2BSbqeduuDJXwAKbYu51MyVXgarqqr1ngBPrgifHhD YfgasaacHOWxh9vrFfeu0dXdh9vqqj=hEeeu0xXdbba9frFj0=OqFf ea0dXdd9vqaq=JfrVkFHe9pgea0dXdar=Jb9hs0dXdbPYxe9vr0=vr 0=vqpWqaaeaabiGaaiaadaqabeaabeqacqaaaOqaaiabfs5aenaaBa aaleaacaWG4baabeaaaaa@3894@ следующим образом:

Δ x = N y Δ y + Δ t , MathType@MTEF@5@5@+= feaahGart1ev3aaatCvAUfeBSjuyZL2yd9gzLbvyNv2Caerbov2D09 MBdbqedmvETj2BSbqeduuDJXwAKbYu51MyVXgarqqr1ngBPrgifHhD YfgasaacHOWxh9vrFfeu0dXdh9vqqj=hEeeu0xXdbba9frFj0=OqFf ea0dXdd9vqaq=JfrVkFHe9pgea0dXdar=Jb9hs0dXdbPYxe9vr0=vr 0=vqpWqaaeaabiGaaiaadaqabeaabeqacqaaaOqaaiabfs5aenaaBa aaleaacaWG4baabeaakiabg2da9iaad6eadaWgaaWcbaGaamyEaaqa baGccqqHuoardaWgaaWcbaGaamyEaaqabaGccqGHRaWkcqqHuoarda WgaaWcbaGaamiDaaqabaGccaGGSaaaaa@426C@  (20)

Δ t =(2 L w N y P y ) α t . MathType@MTEF@5@5@+= feaahGart1ev3aaatCvAUfeBSjuyZL2yd9gzLbvyNv2Caerbov2D09 MBdbqedmvETj2BSbqeduuDJXwAKbYu51MyVXgarqqr1ngBPrgifHhD YfgasaacHOWxh9vrFfeu0dXdh9vqqj=hEeeu0xXdbba9frFj0=OqFf ea0dXdd9vqaq=JfrVkFHe9pgea0dXdar=Jb9hs0dXdbPYxe9vr0=vr 0=vqpWqaaeaabiGaaiaadaqabeaabeqacqaaaOqaaiabfs5aenaaBa aaleaacaWG0baabeaakiabg2da9iaacIcacaaIYaGaamitamaaBaaa leaacaWG3baabeaakiabgkHiTiaad6eadaWgaaWcbaGaamyEaaqaba GccaWGqbWaaSbaaSqaaiaadMhaaeqaaOGaaiykaiabeg7aHnaaBaaa leaacaWG0baabeaakiaac6caaaa@4635@

Здесь первое слагаемое описывает потери в подрешетке, а второе — в остальных элементах, образующих период.

Полное затухание волны в решетке, с одной стороны, равно модулю коэффициента передачи  S a12 , MathType@MTEF@5@5@+= feaahGart1ev3aaatCvAUfeBSjuyZL2yd9gzLbvyNv2Caerbov2D09 MBdbqedmvETj2BSbqeduuDJXwAKbYu51MyVXgarqqr1ngBPrgifHhD YfgasaacHOWxh9vrFfeu0dXdh9vqqj=hEeeu0xXdbba9frFj0=OqFf ea0dXdd9vqaq=JfrVkFHe9pgea0dXdar=Jb9hs0dXdbPYxe9vr0=vr 0=vqpWqaaeaabiGaaiaadaqabeaabeqacqaaaOqaaiaadofadaWgaa WcbaGaamyyaiaaigdacaaIYaaabeaakiaacYcaaaa@3A20@ а с другой — является суммой затуханий в Nx периодах:

exp( N x ( N y Δ y + Δ t ))= S a12 MathType@MTEF@5@5@+= feaahGart1ev3aaatCvAUfeBSjuyZL2yd9gzLbvyNv2Caerbov2D09 MBdbqedmvETj2BSbqeduuDJXwAKbYu51MyVXgarqqr1ngBPrgifHhD YfgasaacHOWxh9vrFfeu0dXdh9vqqj=hEeeu0xXdbba9frFj0=OqFf ea0dXdd9vqaq=JfrVkFHe9pgea0dXdar=Jb9hs0dXdbPYxe9vr0=vr 0=vqpWqaaeaabiGaaiaadaqabeaabeqacqaaaOqaaiGacwgacaGG4b GaaiiCaiaacIcacqGHsislcaWGobWaaSbaaSqaaiaadIhaaeqaaOGa aiikaiaad6eadaWgaaWcbaGaamyEaaqabaGccqqHuoardaWgaaWcba GaamyEaaqabaGccqGHRaWkcqqHuoardaWgaaWcbaGaamiDaaqabaGc caGGPaGaaiykaiabg2da9maaemaabaGaam4uamaaBaaaleaacaWGHb GaaGymaiaaikdaaeqaaaGccaGLhWUaayjcSdaaaa@4E30@ . (21)

Соотношения (20), (21) позволяют найти параметры Δ x,y , MathType@MTEF@5@5@+= feaahGart1ev3aaatCvAUfeBSjuyZL2yd9gzLbvyNv2Caerbov2D09 MBdbqedmvETj2BSbqeduuDJXwAKbYu51MyVXgarqqr1ngBPrgifHhD YfgasaacHOWxh9vrFfeu0dXdh9vqqj=hEeeu0xXdbba9frFj0=OqFf ea0dXdd9vqaq=JfrVkFHe9pgea0dXdar=Jb9hs0dXdbPYxe9vr0=vr 0=vqpWqaaeaabiGaaiaadaqabeaabeqacqaaaOqaaiabfs5aenaaBa aaleaacaWG4bGaaiilaiaadMhaaeqaaOGaaiilaaaa@3AFC@  а формулы (18), (19) задают фазовые сдвиги между ЭИ, что решает задачу определения АФР (17).

Далее можем определить ДН решетки F(θ,φ):

  F(θ,φ)= F e (θ,φ) 1exp( N y (ik P y sinθsinφ+iΔ φ y Δ y )) 1exp(ik P y sinθsinφ+iΔ φ y Δ y ) × × 1exp( N x (ik P x sinθcosφ+iΔ φ x Δ x )) 1exp(ik P x sinθcosφ+iΔ φ x Δ x ) . MathType@MTEF@5@5@+= feaahGart1ev3aaatCvAUfeBSjuyZL2yd9gzLbvyNv2Caerbov2D09 MBdbqedmvETj2BSbqeduuDJXwAKbYu51MyVXgarqqr1ngBPrgifHhD YfgasaacHOWxh9vrFfeu0dXdh9vqqj=hEeeu0xXdbba9frFj0=OqFf ea0dXdd9vqaq=JfrVkFHe9pgea0dXdar=Jb9hs0dXdbPYxe9vr0=vr 0=vqpWqaaeaabiGaaiaadaqabeaabeqacqaaaOabaeqabaGaamOrai aacIcacqaH4oqCcaqGSaGaeqOXdOMaaiykaiabg2da9iaadAeadaWg aaWcbaGaamyzaaqabaGccaGGOaGaeqiUdeNaaeilaiabeA8aQjaacM cadaWcaaqaaiaaigdacqGHsislciGGLbGaaiiEaiaacchacaGGOaGa amOtamaaBaaaleaacaWG5baabeaakiaacIcacaWGPbGaam4Aaiaadc fadaWgaaWcbaGaamyEaaqabaGcciGGZbGaaiyAaiaac6gacqaH4oqC ciGGZbGaaiyAaiaac6gacqaHgpGAcqGHRaWkcaWGPbGaeuiLdqKaeq OXdO2aaSbaaSqaaiaadMhaaeqaaOGaeyOeI0IaeuiLdq0aaSbaaSqa aiaadMhaaeqaaOGaaiykaiaacMcaaeaacaaIXaGaeyOeI0Iaciyzai aacIhacaGGWbGaaiikaiaadMgacaWGRbGaamiuamaaBaaaleaacaWG 5baabeaakiGacohacaGGPbGaaiOBaiabeI7aXjGacohacaGGPbGaai OBaiabeA8aQjabgUcaRiaadMgacqqHuoarcqaHgpGAdaWgaaWcbaGa amyEaaqabaGccqGHsislcqqHuoardaWgaaWcbaGaamyEaaqabaGcca GGPaaaaiabgEna0cqaaiabgEna0oaalaaabaGaaGymaiabgkHiTiGa cwgacaGG4bGaaiiCaiaacIcacaWGobWaaSbaaSqaaiaadIhaaeqaaO GaaiikaiaadMgacaWGRbGaamiuamaaBaaaleaacaWG4baabeaakiGa cohacaGGPbGaaiOBaiabeI7aXjGacogacaGGVbGaai4CaiabeA8aQj abgUcaRiaadMgacqqHuoarcqaHgpGAdaWgaaWcbaGaamiEaaqabaGc cqGHsislcqqHuoardaWgaaWcbaGaamiEaaqabaGccaGGPaGaaiykaa qaaiaaigdacqGHsislciGGLbGaaiiEaiaacchacaGGOaGaamyAaiaa dUgacaWGqbWaaSbaaSqaaiaadIhaaeqaaOGaci4CaiaacMgacaGGUb GaeqiUdeNaci4yaiaac+gacaGGZbGaeqOXdOMaey4kaSIaamyAaiab fs5aejabeA8aQnaaBaaaleaacaWG4baabeaakiabgkHiTiabfs5aen aaBaaaleaacaWG4baabeaakiaacMcaaaGaaiOlaaaaaa@C2BD@

Здесь F e (θ,φ) MathType@MTEF@5@5@+= feaahGart1ev3aaatCvAUfeBSjuyZL2yd9gzLbvyNv2Caerbov2D09 MBdbqedmvETj2BSbqeduuDJXwAKbYu51MyVXgarqqr1ngBPrgifHhD YfgasaacHOWxh9vrFfeu0dXdh9vqqj=hEeeu0xXdbba9frFj0=OqFf ea0dXdd9vqaq=JfrVkFHe9pgea0dXdar=Jb9hs0dXdbPYxe9vr0=vr 0=vqpWqaaeaabiGaaiaadaqabeaabeqacqaaaOqaaiaadAeadaWgaa WcbaGaamyzaaqabaGccaGGOaGaeqiUdeNaaiilaiabeA8aQjaacMca aaa@3D6C@ — ДН ЭИ. При выводе выражения (22) использована формула суммирования геометрической прогрессии.

Далее найдем углы, определяющие положение ГЛ ДН. Диаграмма направленности ЭИ является медленно меняющейся функцией. Поэтому положение ГЛ определяется множителем направленности:

M(θ,φ)= 1exp( N y (ik P y sinθsinφ+iΔ φ y Δ y )) 1exp(ik P y sinθsinφ+iΔ φ y Δ y ) × × 1exp( N x (ik P x sinθcosθ+iΔ φ x Δ x )) 1exp(ik P x sinθcosφ+iΔ φ x Δ x ) . MathType@MTEF@5@5@+= feaahGart1ev3aaatCvAUfeBSjuyZL2yd9gzLbvyNv2Caerbov2D09 MBdbqedmvETj2BSbqeduuDJXwAKbYu51MyVXgarqqr1ngBPrgifHhD YfgasaacHOWxh9vrFfeu0dXdh9vqqj=hEeeu0xXdbba9frFj0=OqFf ea0dXdd9vqaq=JfrVkFHe9pgea0dXdar=Jb9hs0dXdbPYxe9vr0=vr 0=vqpWqaaeaabiGaaiaadaqabeaabeqacqaaaOabaeqabaGaamytai aacIcacqaH4oqCcaGGSaGaeqOXdOMaaiykaiabg2da9maalaaabaGa aGymaiabgkHiTiGacwgacaGG4bGaaiiCaiaacIcacaWGobWaaSbaaS qaaiaadMhaaeqaaOGaaiikaiaadMgacaWGRbGaamiuamaaBaaaleaa caWG5baabeaakiGacohacaGGPbGaaiOBaiabeI7aXjGacohacaGGPb GaaiOBaiabeA8aQjabgUcaRiaadMgacqqHuoarcqaHgpGAdaWgaaWc baGaamyEaaqabaGccqGHsislcqqHuoardaWgaaWcbaGaamyEaaqaba GccaGGPaGaaiykaaqaaiaaigdacqGHsislciGGLbGaaiiEaiaaccha caGGOaGaamyAaiaadUgacaWGqbWaaSbaaSqaaiaadMhaaeqaaOGaci 4CaiaacMgacaGGUbGaeqiUdeNaci4CaiaacMgacaGGUbGaeqOXdOMa ey4kaSIaamyAaiabfs5aejabeA8aQnaaBaaaleaacaWG5baabeaaki abgkHiTiabfs5aenaaBaaaleaacaWG5baabeaakiaacMcaaaGaey41 aqlabaGaey41aq7aaSaaaeaacaaIXaGaeyOeI0IaciyzaiaacIhaca GGWbGaaiikaiaad6eadaWgaaWcbaGaamiEaaqabaGccaGGOaGaamyA aiaadUgacaWGqbWaaSbaaSqaaiaadIhaaeqaaOGaci4CaiaacMgaca GGUbGaeqiUdeNaci4yaiaac+gacaGGZbGaeqiUdeNaey4kaSIaamyA aiabfs5aejabeA8aQnaaBaaaleaacaWG4baabeaakiabgkHiTiabfs 5aenaaBaaaleaacaWG4baabeaakiaacMcacaGGPaaabaGaaGymaiab gkHiTiGacwgacaGG4bGaaiiCaiaacIcacaWGPbGaam4Aaiaadcfada WgaaWcbaGaamiEaaqabaGcciGGZbGaaiyAaiaac6gacqaH4oqCciGG JbGaai4BaiaacohacqaHgpGAcqGHRaWkcaWGPbGaeuiLdqKaeqOXdO 2aaSbaaSqaaiaadIhaaeqaaOGaeyOeI0IaeuiLdq0aaSbaaSqaaiaa dIhaaeqaaOGaaiykaaaacaGGUaaaaaa@BB58@  (23)

Максимумы функции M(θ,φ) находим из решения следующей системы уравнений:

k P y sinθsinφ=Δ φ y +2πp, MathType@MTEF@5@5@+= feaahGart1ev3aaatCvAUfeBSjuyZL2yd9gzLbvyNv2Caerbov2D09 MBdbqedmvETj2BSbqeduuDJXwAKbYu51MyVXgarqqr1ngBPrgifHhD YfgasaacHOWxh9vrFfeu0dXdh9vqqj=hEeeu0xXdbba9frFj0=OqFf ea0dXdd9vqaq=JfrVkFHe9pgea0dXdar=Jb9hs0dXdbPYxe9vr0=vr 0=vqpWqaaeaabiGaaiaadaqabeaabeqacqaaaOqaaiaadUgacaWGqb WaaSbaaSqaaiaadMhaaeqaaOGaci4CaiaacMgacaGGUbGaeqiUdeNa ci4CaiaacMgacaGGUbGaeqOXdOMaeyypa0JaeyOeI0IaeuiLdqKaeq OXdO2aaSbaaSqaaiaadMhaaeqaaOGaey4kaSIaaGOmaiabec8aWjaa dchacaGGSaaaaa@4D6B@

k P x sinθcosφ=Δ φ x +2πq, MathType@MTEF@5@5@+= feaahGart1ev3aaatCvAUfeBSjuyZL2yd9gzLbvyNv2Caerbov2D09 MBdbqedmvETj2BSbqeduuDJXwAKbYu51MyVXgarqqr1ngBPrgifHhD YfgasaacHOWxh9vrFfeu0dXdh9vqqj=hEeeu0xXdbba9frFj0=OqFf ea0dXdd9vqaq=JfrVkFHe9pgea0dXdar=Jb9hs0dXdbPYxe9vr0=vr 0=vqpWqaaeaabiGaaiaadaqabeaabeqacqaaaOqaaiaadUgacaWGqb WaaSbaaSqaaiaadIhaaeqaaOGaci4CaiaacMgacaGGUbGaeqiUdeNa ci4yaiaac+gacaGGZbGaeqOXdOMaeyypa0JaeyOeI0IaeuiLdqKaeq OXdO2aaSbaaSqaaiaadIhaaeqaaOGaey4kaSIaaGOmaiabec8aWjaa dghacaGGSaaaaa@4D65@  (24)

p,q=...1,0,1,... MathType@MTEF@5@5@+= feaahGart1ev3aqatCvAUfeBSjuyZL2yd9gzLbvyNv2Caerbov2D09 MBdbqedmvETj2BSbqeduuDJXwAKbYu51MyVXgarqqr1ngBPrgifHhD YfgasaacHOWxh9vrFfeu0dXdh9vqqj=hEeeu0xXdbba9frFj0=OqFf ea0dXdd9vqaq=JfrVkFHe9pgea0dXdar=Jb9hs0dXdbPYxe9vr0=vr 0=vqpWqaaeaabiGaaiaadaqabeaabeqacqaaaOqaaiaadchacaGGSa GaamyCaiabg2da9iaac6cacaGGUaGaaiOlaiabgkHiTiaaigdacaGG SaGaaGimaiaacYcacaaIXaGaaiilaiaac6cacaGGUaGaaiOlaaaa@4300@ .

Из системы (24) видно, что ДН может иметь несколько максимумов, соответствующих разным значениям p, q. Отметим, что, как правило, период  P y <λ/2, MathType@MTEF@5@5@+= feaahGart1ev3aaatCvAUfeBSjuyZL2yd9gzLbvyNv2Caerbov2D09 MBdbqedmvETj2BSbqeduuDJXwAKbYu51MyVXgarqqr1ngBPrgifHhD YfgasaacHOWxh9vrFfeu0dXdh9vqqj=hEeeu0xXdbba9frFj0=OqFf ea0dXdd9vqaq=JfrVkFHe9pgea0dXdar=Jb9hs0dXdbPYxe9vr0=vr 0=vqpWqaaeaabiGaaiaadaqabeaabeqacqaaaOqaaiaadcfadaWgaa WcbaGaamyEaaqabaGccqGH8aapcqaH7oaBcaGGVaGaaGOmaiaacYca aaa@3CE5@ поэтому в область видимых углов попадает только решение с p = 0. При этом период  P x MathType@MTEF@5@5@+= feaahGart1ev3aqatCvAUfeBSjuyZL2yd9gzLbvyNv2Caerbov2D09 MBdbqedmvETj2BSbqeduuDJXwAKbYu51MyVXgarqqr1ngBPrgifHhD YfgasaacHOWxh9vrFfeu0dXdh9vqqj=hEeeu0xXdbba9frFj0=OqFf ea0dXdd9vqaq=JfrVkFHe9pgea0dXdar=Jb9hs0dXdbPYxe9vr0=vr 0=vqpWqaaeaabiGaaiaadaqabeaabeqacqaaaOqaaiaadcfadaWgaa WcbaGaamiEaaqabaaaaa@3804@ может быть больше половины длины волны. По этой причине параметр q может принимать значения q = –1, 0, 1, соответствующие разным максимумам ДН. Основной максимум имеет место при q = 0.

Запишем решение системы (24)

θ mq =arcsin Δ φ y / P y 2 + Δ φ x 2πq / P x 2 k MathType@MTEF@5@5@+= feaahGart1ev3aaatCvAUfeBSjuyZL2yd9gzLbvyNv2Caerbov2D09 MBdbqedmvETj2BSbqeduuDJXwAKbYu51MyVXgarqqr1ngBPrgifHhD YfgasaacHOWxh9vrFfeu0dXdh9vqqj=hEeeu0xXdbba9frFj0=OqFf ea0dXdd9vqaq=JfrVkFHe9pgea0dXdar=Jb9hs0dXdbPYxe9vr0=vr 0=vqpWqaaeaabiGaaiaadaqabeaabeqacqaaaOqaaiabeI7aXnaaBa aaleaacaWGTbGaamyCaaqabaGccqGH9aqpciGGHbGaaiOCaiaacoga caGGZbGaaiyAaiaac6gadaGcaaqaamaalaaabaWaaeWaaeaacqqHuo arcqaHgpGAdaWgaaWcbaGaamyEaaqabaGccaGGVaGaamiuamaaBaaa leaacaWG5baabeaaaOGaayjkaiaawMcaamaaCaaaleqabaGaaGOmaa aakiabgUcaRmaabmaabaWaaeWaaeaacqqHuoarcqaHgpGAdaWgaaWc baGaamiEaaqabaGccqGHsislcaaIYaGaeqiWdaNaamyCaaGaayjkai aawMcaaiaac+cacaWGqbWaaSbaaSqaaiaadIhaaeqaaaGccaGLOaGa ayzkaaWaaWbaaSqabeaacaaIYaaaaaGcbaGaam4AaaaaaSqabaaaaa@5B77@ , (25)

φ mq = arctg 2 Δ φ x +2πq / P x ,Δ φ y / P y MathType@MTEF@5@5@+= feaahGart1ev3aaatCvAUfeBSjuyZL2yd9gzLbvyNv2Caerbov2D09 MBdbqedmvETj2BSbqeduuDJXwAKbYu51MyVXgarqqr1ngBPrgifHhD YfgasaacHOWxh9vrFfeu0dXdh9vqqj=hEeeu0xXdbba9frFj0=OqFf ea0dXdd9vqaq=JfrVkFHe9pgea0dXdar=Jb9hs0dXdbPYxe9vr0=vr 0=vqpWqaaeaabiGaaiaadaqabeaabeqacqaaaOqaaiabeA8aQnaaBa aaleaacaWGTbGaamyCaaqabaGccqGH9aqpcaqGGaGaaeyyaiaabkha caqGJbGaaeiDaiaabEgadaWadiqaaiaabkdadaqadaqaamaabmaaba GaeyOeI0IaeuiLdqKaeqOXdO2aaSbaaSqaaiaadIhaaeqaaOGaey4k aSIaaGOmaiabec8aWjaadghaaiaawIcacaGLPaaacaGGVaGaamiuam aaBaaaleaacaWG4baabeaakiaacYcacqqHuoarcqaHgpGAdaWgaaWc baGaamyEaaqabaGccaGGVaGaamiuamaaBaaaleaacaWG5baabeaaaO GaayjkaiaawMcaaaGaay5waiaaw2faaaaa@59F6@ .

На рис. 4а,4б представлены типичные зависимости углов θ mq MathType@MTEF@5@5@+= feaahGart1ev3aqatCvAUfeBSjuyZL2yd9gzLbvyNv2Caerbov2D09 MBdbqedmvETj2BSbqeduuDJXwAKbYu51MyVXgarqqr1ngBPrgifHhD YfgasaacHOWxh9vrFfeu0dXdh9vqqj=hEeeu0xXdbba9frFj0=OqFf ea0dXdd9vqaq=JfrVkFHe9pgea0dXdar=Jb9hs0dXdbPYxe9vr0=vr 0=vqpWqaaeaabiGaaiaadaqabeaabeqacqaaaOqaaiabeI7aXnaaBa aaleaacaWGTbGaamyCaaqabaaaaa@39D0@  и φ m0 MathType@MTEF@5@5@+= feaahGart1ev3aaatCvAUfeBSjuyZL2yd9gzLbvyNv2Caerbov2D09 MBdbqedmvETj2BSbqeduuDJXwAKbYu51MyVXgarqqr1ngBPrgifHhD YfgasaacHOWxh9vrFfeu0dXdh9vqqj=hEeeu0xXdbba9frFj0=OqFf ea0dXdd9vqaq=JfrVkFHe9pgea0dXdar=Jb9hs0dXdbPYxe9vr0=vr 0=vqpWqaaeaabiGaaiaadaqabeaabeqacqaaaOqaaiabeA8aQnaaBa aaleaacaWGTbGaaGimaaqabaaaaa@399A@  от частоты, полученные для a = 23, Py = 10, Px = 24. Все размеры здесь и далее приведены в миллиметрах.

Из рис. 4а хорошо видно существование узких зон, в которых каждой частоте соответствуют два угла θ mq . MathType@MTEF@5@5@+= feaahGart1ev3aqatCvAUfeBSjuyZL2yd9gzLbvyNv2Caerbov2D09 MBdbqedmvETj2BSbqeduuDJXwAKbYu51MyVXgarqqr1ngBPrgifHhD YfgasaacHOWxh9vrFfeu0dXdh9vqqj=hEeeu0xXdbba9frFj0=OqFf ea0dXdd9vqaq=JfrVkFHe9pgea0dXdar=Jb9hs0dXdbPYxe9vr0=vr 0=vqpWqaaeaabiGaaiaadaqabeaabeqacqaaaOqaaiabeI7aXnaaBa aaleaacaWGTbGaamyCaaqabaGccaGGUaaaaa@3A8C@  Отсюда можем сделать вывод, что эти зоны не являются рабочими, так как в них ДН имеет два главных максимума. Они должны быть исключены из сканирования. Критерием исключения служат условия

Im θ m±1 =0. MathType@MTEF@5@5@+= feaahGart1ev3aqatCvAUfeBSjuyZL2yd9gzLbvyNv2Caerbov2D09 MBdbqedmvETj2BSbqeduuDJXwAKbYu51MyVXgarqqr1ngBPrgifHhD YfgasaacHOWxh9vrFfeu0dXdh9vqqj=hEeeu0xXdbba9frFj0=OqFf ea0dXdd9vqaq=JfrVkFHe9pgea0dXdar=Jb9hs0dXdbPYxe9vr0=vr 0=vqpWqaaeaabiGaaiaadaqabeaabeqacqaaaOqaaiGacMeacaGGTb GaeqiUde3aaSbaaSqaaiaad2gacqGHXcqScaaIXaaabeaakiabg2da 9iaaicdacaGGUaaaaa@3FBF@  (26)

 

Рис. 4. Частотная зависимость угла места (а) и азимутального угла (б).

 

На рис. 5 представлена зависимость угла θ m0 MathType@MTEF@5@5@+= feaahGart1ev3aqatCvAUfeBSjuyZL2yd9gzLbvyNv2Caerbov2D09 MBdbqedmvETj2BSbqeduuDJXwAKbYu51MyVXgarqqr1ngBPrgifHhD YfgasaacHOWxh9vrFfeu0dXdh9vqqj=hEeeu0xXdbba9frFj0=OqFf ea0dXdd9vqaq=JfrVkFHe9pgea0dXdar=Jb9hs0dXdbPYxe9vr0=vr 0=vqpWqaaeaabiGaaiaadaqabeaabeqacqaaaOqaaiabeI7aXnaaBa aaleaacaWGTbGaaGimaaqabaaaaa@3994@  от частоты после исключения указанных выше участков частотного диапазона. Видно, что в однолучевом режиме имеем последовательность изолированных поддиапазонов, в которых ГЛ движется по достаточно сложной траектории.

 

Рис. 5. Частотная зависимость угла места после исключения двухлучевых участков.

 

Наглядное представление о движении ГЛ дает диаграмма сканирования в полярных координатах на рис. 6. По азимуту в ней отложен угол φ m0 , MathType@MTEF@5@5@+= feaahGart1ev3aaatCvAUfeBSjuyZL2yd9gzLbvyNv2Caerbov2D09 MBdbqedmvETj2BSbqeduuDJXwAKbYu51MyVXgarqqr1ngBPrgifHhD YfgasaacHOWxh9vrFfeu0dXdh9vqqj=hEeeu0xXdbba9frFj0=OqFf ea0dXdd9vqaq=JfrVkFHe9pgea0dXdar=Jb9hs0dXdbPYxe9vr0=vr 0=vqpWqaaeaabiGaaiaadaqabeaabeqacqaaaOqaaiabeA8aQnaaBa aaleaacaWGTbGaaGimaaqabaGccaGGSaaaaa@3A54@ а по радиусу угол  θ m0 . MathType@MTEF@5@5@+= feaahGart1ev3aqatCvAUfeBSjuyZL2yd9gzLbvyNv2Caerbov2D09 MBdbqedmvETj2BSbqeduuDJXwAKbYu51MyVXgarqqr1ngBPrgifHhD YfgasaacHOWxh9vrFfeu0dXdh9vqqj=hEeeu0xXdbba9frFj0=OqFf ea0dXdd9vqaq=JfrVkFHe9pgea0dXdar=Jb9hs0dXdbPYxe9vr0=vr 0=vqpWqaaeaabiGaaiaadaqabeaabeqacqaaaOqaaiabeI7aXnaaBa aaleaacaWGTbGaaGimaaqabaGccaGGUaaaaa@3A50@  Диаграмма позволяет оценить размеры сектора сканирования по углу места и азимуту.

 

Рис. 6. Диаграмма сканирования АРПВ.

 

Движение вдоль кривых на рис. 6 — от нижней к верхней — соответствует увеличению частоты от минимальной до максимальной. При этом в пределах каждой кривой луч движется слева направо. Следует отметить, что на практике сектор сканирования необходимо уменьшить, так как рост угла места сопровождается заметным снижением КУ антенны. При θm0 > 60° потери КУ превышают 3 дБ.

Далее получим соотношения для КУ АРПВ с двумерным ЧС. Отметим, что в однолучевом режиме характеристики решетки с дискретными ЭИ слабо отличаются от характеристик апертурной антенны с непрерывным распределением источников [14]. При оценке коэффициента направленного действия решетки (КНД) важным фактором является КНД элементарного излучателя. Достоверно оценить его достаточно сложно. Использование элементарной теории решеток без учета взаимодействия ЭИ может привести к существенным погрешностям. При этом теория апертурных антенн позволяет, исходя из соотношений для КНД идеального плоского раскрыва [14], получить простые и более надежные результаты.

Опуская подробности математических преобразований, приведем соотношение для КУ:

G= G 0 K a cos θ m η F n 2 (θ,φ) MathType@MTEF@5@5@+= feaahGart1ev3aaatCvAUfeBSjuyZL2yd9gzLbvyNv2Caerbov2D09 MBdbqedmvETj2BSbqeduuDJXwAKbYu51MyVXgarqqr1ngBPrgifHhD YfgasaacHOWxh9vrFfeu0dXdh9vqqj=hEeeu0xXdbba9frFj0=OqFf ea0dXdd9vqaq=JfrVkFHe9pgea0dXdar=Jb9hs0dXdbPYxe9vr0=vr 0=vqpWqaaeaabiGaaiaadaqabeaabeqacqaaaOqaaiaadEeacqGH9a qpcaWGhbWaaSbaaSqaaiaaicdaaeqaaOGaam4samaaBaaaleaacaWG HbaabeaakiGacogacaGGVbGaai4CaiabeI7aXnaaBaaaleaacaWGTb aabeaakiabeE7aOjaadAeadaqhaaWcbaGaamOBaaqaaiaaikdaaaGc caGGOaGaeqiUdeNaaiilaiabeA8aQjaacMcaaaa@4B09@ , (26)

K a =4 1exp( Δ y N y ) 1exp( Δ x N x ) 2 1exp(2 Δ y N y ) 1exp(2 Δ x N x ) 1 Δ x Δ y N x N y , MathType@MTEF@5@5@+= feaahGart1ev3aaatCvAUfeBSjuyZL2yd9gzLbvyNv2Caerbov2D09 MBdbqedmvETj2BSbqeduuDJXwAKbYu51MyVXgarqqr1ngBPrgifHhD YfgasaacHOWxh9vrFfeu0dXdh9vqqj=hEeeu0xXdbba9frFj0=OqFf ea0dXdd9vqaq=JfrVkFHe9pgea0dXdar=Jb9hs0dXdbPYxe9vr0=vr 0=vqpWqaaeaabiGaaiaadaqabeaabeqacqaaaOqaaiaadUeadaWgaa WcbaGaamyyaaqabaGccqGH9aqpcaaI0aWaaSaaaeaadaqadaqaamaa bmaabaGaaGymaiabgkHiTiGacwgacaGG4bGaaiiCaiaacIcacqGHsi slcqqHuoardaWgaaWcbaGaamyEaaqabaGccaWGobWaaSbaaSqaaiaa dMhaaeqaaOGaaiykaaGaayjkaiaawMcaamaabmaabaGaaGymaiabgk HiTiGacwgacaGG4bGaaiiCaiaacIcacqGHsislcqqHuoardaWgaaWc baGaamiEaaqabaGccaWGobWaaSbaaSqaaiaadIhaaeqaaOGaaiykaa GaayjkaiaawMcaaaGaayjkaiaawMcaamaaCaaaleqabaGaaGOmaaaa aOqaamaabmaabaWaaeWaaeaacaaIXaGaeyOeI0IaciyzaiaacIhaca GGWbGaaiikaiabgkHiTiaaikdacqqHuoardaWgaaWcbaGaamyEaaqa baGccaWGobWaaSbaaSqaaiaadMhaaeqaaOGaaiykaaGaayjkaiaawM caamaabmaabaGaaGymaiabgkHiTiGacwgacaGG4bGaaiiCaiaacIca cqGHsislcaaIYaGaeuiLdq0aaSbaaSqaaiaadIhaaeqaaOGaamOtam aaBaaaleaacaWG4baabeaakiaacMcaaiaawIcacaGLPaaaaiaawIca caGLPaaaaaWaaSaaaeaacaaIXaaabaGaeuiLdq0aaSbaaSqaaiaadI haaeqaaOGaeuiLdq0aaSbaaSqaaiaadMhaaeqaaOGaamOtamaaBaaa leaacaWG4baabeaakiaad6eadaWgaaWcbaGaamyEaaqabaaaaOGaai ilaaaa@7DC5@

G 0 = 4π N x N y P x P y λ 2 MathType@MTEF@5@5@+= feaahGart1ev3aaatCvAUfeBSjuyZL2yd9gzLbvyNv2Caerbov2D09 MBdbqedmvETj2BSbqeduuDJXwAKbYu51MyVXgarqqr1ngBPrgifHhD YfgasaacHOWxh9vrFfeu0dXdh9vqqj=hEeeu0xXdbba9frFj0=OqFf ea0dXdd9vqaq=JfrVkFHe9pgea0dXdar=Jb9hs0dXdbPYxe9vr0=vr 0=vqpWqaaeaabiGaaiaadaqabeaabeqacqaaaOqaaiaadEeadaWgaa WcbaGaaGimaaqabaGccqGH9aqpdaWcaaqaaiaaisdacqaHapaCcaWG obWaaSbaaSqaaiaadIhaaeqaaOGaamOtamaaBaaaleaacaWG5baabe aakiaadcfadaWgaaWcbaGaamiEaaqabaGccaWGqbWaaSbaaSqaaiaa dMhaaeqaaaGcbaGaeq4UdW2aaWbaaSqabeaacaaIYaaaaaaaaaa@460D@ ,

где G 0 MathType@MTEF@5@5@+= feaahGart1ev3aqatCvAUfeBSjuyZL2yd9gzLbvyNv2Caerbov2D09 MBdbqedmvETj2BSbqeduuDJXwAKbYu51MyVXgarqqr1ngBPrgifHhD YfgasaacHOWxh9vrFfeu0dXdh9vqqj=hEeeu0xXdbba9frFj0=OqFf ea0dXdd9vqaq=JfrVkFHe9pgea0dXdar=Jb9hs0dXdbPYxe9vr0=vr 0=vqpWqaaeaabiGaaiaadaqabeaabeqacqaaaOqaaiaadEeadaWgaa WcbaGaaGimaaqabaaaaa@37B8@   MathType@MTEF@5@5@+= feaahGart1ev3aqatCvAUfeBSjuyZL2yd9gzLbvyNv2CaerbuLwBLn hiov2DGi1BTfMBaeXatLxBI9gBaerbd9wDYLwzYbItLDharqqtubsr 4rNCHbGeaGqiVu0Je9sqqrpepC0xbbL8F4rqqrFfpeea0xe9Lq=Jc9 vqaqpepm0xbba9pwe9Q8fs0=yqaqpepae9pg0FirpepeKkFr0xfr=x fr=xb9adbaqaaeGaciGaaiaabeqaamaabaabaaGcbaqef4uz3r3BUb acfaqcLbvaqaaaaaaaaaWdbiaa=rbiaaa@3A2A@  КНД идеального плоского раскрыва, K a MathType@MTEF@5@5@+= feaahGart1ev3aqatCvAUfeBSjuyZL2yd9gzLbvyNv2Caerbov2D09 MBdbqedmvETj2BSbqeduuDJXwAKbYu51MyVXgarqqr1ngBPrgifHhD YfgasaacHOWxh9vrFfeu0dXdh9vqqj=hEeeu0xXdbba9frFj0=OqFf ea0dXdd9vqaq=JfrVkFHe9pgea0dXdar=Jb9hs0dXdbPYxe9vr0=vr 0=vqpWqaaeaabiGaaiaadaqabeaabeqacqaaaOqaaiaadUeadaWgaa WcbaGaamyyaaqabaaaaa@37E8@   MathType@MTEF@5@5@+= feaahGart1ev3aqatCvAUfeBSjuyZL2yd9gzLbvyNv2CaerbuLwBLn hiov2DGi1BTfMBaeXatLxBI9gBaerbd9wDYLwzYbItLDharqqtubsr 4rNCHbGeaGqiVu0Je9sqqrpepC0xbbL8F4rqqrFfpeea0xe9Lq=Jc9 vqaqpepm0xbba9pwe9Q8fs0=yqaqpepae9pg0FirpepeKkFr0xfr=x fr=xb9adbaqaaeGaciGaaiaabeqaamaabaabaaGcbaqef4uz3r3BUb acfaqcLbvaqaaaaaaaaaWdbiaa=rbiaaa@3A2A@  апертурный коэффициент использования поверхности (КИП), учитывающий отличие амплитудного распределения от равномерного, η MathType@MTEF@5@5@+= feaahGart1ev3aqatCvAUfeBSjuyZL2yd9gzLbvyNv2CaerbuLwBLn hiov2DGi1BTfMBaeXatLxBI9gBaerbd9wDYLwzYbItLDharqqtubsr 4rNCHbGeaGqiVu0Je9sqqrpepC0xbbL8F4rqqrFfpeea0xe9Lq=Jc9 vqaqpepm0xbba9pwe9Q8fs0=yqaqpepae9pg0FirpepeKkFr0xfr=x fr=xb9adbaqaaeGaciGaaiaabeqaamaabaabaaGcbaqef4uz3r3BUb acfaqcLbvaqaaaaaaaaaWdbiaa=rbiaaa@3A2A@  КПД антенны, F n MathType@MTEF@5@5@+= feaahGart1ev3aqatCvAUfeBSjuyZL2yd9gzLbvyNv2Caerbov2D09 MBdbqedmvETj2BSbqeduuDJXwAKbYu51MyVXgarqqr1ngBPrgifHhD YfgasaacHOWxh9vrFfeu0dXdh9vqqj=hEeeu0xXdbba9frFj0=OqFf ea0dXdd9vqaq=JfrVkFHe9pgea0dXdar=Jb9hs0dXdbPYxe9vr0=vr 0=vqpWqaaeaabiGaaiaadaqabeaabeqacqaaaOqaaiaadAeadaWgaa WcbaGaamOBaaqabaaaaa@37F0@   MathType@MTEF@5@5@+= feaahGart1ev3aqatCvAUfeBSjuyZL2yd9gzLbvyNv2CaerbuLwBLn hiov2DGi1BTfMBaeXatLxBI9gBaerbd9wDYLwzYbItLDharqqtubsr 4rNCHbGeaGqiVu0Je9sqqrpepC0xbbL8F4rqqrFfpeea0xe9Lq=Jc9 vqaqpepm0xbba9pwe9Q8fs0=yqaqpepae9pg0FirpepeKkFr0xfr=x fr=xb9adbaqaaeGaciGaaiaabeqaamaabaabaaGcbaqef4uz3r3BUb acfaqcLbvaqaaaaaaaaaWdbiaa=rbiaaa@3A2A@  нормированная на максимальное значение амплитудная ДН.

Под КПД антенны понимаем отношение излученной в свободное пространство мощности к мощности на входе антенны. Пусть антенна возбуждается источником единичной мощности. Тогда полная мощность потерь  P rd = P r + P d , MathType@MTEF@5@5@+= feaahGart1ev3aqatCvAUfeBSjuyZL2yd9gzLbvyNv2Caerbov2D09 MBdbqedmvETj2BSbqeduuDJXwAKbYu51MyVXgarqqr1ngBPrgifHhD YfgasaacHOWxh9vrFfeu0dXdh9vqqj=hEeeu0xXdbba9frFj0=OqFf ea0dXdd9vqaq=JfrVkFHe9pgea0dXdar=Jb9hs0dXdbPYxe9vr0=vr 0=vqpWqaaeaabiGaaiaadaqabeaabeqacqaaaOqaaiaadcfadaWgaa WcbaGaamOCaiaadsgaaeqaaOGaeyypa0JaamiuamaaBaaaleaacaWG YbaabeaakiabgUcaRiaadcfadaWgaaWcbaGaamizaaqabaGccaGGSa aaaa@3F7F@ включающая как потери на излучение, так и диссипативные потери, может быть найдена из матрицы рассеяния S a : MathType@MTEF@5@5@+= feaahGart1ev3aaatCvAUfeBSjuyZL2yd9gzLbvyNv2Caerbov2D09 MBdbqedmvETj2BSbqeduuDJXwAKbYu51MyVXgarqqr1ngBPrgifHhD YfgasaacHOWxh9vrFfeu0dXdh9vqqj=hEeeu0xXdbba9frFj0=OqFf ea0dXdd9vqaq=JfrVkFHe9pgea0dXdar=Jb9hs0dXdbPYxe9vr0=vr 0=vqpWqaaeaabiGaaiaadaqabeaabeqacqaaaOqaaiaahofadaWgaa WcbaGaamyyaaqabaGccaaMi8UaaiOoaaaa@3A4C@

P rd =1 S a11 2 S a12 2 MathType@MTEF@5@5@+= feaahGart1ev3aqatCvAUfeBSjuyZL2yd9gzLbvyNv2Caerbov2D09 MBdbqedmvETj2BSbqeduuDJXwAKbYu51MyVXgarqqr1ngBPrgifHhD YfgasaacHOWxh9vrFfeu0dXdh9vqqj=hEeeu0xXdbba9frFj0=OqFf ea0dXdd9vqaq=JfrVkFHe9pgea0dXdar=Jb9hs0dXdbPYxe9vr0=vr 0=vqpWqaaeaabiGaaiaadaqabeaabeqacqaaaOqaaiaadcfadaWgaa WcbaGaamOCaiaadsgaaeqaaOGaeyypa0JaaGymaiabgkHiTmaaemaa baGaam4uamaaBaaaleaacaWGHbGaaGymaiaaigdaaeqaaaGccaGLhW UaayjcSdWaaWbaaSqabeaacaaIYaaaaOGaeyOeI0YaaqWaaeaacaWG tbWaaSbaaSqaaiaadggacaaIXaGaaGOmaaqabaaakiaawEa7caGLiW oadaahaaWcbeqaaiaaikdaaaaaaa@4B81@ . (27)

Диссипативные потери в АРПВ обусловлены затуханием волны в ЛП. Приближенно их мощность P d MathType@MTEF@5@5@+= feaahGart1ev3aqatCvAUfeBSjuyZL2yd9gzLbvyNv2Caerbov2D09 MBdbqedmvETj2BSbqeduuDJXwAKbYu51MyVXgarqqr1ngBPrgifHhD YfgasaacHOWxh9vrFfeu0dXdh9vqqj=hEeeu0xXdbba9frFj0=OqFf ea0dXdd9vqaq=JfrVkFHe9pgea0dXdar=Jb9hs0dXdbPYxe9vr0=vr 0=vqpWqaaeaabiGaaiaadaqabeaabeqacqaaaOqaaiaadcfadaWgaa WcbaGaamizaaqabaaaaa@37F0@  может быть выражена следующим образом:

P d =1exp(4 α t L w N x ) MathType@MTEF@5@5@+= feaahGart1ev3aaatCvAUfeBSjuyZL2yd9gzLbvyNv2Caerbov2D09 MBdbqedmvETj2BSbqeduuDJXwAKbYu51MyVXgarqqr1ngBPrgifHhD YfgasaacHOWxh9vrFfeu0dXdh9vqqj=hEeeu0xXdbba9frFj0=OqFf ea0dXdd9vqaq=JfrVkFHe9pgea0dXdar=Jb9hs0dXdbPYxe9vr0=vr 0=vqpWqaaeaabiGaaiaadaqabeaabeqacqaaaOqaaiaadcfadaWgaa WcbaGaamizaaqabaGccqGH9aqpcaaIXaGaeyOeI0IaciyzaiaacIha caGGWbGaaiikaiabgkHiTiaaisdacqaHXoqydaWgaaWcbaGaamiDaa qabaGccaWGmbWaaSbaaSqaaiaadEhaaeqaaOGaamOtamaaBaaaleaa caWG4baabeaakiaacMcaaaa@475D@ . (28)

Отсюда получаем

η=exp(4 α t L w N x ) S a11 2 S a12 2 MathType@MTEF@5@5@+= feaahGart1ev3aaatCvAUfeBSjuyZL2yd9gzLbvyNv2Caerbov2D09 MBdbqedmvETj2BSbqeduuDJXwAKbYu51MyVXgarqqr1ngBPrgifHhD YfgasaacHOWxh9vrFfeu0dXdh9vqqj=hEeeu0xXdbba9frFj0=OqFf ea0dXdd9vqaq=JfrVkFHe9pgea0dXdar=Jb9hs0dXdbPYxe9vr0=vr 0=vqpWqaaeaabiGaaiaadaqabeaabeqacqaaaOqaaiabeE7aOjabg2 da9iGacwgacaGG4bGaaiiCaiaacIcacqGHsislcaaI0aGaeqySde2a aSbaaSqaaiaadshaaeqaaOGaamitamaaBaaaleaacaWG3baabeaaki aad6eadaWgaaWcbaGaamiEaaqabaGccaGGPaGaeyOeI0YaaqWaaeaa caWGtbWaaSbaaSqaaiaadggacaaIXaGaaGymaaqabaaakiaawEa7ca GLiWoadaahaaWcbeqaaiaaikdaaaGccqGHsisldaabdaqaaiaadofa daWgaaWcbaGaamyyaiaaigdacaaIYaaabeaaaOGaay5bSlaawIa7am aaCaaaleqabaGaaGOmaaaaaaa@563C@ . (29)

Таким образом, полностью определена КУ АРПВ с двумерным ЧС и можно перейти к анализу сигнала (6).

5. ЧИСЛЕННЫЕ РЕЗУЛЬТАТЫ

На рис. 7а, 7б показаны частотные зависимости модулей коэффициентов отражения  S a11 MathType@MTEF@5@5@+= feaahGart1ev3aqatCvAUfeBSjuyZL2yd9gzLbvyNv2Caerbov2D09 MBdbqedmvETj2BSbqeduuDJXwAKbYu51MyVXgarqqr1ngBPrgifHhD YfgasaacHOWxh9vrFfeu0dXdh9vqqj=hEeeu0xXdbba9frFj0=OqFf ea0dXdd9vqaq=JfrVkFHe9pgea0dXdar=Jb9hs0dXdbPYxe9vr0=vr 0=vqpWqaaeaabiGaaiaadaqabeaabeqacqaaaOqaaiaadofadaWgaa WcbaGaamyyaiaaigdacaaIXaaabeaaaaa@3966@ и передачи S a12 MathType@MTEF@5@5@+= feaahGart1ev3aqatCvAUfeBSjuyZL2yd9gzLbvyNv2Caerbov2D09 MBdbqedmvETj2BSbqeduuDJXwAKbYu51MyVXgarqqr1ngBPrgifHhD YfgasaacHOWxh9vrFfeu0dXdh9vqqj=hEeeu0xXdbba9frFj0=OqFf ea0dXdd9vqaq=JfrVkFHe9pgea0dXdar=Jb9hs0dXdbPYxe9vr0=vr 0=vqpWqaaeaabiGaaiaadaqabeaabeqacqaaaOqaaiaadofadaWgaa WcbaGaamyyaiaaigdacaaIYaaabeaaaaa@3967@  АРПВ, рассчитанные для следующих параметров решетки: a= 23, Py = 10, Px = 24, Ny = 50, Nx = 24, ε = 1, αt = 0.1 дБ/м, а также параметров ЭИ: Q = 10, gs = 0.1, fр = 12 ГГц. Параметры поворота Rm 0.05 и 0.025.

 

Рис. 7. Частотные зависимости коэффициентов отражения (1) и передачи (2) АРПВ при Rm = 0.05 (а) и Rm = 0.025 (б).

 

Видно, что с ростом частоты коэффициент передачи падает. Его изменения приводят к изменениям амплитудного распределения поля, в первую очередь вдоль оси 0х, и, следовательно, к изменениям КИП (26).

Причины частотной зависимости коэффициента передачи связаны с резонансным характером ЭИ и поведением характеристического сопротивления волновода. Избавиться от нее при использовании конструктивно простых щелей затруднительно. Известно [1], что в АРПВ с экспоненциальным распределением существует оптимальное затухание поля на длине решетки, близкое к 12 дБ. С учетом отмеченной выше частотной зависимости следует добиваться оптимального затухания в центре частотного диапазона, который в данном примере занимает полосу частот 6.8…8.8 ГГц.

Обращает на себя внимание последовательность резких всплесков коэффициента отражения, которые сопровождаются провалами коэффициента передачи. Их появление обусловлено типичным для АРПВ эффектом нормали. Отметим, что положение всплесков на оси частот совпадает с излучением под углом  φ m =π/2 MathType@MTEF@5@5@+= feaahGart1ev3aaatCvAUfeBSjuyZL2yd9gzLbvyNv2Caerbov2D09 MBdbqedmvETj2BSbqeduuDJXwAKbYu51MyVXgarqqr1ngBPrgifHhD YfgasaacHOWxh9vrFfeu0dXdh9vqqj=hEeeu0xXdbba9frFj0=OqFf ea0dXdd9vqaq=JfrVkFHe9pgea0dXdar=Jb9hs0dXdbPYxe9vr0=vr 0=vqpWqaaeaabiGaaiaadaqabeaabeqacqaaaOqaaiabeA8aQnaaBa aaleaacaWGTbaabeaakiabg2da9iabec8aWjaac+cacaaIYaaaaa@3D1C@ , т. е. с центром сектора сканирования. Основным фактором, определяющим амплитуду всплесков, является согласование поворота на 180°, уровень которого задает параметр  R m MathType@MTEF@5@5@+= feaahGart1ev3aqatCvAUfeBSjuyZL2yd9gzLbvyNv2Caerbov2D09 MBdbqedmvETj2BSbqeduuDJXwAKbYu51MyVXgarqqr1ngBPrgifHhD YfgasaacHOWxh9vrFfeu0dXdh9vqqj=hEeeu0xXdbba9frFj0=OqFf ea0dXdd9vqaq=JfrVkFHe9pgea0dXdar=Jb9hs0dXdbPYxe9vr0=vr 0=vqpWqaaeaabiGaaiaadaqabeaabeqacqaaaOqaaiaadkfadaWgaa WcbaGaamyBaaqabaaaaa@37FB@ . Для того, чтобы коэффициент отражения был меньше –10 дБ, необходимо согласовать повороты до уровня, близкого к –30 дБ, что является сложной технической задачей.

Другим способом снижения влияния эффекта нормали служит применение в подрешетках и линиях связи волноводов с разными постоянными распространения γ1,2. На рис. 8 показана частотная зависимость коэффициента отражения, полученная при R m =0.05, MathType@MTEF@5@5@+= feaahGart1ev3aqatCvAUfeBSjuyZL2yd9gzLbvyNv2Caerbov2D09 MBdbqedmvETj2BSbqeduuDJXwAKbYu51MyVXgarqqr1ngBPrgifHhD YfgasaacHOWxh9vrFfeu0dXdh9vqqj=hEeeu0xXdbba9frFj0=OqFf ea0dXdd9vqaq=JfrVkFHe9pgea0dXdar=Jb9hs0dXdbPYxe9vr0=vr 0=vqpWqaaeaabiGaaiaadaqabeaabeqacqaaaOqaaiaadkfadaWgaa WcbaGaamyBaaqabaGccqGH9aqpcaaIWaGaaiOlaiaaicdacaaI1aGa aiilaaaa@3CA0@  когда волноводы подрешеток имеют воздушное заполнение, а волноводы связи заполнены средой с проницаемостью ε = 1.3. Там же представлена частотная зависимость угла излучения.

 

Рис. 8. Частотные зависимости коэффициента отражения (1) и угла места (2) для АРПВ с волноводами связи, заполненными средой с ε = 1.3.

 

Видно, что всплески, расположенные в центре сектора сканирования, которому соответствуют минимальные значения угла θm, уменьшились по сравнению со всплесками на кривой 1 на рис. 7а. При этом появились дополнительные всплески, но они не представляют опасности, так как они расположены в нерабочих зонах на краях сектора сканирования.

Для оценки формы огибающей локационного сигнала использовать соотношение (6) неудобно, так как в него входят не определенные на данном этапе параметры цели. Отметим, что амплитуда сигнала (6) пропорциональна полному КИП антенны:

K= K a cos θ m η F n 2 (θ,φ) MathType@MTEF@5@5@+= feaahGart1ev3aaatCvAUfeBSjuyZL2yd9gzLbvyNv2Caerbov2D09 MBdbqedmvETj2BSbqeduuDJXwAKbYu51MyVXgarqqr1ngBPrgifHhD YfgasaacHOWxh9vrFfeu0dXdh9vqqj=hEeeu0xXdbba9frFj0=OqFf ea0dXdd9vqaq=JfrVkFHe9pgea0dXdar=Jb9hs0dXdbPYxe9vr0=vr 0=vqpWqaaeaabiGaaiaadaqabeaabeqacqaaaOqaaiaadUeacqGH9a qpcaWGlbWaaSbaaSqaaiaadggaaeqaaOGaci4yaiaac+gacaGGZbGa eqiUde3aaSbaaSqaaiaad2gaaeqaaOGaeq4TdGMaamOramaaDaaale aacaWGUbaabaGaaGOmaaaakiaacIcacqaH4oqCcaGGSaGaeqOXdOMa aiykaaaa@4951@ , (30)

который учитывает потери на неидеальное амплитудное распределение Ka, ее КПД, отклонение главного луча от заданного направления F n 2 (θ,φ) MathType@MTEF@5@5@+= feaahGart1ev3aaatCvAUfeBSjuyZL2yd9gzLbvyNv2Caerbov2D09 MBdbqedmvETj2BSbqeduuDJXwAKbYu51MyVXgarqqr1ngBPrgifHhD YfgasaacHOWxh9vrFfeu0dXdh9vqqj=hEeeu0xXdbba9frFj0=OqFf ea0dXdd9vqaq=JfrVkFHe9pgea0dXdar=Jb9hs0dXdbPYxe9vr0=vr 0=vqpWqaaeaabiGaaiaadaqabeaabeqacqaaaOqaaiaadAeadaqhaa WcbaGaamOBaaqaaiaaikdaaaGccaGGOaGaeqiUdeNaaiilaiabeA8a QjaacMcaaaa@3E32@ и т.д. При этом в идеальном случае, когда потери всех видов отсутствуют, КИП равен единице. Отметим, что углы θ, φ MathType@MTEF@5@5@+= feaahGart1ev3aqatCvAUfeBSjuyZL2yd9gzLbvyNv2CaerbuLwBLn hiov2DGi1BTfMBaeXatLxBI9gBaerbd9wDYLwzYbItLDharqqtubsr 4rNCHbGeaGqiVu0Je9sqqrpepC0xbbL8F4rqqrFfpeea0xe9Lq=Jc9 vqaqpepm0xbba9pwe9Q8fs0=yqaqpepae9pg0FirpepeKkFr0xfr=x fr=xb9adbaqaaeGaciGaaiaabeqaamaabaabaaGcbaqefmuySLMyYL gaiuaajugubabaaaaaaaaapeGaa8NXdaaa@3AFA@  в соотношении (30) при дальнейших расчетах должны быть фиксированы и равны θt, φ MathType@MTEF@5@5@+= feaahGart1ev3aqatCvAUfeBSjuyZL2yd9gzLbvyNv2CaerbuLwBLn hiov2DGi1BTfMBaeXatLxBI9gBaerbd9wDYLwzYbItLDharqqtubsr 4rNCHbGeaGqiVu0Je9sqqrpepC0xbbL8F4rqqrFfpeea0xe9Lq=Jc9 vqaqpepm0xbba9pwe9Q8fs0=yqaqpepae9pg0FirpepeKkFr0xfr=x fr=xb9adbaqaaeGaciGaaiaabeqaamaabaabaaGcbaqefmuySLMyYL gaiuaajugubabaaaaaaaaapeGaa8NXdaaa@3AFA@ t углам, под которыми видна цель.

На рис. 9 представлена зависимость КИП от нормированного времени t n =t/ T m MathType@MTEF@5@5@+= feaahGart1ev3aqatCvAUfeBSjuyZL2yd9gzLbvyNv2Caerbov2D09 MBdbqedmvETj2BSbqeduuDJXwAKbYu51MyVXgarqqr1ngBPrgifHhD YfgasaacHOWxh9vrFfeu0dXdh9vqqj=hEeeu0xXdbba9frFj0=OqFf ea0dXdd9vqaq=JfrVkFHe9pgea0dXdar=Jb9hs0dXdbPYxe9vr0=vr 0=vqpWqaaeaabiGaaiaadaqabeaabeqacqaaaOqaaiaadshadaWgaa WcbaGaamOBaaqabaGccqGH9aqpcaWG0bGaai4laiaadsfadaWgaaWc baGaamyBaaqabaaaaa@3CD1@ , где T m MathType@MTEF@5@5@+= feaahGart1ev3aqatCvAUfeBSjuyZL2yd9gzLbvyNv2Caerbov2D09 MBdbqedmvETj2BSbqeduuDJXwAKbYu51MyVXgarqqr1ngBPrgifHhD YfgasaacHOWxh9vrFfeu0dXdh9vqqj=hEeeu0xXdbba9frFj0=OqFf ea0dXdd9vqaq=JfrVkFHe9pgea0dXdar=Jb9hs0dXdbPYxe9vr0=vr 0=vqpWqaaeaabiGaaiaadaqabeaabeqacqaaaOqaaiaadsfadaWgaa WcbaGaamyBaaqabaaaaa@37FD@   MathType@MTEF@5@5@+= feaahGart1ev3aqatCvAUfeBSjuyZL2yd9gzLbvyNv2CaerbuLwBLn hiov2DGi1BTfMBaeXatLxBI9gBaerbd9wDYLwzYbItLDharqqtubsr 4rNCHbGeaGqiVu0Je9sqqrpepC0xbbL8F4rqqrFfpeea0xe9Lq=Jc9 vqaqpepm0xbba9pwe9Q8fs0=yqaqpepae9pg0FirpepeKkFr0xfr=x fr=xb9adbaqaaeGaciGaaiaabeqaamaabaabaaGcbaqef4uz3r3BUb acfaqcLbvaqaaaaaaaaaWdbiaa=nbiaaa@3A29@  период ЛЧМ. Кривая получена для параметров АРПВ, приведенных выше, и углов θt = 25°, φ MathType@MTEF@5@5@+= feaahGart1ev3aqatCvAUfeBSjuyZL2yd9gzLbvyNv2CaerbuLwBLn hiov2DGi1BTfMBaeXatLxBI9gBaerbd9wDYLwzYbItLDharqqtubsr 4rNCHbGeaGqiVu0Je9sqqrpepC0xbbL8F4rqqrFfpeea0xe9Lq=Jc9 vqaqpepm0xbba9pwe9Q8fs0=yqaqpepae9pg0FirpepeKkFr0xfr=x fr=xb9adbaqaaeGaciGaaiaabeqaamaabaabaaGcbaqefmuySLMyYL gaiuaajugubabaaaaaaaaapeGaa8NXdaaa@3AFA@ t = 60°.

 

Рис. 9. Огибающая локационного сигнала при θt = 25°, φ MathType@MTEF@5@5@+= feaahGart1ev3aqatCvAUfeBSjuyZL2yd9gzLbvyNv2CaerbuLwBLn hiov2DGi1BTfMBaeXatLxBI9gBaerbd9wDYLwzYbItLDharqqtubsr 4rNCHbGeaGqiVu0Je9sqqrpepC0xbbL8F4rqqrFfpeea0xe9Lq=Jc9 vqaqpepm0xbba9pwe9Q8fs0=yqaqpepae9pg0FirpepeKkFr0xfr=x fr=xb9adbaqaaeGaciGaaiaabeqaamaabaabaaGcbaqef4uz3r3BUb acfeqcLboaqaaaaaaaaaWdbiaa=z8aaaa@3B4F@ t = 60°.

 

На рис. 10 приведен фрагмент зависимости K(tn), но уже с учетом заполнения промежуточной частотой fi (4). Расстояние до цели R = 1 км. Видно, что сигнал имеет вид пачки импульсов. Причина появления нескольких импульсов, соответствующих одной цели, обусловлена тем, что ширина ДН по углу места θ превышает угловое расстояние между зонами сканирования (см. рис. 6). Поэтому цель “освещается” несколько раз разными участками ДН. Таким образом, можем сделать вывод, что положение импульсов на временной оси несет информацию об азимутальном угле, а положение центра тяжести пачки на той же оси — об угле места.

 

Рис. 10. Фрагмент локационного сигнала АРПВ с волноводами связи, заполненными средой с ε = 1.3.

 

Смещение пачки при изменении угла места цели (θt = 35°, φt = 60°) хорошо видно на рис. 11, где показана зависимость КИП от времени для указанных углов.

 

Рис. 11. Огибающая локационного сигнала при θt = 35°, φt = 60°.

 

ЗАКЛЮЧЕНИЕ

Таким образом, в данной работе представлена математическая модель, позволяющая анализировать временную зависимость сигнала, отраженного от цели, при использовании гомодинного радиолокатора на основе АРПВ с двумерным ЧС. Предложенная модель может быть использована для количественной оценки таких параметров, как сектор сканирования, точность пеленгации угловых координат цели и расстояния до нее. В работе обсуждаются важные особенности АРПВ с двумерным ЧС, такие как эффект нормали и появление побочных дифракционных максимумов в диаграмме направленности. Рассмотрены возможные способы минимизации влияния указанных негативных эффектов. Предложенная математическая модель позволяет сформулировать технические требования к согласованию элементов АРПВ: поворотов на 180° и подрешеток элементарных излучателей.

Авторы данной работы заявляют об отсутствии конфликта интересов.

ФИНАНСИРОВАНИЕ РАБОТЫ

Работа выполнена при финансовой поддержке Российского научного фонда (проект MathType@MTEF@5@5@+= feaahGart1ev3aqatCvAUfeBSjuyZL2yd9gzLbvyNv2CaerbuLwBLn hiov2DGi1BTfMBaeXatLxBI9gBaerbd9wDYLwzYbItLDharqqtubsr 4rNCHbGeaGqiVu0Je9sqqrpepC0xbbL8F4rqqrFfpeea0xe9Lq=Jc9 vqaqpepm0xbba9pwe9Q8fs0=yqaqpepae9pg0FirpepeKkFr0xfr=x fr=xb9adbaqaaeGaciGaaiaabeqaamaabaabaaGcbaqef4uz3r3BUb acfaqcLbvaqaaaaaaaaaWdbiaa=zriaaa@3A2D@  24-29-00163).

×

Об авторах

С. Е. Банков

Институт радиотехники и электроники им. В.А. Котельникова РАН

Автор, ответственный за переписку.
Email: sbankov@yandex.ru
Россия, ул. Моховая, 11, стр. 7, Москва, 125009

А. А. Комаров

Институт радиотехники и электроники им. В.А. Котельникова РАН

Email: sbankov@yandex.ru
Россия, ул. Моховая, 11, стр. 7, Москва, 125009

М. С. Михайлов

Институт радиотехники и электроники им. В.А. Котельникова РАН

Email: sbankov@yandex.ru
Россия, ул. Моховая, 11, стр. 7, Москва, 125009

Список литературы

  1. Банков С.Е. Антенные решетки с последовательным питанием. М.: Физматлит, 2013.
  2. Stegen R.J. // Trans. IRE Professional Group on Antennas and Propagation. 1952. V. 1. № 1. P. 62.
  3. Rotman W., Oliner A.A. // IRE Trans. 1959. V. MTT-7. № 1. P. 134.
  4. McCormick G. // IRE Trans. 1958. V. AP-6. № 1. P. 26.
  5. Rotman W. // IRE Trans. 1958. V. AP-6. № 1. Р. 96.
  6. Ettorre M., Sauleau R., Le Coq L., Bodereau F. // IEEE Trans. 2014. V. AP-62. № 14. P. 1991.
  7. Cheng Н., Hong W., Wu K. et al. // IEEE Trans. 2008. V. AP-56. № 9. P. 3055.
  8. Albani M., Ettorre M., Maci S. et al. // Euroр. Conf. on Antennas and Propagation (EuCAP) 2007. Edinburgh. 11–16 Nov. 2007. N.Y.: IEEE, 2007. Article No. 445897. http://ieeexplore.ieee.org/xpls/abs_all.jsp?arnumber=4458971
  9. Хансен Р.С. Сканирующие антенны СВЧ. М.: Сов. радио, 1971. Т. 3.
  10. Банков С.Е., Фролова Е.В. // РЭ. 2017. Т. 62. № 9. С. 833.
  11. Елисеев С.Е., Гусевский В.И., Терехов В.А. и др. Радиолокационная система ближнего действия для предупреждения столкновения с препятствиями маневрирующих на аэродроме летательных аппаратов Пат. РФ № 2192653. Опубл. офиц. бюл. “Изобретения. Полезные модели” № 31 от 10.11.2002.
  12. Баскаков А.И., Жутяева Т.С., Лукашенко Ю.И. Локационные методы исследования объектов и сред. М.: ИЦ “Академия”, 2011.
  13. Проектирование фазированных антенных решеток / Под ред. Д.И. Воскресенского. М.: Радиотехника, 2012.
  14. Сазонов Д.М. Антенны и устройства СВЧ. М.: Высш. школа, 1988.
  15. Уолтер К. Антенны бегущей волны. М.: Энергия, 1970.

Дополнительные файлы

Доп. файлы
Действие
1. JATS XML
2. Рис. 1. Структурная схема АРПВ с двумерным ЧС.

Скачать (51KB)
3. Рис. 2. Схема гомодинного радиолокатора: Г  генератор, А  антенна, СМ  смеситель, Y  Y-циркулятор.

4. Рис. 3. Эквивалентная схема щели.

5. Рис. 4. Частотная зависимость угла места (а) и азимутального угла (б).

Скачать (58KB)
6. Рис. 5. Частотная зависимость угла места после исключения двухлучевых участков.

Скачать (27KB)
7. Рис. 6. Диаграмма сканирования АРПВ.

Скачать (26KB)
8. Рис. 7. Частотные зависимости коэффициентов отражения (1) и передачи (2) АРПВ при Rm = 0.05 (а) и Rm = 0.025 (б).

Скачать (47KB)
9. Рис. 8. Частотные зависимости коэффициента отражения (1) и угла места (2) для АРПВ с волноводами связи, заполненными средой с ε = 1.3.

Скачать (28KB)
10. Рис. 9. Огибающая локационного сигнала при θt = 25°, t = 60°.

Скачать (26KB)
11. Рис. 10. Фрагмент локационного сигнала АРПВ с волноводами связи, заполненными средой с ε = 1.3.

Скачать (30KB)
12. Рис. 11. Огибающая локационного сигнала при θt = 35°, t = 60°.

Скачать (25KB)

© Российская академия наук, 2024

Согласие на обработку персональных данных с помощью сервиса «Яндекс.Метрика»

1. Я (далее – «Пользователь» или «Субъект персональных данных»), осуществляя использование сайта https://journals.rcsi.science/ (далее – «Сайт»), подтверждая свою полную дееспособность даю согласие на обработку персональных данных с использованием средств автоматизации Оператору - федеральному государственному бюджетному учреждению «Российский центр научной информации» (РЦНИ), далее – «Оператор», расположенному по адресу: 119991, г. Москва, Ленинский просп., д.32А, со следующими условиями.

2. Категории обрабатываемых данных: файлы «cookies» (куки-файлы). Файлы «cookie» – это небольшой текстовый файл, который веб-сервер может хранить в браузере Пользователя. Данные файлы веб-сервер загружает на устройство Пользователя при посещении им Сайта. При каждом следующем посещении Пользователем Сайта «cookie» файлы отправляются на Сайт Оператора. Данные файлы позволяют Сайту распознавать устройство Пользователя. Содержимое такого файла может как относиться, так и не относиться к персональным данным, в зависимости от того, содержит ли такой файл персональные данные или содержит обезличенные технические данные.

3. Цель обработки персональных данных: анализ пользовательской активности с помощью сервиса «Яндекс.Метрика».

4. Категории субъектов персональных данных: все Пользователи Сайта, которые дали согласие на обработку файлов «cookie».

5. Способы обработки: сбор, запись, систематизация, накопление, хранение, уточнение (обновление, изменение), извлечение, использование, передача (доступ, предоставление), блокирование, удаление, уничтожение персональных данных.

6. Срок обработки и хранения: до получения от Субъекта персональных данных требования о прекращении обработки/отзыва согласия.

7. Способ отзыва: заявление об отзыве в письменном виде путём его направления на адрес электронной почты Оператора: info@rcsi.science или путем письменного обращения по юридическому адресу: 119991, г. Москва, Ленинский просп., д.32А

8. Субъект персональных данных вправе запретить своему оборудованию прием этих данных или ограничить прием этих данных. При отказе от получения таких данных или при ограничении приема данных некоторые функции Сайта могут работать некорректно. Субъект персональных данных обязуется сам настроить свое оборудование таким способом, чтобы оно обеспечивало адекватный его желаниям режим работы и уровень защиты данных файлов «cookie», Оператор не предоставляет технологических и правовых консультаций на темы подобного характера.

9. Порядок уничтожения персональных данных при достижении цели их обработки или при наступлении иных законных оснований определяется Оператором в соответствии с законодательством Российской Федерации.

10. Я согласен/согласна квалифицировать в качестве своей простой электронной подписи под настоящим Согласием и под Политикой обработки персональных данных выполнение мною следующего действия на сайте: https://journals.rcsi.science/ нажатие мною на интерфейсе с текстом: «Сайт использует сервис «Яндекс.Метрика» (который использует файлы «cookie») на элемент с текстом «Принять и продолжить».