Технология экспериментов нетеплового воздействия мощных электромагнитных импульсов на естественные и искусственные среды
- Авторы: Вдовин В.А.1, Денисов Р.А.1, Сапецкий С.А.1, Черепенин В.А.1
-
Учреждения:
- Институт радиотехники и электроники им. В.А. Котельникова РАН
- Выпуск: Том 68, № 9 (2023)
- Страницы: 910-916
- Раздел: К 70-ЛЕТИЮ ИРЭ ИМ. В.А. КОТЕЛЬНИКОВА РАН
- URL: https://ogarev-online.ru/0033-8494/article/view/138425
- DOI: https://doi.org/10.31857/S0033849423090267
- EDN: https://elibrary.ru/SILADT
- ID: 138425
Цитировать
Полный текст
Аннотация
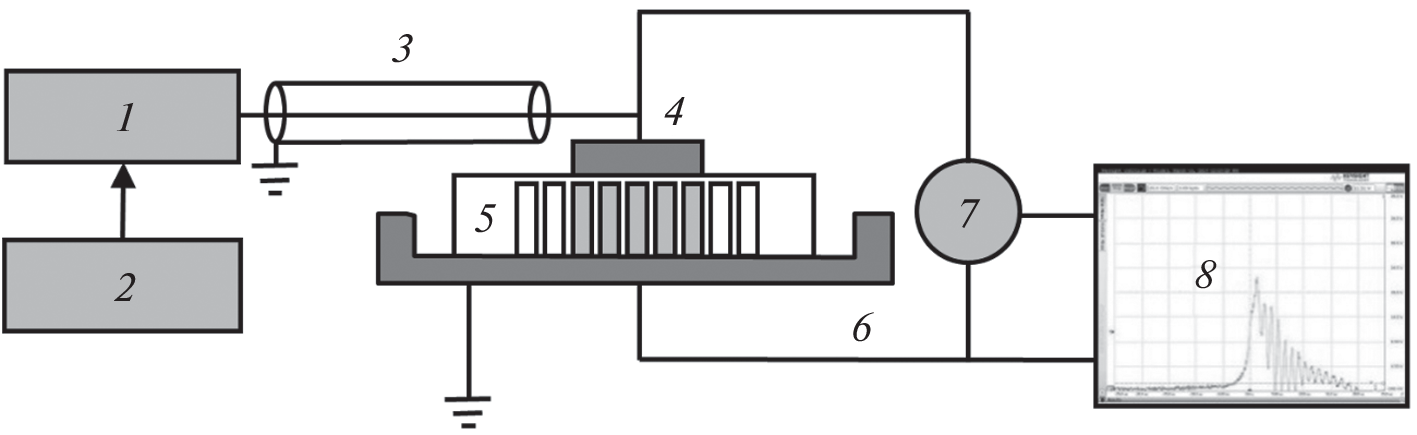
Рассмотрены особенности технологии экспериментов по нетепловому воздействию мощных наносекундных импульсов на примере установки, используемой для модификации биологических сред и других объектов, обладающих разнородными электрофизическими характеристиками. Создана экспериментальная установка для исследования нетеплового воздействия мощных импульсов на образцы различных материалов, которая формирует импульсы с частотой повторения до 500 Гц, амплитудой до 60 кВ и длительностью 5 нс. Проведено моделирование переходных процессов в эквивалентной электрической схеме нагрузки, а в качестве нагрузки был использован биологический материал, помещенный в микропланшет.
Об авторах
В. А. Вдовин
Институт радиотехники и электроники им. В.А. Котельникова РАН
Email: vdv@cplire.ru
Российская Федерация, 125009, Москва, ул. Моховая, 11, стр. 7
Р. А. Денисов
Институт радиотехники и электроники им. В.А. Котельникова РАН
Email: vdv@cplire.ru
Российская Федерация, 125009, Москва, ул. Моховая, 11, стр. 7
С. А. Сапецкий
Институт радиотехники и электроники им. В.А. Котельникова РАН
Email: vdv@cplire.ru
Российская Федерация, 125009, Москва, ул. Моховая, 11, стр. 7
В. А. Черепенин
Институт радиотехники и электроники им. В.А. Котельникова РАН
Автор, ответственный за переписку.
Email: vdv@cplire.ru
Российская Федерация, 125009, Москва, ул. Моховая, 11, стр. 7
Список литературы
- Медико-биологические аспекты миллиметрового излучения низкой интенсивности / Под ред. Н.Д. Девяткова. М.: ИРЭ АН СССР, 1987.
- Applications of High-Power Microwaves. / Ed. A.V. Gaponov-Grekhov, V.L. Granatstein. L.: Artech House, 1994.
- Месяц Г.А. Эктоны. Екатеринбург: Наука, 1993. Ч. 3.
- Месяц Г.А., Яландин М.И. // Успехи физ. наук. 2005. Т. 175. № 3. С. 225.
- Девятков Н.Д., Чернов З.С., Бецкий О.В. и др. // Биофизика. 1982. Т. 28. № 3. С. 558.
- Девятков Н.Д., Плетнев С.Д., Чернов З.С. и др. // Докл. РАН. 1994. Т. 336. № 6. С. 826.
- Девятков Н.Д., Плетнев С.Д., Бецкий О.В. и др. // Биомедицинская радиоэлектроника. 2000. № 10. С. 29.
- Большаков М.А., Бугаев С.П., Гончарик А.О. и др. // Докл. РАН. 2000. Т. 371. № 5. С. 691.
- Чантурия В.А., Гуляев Ю.В., Лунин В.Д. и др. // Докл. РАН. 1999. № 5. С. 680.
- Чантурия В.А., Бунин И.Ж., Лунин В.Д. и др. // Физико-технич. проблемы разработки полезных ископаемых. 2001. № 4. С. 95.
- Вдовин В.А., Гуляев Ю.В., Чантурия В.А., Черепенин В.А. // РЭ. 2005. Т. 50. № 9. С. 1129.
- Котов Ю.А., Месяц Г.А., Филатов А.Л. и др. // Докл. РАН. 2000. Т. 372. № 5. С. 654.
- Вдовин В.А., Осипов Б.П., Черепенин В.А. // Тр. X Всерос. школы-семинара “Физика и применение микроволн”. Звенигород Моск. обл., 2005. Секция 6. С. 11.
- Ключник A.B., Пирогов Ю.А., Солодов A.B. // РЭ. 2011. Т. 56. № 3. С. 375.
- Грибский М.П., Григорьев Е.В., Старостенко В.В. и др. // Прикладная радиоэлектроника. 2006. Т. 5. № 2. С. 294.
- Hong J.I., Hwang S.M., Huh C.S. // J. Electromagn. Waves Appl. 2008. V. 22. P. 2451.
- Вдовин В.А., Гераськин А.А., Горбоконенко П.А. и др. // Журн. радиоэлектроники. 2020. № 11. https://doi.org/10.30898/1684-1719.2020.11.13
- Гуляев Ю.В., Черепенин В.А., Вдовин В.А. и др. // РЭ. 2015. Т. 60. № 10. С. 1051.
- Гуляев Ю.В., Черепенин В.А., Вдовин В.А. и др. // РЭ. 2020. Т. 65. № 2. С. 189.
- Гуляев Ю.В., Черепенин В.А., Таранов И.В. и др. // РЭ. 2016. Т. 61. № 1. С. 61.
- Costa J.A., de Oliveira P.X., Pereira L.S. et al. // IEEE Trans. 2021. V. DEI-28. № 6. C. 1850.
Дополнительные файлы










