Магнитооптическая визуализация магнитных фаз в эпитаксиальной пленке феррита-граната вблизи точки компенсации
- Авторы: Ветошко П.М.1, Бержанский В.Н.2, Полулях С.Н.2, Суслов Д.А.1, Маширов А.В.1, Шавров В.Г.1, Павлюк Е.И.2
-
Учреждения:
- Институт радиотехники и электроники им. В.А. Котельникова РАН
- Крымский федеральный университет им. В.И. Вернадского
- Выпуск: Том 68, № 4 (2023)
- Страницы: 391-395
- Раздел: К 90-ЛЕТИЮ ВЛАДИМИРА ГРИГОРЬЕВИЧА ШАВРОВА
- URL: https://ogarev-online.ru/0033-8494/article/view/138202
- DOI: https://doi.org/10.31857/S0033849423040149
- EDN: https://elibrary.ru/PFZUCD
- ID: 138202
Цитировать
Полный текст
Аннотация
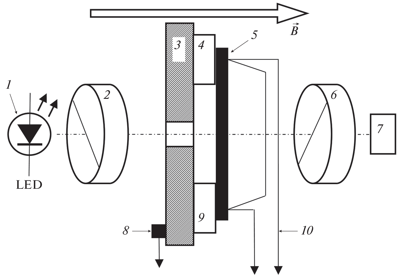
Описан метод магнитооптической визуализации магнитных фаз в ферримагнетиках в окрестности точки компенсации в латеральном градиенте температур. На примере пленок висмут-гадолиниевого феррита граната наблюдались зоны, соответствующие коллинеарной и неколлинеарной магнитным фазам, в зависимости от температуры и величины магнитного поля в диапазоне от 0 до 10 Тл.
Об авторах
П. М. Ветошко
Институт радиотехники и электроники им. В.А. Котельникова РАН
Email: sda_53@mail.ru
Российская Федерация, 125009, Москва, ул. Моховая, 11, корп. 7
В. Н. Бержанский
Крымский федеральный университет им. В.И. Вернадского
Email: sda_53@mail.ru
Российская Федерация, 295007, Симферополь,
просп. Академика Вернадского, 4
С. Н. Полулях
Крымский федеральный университет им. В.И. Вернадского
Email: sda_53@mail.ru
Российская Федерация, 295007, Симферополь,
просп. Академика Вернадского, 4
Д. А. Суслов
Институт радиотехники и электроники им. В.А. Котельникова РАН
Email: sda_53@mail.ru
Российская Федерация, 125009, Москва, ул. Моховая, 11, корп. 7
А. В. Маширов
Институт радиотехники и электроники им. В.А. Котельникова РАН
Email: sda_53@mail.ru
Российская Федерация, 125009, Москва, ул. Моховая, 11, корп. 7
В. Г. Шавров
Институт радиотехники и электроники им. В.А. Котельникова РАН
Email: sda_53@mail.ru
Российская Федерация, 125009, Москва, ул. Моховая, 11, корп. 7
Е. И. Павлюк
Крымский федеральный университет им. В.И. Вернадского
Автор, ответственный за переписку.
Email: sda_53@mail.ru
Российская Федерация, 295007, Симферополь,
просп. Академика Вернадского, 4
Список литературы
- Белов К.П. // Успехи физ. наук. 1996. Т. 166. № 6. С. 669. https://doi.org/10.3367/UFNr.0166.199606f.0669
- Clark A.E., Callen E. // J. Appl. Phys. 1968. V. 39. № 13. P. 5972. https://doi.org/10.1063/1.1656100
- Звездин А.К., Попков А.Ф. // ФТТ. 1974. Т. 16. № 4. С. 1082.
- Davydova M.D., Zvezdin K.A., Kimel A.V., Zvezdin A.K. // J. Phys.: Cond. Matt. 2020. V. 32. № 1. Article No. 01LT01. https://doi.org/10.1088/1361-648X/ab42fa
- Geprägs S., Kehlberger A., Coletta F.D. et al. // Nat. Commun. 2016. V. 7. Article No. 10452. https://doi.org/10.1038/ncomms10452
- González J.A., Andrés J.P., Anton R.L. // Sensors. 2021. V. 21. № 16. P. 5615. https://doi.org/10.3390/s21165615
- Medapalli R., Razdolski I., Savoini M. et al. // Europ. Phys. J. B. 2013. V. 86. № 4. Article No. 183. https://doi.org/10.1140/epjb/e2013-30682-6
- Bernasconi J., Kuse D. // Phys. Rev. B. 1971. V. 3. № 3. P. 811. https://doi.org/10.1103/PhysRevB.3.811
- Dionne G.F. // J. Appl. Phys. 1976. V. 47. № 9. P. 4220. https://doi.org/10.1063/1.323204
Дополнительные файлы






