A Dielectric Waveguide Made of the High-Resistance Silicon and the Circuitry Based on This Waveguide
- Authors: Parkhomenko M.P.1, Kalenov D.S.1, Eremin I.S.1, Fedoseev N.A.1
-
Affiliations:
- Kotelnikov Institute of Radioengineering and Electronics, Fryazino Branch, Russian Academy of Sciences
- Issue: Vol 68, No 2 (2023)
- Pages: 171-176
- Section: ЭЛЕКТРОНИКА СВЧ
- URL: https://ogarev-online.ru/0033-8494/article/view/138117
- DOI: https://doi.org/10.31857/S0033849423020110
- EDN: https://elibrary.ru/LCSTFO
- ID: 138117
Cite item
Full Text
Abstract
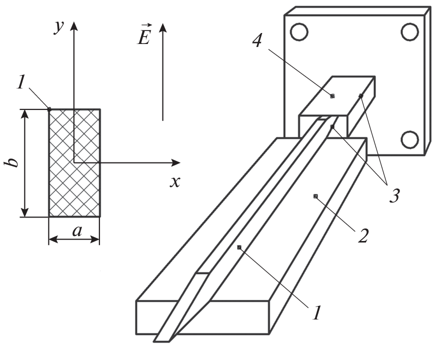
Optically and mechanically controlled attenuators and an electrically controlled phase shifter are developed on the basis of a dielectric waveguide made of the high-resistance silicon. The characteristics of the waveguide and elements developed on its basis are theoretically and experimentally determined in the frequency band 26–37 GHz.
About the authors
M. P. Parkhomenko
Kotelnikov Institute of Radioengineering and Electronics, Fryazino Branch, Russian Academy of Sciences
Email: pamikle@yandex.ru
Fryazino, Moscow oblast, 141190 Russia
D. S. Kalenov
Kotelnikov Institute of Radioengineering and Electronics, Fryazino Branch, Russian Academy of Sciences
Email: pamikle@yandex.ru
Fryazino, Moscow oblast, 141190 Russia
I. S. Eremin
Kotelnikov Institute of Radioengineering and Electronics, Fryazino Branch, Russian Academy of Sciences
Email: pamikle@yandex.ru
Fryazino, Moscow oblast, 141190 Russia
N. A. Fedoseev
Kotelnikov Institute of Radioengineering and Electronics, Fryazino Branch, Russian Academy of Sciences
Author for correspondence.
Email: pamikle@yandex.ru
Fryazino, Moscow oblast, 141190 Russia
References
- Marcuse D. Theory of Dielectric Optical Waveguides. N.Y.: Academic Press, 1974.
- Wolff I., Solbach K. Dielektrische Bildleutungen. Aachen: Verlag H. Wolff, 1982.
- Knox R.M. // IEEE Trans. 1976. V. MTT-24. № 11. P. 806.
- Вершинина Л.Н., Мериакри В.В. // РЭ. 1980. Т. 25. № 7. С. 1348.
- Jacobs H., Chrepta M.M. // Proc. IEEE-G-MTT Int. Microwave Symp. Boulder 4–6 Jun. 1973. N.Y.: IEEE, 1973. P. 28.
- Усанов Д.А., Вагарин А.Ю., Ушаткин Е.Ф. // Электрон. техника, сер. Электроника СВЧ. 1980. Вып. 9. С. 56.
- Мериакри В.В., Пархоменко М.П. // Электромагнитные волны и электрон. системы. 1996. Т. 1. № 1. С. 88.
- Мериакри В.В., Пархоменко М.П., Дудоров С.Н. // Зарубеж. радиоэлектроника. Успехи совр. радиоэлектроники. 1999. № 9. С. 28.
- Marcatiliy E.A.J. // BSTJ. 1969. V. 48. № 7. P. 2071.
Supplementary files









