Investigation of the Sorption of NdF3, LaF3 and ThF4 under Dynamic Conditions in the LiF–NaF–KF–Activated Carbon System
- Authors: Fedorov Y.S.1, Samonin V.V.1, Zotov A.S.1
-
Affiliations:
- St. Petersburg State Institute of Technology (Technical University)
- Issue: Vol 66, No 5 (2024)
- Pages: 472-477
- Section: Articles
- URL: https://ogarev-online.ru/0033-8311/article/view/287812
- DOI: https://doi.org/10.31857/S0033831124050078
- ID: 287812
Cite item
Full Text
Abstract
The sorption of neodymium, lanthanum, and thorium fluorides from a melt under dynamic conditions using AG-3 activated carbon at a temperature of 650°C was studied for the first time. The well-known eutectic mixture of alkali metal fluorides LiF–NaF–KF was used as the melt. To conduct the experiments, a special installation was developed and manufactured to study the sorption process under dynamic conditions as applied to melts. During the sorption of neodymium and lanthanum fluorides, three main zones are identified: the sorption front formation zone and the sorption and slip zones. It is shown that, under the conditions considered, it is possible to purify thorium fluoride to remove lanthanum fluoride. The maximum value of the sorption capacity for lanthanum fluoride reached more than 5 mg/g and depended on the melt flow rate through the activated carbon zone. Thorium fluoride was not sorbed with activated carbon under the studied conditions studied.
Keywords
Full Text
ВВЕДЕНИЕ
Ториевый топливный цикл, основанный на наработке и последующем использовании 233U, имеет ряд преимуществ по сравнению с традиционным урановым топливным циклом. Основное преимущество состоит в том, что при использовании 233U в качестве ядерного горючего практически не образуются долгоживущие трансплутониевые актиниды, которые являются одним из основных компонентов высокоактивных отходов (ВАО), требующих геологического захоронения. При облучении 232Th параллельно происходит образование 232U, обладающего вместе со своими дочерними радионуклидами высоким уровнем радиоактивности, препятствующим практическому использованию в атомной энергетике из-за необходимости применения защитных камер для обращения на всех стадиях изготовления ядерного топлива.
Новые концепции по наработке 233U связаны с использованием гибридного термоядерного реактора синтез–деление [1, 2]. Суть данного подхода в том, что ториевый бланкет кратковременно облучается высокопоточными нейтронами с энергией 17 МэВ, после чего требуется извлечение 233Pa и последующее накопление 233U. За счет короткого времени облучения доля побочных реакций, приводящих к образованию 232U, резко снижается, что в принципе позволяет получать 233U с минимальным содержанием 232U. При таком подходе требуется быстро извлекать 233Pa [3]. Полученный 233U после выдержки 233Pa важен как для атомной энергетики, так и для использования в медицине для получения 225Ac, применяемого для лечения онкологических заболеваний.
В качестве носителя соли тория могут быть использованы эвтектики на основе фторидов солей, например (мол%) 46.5 LiF–11.5 NaF–42.0 KF (FLiNaK), хорошо растворяющей ThF4 (до 10 мол%) [4]. В качестве способа непрерывного извлечения фторидов изотопов протактиния из облученного тория может использоваться сорбция на активных углях, например, АГ-3 [5], который оказался устойчив в диапазоне температур 550–700°С. Также этот уголь может использоваться для извлечения из облученного тория некоторых продуктов деления, в частности, фторида неодима [6, 7], причем фторид тория при этом не извлекается. Опыты по сорбции указанных элементов проводили индивидуально в статических условиях, которые показывают потенциальную возможность отделения РЗЭ как нейтронных ядов от 232Th – исходного элемента для выделения 233Pa – и последующего получения 233U. Реальные параметры отделения мешающих элементов от тория можно получить в непрерывном динамическом режиме сорбции для смеси элементов. Кроме этого, с учетом ранее опубликованных данных [6, 7] для сорбции UF4 в аналогичных условиях и сопоставимой сорбционной емкости с ThF4 данные по динамике сорбции активным углем из расплава фторидов щелочных металлов могут быть полезны и для жидкосолевых реакторов в плане непрерывной переработки облученной эвтектики от нейтронных ядов.
В настоящей работе изучена сорбция фторидов лантана и неодима в динамических условиях, в том числе в присутствии фторида тория.
ЭКСПЕРИМЕНТАЛЬНАЯ ЧАСТЬ
Для исследований процессов в расплавах фторидов солей требуется использовать особо чистые компоненты, поскольку небольшие примеси могут значительно исказить результаты экспериментов. Так, для расплавов фторидов щелочных металлов важно отсутствие воды, так как в противном случае из фторидов РЗЭ и актинидов, хорошо растворимых в эвтектике LiF–NaF–KF, образуются малорастворимые соответствующие оксифториды и HF.
Фториды лития, калия и натрия (ч.д.а.) использовали в мольном соотношении LiF (46.5)–NaF (11.5)–KF (42.0) и перед опытами сушили в течение 3 ч под вакуумом при температуре 400°С. Качество полученной соли проверяли по точке плавления на дериватографе; она составила 456°С, что практически соответствует литературным данным [4]. К высушенной соли добавляли фториды неодима или лантана, а также фторид тория и повторно сушили под вакуумом. Опыты проводили в среде аргона при температуре 650°С. Методика получения фторидов лантана, неодима и тория подробно описана в работах [5–7].
Используемый в работе уголь АГ-3 имел следующие параметры: объем микропор Vми = 0.35 см3/г, объем мезопор Vме = 0.15 см3/г, удельная поверхность S = 750 м2/г, удельная поверхность мезопор Sме = 20 м2/г. Уголь АГ-3 перед опытом сушили при температуре 200°С в течение 2 ч.
Пробы исходного расплава, а также нескольких проб с АГ-3 обрабатывали серной кислотой для удаления HF и после упаривания разбавляли водой и анализировали с использованием арсеназо III в среде соляной кислоты на спектрофотометре ПЭ-5300ВИ с использованием методики [8] с сульфосалициловой кислотой для маскировки железа, содержащегося в угле. Анализ лантана и неодима проводили при длине волны 650 нм в 0.01 моль/дм3 HCl. Анализ лантана и тория проводили при длине волны 650 нм в два приема: сначала определяли суммарное содержание в 0.01 моль/дм3 HCl, затем в 5.5 моль/дм3 HCl определяли содержание тория. После этого из показания суммарной оптической плотности лантана и тория вычитали долю оптической плотности тория, пересчитанную для 0.01 моль/дм3 HCl.
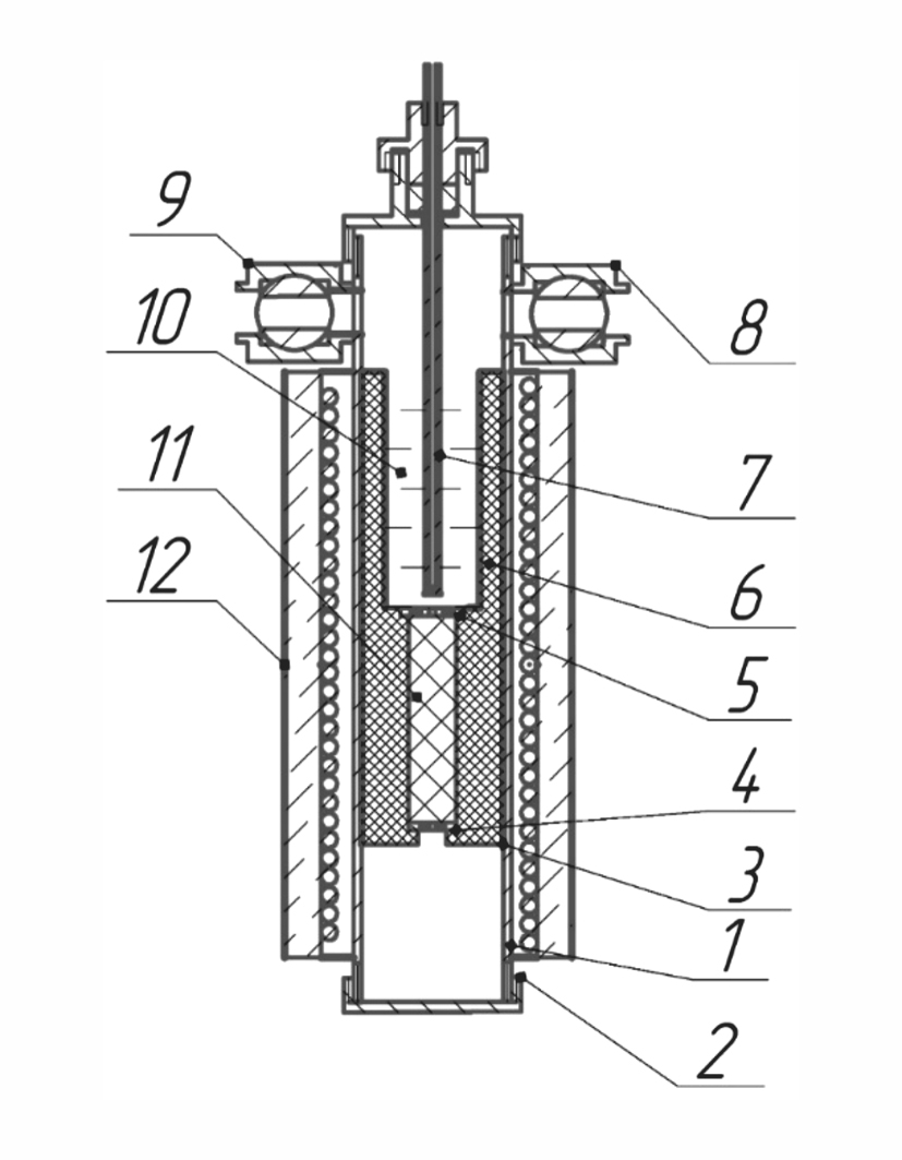
Схема установки для исследования сорбции фторидов неодима и тория активированным углем АГ-3 в динамических условиях из расплава эвтектики LiF-NaF-KF при температуре 650°С представлена на рис. 1. Эксперименты проводили следующим образом:
- в емкость 11 (рис. 1) засыпали активный уголь, предварительно высушенный в течение 2 ч при температуре до 200°С, закрывали фильерой 5 и поджимали штоком 7;
- затем в емкость 10 насыпали предварительно подготовленный твердый LiF–NaF–KF с фторидом неодима или лантана и сушили под вакуумом в течение 3 ч при температуре 400°С (ниже точки плавления);
- после сушки температуру поднимали до 650°С и эвтектику выдерживали под вакуумом в течение 1 ч;
- перед началом эксперимента в установку подавали аргон, поднимался шток 7, и расплавленная эвтектика поступала в емкость с активным углем 11;
- через 5 мин расплав по каплям вытекал из нижней фильеры 4 и попадал на медную пластику, расположенную на нижней крышке реактора 2;
- капли быстро остывали, легко снимались с пластинки, их взвешивали и направляли на анализ.
Рис. 1. – Схема установки по динамики сорбции в расплаве фторидов солей. 1 – стальной внешний корпус, 2 – нижняя крышка реактора, 3 – графитовая колба, 4 – нижняя фильера, 5 – верхняя фильера, 6 – емкость расплава, 7 – оболочка термопары, 8 – кран подачи инертного газа, 9 – кран откачки воздуха, 10 – расплав, 11 – сорбент, 12 – нагреватель.
РЕЗУЛЬТАТЫ И ОБСУЖДЕНИЕ
На рис. 2 показана выходная кривая сорбции фторида неодима из расплава после его пропускания через активный уголь. На выходной кривой рис. 2 можно выделить три участка. На первом участке содержание фторида неодима в расплаве снижается с 2.1 (начальная концентрация) до 1.05 мг/г к 12 мин от начала его протекания через сорбент. Первый участок характеризуется линейной зависимостью и, по-видимому, связан с формированием фронта сорбции фторида неодима в слое активного угля. Второй участок характеризуется неизменной концентрацией фторида неодима и, вероятно, связан непосредственно с извлечением фторида неодима из расплава в условиях стационарного движения фронта в глубь сорбента.
Рис. 2. Выходная кривая фторида неодима из расплава после его пропускания через активный уголь. Высота слоя угля 10 см. Пунктирная кривая – исходная концентрация фторида неодима (2.1 мг/г) в эвтектике LiF–NaF–KF. Здесь и далее на рисунке мин без точки
Третий участок (рис. 2) характеризуется проскоком фторида неодима и постепенным увеличением концентрации фторида неодима в расплаве.
Линейный характер первого участка, вероятно, объясняется внешней диффузией, характерной для гетерогенных процессов [8].
На рис. 3 приведена выходная кривая фторида лантана из расплава, на котором также видны три характерных области, аналогичных выходной кривой для фторида неодима. Аналогичные зависимости с тремя характерными участками были получены для всех опытов, некоторые данные которых приведены в табл. 1.
Рис. 3. Выходная кривая фторида лантана из расплава при сорбции на активном угле. Пунктирная кривая – исходная концентрация фторида лантана (3.2 мг/г) в эвтектике LiF–NaF–KF. Высота слоя угля 8.0 см.
Таблица 1. Параметры опытов сорбции элементов в динамических условиях
№ опыта | Концентрация LaF3 (NdF3)–ThF4 | Масса флинака, г | Масса АГ-3, г (высота, см) | Скорость потока флинака*, г/мин | Емкость АГ-3 по La (Nd), мг/г | ||
до проскока (расчет) | суммарная емкость (расчет) | экспериментальная емкость | |||||
1 | 2.1 (Nd)–0 | 150 | 3.53 (10.0) | 0.50 | 5.0 | – | – |
2 | 3.2–0 | 50.0 | 2.68 (7.7) | 0.50 | 5.2 | – | – |
3 | 13.9–0 | 98.0 | 3.76 (10.7) | 0.50 | 5.1 | – | – |
4 | 5.1–8.0 | 148 | 3.51 (10.2) | 0.30 | 3.8 | 6.4 | 5.4 |
5 | 6.1–8.5 | 118 | 3.49 (10.0) | 0.25 | 2.4 | 3.8 | 3.5 |
6 | 5.0–8.1 | 40.0 | 6.12 (17.5) | 0.1 | 1.1 | 2.2 | 2.3 |
* Скорость эвтектики до проскока.
С ростом концентрации фторида лантана в расплаве характер зависимости при сорбции не меняется. При этом концентрация фторида лантана после проскока для более высокой исходной концентрации существенно выше, чем для низкой исходной концентрации (рис. 2, рис. 3), т.е. сорбция протекает менее эффективно по сравнению с более низкой концентрацией.
Из соотношения исходной и конечной концентраций при сорбции в динамических условиях для различных исходных концентраций фторида лантана, которая описывается линейной зависимостью в логарифмических координатах, рассчитали степени извлечения. Они представлены на рис. 4 для разных исходных концентраций фторида лантана. Из рис. 4 следует, что наиболее эффективно активный уголь извлекает фторид лантана из расплава для концентраций ниже 5 мг/г.
Рис. 4 – Степень извлечения фторида лантана активированным углем при сорбции в динамических условиях для высоты слоя угля 10 см.
Очевидно, что для повышения степени извлечения фторида лантана из расплава для более высоких концентраций следует увеличить высоту слоя сорбента. При этом, вероятно, уменьшится начальный (первый участок), на котором формируется фронт сорбции, так как для меньшего слоя угля (рис. 3) время формирования стационарного процесса больше почти в 2 раза.
Результаты, приведенные на рис. 2–4, позволили составить представление о характере процессов, протекающих в динамических условиях при сорбции фторидов неодима и лантана из расплавов. Далее приводили опыты по сорбции фторида лантана в присутствии фторида тория в динамических условиях. Ранее было показано, что фторид тория практически не сорбируется активным углем АГ-3 из эвтектики LiF–NaF–KF при температуре 650°С [6, 7], однако в динамических условиях процесса очистка фторида лантана от фторида тория может быть реализована с большой долей вероятности.
На рис. 5 представлены выходные зависимости для смеси фторидов лантана и тория при пропускании расплава через слой угля АГ-3. Как видно из рис. 5, снижение концентрации фторида лантана в выходящем после сорбции расплаве для опыта 4 (рис. 5, точки 1) аналогично поведению фторидов лантана и неодима на рис. 2–4, при этом концентрация фторида тория в выходящем расплаве практически не меняется. При этом для опыта 6 (рис. 5, точки 2) начальное падение концентрации лантана практически отсутствует.
Рис. 5. Выходные кривые сорбции фторидов лантана и тория. Пунктирная кривая – исходная концентрация фторидов лантана и тория в эвтектике LiF–NaF–KF. Исходные концентрации фторида лантана, мг/г: 1 – 5.1 (опыт 4 в табл. 1), 2 – 5.0 (опыт 6 в табл. 1). Исходные концентрации фторида тория, мг/г: 3 – 8.0 (опыт 4 в табл. 1), 4 – 8.1 (опыт 6 в табл. 1.) A–F: пояснения см. в тексте.
Причины такого различия могут быть предположительно объяснены тем, что с увеличением высоты слоя формирование фронта сорбции во времени успевает установиться до выхода расплава из слоя сорбента. Данные в пользу данного предположения приведены в табл. 1, в которой приведена высота слоя угля, составившая для опыта 4 и 6 10.2 и 17.5 см соответственно. Для опыта 6 скорость протекания расплава также оказалась меньше.
В табл. 1 приведены основные параметры, полученные в ходе экспериментов. Скорость протекания расплава определялась размерами нижней фильеры (рис. 1, поз. 4). В табл. 1 приведены сведения о сорбционной емкости для начала проскока фторида лантана, так как по мере уменьшения высоты слоя (и, соответственно, массы) расплава, скорость его протекания через слой сорбента несколько снижалась. Количество поглощенного углем фторида лантана до проскока и после полного насыщения определяли расчетным путем как отношение площадей AFEB : ACDB (для опыта 4 значение концентрации A4, для опыта 6 – A6) с учетом скорости протекания расплава и массы угля. Также в табл. 1 приведены данные по сорбционной емкости активного угля, полученные на основании химического анализа АГ-3, содержащего расплав, после опыта. Как видно из табл. 1, расчетные и экспериментальные данные сорбционной емкости фторида лантана в угле близки.
На рис. 6 приведена зависимость сорбционной емкости до проскока от скорости подачи расплава (табл. 1) на активный уголь. Из рис. 6 видно, что сорбционная емкость адсорбента имеет линейную зависимость от скорости пропускания расплава соли через слой активного угля. Это указывает на внешнюю диффузию как стадию, лимитирующую скорость сорбции [9] в области используемых малых линейных скоростей пропускания расплава соли через слой активного угля.
Рис. 6. Зависимость сорбционной емкости до проскока от скорости потока FLiNaK.
Полученные данные показывают, что использование активного угля АГ-3 может быть использовано для очистки фторида тория от лантанидов как продуктов деления в рамках ториевого топливного цикла. Очевидно, для повышения очистки требуется увеличить длину сорбционного слоя и провести оптимизацию скорости потока эвтектики.
ЗАКЛЮЧЕНИЕ
Впервые исследована сорбция фторидов неодима, лантана и тория из расплавов солей в динамических условиях с использованием активного угля АГ-3 при температуре 650°С. В качестве расплава использовали эвтектическую смесь фторидов щелочных металлов LiF–NaF–KF. Для проведения опытов изготовили специальную сорбционную установку для проведения экспериментов в динамических условиях.
Показана возможность очистки фторида тория от фторида лантана в условиях ториевого топливного цикла. Фторид тория в исследуемых условиях не сорбировался активным углем. Сорбционная емкость по фториду лантана до проскока возрастала с 1.1 до 5.0 мг/г с ростом скорости потока эвтектики от 0.1 до 0.5 мг/мин, на основании чего было выдвинуто предположение о том, что лимитирующей стадией сорбции является внешняя диффузия.
В процессе сорбции на выходной кривой выделены три основных участка: зона формирования фронта сорбции, зоны сорбции и проскока. На первом участке с момента начала сорбции наблюдается снижение концентрации фторидов неодима или лантана в течение примерно 20 мин в зависимости от исходной концентрации лантаноида. На втором участке в течение примерно 20 мин происходит стабилизация (насыщение концентрации на выходе), и затем наступает проскок с постепенным выходом концентрации лантанида на уровень исходной концентрации.
ФОНДОВАЯ ПОДДЕРЖКА
Исследование выполнено при финансовой поддержке Российского фонда фундаментальных исследований в рамках научного проекта РФФИ № 19-29-02010\19.
КОНФЛИКТ ИНТЕРЕСОВ
Авторы заявляют об отсутствии конфликта интересов.
About the authors
Yu. S. Fedorov
St. Petersburg State Institute of Technology (Technical University)
Author for correspondence.
Email: fys54@mail.ru
Russian Federation, Moskovskii pr. 26, St. Petersburg, 190013
V. V. Samonin
St. Petersburg State Institute of Technology (Technical University)
Email: fys54@mail.ru
Russian Federation, Moskovskii pr. 26, St. Petersburg, 190013
A. S. Zotov
St. Petersburg State Institute of Technology (Technical University)
Email: fys54@mail.ru
Russian Federation, Moskovskii pr. 26, St. Petersburg, 190013
References
- Велихов Е.П., Ковальчук М.В., Ильгисонис В.И., Игнатьев В.В., Цибульский В.Ф., Андрианова Е.А. // Энергетическая политика. 2017. № 3. С. 12.
- Velikhov E.P., Kovalchuk M.V., Azitov E.A., Ignatiev V.V., Subbotin S.A., Tsibulskiy V.F. // At. Energy. 2013. Vol. 114. N 3. P. 193. https://doi.org/10.1007/s10512-013-9695-x
- Велихов Е.П., Азизов Э.А., Алексеев П.Н. Гуревич М.И., Субботин С.А., Шимкевич А.Л. // Вопр. атом. науки и техники. Сер.: Термоядерный синтез. 2013. Т. 36. № 1. С. 16.
- https://ru.readkong.com/page/koncepciya-zelyonoy-yadernoy-energetiki-concept-of-green-2177596
- Molten Salt Reactors and Thorium Energy. Second Edition / Ed. T.J. Dolan. Elsevier, 2024. 1038 p.
- Fedorov Yu.S., Samonin V.V., Zotov A.A., Khrylova E.D., Spiridonova E.A., Miroslavov A.E., Akatov A.A. // Radiochemistry. 2021. Vol. 63. N 6. P. 754. https://doi.org/10.31857/S0033831121060046
- Fedorov Yu.S., Samonin V.V., Zotov A.A., Khrylova E.D., Spiridonova E.A., Miroslavov A.E., Akatov A.A. // Radiochemistry. 2022. Vol. 64. N 3. P. 241. https://doi.org/10.31857/S0033831122030066
- Fedorov Yu.S., Samonin V.V., Zotov A.A., Khrylova E.D., Spiridonova E.A., Miroslavov A.E., Akatov A.A. // Radiochemistry. 2022. Vol. 64. N 6. P. 561. https://doi.org/10.1134/S1066362222030079
- Саввин С.Б. Органические реагенты группы арсеназо III.М.: Атомиздат, 1971. 348 с.
- Дьяченко А.Н., Шагалов В.В. Химическая кинетика гетерогенных процессов. Томск: Изд. Томск. политех. ун-та, 2014. 102 с.
Supplementary files








