Тепловизионное исследование турбулентных структур на выходах из вихревой трубы
- Авторлар: Самохвалов В.Н.1
-
Мекемелер:
- Самарский национальный исследовательский университет им. академика С.П Королева
- Шығарылым: № 4 (2024)
- Беттер: 199-206
- Бөлім: ЛАБОРАТОРНАЯ ТЕХНИКА
- URL: https://ogarev-online.ru/0032-8162/article/view/280170
- DOI: https://doi.org/10.31857/S0032816224040241
- EDN: https://elibrary.ru/NXMWYZ
- ID: 280170
Дәйексөз келтіру
Толық мәтін
Аннотация
Представлено устройство, имеющее преобразователь температуры, выполненный в виде сетки из материала с низкой теплопроводностью, и тепловизор. Его использование позволяет послойно зафиксировать поле температуры воздушного потока, косвенно определяющее конфигурацию и размеры вихревых структур на выходах вихревой трубы. Установлено, что параметры и структура выходящих потоков как охлажденного, так и нагретого воздуха из противоточной вихревой трубы с осевыми выходами зависят от соотношения площадей проходных сечений диафрагмы и диффузора.
Толық мәтін
ВВЕДЕНИЕ
Картина газового течения в вихревой трубе Ранка–Хилша как в камере расширения, так и на выходе из нее может служить основой для объяснения механизма эффекта Ранка. Крупномасштабные вихревые структуры в закрученном потоке внутри камеры расширения вихревой трубы были визуализированы в реальном времени с использованием метода цветной гильберт-визуализации фазовых полей оптической плотности закрученных потоков [1] методом лазерной доплеровской визуализации поля скоростей [2, 3], а также методом цифровой трассерной визуализации [4, 5]. В то же время структура вихря на выходе из камеры расширения вихревой трубы исследована в меньшей степени. Визуализация спирали вихря на "холодном" выходе противоточной вихревой трубы была получена при импульсной подкраске ядра вихря теневым способом [6].
Вследствие наличия градиента температур по сечению камеры расширения вихревой трубы температура приосевых крупномасштабных когерентных вихревых структур значительно отличается от температуры периферийного объема воздушного потока [7]. Поэтому для исследования возникающих вихревых структур возможно применение различных методов панорамной визуализации и цифрового анализа теплофизических полей [8]. Методы инфракрасной термографии тепловых полей позволяют измерить распределение теплового излучения и преобразовать его в карту температур, что возможно с применением тепловизора. Но поскольку газовые среды прозрачны в ИК-области спектра, термография часто применяется для исследования струйных потоков (например импактных струй) при их взаимодействии с некоторой поверхностью. В работах [9–11] для исследования температурных полей газовых потоков с использованием тепловизора применен первичный чувствительный элемент – преобразователь температуры, который изготавливался в виде редкой сетки тонких нитей из материала с низкой теплопроводностью. Сетка располагалась вдоль потока газа (ось сопла совпадала с плоскостью сетки).
Установка такого датчика в газовом потоке приводит к формированию на сетке распределения температуры, соответствующего температурному полю потока. Но для вихревой трубы такая схема устройства не может быть применена вследствие прецессии вихревого ядра и его сложного спирального движения после выхода из диафрагмы вихревой трубы [12].
Целью исследования была разработка устройства и методики косвенной послойной визуализации вихревых потоков на "холодном" и "горячем" выходах вихревой трубы при различных схемах ее работы.
ОПИСАНИЕ УСТАНОВКИ
Для косвенного исследования вихревых структур на "холодном" и "горячем" выходах противоточной вихревой трубы, имеющих температуру, отличающуюся от основного потока газа, предложено устройство с сеткой, располагаемой поперек воздушного потока (рис. 1).
Рис. 1. Принципиальная схема и общий вид установки: 1 – корпус вихревой трубы, 2 – штуцер подачи сжатого воздуха, 3 – штуцер выхода охлажденного воздуха, 4 – штуцер выхода подогретого воздуха, 5 – шпильки, 6 – рамка с сеткой, 7 – тепловизор.
Установка такого датчика в воздушном потоке на выходе из вихревой трубы формирует на сетке распределение температуры, соответствующее температурному полю потока в этом сечении струи. Таким образом, выполняется одновременное измерение температурного поля большого числа точек газового потока в области течения, определяемой размерами сетки. Меняя положение сетки в потоке вдоль оси выходных отверстий штуцеров, можно регистрировать термический след газодинамических структур, по которому идентифицируется их строение.
Такое расположение сетки нарушает газодинамическую структуру течения после прохождения воздуха через сетку, но позволяет фиксировать тепловой след от вихря при его контакте с сеткой. Поскольку рамка с сеткой 6 может перемещаться по шпилькам 5 вдоль оси выходных штуцеров с заданным шагом и фиксируется гайками, это позволяет послойно фиксировать тепловой след от вихря на сетке. Тепловое излучение от нитей сетки, закрепленной на рамке 6, посредством тепловизионной камеры 7 преобразуется в визуальное цветовое поле на мониторе компьютера и расшифровывается в числовые значения температуры на шкале "цвет–температура". Это дает возможность при обработке тепловой картины на мониторе измерять размеры и определять форму вихревых структур в сечении, а также определять положение оси вихрей относительно оси выходного штуцера (3 или 4) на различном расстоянии от выходного отверстия штуцера. При последующей компьютерной обработке серии кадров, полученных при пошаговом перемещении рамки с сеткой, можно построить 3 D -модель вихря после его выхода из штуцера вихревой трубы.
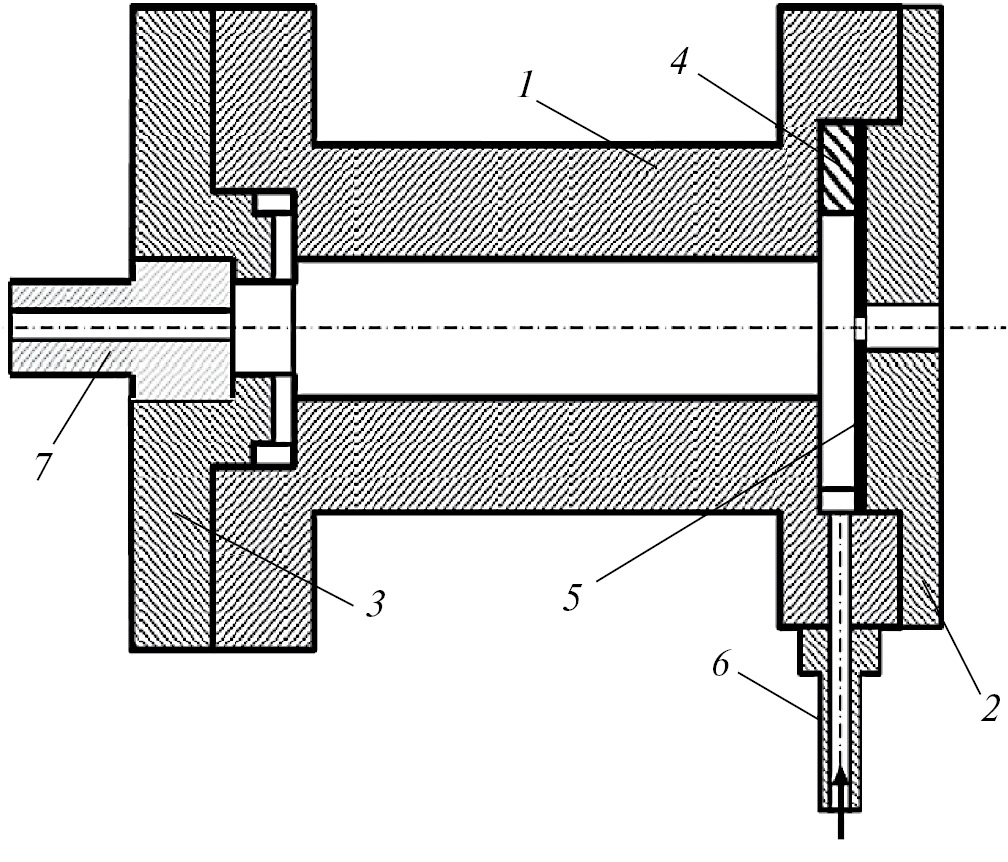
В данной работе для панорамной регистрации динамических тепловых полей (теплового излучения от нитей сетки-преобразователя ) использовалась тепловизионная камера FLIR SC7000, связанная с ноутбуком. Тепловизор работает в средневолновой (3–5 мкм) и длинноволновой (8–14 мкм) спектральных полосах. Прибор обладает высокой температурной чувствительностью (NETD) – до 18 мК при +30° С при ч астоте обновления кадров до 380 Гц ( в полнокадровом режиме). Термографический анализ проводился с помощью программы Altair. Съемка проводилась с расстояния 0.2 м, ось объектива камеры тепловизора совмещалась с осью выходных отверстий вихревой трубы. Принципиальная схема использовавшейся противоточной вихревой трубы с осевыми выходами показана на рис. 2.
Рис. 2. С хема вихревой трубы: 1 – камера расширения, 2 – передний фланец, 3 – задний фланец со щелевым развихрителем потока, 4 – закручивающее устройство (улитка), 5 – сменная диафрагма, 6 – входной штуцер, 7 – сменный выходной штуцер (диффузор) нагретого воздуха.
Диаметр камеры расширения 1 вихревой трубы – 10 мм, длина – 76 мм. Сменные штуцеры 7 фиксировались во фланце 3 . Проводилась съемка как воздушного потока, выходящего из штуцера нагретого воздуха 7 (рис. 3а), так и охлажденного воздуха из отверстия во фланце 2 (рис. 3б).
Рис. 3. Варианты установки вихревой трубы относительно тепловизора.
Для контроля результатов измерения тепловизионного поля тепловизором одновременно проводились измерения температуры воздуха хромель - алюмелевой термопарой в периферийных зонах перед сеткой, не охваченных интенсивным вихревым движением воздушного потока. Применялась термопара TC-K-TYPE-1M с диаметром проводников 0.35 мм (спай "капля") , подключаемая к электронному термометру Digital Thermometer Mastech MS 6500.
Сетка-преобразователь температуры была выполнена из мультифиламентных полиамидных нитей: диаметр продольных нитей был порядка 0.12 мм, диаметр поперечных нитей — порядка 0.06 мм. Размер ячейки сетки 0.32 × 0.32 мм2 . Для увеличения контрастности теплового поля и точности измерения температур при работе тепловизора нити сетки были предварительно зачернены. Рамка с сеткой устанавливалась перпендикулярно оси выходных штуцеров вихревой трубы. Благодаря этому получены тепловизионные изображения поперечных срезов воздушной струи как на выходе охлажденного воздуха, так и на выходе нагретого воздуха.
Снимались тепловизионные фильмы длительностью 60 с при частоте 50 кадров/ с (3000 кадров). Каждая видеозапись начиналась непосредственно перед моментом подачи давления на вход вихревой трубы (включением двухпозиционного крана), запись включала рабочий этап и этап прекращения подачи сжатого воздуха во входной штуцер. Таким образом, фиксировались как переходные процессы при включении и выключении вихревой трубы, так и этап ее стабильной работы. В отдельных случаях для фиксации возможных быстропротекающих, а также для исследования переходных процессов проводилась съемка с частотой 176 кадров/с (6000 кадров, длительность 34 с). Каждый кадр – исходная цифровая матрица размером 640×512 пикселей (разрешение матрицы тепловизора). В нем каждый элемент – значение температуры в определенной точке нити сетки в контрольный момент времени.
Для каждого сочетания диаметров диафрагмы и диффузора съемка тепловизионных фильмов проводилась как при постоянном (заданном) давлении на входе вихревой трубы (на рабочем этапе), так и при ступенчатом ( с шагом 0.05 МПа) варьировании величины входного давления сжатого воздуха в диапазоне от 0.1 до 0.6 МПа (контролировалось по манометру, кл. 2.5) . В первом случае давление поддерживалось с помощью редуктора, во втором случае варьирование давления на входе в вихревую трубу обеспечивалось путем ступенчатого изменения настройки воздушного редуктора.
В экспериментах варьировались (рис. 2) диаметр d отверстия сменной диафрагмы 5 вихревой трубы – 3, 4, 4.5 и 5 мм; диаметр отверстия диффузора D (сменный штуцер 7 ) – 2.5, 3.0, 3.5, 4, 5 и 6 мм . Вследствие этого изменялись относительный весовой расход холодного потока и величина снижения температуры охлажденного потока, а также связанные с этим вихревые структуры на выходах вихревой трубы. В проведенных опытах расход сжатого воздуха не измерялся и соотношение нагретого и охлажденного воздуха не определялось. В качестве параметра, определяющего режим работы вихревой трубы, принято отношение площади отверстия диафрагмы к площади отверстия диффузора, определяющее удельный весовой расход охлажденного воздуха:
β = ( d/D )2 ,
где d – диаметр отверстия диафрагмы 5 , D – диаметр отверстия диффузора 8 (рис. 2).
ЭКСПЕРИМЕНТАЛЬНЫЕ РЕЗУЛЬТАТЫ И ИХ ОБСУЖДЕНИЕ
Проведено исследование структуры охлажденного потока, выходящего из диафрагмы вихревой трубы (рис. 3б). Как показали опыты, в ряде случаев визуально наблюдается кольцеобразная форма ледяных образований на сетке (рис. 4 – широкое кольцо с малым центральным отверстием, рис. 5 – узкое кольцо с разрывом ), которые, как следует из полученных термограмм, обусловлены тем, что стенка вихря имеет отрицательную температуру, а его центральная часть и периферийная зона потока – положительную температуру.
Рис. 4. Вид ледяного образования на сетке, термограмма потока в сечении и по длине контрольной линии на сетке (1 px = 0.1 мм) при d = 5 мм, β = 1, P = 0.6 МПа.
Рис. 5. Вид ледяного образования на сетке, термограмма потока в сечении и по длине контрольной линии на сетке (1 px = 0.1 мм) при d = 4 мм, β = 0.64, P = 0.6 МПа.
Установлено, что при одном и том же значении давления на входе вихревой трубы в одном и том же сечении вихря (положении сетки) толщина стенки вихря и ее температура значительно различаются в зависимости от величины β. При постоянном давлении на входе в вихревую трубу наблюдается небольшая подвижность картины термограммы, очевидно, обусловленная прецессией ядра вихря. При ступенчатом варьировании давления на входе в вихревую трубу наблюдалось изменение значений температуры без заметного смещения зон максимальных и минимальных температур относительно центра отверстия диафрагмы. При этом сами зоны максимальных и минимальных температур в сечении, как и термограммы в целом, не были симметричны относительно оси выходного отверстия. Это же наблюдается и по форме ледяных образований на сетке. О ни также не симметричны относительно своего центра, имеют разрывы или различную толщину по периметру. Это, очевидно, обусловлено тем, что вследствие прецессии ядра вихрь подходит к плоскости сетки не по нормали, а под некоторым углом.
В других случаях при других значениях β (рис. 6, 7) приосевая часть сечения выходящего охлажденного потока, напротив, имеет значительно более низкую температуру, чем периферийная часть потока в том же сечении (на том же расстоянии от диафрагмы вихревой трубы). Зона минимальных температур всегда была смещена относительно оси выходного отверстия. Это обусловлено тем, что при малых числах Рейнольдса выходящий вихрь является присоединенным [12]. При ступенчатом варьирования давления положения зон максимальных и минимальных температур существенно не изменялись, но наблюдалась небольшая подвижность картинки термограммы, обусловленная прецессией ядра вихря.
Рис. 6. Вид ледяного образования на сетке, термограмма потока в сечении и по длине контрольной линии на сетке (1 px = 0.1 мм) при d = 4 мм, β = 1.78, P = 0.45 МПа.
Рис. 7. Вид ледяного образования на сетке, термограмма потока в сечении и по длине контрольной линии на сетке (1 px = 0.1 мм) при d = 4.5 мм, β = 0.81, P = 0.45 МПа.
В первом случае (рис. 6) очевидно, что вихревой жгут имеет малые поперечные размеры, а во втором случае (рис. 7), возможно, произошел полный распад вихря в том же самом сечении. Быстрое обледенение сетки во втором случае затрудняет фиксацию происходящего процесса, т.е. требует использования воздуха высокой степени осушки.
Проведено исследование структуры нагретого потока, выходящего из диффузора вихревой трубы (рис. 3а). Опыты то термографированию нагретого потока, выходящего из диффузора вихревой трубы, также показали большую зависимость структуры потока от величины β. При больших значениях β наблюдалась примерно однородная структура вихря в зоне выходного отверстия диффузора (рис. 8).
Рис. 8. Термограмма потока на выходе из диффузора в сечении и по длине контрольной линии на сетке (1 px = 0.1 мм) при D = 2.5 мм, β = 4 , P = 0.45 МПа.
При малых значениях β в приосевой зоне потока наблюдался приток охлажденного воздуха со стороны диафрагмы (рис. 9), что соответствует измерениям температуры в осевой части вихревой трубы, полученным с применением термопары [13].
Рис. 9. Термограмма потока на выходе из диффузора в сечении и по длине контрольной линии на сетке (1 px = 0.1 мм) при D = 5 мм, β = 0.36 , P = 0.45 МПа.
При этом в большинстве случаев приосевой вихрь также не являлся центральным. Это вместе с некоторой подвижностью картины термограммы, очевидно, обусловлено прецессией ядра приосевого вихря. Его положение в одном и том же сечении относительно оси потока (направление и величина смещения) зависело от величины β , но не изменялось при ступенчатом изменении величины входного давления.
ЗАКЛЮЧЕНИЕ
Результаты обработки тепловизионных фильмов не являются визуализацией вихревого воздушного потока. Это визуализация динамической характеристики процесса – теплового воздействия воздушной струи на сетку-преобразователь температуры. Но такая наглядная информация позволяет косвенно определить послойную геометрию и размеры возникающих вихревых структур. Установлена относительная неизменность картины теплового поля в сечении при постоянном давлении на входе в вихревую трубу. Это дает возможность при последующей компьютерной обработке серии кадров, послойно полученных на разном расстоянии сетки от выходного отверстия, построить 3D-модели вихревых структур, выходящих из штуцеров вихревой трубы.
Использованное устройство и методика позволили установить, что структура выходящих потоков как охлажденного, так и нагретого воздуха противоточной вихревой трубы с осевыми выходами, а также положение, форма и размеры вихревых образований зависят от соотношения площадей проходных сечений диафрагмы и диффузора. Это дает возможность получения новых сведений о механизме эффекта Ранка, лежащего в основе работы вихревых труб.
Авторлар туралы
В. Самохвалов
Самарский национальный исследовательский университет им. академика С.П Королева
Хат алмасуға жауапты Автор.
Email: vn_samokhvalov@mail.ru
Ресей, Самара
Әдебиет тізімі
- Арбузов В.А., Дубнищев Ю.Н., Лебедев А.В., Правдина М.Х., Яворский Н.И. // Письма в ЖТФ. 1997. Т. 23, № 23. С.84.
- Белоусов П.П., Белоусов П.П., Дубнищев Ю.Н. // Письма ЖТФ. 2002. Т. 28. № 16. С. 6.
- Xiangji Guo, Bo Zhang, Ling Li, Bo Liu, Tinghuang Fu // International Journal of Refrigeration. 2019. V. 101. P. 106.
- Кныш Ю.А., Редькин Е.С., Дмитриев Д.Н. // Вестник Самарского государственного аэрокосмического университета. 2011. № 5(29). С. 113.
- Xue Y., Binns JR., Arjomandi M., Yan H. // International Journal of Heat and Fluid Flow. 2019. V. 75. P. 195.
- Пиралишвили Ш.А., Поляев В.М., Сергеев М.Н. Вихревой эффект. Эксперимент, теория, технические решения. М.: Энергомаш, 2000. С. 412.
- Кузнецов В.И., Макаров В.В. // Омский научный вестник. Сер. Авиационно-ракетное и энергетическое машиностроение. 2018. Т. 2. № 2. С. 4. https://doi.org/10.25206/2588-0373-2018-2-2-48-54 .
- Знаменская И.А. // Научная визуализация. 2021. Т. 13. № 3. С. 125. https://doi.org/10.26583/sv.13.3.13
- Жилкин Б.П., Ларионов И.Д., Шуба А.Н. // ПТЭ. 2004. № 4. С. 136.
- Жилкин Б.П., Зайков Н.С., Кисельников А.Ю., Миренский Ю.В., Худяков П.Ю. // ПТЭ. 2010. № 1. С. 155.
- Жилкин Б.П., Зайков Н.С., Кисельников А.Ю., Худяков П.Ю. // Известия РАН. Механика жидкости и газа. 2013. № 2. С. 104.
- Пиралишвили Ш.А. Вихревой эффект. Т. 1. Физическое явление, эксперимент, теоретическое моделирование. М.: Научтехлитиздат. 2013. С. 342.
- Самохвалов В.Н. // Письма в ЖТФ. 2021. Т. 47. № 19. С. 41. https://doi.org/10.21883/PJTF.2021.19.51513.18786
Қосымша файлдар










