Прибор, измеряющий предел прочности многослойных стержней методом двухточечного изгиба
- Authors: Мартиросян М.Д.1
-
Affiliations:
- Национальный исследовательский университет “МЭИ”
- Issue: No 4 (2024)
- Pages: 181-184
- Section: ЛАБОРАТОРНАЯ ТЕХНИКА
- URL: https://ogarev-online.ru/0032-8162/article/view/280096
- DOI: https://doi.org/10.31857/S0032816224040211
- EDN: https://elibrary.ru/NXWFNL
- ID: 280096
Cite item
Full Text
Abstract
На основании требований, предъявляемые к прибору (в частности, требование соблюдения всех теоретических нюансов метода, положенного в его основу), прибор был сконструирован и протестирован. Результаты тестирования были статистически обработаны, благодаря чему было выявлено хорошее согласие между полученным значением среднего предела прочности волокон и данными из спецификаций к ним. Как следствие, получившийся прибор соответствует всем требованиям, к нему предъявленным: обеспечивает хранение в памяти полностью изменяемых алгоритмов измерений и их статистической обработки в автоматическом режиме; отправку результатов измерений и полученных с их помощью данных на рабочую станцию в цифровом виде. Легкость и редкая необходимость планового технического обслуживания прибора, его компактность, простота конструкции и эксплуатации являются дополнительными преимуществами.
Full Text
ВВЕДЕНИЕ
Данный прибор предназначен для измерения предела прочности многослойных стержней различной конфигурации, типичным примером которых может служить коаксиальный кабель. Это обстоятельство, а также широкая область применения прибора ( к примеру, абсолютное большинство строительных объектов и узлов связи, а также контроль качества на некоторых производствах) позволяют установить главное требование к прибору: все алгоритмы прибора, использующие измеренные значения для расчета предела прочности, вспомогательных параметров и обрабатывающие получившиеся результаты расчетов, должны быть легко изменяемы пользователем и иметь возможность храниться в постоянном запоминающем устройстве на случай смены пользователем рабочей станции.
Остальные требования, которым должен соответствовать прибор и которые не менее важны, чем главное, можно описать следующим образом. Прибор должен быть автоматизирован и возвращать информацию в цифровом виде о совершенных измерениях на рабочую станцию, а также быть совместимым с их основными типами. Техническое обслуживание аппарата желательно сделать максимально простым – т. е. ограничить его установкой, первоначальной настройкой в паре с рабочей станцией и дальнейшей калибровкой после числа измерений порядка 1000. Для прибора должно быть приемлемо питание как от сети, так и от внутреннего элемента. Простота конструкции прибора, его компактность и принцип простоты в обращении необходимы.
ТЕОРЕТИЧЕСКОЕ ОБОСНОВАНИЕ МЕТОДА РАБОТЫ ПРИБОРА
Здесь и далее в качестве многослойного стержня рассматривается его частный случай – оптическое волокно (ОВ) – ради согласования терминов с источниками и более наглядного представления о рассматриваемом далее методе. Описанные в работах [1–3] методы двухточечного изгиба, трехточечного изгиба и растяжения соответственно имеют серьезные различия, поэтому необходимо выбрать оптимальный метод. В работе [1] было проведено детальное сравнение метода двухточечного изгиба с методом растяжения, в котором представляет интерес следующее утверждение: только малая часть оптического волокна подвергается нагрузке при методе двухточечного изгиба, значит, в этой части влияние различных производственных дефектов будет выражено слабее, и это влияние будет описывать проще. Это утверждение подтверждается и при сравнении методов трех- и двухточечного изгибов в работе [2].
Метод двухточечного изгиба реализуется следующим образом: происходит последовательное нагружение петли изогнутого волокна между стационарной и движущейся полированными пластинами, которые приближаются друг к другу, пока волокно не сломается, при этом волокно симметрично помещается между пластинами с помощью прижатия к направляющей пластине, полированные пластины движутся по направлению друг к другу с помощью программируемого шагового двигателя, который останавливается, когда излом волокна улавливается датчиком давления. Датчик давления – резистор; он имеет переменное сопротивление в зависимости от давления, приложенного к его активной зоне – окружности диаметром около 13 мм; этот резистор размыкает цепь (имеет сопротивление 1 МОм) в случае, когда давление к его активной зоне не приложено. При нагружении ОВ движущейся пластиной оно давит на активную зону датчика давления, жестко закрепленного на неподвижной пластине, а во время излома воздействие на активную зону датчика прекращается. Деформация на изломе рассчитывается из отклонения полированных пластин на изломе и диаметра волокна.
РЕЗУЛЬТАТЫ КОНСТРУИРОВАНИЯ ПРИБОРА
При конструировании прототипа прибора было решено связать шаговый двигатель с микроконтроллером с загруженными в его запоминающее устройство алгоритмами как измерений, так и их первичной обработки – с их помощью возможно использовать прибор в автоматическом режиме. Алгоритмы могут быть изменены и дополнены пользователем в случае надобности; также микроконтроллер поддерживает возможность соединения с рабочими станциями через интерфейсы COM и USB для удаленного управления и более сложной обработки результатов измерений. Также реализован графический интерфейс, который при желании может быть использован для настройки параметров установки, в том числе и “нулевого” положения подвижной пластины, когда она сомкнута с неподвижной пластиной. Для точного задания “нулевого” положения необходимо поместить на устройство шкалу, проградуированную в миллиметрах, с началом отсчета в нижней точке ближнего к подвижной платформе края неподвижной платформы. Желательно указать параметр шага двигателя менее 1 мкм для обеспечения лучшей точности измерений. Прибор измеряет расстояние между пластинами в момент излома образца и вычисляет его прочность, исходя из расчетной формулы, полученной в работе [4]:
(1)
где σ – измеряемый предел прочности образца на изгиб, d [мм] – диаметр образца, D [мм] – расстояние между пластинами в момент излома. Модуль Юнга E определяется в работе [2] нелинейным образом:
(2)
где E0 – модуль Юнга при малых деформациях, который для кварцевого стекла, основного для ОВ материала, равен 72.2 ГПа; E 1 и E2 – параметры, определяющие нелинейную зависимость модуля Юнга от деформации, равные для кварцевого стекла 772.4 ГПа и −13058 ГПа соответственно, как сообщается в источнике [2]. Деформация ε определена в работе [2]:
(3)
где d [мм] – диаметр волокна, D [мм] – расстояние между пластинами, которое фиксируется в момент разрушения.
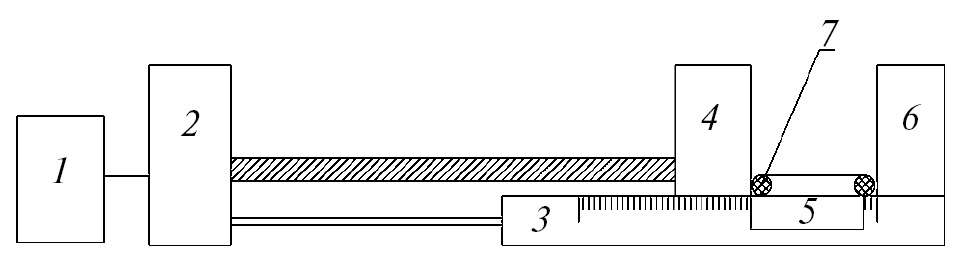
С учетом описанного выше была создана трехмерная модель прибора в системе автоматизированного проектирования и разработана программа с графическим интерфейсом, позволяющая выполнять измерения в автоматическом режиме. Также был собран прототип прибора и с его помощью были выполнены необходимые измерения. На рис. 1 изображена схема прибора, а на рис. 2 изображен его эскиз.
Рис. 1. Схема прибора-измерителя предела прочности многослойных стержней: 1 – микроконтроллер, 2 – шаговый двигатель, 3 – направляющая пластина с проградуированной шкалой, 4 – движущаяся полированная пластина, 5 – зажим для оптического волокна, 6 – неподвижная полированная пластина, 7 – испытуемое на прочность ОВ. Датчик давления в схеме не показан из-за его малых габаритов.
Рис. 2. Эскиз прибора-измерителя предела прочности многослойных стержней: 1 – микроконтроллер, 2 – шаговый двигатель, 3 – направляющая пластина с проградуированной шкалой, 4 – движущаяся полированная пластина, 5 – зажим для оптического волокна, 6 – неподвижная полированная пластина, 8 – датчик давления. Испытуемое на прочность ОВ не показано для лучшей видимости зажима.
АНАЛИЗ ПРОВЕДЕННЫХ ИЗМЕРЕНИЙ
Были измерены три вида ОВ с заранее известными параметрами:
- ОВ диаметром 125 мкм, покрытое прозрачным полимером. Толщина покрытия составляет примерно 42.5 мкм.
- ОВ с диаметром сердечника 62.5 мкм и диаметром оболочки 125 мкм. Толщина покрытия из полиимида составляет примерно 10 мкм.
- ОВ с медным покрытием толщиной около 40 мкм. Его сердечник и оболочка выполнены из диоксида кремния. Диаметр сердечника составляет 160 мкм, диаметр оболочки – 390 мкм.
Измерения проводились на ОВ, не подвергавшихся эксплуатации. Общая длина всех испытуемых образцов волокон всех видов составляла около 50 м, для каждого вида было совершено 30 измерений. Статистическая обработка результатов измерений проводилась посредством применения модели, описанной в работе [1]. Составлялся ряд образцов, расположенных по мере возрастания прочности, для определения вероятности излома при напряжениях, меньших или равных пределу прочности определенного образца, по формуле
(3)
где n i – номер образца в ряду, N – общее число образцов.
По этим данным рассчитывались выборочное среднее и выборочная медиана, а также оценивалась теоретическая кривая распределения и рассчитывались теоретическое математическое ожидание и теоретическая медиана. Среднее значение предела прочности для каждого вида испытуемых образцов было определено как среднее из этих четырех показателей для соответствующего вида. Результаты показаны на рис. 3.
Рис. 3. Результаты измерения предела прочности для ОВ типов 1, 2 и 3. Цифры у точек кривых соответствуют типам ОВ, измерениям прочности которых они отвечают.
Графики на рис. 3 хорошо согласуются с теорией метода двухточечного изгиба, представленной в работе [1]. Для ОВ типа 1 среднее значение предела прочности σср = 6.12 ГПа. Производителем заявлено значение примерно 10 × 0.63 ГПа, что хорошо соответствует полученному значению. Для ОВ типа 2 среднее значение предела прочности составляет σср = 6.882 ГПа, что хорошо согласуется со значением из спецификации изделия примерно 10 × 0.70 ГПа. Для ОВ типа 3 средний предел прочности составляет σср = 8.91 ГПа, что хорошо соответствует значению, заявленному изготовителем, хотя изготовитель и обозначил на него большой допуск: 9.40 ± 0.94 ГПа.
Рис. 4. Фотография прототипа прибора, с помощью которого были проведены измерения.
ЗАКЛЮЧЕНИЕ
Полученный в результате работы прибор, представленный на рис. 4, полностью отвечает всем поставленным требованиям, в том числе и требованию хорошего соответствия теории. Данный прибор имеет ряд особенностей, которые позволяют применять его как полноценный измеритель прочности ОВ. К этим особенностям относятся хранение в его памяти полностью изменяемых алгоритмов измерений и их статистической обработки в автоматическом режиме, отправка результатов измерений и полученных с их помощью данных на рабочую станцию в цифровом виде, легкость и редкая необходимость планового технического обслуживания, компактность прибора, простота его конструкции, а также простота его применения. Прибор должен улучшить качество проведения как первичного электромонтажа, так и последующего технического обслуживания уже готовых объектов различной направленности.
About the authors
М. Д. Мартиросян
Национальный исследовательский университет “МЭИ”
Author for correspondence.
Email: martirosyan-mikael@yandex.ru
Russian Federation, Москва
References
- Matthewson M., Kurkjian C.R., Gulati S.T. // J. Am. Ceram. Soc. 1986. V. 69. P. 815. http://doi.org/10.1111/j.1151-2916.1986.tb07366.x
- Байкова Л.Г., Песина Т.И., Kurkjian C.R., Tang Zh., Киреенко М.Ф., Тихонова Л.В., Пух В.П. // ЖТФ. 2013. Т. 83. № 10. С. 55.
- Богатырев В.А., Бубнов М.М., Дианов Е.М. и др. // Квантовая электроника. 1981. Т. 8. № 4. С. 844.
- Bogatyrjov V.A., Bubnov М.М., Dianov Е.М., Makarenko A.Y., Rumyantsev S.D., Semjonov S.L., Sysoljatin A.A. // Optical Fiber Commun. 1991. V. 4. Р. 115. https://doi.org/10.1364/OFC.1991.WL9
Supplementary files






