Мощный источник сверхширокополосного излучения с эллиптической поляризацией и мегавольтным эффективным потенциалом
- Authors: Андреев Ю.А.1, Ефремов А.М.1, Кошелев В.И.1, Плиско В.В.1, Смирнов С.С.1
-
Affiliations:
- Институт сильноточной электроники Сибирского отделения Российской академии наук
- Issue: No 4 (2024)
- Pages: 107-114
- Section: ЭЛЕКТРОНИКА И РАДИОТЕХНИКА
- URL: https://ogarev-online.ru/0032-8162/article/view/280086
- DOI: https://doi.org/10.31857/S0032816224040128
- EDN: https://elibrary.ru/NYIPMW
- ID: 280086
Cite item
Full Text
Abstract
Разработан мощный источник сверхширокополосного излучения с эллиптической поляризацией на основе 64-элементной решетки спиральных антенн. Решетка возбуждалась биполярным импульсом напряжения амплитудой до 240 кВ и длительностью 1 нс на частоте повторения 100 Гц. Получены импульсы излучения с коэффициентом эллиптичности 0.64 и пиковой напряженностью поля 250 кВ/м на расстоянии 10 м.
Full Text
ВВЕДЕНИЕ
Мощные источники сверхширокополосного (СШП) излучения разрабатываются для исследований воздействия сильных электромагнитных полей на электронные системы [1, 2], биологические объекты [3], а также для радаров с высоким пространственным разрешением [4]. В исследованиях используются, в основном, СШП-источники с линейной поляризацией на основе антенн различного типа (IRA, HIRA, TEM, KA) [5]. Эффективность воздействия СШП-импульса на электронные системы может зависеть от направления вектора электрического поля относительно объекта. В этом случае перспективно применение импульсов излучения с эллиптической поляризацией, в которых положение вектора электрического поля изменяется в течение импульса.
Для излучения электромагнитного поля с эллиптической поляризацией широко используются спиральные антенны [6, 7]. Среди мощных источников СШП-излучения с эллиптической поляризацией выделим три устройства [8–10], которые различаются формой импульсов напряжения (монополярный, биполярный, затухающие колебания), используемых для возбуждения антенн, и конструкцией устройств. Для сравнительной оценки мощных источников СШП-импульсов используется эффективный потенциал излучения, определяемый как произведение пиковой напряженности поля Ер на расстояние r в дальней зоне ( rЕр ). В созданных устройствах величина rЕр составляет сотни кВ.
В Институте сильноточной электроники СО РАН ведутся исследования мощных источников СШП-излучения с эллиптической поляризацией на основе цилиндрических [11, 12] и конических [13] спиральных антенн, возбуждаемых высоковольтными наносекундными биполярными импульсами. В этих источниках были получены импульсы излучения с коэффициентом эллиптичности p = 0.75–0.9 и эффективным потенциалом 270–300 кВ. Для увеличения rЕр до 440 кВ был создан СШП-источник [14] с 4-элементной решеткой цилиндрических спиральных антенн. При этом коэффициент эллиптичности излучения в главном направлении диаграммы был равен примерно 0.7. Основное внимание уделялось исследованию источников [11, 14] на основе цилиндрических спиральных антенн с числом витков N = 4–4.5, возбуждаемых биполярным импульсом длительностью 1 нс.
Целью данной работы является увеличение эффективного потенциала излучения с эллиптической поляризацией до мегавольтного уровня с использованием 64-элементной решетки, возбуждаемой высоковольтным биполярным импульсом длительностью 1 нс. Большое внимание при этом было уделено обоснованию выбора числа витков спиральной антенны, а также анализу влияния расстояния между элементами решетки на энергетическую эффективность излучателя. Отметим, что тестовые измерения решетки с использованием низковольтного биполярного импульса длительностью 1 нс были выполнены ранее [15].
КОНСТРУКЦИЯ ИСТОЧНИКА
Источник мощных СШП-импульсов (рис. 1) состоит из генератора монополярных импульсов СИНУС-200 (1), формирователя биполярных импульсов 2 , делителя мощности с трансформатором импедансов 3 и 64-элементной решетки спиральных антенн 4. Генератор СИНУС-200 с формирователем биполярных импульсов длительностью 1 нс и пиковой мощностью 3.2 ГВт подробно описан в работе [16]. Дополнительно выполнена модернизация промежуточной ступени обострения: увеличена мощность рассеяния ограничительных резисторов HVR в цепи зарядки линии и введено водяное охлаждение разрядника. Эти меры позволили уменьшить в два раза время на охлаждение генератора биполярных импульсов между пачками импульсов длительностью 10 минут на частоте 100 Гц.
Рис. 1. Внешний вид источника СШП-излучения: 1 – генератор высоковольтных монополярных импульсов СИНУС-200, 2 – формирователь биполярных импульсов, 3 – делитель мощности, 4 – решетка спиральных антенн.
Для передачи биполярного импульса от генератора к элементам антенной решетки использовался 64-канальный делитель мощности с одновременной трансформацией сопротивления. На входе делителя мощности волновое сопротивление равно волновому сопротивлению на выходе генератора биполярных импульсов 12.5 Ом. Суммарное сопротивление 64 выходов равно 50/64 = 0.78 Ом. Для изоляции использовалось вакуумное масло ВМ-1. Расчеты и конструкция делителя подробно описаны в работе [17].
Решетка состоит из 64 (8 × 8) цилиндрических спиральных антенн, установленных на металлической пластине и соединенных с делителем мощности через плоский проходной изолятор. Апертура решетки составляет 1.41×1.41 м2 .
ХАРАКТЕРИСТИКИ РЕШЕТКИ СПИРАЛЬНЫХ АНТЕНН
Для режима аксиального излучения биполярного импульса длительностью 1 нс с центральной частотой спектра f0 = 1 ГГц были выбраны геометрические параметры цилиндрической эквидистантной спиральной антенны. Средний диаметр витка равен D = 9.6 см, межвитковое расстояние S = 6.7 см. Антенны изготовлены из дюралюминиевой трубки диаметром a = 1 см. Первоначально необходимо было выбрать число витков спирали. С этой целью были выполнены численные расчеты с использованием программы CST Studio Suite и тестовые измерения антенн. В расчетах и экспериментах спиральные антенны устанавливались на круглой металлической пластине диаметром 30 см.
Критериями для оптимизации антенны были коэффициент эллиптичности p , эффективность по пиковой напряженности поля kE = rEp / Ugmax , где Ugmax – амплитуда биполярного импульса напряжения, а также эффективность по энергии kw и диаграмма направленности. Величина kw определялась из соотношения [14]
(1)
Здесь Ug (f) – спектр биполярного импульса напряжения, KV (f) – зависимость коэффициента стоячей волны по напряжению (КСВН) от частоты f .
Зависимости величин kE и p от числа витков N приведены на рис. 2. Расчеты kE (кривая 1) и p (кривая 2) выполнены для N = 1–10. Измерения p (кривая 3) ограничены сверху числом витков N = 6. Расчеты и измерения p (N) согласуются в пределах погрешности измерений. Максимальные значения p получены при N = 3 и N = 6. Однако при N = 3 уменьшается величина kE . Увеличение N до 10 приводит к незначительному увеличению kE при практически постоянной величине p. При этом ухудшается механическая жесткость антенны. С учетом всех приведенных параметров мы выбрали для решетки спиральную антенну с N = 6.
Рис. 2. Зависимости эффективности по пиковой напряженности поля (1) и коэффициента эллиптичности (2, 3) от числа витков спиральной антенны: кривая 2 – расчет, 3 –эксперимент.
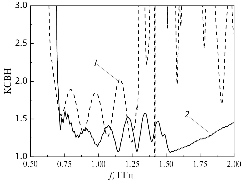
Для более детального сравнения антенн с N = 3 и N = 6 были выполнены расчеты КСВН, диаграмм направленности и оценки величин kE , kw . Для антенны с N = 6 были выполнены также измерения этих характеристик. На рис. 3 приведены рассчитанные зависимости КСВН от частоты для антенн с N = 3 (кривая 1) и N = 6 (кривая 2). Различие КСВН (кривые 1 и 2) наблюдается в области низких частот. Здесь также показаны результаты измерения КСВН для антенны с N = 6 (кривая 3). Существенное различие рассчитанного и измеренного КСВН (кривые 2 и 3) в области частот более 1.5 ГГц обусловлено конструкцией конического перехода от входа антенны к кабельному разъему. Измерения КСВН проводились с помощью Network Analyzer Agilent N5227A.
Рис. 3. Зависимость КСВН от частоты для спиральных антенн с N = 3 (1) и N = 6 (2, 3): кривая 2 – расчет, 3 – эксперимент.
На рис. 4 показаны рассчитанные диаграммы направленности по пиковой напряженности электрического поля E p (θ) в горизонтальной (zx) и вертикальной (zy) плоскостях. Для антенны с N = 3 отклонение максимума диаграммы от оси z (θ = 0) составляет – 6° и – 4° в горизонтальной и вертикальной плоскостях соответственно (кривые 1 и 2). Для антенны с N = 6 наблюдается отклонение максимума диаграммы от оси в горизонтальной плоскости на –5° (кривая 3). В вертикальной плоскости максимум диаграммы отклоняется от оси на –2° (кривая 4). Отметим, что конец последнего витка спирали находился в горизонтальной плоскости.
Рис. 4. Диаграммы направленности по пиковой напряженности электрического поля в горизонтальной и вертикальной плоскостях для антенн с N = 3 (1, 2) и N = 6 (3, 4) соответственно.
Ниже приведены оценки эффективностей по пиковой напряженности поля на оси и энергии первоначально для антенны с N = 3: kE = 0.94, kw = 0.76. Для антенны с N = 6: kE = 1.02 (расчет) и 1.1 (измерение), kw = 0.78 (расчет) и kw = 0.76 (измерение). Результаты расчетов и экспериментов согласуются в пределах погрешности измерений. Отклонение максимума диаграммы направленности от оси (рис. 4) и меньшая энергетическая эффективность приводят к уменьшению kE для антенны с N = 3.
Были проведены также измерения диаграммы направленности по пиковой напряженности поля для антенны с N = 6. Здесь и далее в измерениях, как и ранее [15], использовалась приемная ТЕМ-антенна с апертурой 8×40 см2 . Результаты измерений (кривая 1) и расчетов (кривая 2) в горизонтальной плоскости показаны на рис. 5. Результаты расчетов и измерений диаграммы направленности согласуются между собой.
Рис. 5. Диаграммы направленности по пиковой напряженности электрического поля в горизонтальной плоскости для антенны с N = 6: кривая 1 – эксперимент, 2 – расчет.
В данной квадратной решетке 8×8 спиральных антенн с N = 6 расстояние между элементами задано конструкцией предварительно созданного делителя мощности [17] и равно d = 18 см в двух плоскостях. Однако представлялось интересным в численных расчетах исследовать влияние расстояния между элементами на энергетическую эффективность излучателя. В расчетах использовалось приближение периодических граничных условий, что соответствовало двумерной бесконечной решетке. Такое приближение несколько снижает точность моделирования, поскольку оно не учитывает краевые эффекты и разницы фаз на краях и в центре. Полное моделирование решетки не представляется возможным вследствие недостаточных ресурсов персонального компьютера. Расстояние d изменялось в пределах 11–100 см. Расстояние d = 100 см выбрано из примерного равенства пространственной длительности излученного импульса [15].
Первоначально рассчитывался КСВН элемента бесконечной решетки. Затем по результатам расчетов оценивалась величина kw . На рис. 6 показан КСВН элемента бесконечной решетки при d = 18 см (кривая 1) и для сравнения приведен расчетный КСВН одиночной антенны (кривая 2). Видно, что для элемента решетки величина КСВН увеличилась, а нижняя граничная частота при КСВН = 2 сдвинулась на 50 МГц в сторону низких частот.
Рис. 6. Зависимость КСВН от частоты для элемента бесконечной решетки при d = 18 см (1) и одиночной антенны (2).
На рис. 7 показана зависимость энергетической эффективности элемента бесконечной решетки спиральных антенн от расстояния между элементами. Величина kw возрастает до 0.77 при увеличении d от 11 до 16 см. Затем наблюдается провал kw в диапазоне d = 17–50 см. При больших d (d = 50–100 см) среднее значение kw составляет примерно 0.73, что немного меньше kw = 0.78 для одиночной антенны. Отметим, что для решетки с d = 18 см величина kw = 0.7.
Рис. 7. Зависимость энергетической эффективности элемента бесконечной решетки спиральных антенн с N = 6 от расстояния между элементами.
Для оценки диаграммы направленности решетки 8×8, используемой в мощном источнике СШП-излучения с эллиптической поляризацией, использовались два подхода.
В первом подходе диаграмма направленности решетки (рис. 8, кривая 1) вычислялась как произведение измеренной диаграммы направленности одиночной спиральной антенны (рис. 5, кривая 1) и множителя решетки Fn [18]:
(2)
Здесь ψ = kd sin θ – разность фаз между соседними излучателями, k =2π / λ , n – число элементов в решетке вдоль плоскостей zx или zy , λ – длина волны излучения. В нашем случае мы выбрали длину волны, соответствующую максимуму спектра λ0 = 30 см, а число элементов в решетке вдоль плоскости zx равно n = 8.
Рис. 8. Диаграммы направленности решетки 8×8 в горизонтальной плоскости, рассчитанные с помощью множителя решетки (1), прямым суммированием импульсов излучения (2) и измерений (3).
Во втором подходе диаграмма направленности решетки (рис. 8, кривая 2) вычислялась прямым суммированием импульсов излучения в дальней зоне на расстоянии 100 м. В расчетах форма импульса излучения была постоянной и соответствовала импульсу на оси. Это допущение было принято вследствие узкого диапазона углов, оно существенно упрощало расчеты. На рис. 8 (кривая 3) приведены также результаты измерений диаграммы направленности решетки [15]. Все результаты показаны на рис. 8 для горизонтальной плоскости zx. Видно, что диаграмма направленности, рассчитанная прямым сложением импульсов излучения, лучше соответствует измеренной диаграмме. Аналогичные результаты получены и для вертикальной плоскости zy.
ИЗЛУЧЕНИЕ МОЩНЫХ ИМПУЛЬСОВ С ЭЛЛИПТИЧЕСКОЙ ПОЛЯРИЗАЦИЕЙ
Выполнены экспериментальные исследования излучения мощных СШП-импульсов с эллиптической поляризацией решеткой 8×8 спиральных антенн c числом витков N = 6, возбуждаемой высоковольтным биполярным импульсом длительностью 1 нс на частоте повторения 100 Гц. Импульс напряжения генератора на входе антенной решетки показан на рис. 9а. Максимальная амплитуда напряжения Ugmax соответствует положительной полярности импульса.
Рис. 9. Импульсы напряжения на входе антенной решетки (а) и напряженности вертикальной компоненты электрического поля на расстоянии r = 10.36 м (б).
В экспериментах с помощью приемной ТЕМ-антенны измерялись вертикальная Ey и горизонтальная Ex компоненты электрического поля. Напряженность электрического поля вычислялась делением выходного напряжения на эффективную высоту приемной антенны, равную половине высоты апертуры. Расстояние вдоль оси z между серединой спиральных антенн и плоскостью приемной антенны было r = 10.36 м. Осциллограмма вертикальной компоненты напряженности электрического поля в главном направлении показана на рис. 9б. Импульс излучения содержит пять основных временных лепестков и один дополнительный, который сдвинут по времени. Возможно, он обусловлен отражением импульса от окружающих предметов.
По результатам измерений компонент Ey (t) и Ex (t) строился годограф вектора напряженности электрического поля в главном направлении диаграммы направленности (рис. 10). Коэффициент эллиптичности, определяемый как отношение малой и большой осей, равен p = 0.64, и он существенно меньше значения p = 0.84 для одиночной антенны (рис. 2 и работа [15]). Величина произведения пиковой напряженности электрического поля на расстояние rEp в этих измерениях составляла 2.7 МВ при Ugmax = 240 кВ. Пиковая мощность импульса напряжения генератора на входе решетки при этом была 4.6 ГВт, а пиковая плотность мощности излучения в главном направлении, оцененная из соотношения Ep2 /120 π , достигала 180 МВт/м2 . Эффективный потенциал излучения оценивается по пиковой напряженности электрического поля в дальней зоне с использованием критерия rEp ≈ const. В данном случае граница дальней зоны для частоты 1 ГГц, вблизи которой сосредоточена основная доля энергии излучения, находится на расстоянии 26.7 м. Из исследований [16] с решеткой 8 × 8 комбинированных антенн, а также измерений зависимости rEp решетки 8 × 8 спиральных антенн [15], можно полагать, что эффективный потенциал излучения превышает измеренную на расстоянии r = 10.36 м величину rEp не более, чем на 10%. Отметим, что граница дальней зоны по критерию p (r) ≈ const находится дальше границы установления сферической волны (rEp ≈ const) [12]. Поэтому полученное на расстоянии r = 10.36 м значение p = 0.64 является нижней оценкой коэффициента эллиптичности.
Рис. 10. Годограф вектора напряженности электрического поля в главном направлении излучения на расстоянии r = 10.36 м от решетки спиральных антенн.
Для проверки стабильности излучения были выполнены следующие эксперименты. Источник излучения работал на частоте 100 Гц в течение 10 минут, затем был перерыв продолжительностью 30 минут для охлаждения генератора биполярных импульсов напряжения. Затем генератор снова включался на 10 минут. Были выполнены три серии измерений. Одновременно регистрировались амплитуда импульса напряжения Ugmax и ее среднеквадратичное отклонение σ , а также амплитудное значение вертикальной компоненты электрического поля, которое близко к Ep на годографе (рис. 10), и ее среднеквадратичное отклонение σ. Величина Ep умножалась на расстояние r = 10.36 м.
Измерения проводились одновременно с помощью осциллографов TDS 7404 и TDS 6604. Результаты измерений, усредненные по 100 импульсам, показаны на рис. 11а, б. Среднее значение Ugmax в трех сериях измерений равно 227, 216, 226 кВ и, соответственно, по трем сериям Ugmax = 223 кВ. При этом величина σ в трех сериях измерений равна соответственно 3.3%, 3.43% и 3.16%. Среднее значение по трем сериям σ = 3.3%. Среднее значение rEp в трех сериях измерений равно 2.49, 2.56, 2.49 МВ и, соответственно, по трем сериям rEp = 2.51 МВ. При этом величина σ в трех сериях измерений равна соответственно 11.17%, 9.91% и 10.43%. Среднее значение по трем сериям σ = 10.5%. Величина kE = rEp / Ugmax , определенная по средним значениям, равна 11.26. Отметим, что для решетки 8×8 комбинированных антенн с линейной поляризацией излучения [16] kE = 19.57 при расстоянии r = 10.5 м.
Рис. 11. Зависимости от времени амплитуды импульса напряжения генератора на входе антенной решетки и ее среднеквадратичного отклонения (а), пиковой напряженности вертикальной компоненты электрического поля на расстоянии r = 10.36 м и ее среднеквадратичного отклонения (б) при частоте повторения импульсов 100 Гц.
ЗАКЛЮЧЕНИЕ
Создан мощный источник сверхширокополосного излучения с эллиптической поляризацией (p = 0.64) на основе 64-элементной решетки цилиндрических спиральных антенн, возбуждаемой высоковольтными биполярными импульсами длительностью 1 нс на частоте повторения 100 Гц. Источник был испытан тремя сериями импульсов по 60 тысяч импульсов каждый. При амплитуде биполярного импульса напряжения 220 кВ и стабильности 3% получены импульсы излучения с произведением rEp = 2.5 МВ и стабильностью 10%.
БЛАГОДАРНОСТИ
Авторы благодарят Томский центр коллективного пользования СО РАН за предоставленный прибор Network Analyzer Agilent N5227A.
ФИНАНСИРОВАНИЕ РАБОТЫ
Работа выполнена в рамках государственного задания Министерства науки и высшего образования Российской Федерации (FWRM-2021-0002) и при поддержке Российского фонда фундаментальных исследований (проект № 16-8-00297).
About the authors
Ю. А. Андреев
Институт сильноточной электроники Сибирского отделения Российской академии наук
Email: koshelev@lhfe.hcei.tsc.ru
Russian Federation, Томск
А. М. Ефремов
Институт сильноточной электроники Сибирского отделения Российской академии наук
Email: koshelev@lhfe.hcei.tsc.ru
Russian Federation, Томск
В. И. Кошелев
Институт сильноточной электроники Сибирского отделения Российской академии наук
Author for correspondence.
Email: koshelev@lhfe.hcei.tsc.ru
Russian Federation, Томск
В. В. Плиско
Институт сильноточной электроники Сибирского отделения Российской академии наук
Email: koshelev@lhfe.hcei.tsc.ru
Russian Federation, Томск
С. С. Смирнов
Институт сильноточной электроники Сибирского отделения Российской академии наук
Email: koshelev@lhfe.hcei.tsc.ru
Russian Federation, Томск
References
- Усыченко В.Г., Сорокин Л.Н. Стойкость сверхвысокочастотных радиоприемных устройств к электромагнитным воздействиям. Москва: Радиотехника, 2017.
- Giri D.V., Hoad R., Sabath F. High-power Electromagnetic Effects on Electronic Systems. Boston/London: Artech House, 2020.
- Зиновьев С.В., Евдокимов А.Н., Сахаров К.Ю., Туркин В.А., Алешко А.И., Иванов А.В. // Медицинская физика. 2015. № 3. С. 62.
- Ultra-Wideband Radar Technology / Ed. by J.D. Taylor. Roca Raton: CRC Press, 2001.
- Koshelev V.I. Plisko V.V. // J. Phys.: Conf. Series. 2022. V. 2373. P. 072037. https://doi.org/10.1088/1742-6596/2373/7/072037
- Kraus J.D. Antennas. New York: McGraw-Hill, 1950.
- Юрцев О.А., Рунов А.В., Казарин А.Н. Спиральные антенны. М.: Советское радио, 1974.
- Morton D., Banister J., DaSilva T., Levine J., Naff T., Smith I., Sze H., Warren T., Giri D.V., Mora C., Pavlinko J., Schleher J., Baum C.E. // Proc. IEEE Int. Power Modulator and High Voltage Conf. (Atlanta, GA) NewYork: IEEE, Inc. 2010. P. 186.
- Delmote P., Pinguet S., Bieth F. // Ultra-Wideband, Short-Pulse Electromagnetics (Sabath F. and Mokole E.L., Eds) New York: Springer. 2014. V. 10. P. 239.
- Romanchenko I.V., Ulmaskulov M.R., Sharypov K.A., Shunailov S.A., Shpak V.G., Yalandin M.I., Pedos M.S., Rukin S.N., Konev V.Yu., Rostov V.V. // Rev. Sci. Instrum. 2017. V. 88. P. 054703. https://doi.org/10.1063/1.4983803
- Andreev Yu.A., Efremov A.M., Koshelev V.I., Kovalchuk B.M., Petkun A.A., Sukhushin K.N., Zorkaltseva M.Yu. // Rev. Sci. Instrum. 2014. V. 85. P. 104703. https://doi.org/10.1063/1.4897167
- Андреев Ю.А., Ефремов А.М., Зоркальцева М.Ю., Кошелев В.И., Петкун А.А. // РЭ. 2018. Т. 63. № 8. С. 795. https://doi.org/10.1134/S0033849418080028
- Андреев Ю.А., Ефремов А.М., Зоркальцева М.Ю., Кошелев В.И., Петкун А.А. // ПТЭ. 2018. № 1. С. 60. https://doi.org/10.1134/S0020441218010116
- Andreev Yu.A., Efremov A.M., Koshelev V.I., Kovalchuk B.M., Plisko V.V., Sukhushin K.N., Zorkaltseva M.Yu. // Laser Part. Beams. 2015. V. 33. № 4. P. 633. https://doi.org/10.1017/S026303461000725
- Andreev Yu., Koshelev V., Smirnov S. // Proc. 20th Int. Symp. on High-Current Electronics (ISHCE). New York: IEEE, Inc. 2018. P. 16. https://doi.org/10.1109/ISHCE.2018.8521217
- Efremov A.M., Koshelev V.I., Kovalchuk B.M., Plisko V.V., Sukhushin K.N. // Laser Part. Beams. 2014. V. 32. № 3. P. 411. https://doi.org/10.1017/S026303461000299
- Koshelev V.I., Plisko V.V., Sukhushin K.N. Ultra-Wideband, Short-Pulse Electromagnetics. / Ed. by Sabath F., Giri D.V., Rachidi F., Kaelin A. New York: Springer. 2010. Vol. 9. P. 259.
- Воскресенский Д.И. Антенны с обработкой сигнала: Учебное пособие для вузов. Москва: Сайнс-Пресс, 2002.
Supplementary files













