Сцинтилляционный стриповый детектор гибридного годоскопа для мюонной томографии крупномасштабных объектов
- Authors: Пасюк Н.А.1, Компаниец К.Г.1, Петрухин А.А.1, Целиненко М.Ю.1, Шутенко В.В.1, Яшин И.И.1
-
Affiliations:
- Национальный исследовательский ядерный университет “МИФИ”
- Issue: No 4 (2024)
- Pages: 57-68
- Section: ТЕХНИКА ЯДЕРНОГО ЭКСПЕРИМЕНТА
- URL: https://ogarev-online.ru/0032-8162/article/view/279951
- DOI: https://doi.org/10.31857/S0032816224040071
- EDN: https://elibrary.ru/NYWDEF
- ID: 279951
Cite item
Full Text
Abstract
Для мюонографии крупномасштабных объектов в НОЦ НЕВОД (НИЯУ МИФИ) создан гибридный мюонный годоскоп. Многоканальная детектирующая система годоскопа, состоящая из сцинтилляционного стрипового детектора и детектора на дрейфовых трубках, предназначена для регистрации треков заряженных частиц, в основном мюонов. Детектор на сцинтилляционных стрипах является самостоятельным трековым детектором, формирующим начальное положение трека и триггерный сигнал для детектора на дрейфовых трубках. В статье описывается конструкция сцинтилляционного стрипового детектора, принципы работы считывающей электроники, а также приведены основные технические характеристики.
Full Text
ВВЕДЕНИЕ
В настоящее время широкое развитие получило новое направление экспериментальной физики – мюонография (по аналогии с рентгенографией) различных крупномасштабных объектов, структуру которых можно изучать с помощью проникающего излучения космических лучей – мюонов. В основе мюонографии лежит процесс регистрации и анализа с помощью прецизионных трековых детекторов пространственно-угловых характеристик потока атмосферных мюонов, которые образуются на высотах 15–20 км в распадах заряженных π - и К-мезонов, возникающих при взаимодействии протонов и ядер первичных космических лучей с ядрами атомов атмосферы.
Мюоны в процессе прохождения через вещество теряют энергию в процессах поглощения и рассеяния, что приводит к изменению потока частиц. При проецировании зарегистрированных годоскопом треков мюонов на некоторую референтную плоскость, проходящую через объект, можно получить (по аналогии с рентгенограммой) мюонограмму – распределение плотности точек пересечения треков с плоскостью. Полученные мюонограммы объекта от различных пересекающихся направлений дают возможность 3D-анализа (томографии) структуры объекта.
Метод мюонографии широко используется при исследовании внутренних структур различных объектов: пирамид [1–3], вулканов и горных массивов [4–9], геологических структур [10–12], ядерных реакторов [13, 14], строительных сооружений [15–19] и других объектов [20–22], обладающих достаточной плотностью и толщиной для влияния на интенсивность потока мюонов.
Гибридный мюонный годоскоп, идея которого отражена в патенте на изобретение [23], состоит из двух взаимодополняющих детекторов – сцинтилляционного стрипового детектора (ССД) и детектора на дрейфовых трубках (ДДТ). Координатные плоскости детекторов с чувствительной площадью 3 × 3 м2 каждая чередуются между собой (рис. 1) и закреплены на общей несущей раме (рис. 2). Собранная конструкция обладает достаточной жесткостью и может устанавливаться на поворотной платформе и шасси, обеспечивающих мобильность всей конструкции и возможность изменения направления оси годоскопа. Расстояние между крайними однопроекционными координатными плоскостями (ОКП) ССД составляет 1.8 м, что при угле наклона платформы в 12° обеспечивает апертуру 74° по зенитному углу и 134° по азимутальному углу.
Рис. 1. Схема гибридного мюонного годоскопа.
Рис. 2. Трехмерная модель гибридного мюонного годоскопа: 1 – основная несущая рама, 2 – вертикально ориентированная плоскость сцинтилляционного стрипового детектора, 3 – горизонтально ориентированная плоскость сцинтилляционного стрипового детектора, 4 – вертикально ориентированная плоскость детектора на дрейфовых трубках, 5 – горизонтально ориентированная плоскость детектора на дрейфовых трубках.
Однопроекционные координатные плоскости ССД состоят из длинных узких прямоугольных сцинтилляционных стрипов (3000 × 23 × 7 мм3) с оптоволоконным светосбором на кремниевые фотоумножители (SiPM). Однопроекционные координатные плоскости ДДТ представляют собой трехслойные сборки дрейфовых трубок длиной 3000 мм и диаметром 30 мм, разработка и производство которых осуществлялись в НИЦ “КИ” ИФВЭ (г. Протвино).
Каждый детектор имеет свои преимущества: стриповый детектор обладает высоким быстродействием, формирует триггер и начальное положение трека, а детектор на дрейфовых трубках обладает высоким координатным разрешением и дает возможность формировать мюонограммы с разрешением, уступающим только ядерным эмульсиям.
Реконструкция параметров трека в детекторах основывается на определении координат пролета частицы через несколько ОКП. Стрипы в каждой координатной плоскости ориентированы в определенном направлении, совпадающем с направлением либо Y, либо Z осей локальной системы координат, привязанной к годоскопу. Ось X совпадает с осью детектора, направленной перпендикулярно координатным плоскостям. Мюоны пересекают ОКП детектора, что приводит к срабатыванию счетчиков регистрирующей системы. Информация о сработавших стрипах в каждой координатной плоскости дает возможность оценить координату точки пересечения мюоном сборки стрипов в этой плоскости. Данные нескольких координатных плоскостей позволяют провести пространственную реконструкцию трека. По информации о восстановленных треках в течение экспозиции выполняется построение теневого изображение (мюонограммы) исследуемого объекта в потоке мюонов.
Цель данной статьи заключается в рассмотрении конструкции, характеристик, особенностей и основных принципов работы ССД.
КОНСТРУКЦИЯ СЦИНТИЛЛЯЦИОННОГО ДЕТЕКТОРА
Сцинтилляционный стриповый детектор представляет собой многоканальную детектирующую систему, состоящую из шести ОКП. Каждая ОКП формируется из двух состыкованных без зазора базовых модулей размером (Д×Ш×В) 3196 × 1500 × 57 мм3, образуя чувствительную площадь 2960 × 2960 мм2. Базовый модуль состоит из 64 последовательно уложенных сцинтилляционных стрипов производства ООО “Унипласт” (г. Владимир) [24], светосбор по длине которых осуществляется с использованием вклеенного спектросмещающего волокна (Wave Length Shifter) KURARAY Y-11(200) SJ [25].
Шесть однопроекционных плоскостей последовательно закреплены в монтажной раме с чередующейся Y - и Z- ориентациями стрипов. Регистрирующая система ССД суммарно включает в себя 768 сцинтилляционных стрипов и соответствующее количество SiPM Hamamatsu S13360–1350CS [26] и обеспечивает надежную реконструкцию треков одиночных мюонов. Перед сборкой каждый элемент регистрирующей системы базовых модулей был предварительно протестирован на специально созданных стендах [27, 28].
Сцинтилляционный стриповый детектор является самостоятельной регистрирующей системой. Сигналы с каждого стрипа регистрируются индивидуальным SiPM. Базовый модуль представляет собой “сэндвич” из слоя стрипов, скрепленного между двух алюминиевых листов толщиной 0.8 мм размерами 3000 × 1500 мм2 с помощью вспененного двустороннего скотча ORABOND 1395TM толщиной 1.1 мм производства фирмы ORAFOL [29]. Каждый стрип уложен на клеевой слой листа и зафиксирован на втулке, прикрученной к раме. После размещения всех 64 стрипов к слою стрипов приклеивается второй алюминиевый лист. В результате получается плотная неразборная сборка стрипов, обладающая достаточной жесткостью, позволяющей эффективно светоизолировать и защитить от повреждений стрипы с SiPM.
Сигналы со стрипов одного базового модуля обрабатываются двумя платами считывающей электроники на базе микросхемы ASIC Petiroc 2A [30] фирмы Weeroc в паре с FPGA Cyclone III EP3C16Q240C8N фирмы Altera и центрального блока управления-триггирования на базе DEO-NANO-SoC FPGA Cyclone V [31] фирмы Terasic с переходными платами для возможности подключения большого количества плат считывания.
2.1. Сцинтилляционные стрипы и SiPM
Основным детектирующим элементом ССД является сцинтилляционный стрип (рис. 3) из полистирола с добавками паратерфенила (1.5%) и сцинтиллятора POPOP (1,4-ди-[2-(5-фенилоксазолил)]-бензол) (0.04%). Стрип изготовлен с применением технологии экструзии листовых заготовок сцинтиллятора в форме полосы размером 2960 × 23 × 7 мм3. Для обеспечения внутреннего диффузного отражения фотонов внешняя поверхность каждого стрипа покрыта тонким слоем вспененного полистирола, имеющего высокий коэффициент диффузного отражения света (около 95%).
Рис. 3. Схема регистрации мюона стрипом.
В середине одной из широких граней стрипа проделана продольная канавка с размерами 1.6 × 2.0 мм2, в которую специальным оптическим клеем вклеено спектросмещающее волокно (файбер) диаметром 1 мм [25]. Данное волокно при регистрации фотонов голубой части видимого светового спектра обеспечивает переизлучение в зеленую с пиком 476 нм и длиной ослабления более 3.5 м. Фотоны на выходе файбера регистрируются SiPM [26] посредством оптического разъема (рис. 4), вклеенного в стрип. Сигналы с SiPM поступают на специально разработанную плату считывания. Данный SiPM имеет размеры рабочей области 1.3 × 1.3 мм2 из 667 пикселей с расстоянием между соседними пикселями в окне 50 мкм, спектральным диапазоном 270–900 нм с пиком чувствительности 450 нм, вероятностью регистрации фотона примерно 40%, низким уровнем ложных импульсов после основного сигнала и вероятностью перекрестных наводок около 3%. Рабочее напряжении составляет около 55 В с коэффициентом усиления 1.2 ∙ 106.
Рис. 4. Оптический разъем с SiPM.
ЭЛЕКТРОНИКА СЦИНТИЛЛЯЦИОННОГО ДЕТЕКТОРА
3.1. Плата считывания сигналов
Считывающая электроника ССД основана на ASIC Petiroc 2A. Данная микросхема представляет собой 32-канальный интерфейсный ASIC, предназначенный для считывания сигналов обеих полярностей с кремниевых фотоумножителей для временных и амплитудных измерений сигналов при пролете заряженных частиц. Petiroc 2A сочетает в себе быстрый запуск с низким уровнем джиттера с точными измерениями зарядов, которые оцифровываются внутри устройства с помощью 10-разрядного аналого-цифрового преобразователя (АЦП), и времени с помощью время-цифрового преобразователя (ВЦП) с дискретностью 40 пс/бит. Потребляемая мощность составляет 6 мВт/канал без учета буферов, используемых для вывода аналоговых сигналов.
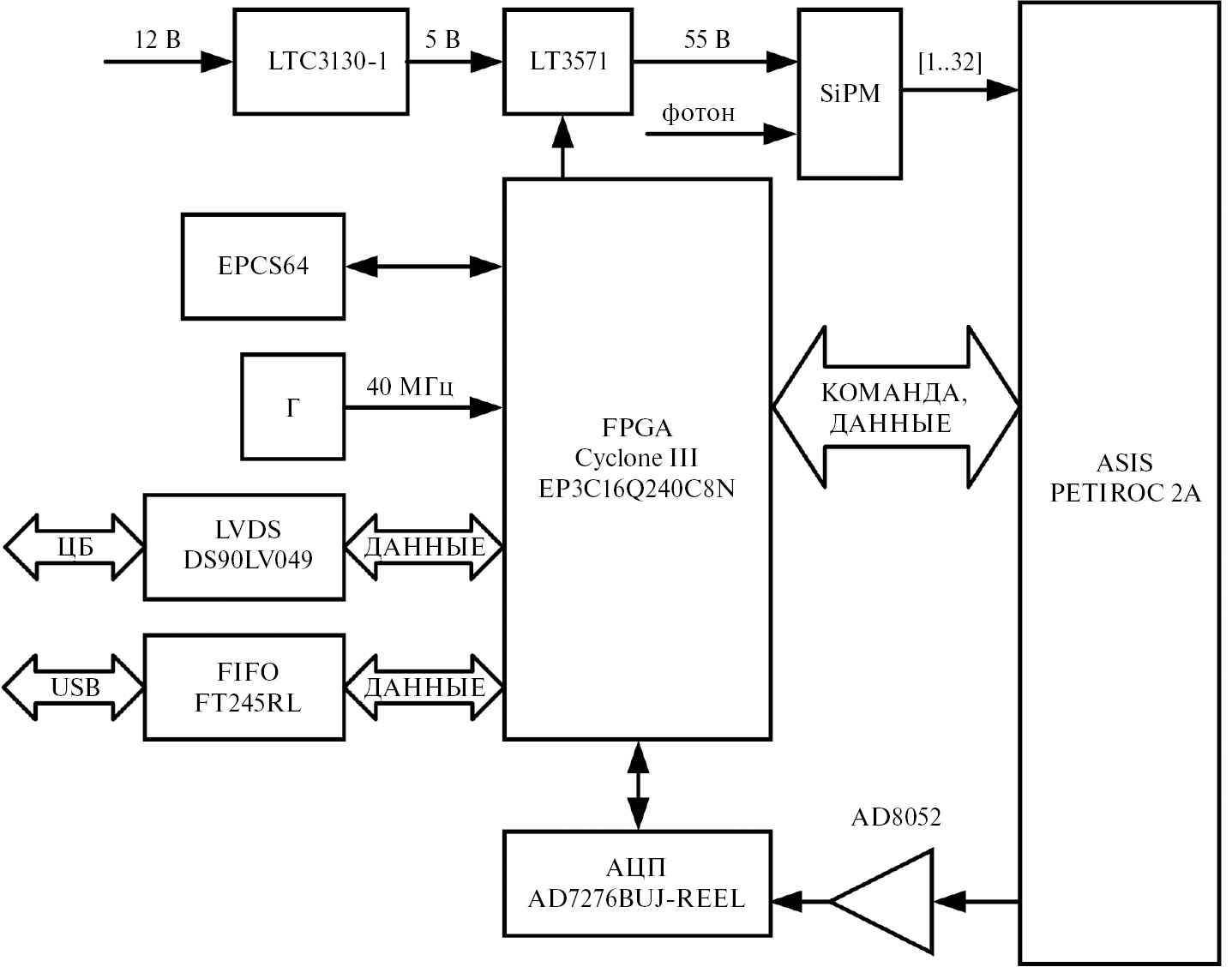
Под данный ASIC была разработана специальная печатная плата, позволяющая подключать 32 SiPM, регулировать их питание, осуществлять настройки различных параметров и передавать данные в оцифрованном виде. Плата содержит в себе преобразователи напряжения питания LTC3130–1 и LT3571, контроллер USB FT245RL и LVDS DS90LV049, интерфейсный блок на ASIC Petiroc 2A, логический блок на FPGA Cyclone III EP3C16Q240C8N, АЦП AD7276BUJ-REEL, устройства последовательной конфигурации EPCS64, а также тактовый генератор с частотой 40 МГц. Структурная схема платы считывания сигналов представлена на рис. 5.
Рис. 5. Структурная схема платы считывания сигналов.
Каждый из 32 каналов Petiroc 2A включает в себя входной цифро-аналоговый преобразователь (ЦАП) для регулировки высокого напряжения SiPM в диапазоне до 1 В. Быстрая линия триггера состоит из предусилителя с полосой пропускания 1 ГГц, который соединен с выходом SiPM через последовательный фильтр с резистором 200 Ом и емкостью 100 пФ. За каждым усилителем следует дискриминатор, выходной сигнал которого может быть зафиксирован. ВЦП встроен в каждый канал и позволяет измерять время с дискретностью 37 пс. Этот преобразователь позволяет интерполировать измерение времени между двумя системными тактами 40 МГц.
Спектрометрический канал включает формирователь с переменной величиной времени интегрирования (от 25 до 100 нс), что позволяет измерять заряд до 2500 фотоэлектронов (или 400 пКл для коэффициента усиления SiPM порядка 106). За формирователем следует аналоговая память на переключаемом конденсаторе для хранения максимального значения заряда. Сигнал хранения может быть как внешним, так и внутренним. Внутренний сигнал хранения может быть задержан от 25 до 100 нс в 8-битовом блоке задержки. Измеренный заряд и время оцифровываются с помощью 10-разрядного АЦП вилкинсоновского типа.
Внутренний общий 10-разрядный ЦАП, за которым следует отдельный для каждого канала 6-разрядный ЦАП, обеспечивает регулировку порога регистрации от 0.5 до нескольких десятков фотоэлектронов при коэффициенте усиления 106 . Внутренняя архитектура ASIC также содержит датчик температуры, что позволяет проводить измерение температуры непосредственно внутри измерительной системы.
В разработанной печатной плате реализован режим аналогового измерения времени и заряда, особенности которого описаны в [32]. В этом режиме ASIC Petiroc 2A используется для регулирования порога и измерения аналогового сигнала на каждом канале. Внутренний мультиплексор при этом позволяет последовательно считывать все 32 канала. В данном режиме цифровая часть ASIC Petiroc 2A отключена, и амплитуда измеренного заряда оцифровывается с использованием внешнего быстродействующего 12-разрядного АЦП AD7276BUJ-REEL.
Получаемый с АЦП код подается на программируемую логическую микросхему FPGA Cyclone III EP3C16Q240C8N, которая обеспечивает формирование триггерного сигнала. При выполнении триггерного условия FPGA отправляет сигнал запуска в центральный триггерный блок (ЦБ) и систему сбора данных. При заданной маскируемой кратности поступающих сигналов со сработавших плоскостей ЦБ формирует сигнал на хранение и возвращает его во все FPGA плат базовых модулей. В этом случае данные со всех сработавших каналов считываются и записываться системой сбора данных.
Помимо формирования триггерного условия, с помощью FPGA осуществляется управление настройками микросхемы ASIC, блоком питания напряжения SiPM и обмен данными с интерфейсными микросхемами. Конфигурация FPGA хранится на flash-памяти EPCS64. Сформированный пакет с зарегистрированными данными передается в ЦБ по интерфейсу LVDS либо через интерфейс USB FIFO. Интерфейс LVDS на базе микросхеме DS90LV049 используется для взаимодействия с ЦБ в режиме работы с большим количеством плат. Данная микросхема обладает значительной помехоустойчивостью и высокой пропускной способностью при скорости передачи данных до 400 Мбит/с. Интерфейс USB FIFO на микросхеме FT245RL используется для работы с платой в одиночном режиме напрямую с компьютером.
3.2. Модуль центрального блока
Центральный блок ССД является составным устройством и включает в себя блок питания, плату комплекта разработки DEO-NANO-SoC на основе FPGA Cyclone V и комплект переходных плат для приема-обмена данными и триггерной информацией. Схема системы сбора данных ССД приведена на рис. 6.
Рис. 6. Блок-схема системы сбора данных сцинтилляционного стрипового детектора.
Комплект DE0-Nano-SoC представляет собой платформу для проектирования аппаратного обеспечения, построенную на основе FPGA Altera System-on-Chip (SoC), которая сочетает в себе встроенные ядра Cortex-A9 с программируемой логикой. Плата DE0-Nano-SoC оснащена высокоскоростной памятью DDR3, аналого-цифровыми возможностями, сетью Ethernet и многим другим.
ЦБ осуществляет контроль режима работы плат считывания; обеспечивает общий триггер для системы сбора данных; выполняет сбор, промежуточное хранение и передачу данных на центральный компьютер через Ethernet. Обмен данными между ЦБ и платами считывания осуществляется по витой паре и стандарту LVDS, при этом обеспечивается точность привязки времени около 5 нс и скорость передачи данных до 20 Мбит/с.
Конфигурация системы сбора данных ЦБ ССД обеспечивает контроль шумов, а также обеспечивает стандартную мюонную экспозицию, во время которой выделяются события с прохождением заряженных частиц при выполнении установленных триггерных условий. “Мертвое время”, в течение которого осуществляется считывание данных с интерфейсных плат, их хранение в ЦБ и передача на компьютер составляет около 10% от общего времени экспозиции. На рис. 7 и 8 представлена структурная схема триггерной системы ССД, реализованная в рамках платы считывания и ЦБ соответственно.
Рис. 7. Структурная схема триггерной системы платы считывания сцинтилляционного стрипового детектора.
Рис. 8. Структурная схема триггерной системы центрального блока сцинтилляционного стрипового детектора.
В работе ЦБ при формировании триггерного сигнала используются следующие функциональные узлы: интерфейс с внутренней шиной центрального блока и регистры состояния; приемник и формирователь по длительности триггерных сигналов от плат считывания SiPM; схема мониторинга скорости счета триггеров; часы “живого” времени экспозиции; часы временных меток событий.
Алгоритм работы системы сбора данных сцинтилляционного стрипового детектора следующий. Прошедший через координатные плоскости мюон вызывает в стрипах сцинтилляционные вспышки, фотоны которых доходят до SiPM по WLS-файберам и вызывают срабатывание компаратора соответствующего канала ASIC Petiroc 2A. Канал состоит из предусилителя, за которым следует дискриминатор. Сигнал с выхода каждого дискриминатора соответственно является триггером отдельного стрипа. Далее 32 триггера стрипов объединяются и образуют триггер платы SiPM. Триггерные сигналы с 24 плат SiPM поступают на ЦБ. Каждый координатный слой детектора обслуживают четыре платы с 32 SiPM.
Система ЦБ выполняет анализ триггерных сигналов с плат считывания. Триггеры плоскостей формируются по длительности, исходя из организации ворот совпадений. Сумма совпавших во времени сигналов сравнивается с заданным значением маскируемой кратности срабатывания плоскостей. При превышении установленного значения числа срабатываний во временном интервале вырабатывается общий триггер детектора и сигнал “ХРАНЕНИЕ” (рис. 8), который возвращается на все платы. По переднему фронту сигнала “ХРАНЕНИЕ” фиксируется состояние всех триггеров стрипов и инициируется одновременная передача данных по последовательным каналам от плат к ЦБ. По окончании цикла приема данных и их записи в буферное FIFO ЦБ сбрасывает сигнал “ХРАНЕНИЕ” и входит в состояние ожидания следующего события.
Времена ожидания событий и срабатывания также фиксируются и записываются в данных. Суммарное время ожидания соответствует живому времени работы детектора, а времена срабатывания позволяют синхронизовать зарегистрированные события в сцинтилляционном детекторе и детекторе на дрейфовых трубках. Учет времен осуществляется с помощью восьми 16-битных счетчиков и одного 32-битного таймера, обеспечивая наносекундную точность.
Режим работы ЦБ позволяет взаимодействовать индивидуально с каждой платой считывания SiPM или со всеми платами сразу. Важной функцией работы триггерной системы ССД является выработка синхронизирующей метки при появлении сигнала “ХРАНЕНИЕ”, которая посылается в систему регистрации ДДТ мюонного годоскопа, синхронизируя оба детектора.
РАБОЧИЕ ХАРАКТЕРИСТИКИ СЦИНТИЛЛЯЦИОННОГО ДЕТЕКТОРА
Перед сборкой ССД все элементы регистрирующей системы были предварительно протестированы на специальных стендах. У стрипов были исследованы световыход и его ослабление по длине стрипа. Для SiPM исследовалась зависимость коэффициента усиления от напряжения питания. Сопоставление результатов тестирования SiPM с результатом тестирования стрипов позволяет обеспечить равномерную настройку каналов регистрации ССД.
4.1. Тестирование сцинтилляционных стрипов
Тестирование характеристик сцинтилляционных стрипов осуществлялось на автоматизированном измерительном стенде. Данный стенд [28] представляет собой светоизолированный бокс, который позволяет одновременно размещать на специализированной раме до 16 стрипов с максимальной длиной 3.5 м. Измерения на стенде осуществляются с использованием калибровочного телескопа путем регистрации атмосферных мюонов и бета-спектрометра путем регистрации электронов от источника 90Sr.
Калибровочный телескоп состоит из двух сцинтилляционных счетчиков на основе пластиковых сцинтилляционных пластин с размерами 200 × 100 × 20 мм3, сигнал от которых регистрируется с одного из торцов с помощью ФЭУ-85. Сформированные сигналы со счетчиков через схему совпадения вырабатывают триггерный сигнал для АЦП CAEN V1729.
Измерения с помощью калибровочного телескопа обеспечивают тестирование стрипов в потоке реальных мюонов, но скорость счета таких событий из-за поперечного размера стрипа (23 мм) достаточно низкая (около 0.2 с− 1) и требуется значительное время для достижения необходимой статистической точности.
Для обеспечения потокового тестирования стрипов был использован специально разработанный бета-спектрометр на основе источника 90Sr. Бета-спектрометр состоит из блока магнитов, обеспечивающего равномерное перпендикулярное магнитное поле, в которое запускаются электроны с энергией более 1.8 МэВ от источника 90Sr, а также коллиматора и световода. Сцинтилляционный светоизолированный световод диаметром 1 мм расположен непосредственно под отверстием коллиматора диаметром 1 мм. Электрон, проходя через коллиматорное отверстие, попадает в световод, образуя сцинтилляционную вспышку. Сигнал от световода регистрируется с помощью ФЭУ-85, который затем вырабатывает синхронизирующий сигнал, поступающий на вход АЦП. Те электроны, которые пересекают световод, попадают в стрип, где детектируется. При этом бета-спектрометр помещается на стрип таким образом, чтобы сцинтилляционный файбер спектрометра располагался параллельно WLS-файберу и в нескольких миллиметрах от его центра. Более подробно принцип работы бета-спектрометра описан в патенте [33] и в работе [28]. Скорость счета стрипом электронов от бета-спектрометра значительно выше по сравнению с телескопом и составляет величину около 18 с− 1. Однако из особенностей распространения электронов в объеме стрипа амплитуда отклика от электронов меньше.
Для сопоставления данных между двумя способами тестирования на контрольной выборке (64 шт.) была проведена оценка зависимости между откликом стрипов при регистрации мюонов и электронов (рис. 9):
N ф.э. μ = A + K μ / e N ф.э. e ,
где A – смещение корреляционной зависимости, N ф.э. μ и N ф.э. e – числа зарегистрированных фотоэлектронов от мюонов и электронов соответственно, K μ / e – корреляционный коэффициент. По результатам тестирования был получен корреляционный коэффициент: K μ / e = 1.76 ± 0.05. Данный коэффициент дает возможность оценить отклик стрипа от мюонов на основе зарегистрированных электронов.
Рис. 9. Корреляционная зависимость между показаниями мюонного телескопа и бета-спектрометра.
Важной характеристикой стрипа, определяющей его эффективность, является значение ослабления потока фотонов от расстояния. На тестовой выборке с использованием бета-спектрометра было проведено измерение световыхода стрипа в двух точках, соответствующих максимальному (50 см от SiPM) и минимальному (250 см от SiPM) световыходу. Средний световыход от электронов (по бета-спектрометру) в точке 50 см составил 18.58 ± 0.08 фотоэлектронов, а в точке 250 см 13.29 ± 0.05 фотоэлектронов. Полученные распределения световыхода в двух точках, пересчитанные с учетом корреляционного коэффициента, показаны на рис. 10. Расстояние 250 см было выбрано в качестве опорного при тестировании и отборе стрипов. С учетом корреляционного коэффициента средний световыход стрипов от мюонов в точке 50 см составил 32.71 ± 0.13 фотоэлектрона, а в точке 250 см – 23.41 ± 0.12 фотоэлектрона. При этом более детальные измерения (в точках с шагом в 25 см) показали, что зависимость световыхода от длины стрипа убывает монотонно и представляет из-за краевых эффектов более сложную, чем экспонента зависимость.
Рис. 10. Распределение световыхода стрипов в точках 50 и 250 см от SiPM (в пересчете на отклик от мюонов).
4.2. Тестирование кремниевых фотоумножителей
Тестирование SiPM осуществлялось с помощью стенда, состоящего из светоизолированного бокса, матрицы для установки партии SiPM, блока подсветки с источником наносекундных вспышек на базе двух голубых светодиодов с генератором сигналов, рассеивателя света и 32-канальной платы считывания сигналов с SiPM CAEN DT5702 [34] на базе ASIC Citiroc 1A, которая обеспечивает регулируемое напряжение питания и оцифровку каждого канала с SiPM. э лектроника стенда позволяет одновременно в автоматическом режиме проводить измерения характеристик партии SiPM до 32 шт. Более подробно процедура тестирования описана в работе [28].
Целью тестирования SiPM является определение рабочего напряжения питания и соответствующего ему коэффициента усиления при засветке стандартными вспышками. Поставка SiPM от производителя осуществлялась двумя партиями. Оказалось, что партии SiPM имели разные паспортные рабочие напряжения: 53.7 ± 0.2 B и 55.2 ± 0.2 B. Измерения коэффициента усиления проводились для каждой группы в трех точках при разном напряжении питания с предварительной калибровкой каждого канала платы на соответствие кодов АЦП подаваемому на вход напряжению. Для каждого напряжения проводился набор спектров с одноэлектронными подсветками. Примеры данных спектров для SiPM с паспортным напряжением 55.2 В показаны на рис. 11.
Рис. 11. Амплитудные спектры SiPM при напряжениях 54.7, 55.2 и 55.7 В.
В результате были получены значения коэффициентов усиления при различных напряжениях питания. При паспортном напряжении 53.7 В средний коэффициент усиления составил 1.38 ∙ 106, а при напряжении 55.2 В коэффициент усиления составил 1.39 ∙ 106 . Результаты тестирования показали линейную зависимость коэффициентов усиления от напряжения питания и позволили сгруппировать SiPM по стрипам базовых модулей и сконфигурировать платы считывания на нужное напряжение питания, обеспечивающее коэффициент усиления SiPM 1.2 ∙ 106.
4.3. Точностные характеристики
Стриповый сцинтилляционный детектор является частью общей гибридной системы регистрации мюонного годоскопа. Однако ССД является законченным координатным детектором и может работать в автономном режиме, и по его данным можно также получать мюонограммы. Это важно с точки зрения перекрестного контроля двух детекторов. Оценка точностных характеристик ССД проводилась путем сравнения с моделированными данными. В основе реконструкции треков космических мюонов в ССД лежит метод поиска прямолинейного участка отдельно по Z - и Y -ориентированным слоям стрипов при условии срабатывания всех шести однопроекционных плоскостей.
При поиске “прямолинейного” участка каждому сработавшему стрипу ставится в соответствие точка, находящаяся в середине рассматриваемой проекции стрипа (прямоугольника). В качестве критерия нахождения сработавшего стрипа на ожидаемом “прямолинейном” участке используется ширина допустимой области w = k · 23.1 мм, где 23.1 мм – ширина стрипа плюс расстояние между двумя соседними стрипами в базовом модуле (шаг расположения стрипов), k – целое число, показывающее количество стрипов, входящих в допустимую область (кратность). Методом перебора всех возможных точек в разных слоях и “прямолинейных” участков выбирается тот вариант, который наилучшим образом соответствует критерию | z – z 0 | ≤ w (т. е. наименьшей разнице), где z – координата текущего стрипа в проекционной плоскости ZX , z 0 – координата продолжения предполагаемого пути прямой. Полученные прямые в двух проекционных плоскостях (ZX и YX) определяют трек частицы в пространстве, который в дальнейшем может быть использован для построения мюонографий, угловых распределений и мониторинга качества работы установки.
На рис. 12 и 13 представлены точностные характеристики ССД, полученные на основании моделированных в программном пакете Geant4 данных. На рис. 12 видно, что погрешность определения точки на треке по данным стрипов по всем базовым модулям составляет величину около 8 мм (FWHM). В эту величину также входят систематические неточности измерений координат геометрии детектора, определенное количество материала на пути мюона (стенки трубок и рама) и наличие мюонов с малыми импульсами. На рис. 13 приведена оценка угловой погрешности. Из рисунка следует, что верхняя оценка угловой погрешности определения зенитного и азимутального углов составляет σ ≈ 0.24° , что соответствует ошибке определения трека в пространстве σ ψ = √2 ‧ σ ≈ 0.34° (около 6 мрад).
Рис. 12. Оценка пространственной точности.
Рис. 13. Оценка угловой точности.
ЗАКЛЮЧЕНИЕ
Представленная детектирующая система на сцинтилляционных стрипах является важной частью общей регистрирующей и триггерной систем широкоапертурного прецизионного гибридного мюонного годоскопа. Разработанная считывающая электроника сцинтилляционного детектора обеспечивает наносекундную точность регистрации времени прихода сигналов со стрипов, формируя быстрый общесистемный триггер. Все элементы детектирующей системы ССД были предварительно протестированы на специализированных стендах, а результаты тестирования использованы в дальнейшем для настройки регистрирующей системы.
Тестирование партий стрипов и SiPM продемонстрировало соответствие полученных характеристик ожидаемым. Важным результатом является полученный для стрипов толщиной 7 мм отклик при регистрации мюонов с расстояния 2.5 м в среднем 23.41 ± 0.12 фотоэлектрона, что обеспечивает высокую эффективность регистрации треков мюонов при пороге около 5 фотоэлектронов, необходимом для значительного подавления шумов кремниевых фотоумножителей. Разработанная система детектора на сцинтилляционных стрипах может автономно регистрировать треки одиночных космических мюонов с угловой точностью около 5 мрад. Совместное использование стрипового и дрейфового детекторов значительно повышает надежность и достоверность получаемых данных о потоке мюонов в широком диапазоне зенитных и азимутальных углов.
БЛАГОДАРНОСТИ
Авторы благодарят коллектив НОЦ НЕВОД (НИЯУ МИФИ) за содействие при выполнении работ по созданию мюонного годоскопа.
ФИНАНСИРОВАНИЕ РАБОТЫ
Разработка и исследование гибридного мюонного годоскопа проводились в рамках договора между НИЯУ МИФИ и АО “ВНИИАЭС” от 19.11.2019 № 1.00-3-700-0650, а также при поддержке Министерства науки и высшего образования РФ в рамках государственного задания (проект “Фундаментальные и прикладные исследования космических лучей” № FSWU-2023-0068).
About the authors
Н. А. Пасюк
Национальный исследовательский ядерный университет “МИФИ”
Author for correspondence.
Email: NAPasyuk@mephi.ru
Russian Federation, Москва
К. Г. Компаниец
Национальный исследовательский ядерный университет “МИФИ”
Email: NAPasyuk@mephi.ru
Russian Federation, Москва
А. А. Петрухин
Национальный исследовательский ядерный университет “МИФИ”
Email: NAPasyuk@mephi.ru
Russian Federation, Москва
М. Ю. Целиненко
Национальный исследовательский ядерный университет “МИФИ”
Email: NAPasyuk@mephi.ru
Russian Federation, Москва
В. В. Шутенко
Национальный исследовательский ядерный университет “МИФИ”
Email: NAPasyuk@mephi.ru
Russian Federation, Москва
И. И. Яшин
Национальный исследовательский ядерный университет “МИФИ”
Email: NAPasyuk@mephi.ru
Russian Federation, Москва
References
- Alvarez L.W. Lawrence Radiation Laboratory Physics. 1 March 1965. Note 544.
- Alvarez L.W., Anderson J.A., Bedwei F.E., Burkhard J., Fakhry A., Girgis A., Goneid A., Hassan F., Iverson D., Lynch G., Miligy Z., Moussa A.H., Sharkawi M., Yazolino L. // Science. 1970. V. 167. P. 832. https://doi.org/10.1126/science.167.3919.832
- Morishima K., Kuno M., Nishio A. et al. // Nature. 2017. V. 552. P. 386. https://doi.org/10.1038/nature24647
- A detector for muon tomography. UT Maya Muon Group. Technical report. The University of Texas at Austin, Jun е, 2004.
- Basset M., Ansoldi S., Bari M., Battiston R., Blasko S., Coren F., Fiori E., Giannini G., Iugovaz D., Menichelli M., Reia S., Scian G. // Nucl. Instrum. and Methods A. 2006. V. 567. P. 298. https://doi.org/10.1016/j.nima.2006.05.099
- Menichelli M., Ansoldi S., Bari M., Basset M., Battiston R., Blasko S., Coren F., Fiori E., Giannini G., Iugovaz D., Papi A., Reia S., Scian G. // Nucl. Instrum. and Methods A. 2007. V. 572. P. 262. h ttp://dx.doi.org/10.1016/j.nima.2006.10.317
- Tanaka H.K.M., Taira H., Uchida T., Tanaka M., Takeo M., Ohminato T., Aoki Y., Nishitama R., Shoji D., Tsuiji H. // J. Geophys. Res. 2010. V. 115. B12332. https://doi.org/10.1029/2010JB007677
- Lesparre N., Gibert D., Marteau J., Komorowski J.-C., Nicollin F., Coutant O. // Geophys. J. Int. 2012. V. 190. P. 1008. https://doi.org/10.1111/j.1365-246X.2012.05546.x
- Noli P., Ambrosino F., Bonechi L., Bross A., Cimmino L., D’Alessandro R., Masone V., Mori N., Passeggio G., Pla-Dalmau A., Saracino G., Scarlini E., Strolin P. // Ann. Geophys. 2017. V. 60. S0105. https://doi.org/10.4401/ag-7380
- Nagamine K., Iwasaki M., Shimomura K. et al. // Nucl. Instrum. and Methods A. 1995. V. 356. P. 585.
- Tanaka H.K.M., Nagamine K., Nakamura S.N., Ishida K. // Nucl. Instrum. and Methods A. 2005. V. 555. P. 164. http://dx.doi.org/10.1016/j.nima.2005.08.099
- Tanaka H.K.M., Muraoka H. // Geosci. Instrum. Method. Data Syst. 2013. V. 2. P. 145. https://doi.org/10.5194/gi-2-145-2013
- Morishima K., Naganawa N., Nakano T., Nakamura M., Kawarabayashi J., Tomita H., Iguchi T., Maeda S. // Proc. of the 26 th Workshop on Radiation Detectors and Their Uses in KEK. 2012. P. 27.
- Nagamine K. // Proc. Jpn. Acad. B. 2016. V. 92. P. 265. https://doi.org/10.2183/pjab.92.265
- Jenneson P.M. // Nucl. Instrum. and Methods A. 2004. V. 525. P. 346. https://doi.org/10.1016/j.nima.2004.03.093
- Gilboy W.B., Jenneson P.M., Simons S.J.R., Stanley S.J., Rhodes D. // Nucl. Instrum. and Methods B. 2007. V. 263. P. 317. https://doi.org/10.1016/j.nimb.2007.04.122
- Borozdin K.N., Hogan G.E., Morris C., Priedhorsky W.C., Saunders A., Schultz L.J., Teasdale M.E. // Nature. 2003. V. 422. P. 277. https://doi.org/10.1038/422277a
- Priedhorsky W., Borozdin K., Hogan G. et al. // Rev. Sci. Instrum. 2003. V. 74. P. 4294. https://doi.org/10.1063/1.1606536
- Shultz L.J., Borozdin K.N., Gomez J.J., Hogan G.E., McGill J.A., Morris C.L., Priedhorsky W.C., Saunders A., Teasdale M.E. // Nucl. Instrum. and Methods A. 2004. V. 519. P. 687. https://doi.org/10.1016/j.nima.2003.11.035
- Osterlund M., Blomgren J., Donnard J., Flodin A., Gustafsson J., Hayashi M., Mermod P., Nilsson L., Pomp S., Wallin L., Ohrn A., Prokofiev A.V. // Proceed. Sie. 2007. V. 25. P. 30 https://doi.org/10.22323/1.025.0030
- Bogolyubsky M., Bojko N., Borisov A., Fakhrutdinov R., Kozhin A., Yushchenko O. // Proceed. of 2008 IEEE NSS and MIC conference. 19–25 October 2008. Dresden, Germany. 2008.
- Pesente S., Vanini S., Benettoni M., Bonomi G., Calvini P., Checchia P., Conti E., Gonella F., Nebbia G., Squarcia S., Viesti G., Zenoni A., Zumerle G. // Nucl. Instrum. and Methods A. 2009. V. 604. P. 738. https://doi.org/10.1016/j.nima.2009.03.017
- Астапов И.И., Каверзнев М.М., Конев Ю.Н., Петрухин А.А., Хохлов С.С., Яшин И.И. РФ Патент 2761333C1, 2021.
- Сайт ООО “Унипласт”. h ttp://www.uniplast-vladimir.com
- Сайт фирмы KURARAY. h ttp :// kuraraypsf.jp/psf/ws.html
- Datasheet HAMAMATSU MPPC S13360 series – Cat. No. KAPD1052E04 Aug. 2016 DN.
- Yashin I.I., Davidenko N.N., Dovgopoly A.O., Fakhroutdinov R.M., Kaverznev M.M., Kompaniets K.G., Konev Yu.N., Kozhin A.S., Paramoshkina E.N., Pasyuk N.A., Tselinenko M.Yu., Yuschenko O.P., Zolotareva O.V. // Phys. Atomic Nuclei. 2021. V. 84. P. 1171. https :// doi.org /10.1134/ S 1063778821130421
- Яшин И.И., Киндин В.В., Компаниец К.Г., Пасюк Н.А., Целиненко М.Ю. // Известия РАН. Серия физическая. 2021. Т. 85. № 4. C. 598. https://doi.org/10.31857/S0367676521040396
- Сайт фирмы ORAFOL. https ://www.orafol.com/en/americas/products/orabond-1395tm
- Сайт фирмы Weeroc. https ://www.weeroc.com/products/sipm-read-out/petiroc-2a
- Сайт фирмы Terasic. https ://www.terasic.com.tw/en/
- Datasheet Weeroc Petiroc 2A v. 2.5b – Doc date: 08/10/2018.
- Астапов И.И., Пасюк Н.А., Хохлов С.С., Целиненко М.Ю., Яшин И.И. РФ Патент 2794236C1, 2023.
- Сайт фирмы CAEN. https ://www.caen it/products/dt5702/
Supplementary files















