Метод оптоакустической спектроскопии в исследовании супрамолекулярных систем на основе кукурбитурилов
- Авторы: Крюков И.В.1, Сапожников О.А.2, Иванов Д.А.1, Петров Н.Х.1,3
-
Учреждения:
- Национальный исследовательский центр “Курчатовский институт”
- Московский государственный университет им. М.В. Ломоносова
- Московский физико-технический институт (национальный исследовательский университет)
- Выпуск: № 4 (2024)
- Страницы: 166-172
- Раздел: ОБЩАЯ ЭКСПЕРИМЕНТАЛЬНАЯ ТЕХНИКА
- URL: https://ogarev-online.ru/0032-8162/article/view/279071
- DOI: https://doi.org/10.31857/S0032816224040197
- EDN: https://elibrary.ru/NYAXXZ
- ID: 279071
Цитировать
Полный текст
Аннотация
Работа посвящена оптоакустическому исследованию особенностей поглощения лазерного излучения в водном растворе комплекса включения стирилового красителя в кукурбитуриле. Исследования проводились на экспериментальной установке, где в качестве лазера накачки использовался фемтосекундный регенеративный усилитель на хром-форстерите (Cr:F). Использовалась третья гармоника излучения с длиной волны 420 нм и длительностью импульсов 130 фс. Оптоакустическая генерация проводилась в кварцевой кювете с исследуемым раствором, а приемником акустического сигнала являлась плоская пьезокерамическая пластина с резонансной частотой 1 МГц. Сравнивались оптоакустические сигналы в растворе чистого стирилового красителя Кр.1 и того же красителя при наличии комплексов с кукурбитурилом. Показано, что при одинаковой оптической плотности растворов комплексообразование приводило к более чем двукратному снижению оптоакустического отклика.
Полный текст
ВВЕДЕНИЕ
Безызлучательная релаксация электронно-возбужденных состояний хромофоров в растворах, возникающая после их облучения лазерным излучением, приводит к высвобождению энергии в виде тепла, что может быть причиной фотоакустического (оптоакустического) эффекта, т. е. генерации звука в результате поглощения света. При низких уровнях тепловыделения основной причиной указанного эффекта является тепловое расширение среды. В области тепловыделения возникает скачок давления, который сопровождается генерацией акустической волны [1]. Эта волна распространяется в образце со скоростью звука, она может быть зарегистрирована на некотором удалении от исследуемой области тепловыделения. В общем случае лишь часть поглощенной световой энергии выделяется в виде тепла. Другая часть энергии фотовозбужденных молекул тратится на их химические превращения или переизлучается в виде света (флуоресценция). Поскольку оптоакустический сигнал обусловлен лишь тепловым механизмом, он позволяет проводить исследования особенностей энерговыделения в среде. Соответствующий метод оптоакустической спектроскопии (ОАС) оказался эффективным инструментом при изучении, например, фотопереноса электрона в донорно-акцепторных системах разной природы как дополнительный к методам оптической спектроскопии [2].
В последнее время в химической физике возник большой интерес к супрамолекулярным системам на основе кукурбитурилов – наноразмерных бочкообразных контейнеров [3]. Кукурбит[n]урилы (CB[n]) являются полыми макроциклическими кавитандами, состоящими из n гликольурильных звеньев (обычно n = 5–8), связанных парами метиленовых групп. Эти молекулы получили свое название от латинского слова cucurbitus, что в переводе означает тыква. В торцах молекул кукурбитурильного ряда, обрамляя входы (порталы) в полость, находятся атомы кислорода карбонильных групп, несущие частичный отрицательный заряд. Эта особенность строения способствует связыванию кукурбитурилами относительно небольших органических катионов, что приводит к образованию устойчивых комплексов включения типа “гость-хозяин”.
Инкапсулирование молекулы “гостя” в полость кукурбитурила приводит, как правило, к значительным изменениям фотофизических свойств “гостя”, в частности, к увеличению интенсивности флуоресценции [4]. Интересным классом молекул-гостей являются стириловые красители, особенностью которых является то, что они представляют собой внутримолекулярные донорно-акцепторные системы A+–π–D, где пиридиниевое звено A+ является акцептором электронов, а стириловый хвост D – донором, при этом они связаны π-электронно-сопряженным мостиком. Положительный заряд, который в основном состоянии локализован на акцепторной пиридиниевой группе, при возбуждении перемещается в сторону донорной диметиланилино-группы. Процесс образования комплекса включения между стириловыми красителями и кукурбитурилами был достаточно хорошо исследован методами оптической спектроскопии (см., например, обзор [5]).
В данном сообщении приводится описание экспериментальной установки для исследования методом ОАС безызлучательной релаксации электронно-возбужденных состояний комплексов “гость-хозяин” и продемонстрирована ее работоспособность на примере изучения оптоакустического сигнала, возникающего в водном растворе стирилового красителя перхлората 4-[(Е)-2-(3,4-диметоксифенил)этенил]-1-этилпиридиния (Кр.1) и его комплексов включения с кукурбит[7]урилом при концентрации раствора 2.5 · 10–5 моль/л. Для получения комплексов в раствор красителя Кр.1 добавлялся 1 экв. кукурбит[7]урила, что с учетом высокой константы связывания (K ≈ 106 л/моль) приводило к практически полному связыванию красителя в комплексы.
ОПИСАНИЕ ЭКСПЕРИМЕНТАЛЬНОЙ УСТАНОВКИ
Схема экспериментальной установки представлена на рис. 1. В качестве лазера накачки использовался регенеративный усилитель на хром-форстерите (Cr:F). Усилитель генерирует фемтосекундные импульсы на длине волны 1260 нм с энергией 350 мкДж, длительностью импульсов 130 фс и частотой следования 100 Гц. Для генерации акустической волны использовалось излучение третьей гармоники на длине волны 420 нм с энергией в импульсе 40 мкДж и длительность импульса около 250 фс.
Рис. 1. Блок-схема установки для измерений амплитуды акустической волны.
Излучение третьей гармоники на выходе генератора имело вид круглого пучка диаметром 4 мм. Лазерный пучок далее фокусировался цилиндрической линзой с фокусным расстоянием 250 мм и направлялся в кварцевую кювету высотой 45 мм с внутренним поперечным размером 10×10 мм2. Кювета заполнялась исследуемым раствором и располагалась на некотором удалении от фокуса цилиндрической линзы, чтобы избежать нелинейных и термических эффектов. Цилиндрическая линза использовалась с целью создания в образце области тепловыделения в виде широкой, но не очень толстой области для минимизации дифракционной расходимости акустического сигнала. Облучаемая лазерным излучением область раствора в итоге имела ширину около 4 мм, толщину (высоту) около 2 мм, а ее длина соответствовала ширине кюветы 10 мм. В процессе измерений с разными растворами все части установки оставались в том же положении, а оптическая плотность растворов выбиралась одинаковой, чтобы обеспечить для разных образцов равные условия для генерации оптоакустических сигналов.
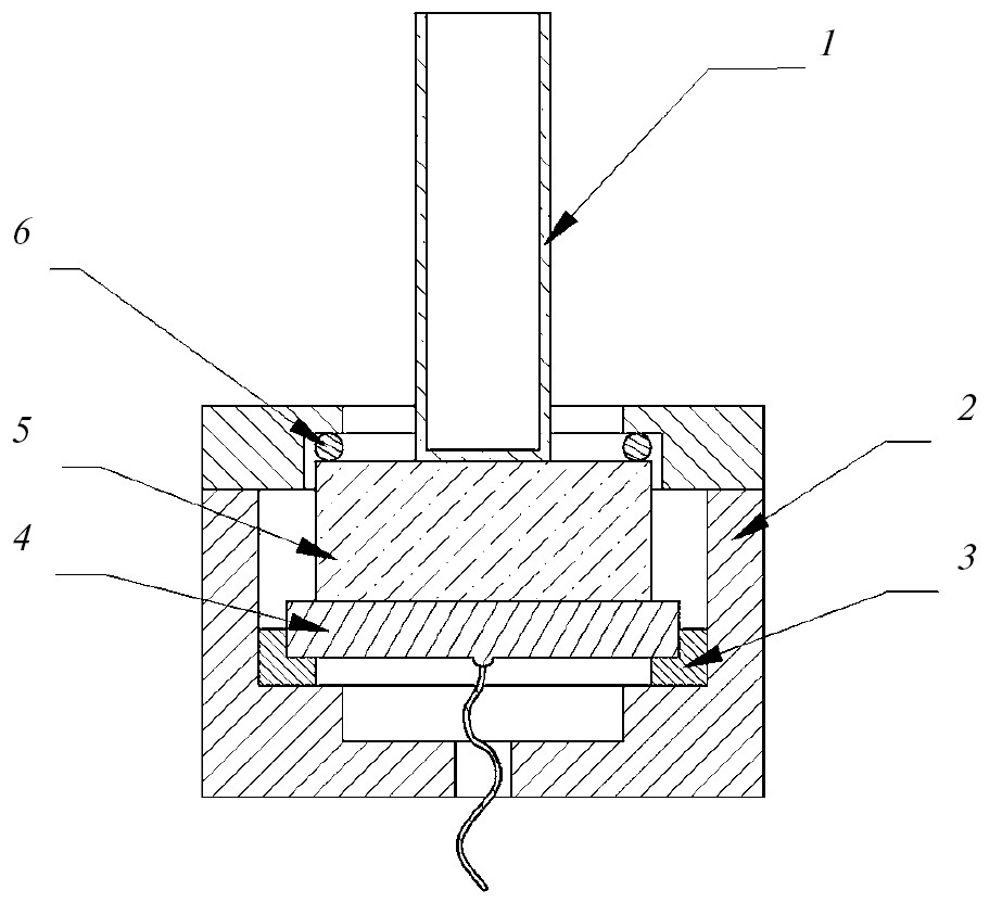
Акустическая волна регистрировалась с помощью пьезоэлектрического преобразователя, изготовленного на основе круглой пластинки из пьезокерамики ЦТС-19. Пластинка имела диаметр 30 мм и толщину 2 мм. Отклик пластинки на принимаемый акустический сигнал имел резонансный характер. Соответствующий толщинный резонанс имел частоту около 1 МГц. Конструкция этого узла представлена на рис. 2.
Рис. 2. Схема узла пьезодатчика: 1 – кварцевая кювета, 2 – корпус, 3 – тефлоновая прокладка, 4 – керамический пьезоэлектрический преобразователь, 5 – кварцевая пластина, 6 – резиновая прокладка.
Для минимизации электромагнитных наводок пьезоэлектрическая пластина была установлена в латунном корпусе. Для удобства фиксации кюветы с исследуемым раствором и обеспечения повторяемости акустического контакта использовалась промежуточная кварцевая круглая плоскопараллельная пластина диаметром 25 мм и толщиной 10 мм. Посредством резиновой прокладки указанная кварцевая пластина плотно прижималась к пьезопластине, смоченной контактной жидкостью – вазелиновым маслом. Контактная жидкость использовалась для устранения воздушной прослойки, препятствующей прохождению акустического сигнала – т. е. для обеспечения акустического контакта. Кювета с образцом устанавливалась на кварцевую пластину также с использованием прижима через слой контактной жидкости.
Оценка величины оптоакустического сигнала может быть сделана в одномерном приближении. Пусть E0 – энергия лазерного импульса, α – показатель поглощения света. По мере затухания в среде энергия импульса уменьшается по закону Бугера E = E0e−αl, где l – пройденное светом расстояние. В случае, когда затухание света полностью обусловлено его поглощением (диссипацией), величина α пропорциональна оптической плотности D = lg(Ein/ Eout) ≈ ≈ 0.434αl , где Ein = E0, Eout = E0e−αl – энергия света на входе и выходе исследуемого образца. В общем случае коэффициент поглощения отвечает лишь за тепловую часть потерь, описываемых оптической плотностью. Пусть h и w – высота и ширина слоя, в котором происходит поглощение света. Для прироста температуры можно приближенно принять, что количество теплоты, равное Q = Ein − Eout = E0(1 − e−αl ) ≈ αlE0, выделяется в объеме V = l×h×w. Если cp и ρ – теплоемкость единицы массы и плотность жидкости, то прирост температуры можно оценить как ∆T = Q/(ρcpV) ≈ αE0/(ρcphw). Соответствующий скачок давления может быть оценен как ∆p = = ρc2β∆T , где c – скорость звука, β – коэффициент теплового расширения [1]. Поскольку акустическое возмущение имеет вид двух волн, распространяющихся в разные стороны от области возбуждения, в направлении пьезоприемника распространяется акустический импульс длительностью τ = h/c и амплитудой давления pmax = ∆p/2. Выписанная формула для амплитуды акустического давления
(1)
является основой для проведения оптоакустической диагностики исследуемой среды. Важно отметить, что pmax ~ αE0, т. е. амплитуда оптоакустического сигнала пропорциональна как энергии лазерного импульса, так и коэффициенту поглощения (той части коэффициента затухания, которая отвечает за тепловыделение). Сделаем оценки применительно к проведенному эксперименту: D =0.55, α = 127 м−1, E0 = 3.5 ∙ 10−5 Дж, β = 1.5 ∙ 10−4 K−1, c = 1500 м/с, cp = 4200 Дж/(кг ∙ К), h =0.002 м, w = 0.004 м. Формула (1) при этом дает следующую величину: pmax ≈ 20 Па. Длительность импульса при этом равна τ = h/c ≈ 1.3 мкс.
При падении на приемник волны c акустическим давлением p на обкладках пьезопластины возникают заряды и генерируется электрическое напряжение U. В силу резонансного характера отклика под действием падающего акустического импульса возникает импульс электрического напряжения в виде затухающей синусоиды. Оценка пикового напряжения может быть сделана на основе одномерной модели пьезоэлектрического преобразователя [6]: Здесь kT – коэффициент электромеханической связи, fres – частота механического резонанса, ε – диэлектрическая проницаемость пьезокерамики, ε0 = 8.85 пФ/м, ρ* – плотность пьезокерамики. Подставляя параметры используемой пьезопластины kT = 0.44, fres = 1 МГц, ε = 935, ρ* = 7330 кг/м3 [7], получим U/p ≈ 6 ∙ 10−5 В/Па. Для pmax ≈ 20 Па соответствующий электрический сигнал составляет около 1 мВ. В реальности сигнал испытывает дополнительное ослабление из-за дифракционной расходимости и отражения от дна кюветы. Проведенная оценка позволяет сделать вывод о том, что сигнал может быть зарегистрирован простыми средствами, однако желательно использовать дополнительное усиление и предпринять меры по снижению уровня шумов.
Для улучшения отношения сигнал/шум был разработан операционный усилитель с коэффициентом усиления 100 и полосой пропускания от 0 до 10 МГц. Принципиальная схема операционного усилителя представлена на рис. 3.
Рис. 3. Схема операционного усилителя.
Для регистрации и усреднения импульсов использовался осциллограф Rohde & Schwarz HMO1202, который синхронизовался импульсами, управляющими электрооптическим затвором Поккельса в регенеративном усилителе. В измерениях использовалось усреднение по 128 импульсам. Данные с осциллографа записывались на флеш-карту с последующей обработкой на компьютере. Типичный оптоакустический сигнал представлен на рис. 4. Перед приходом основного сигнала наблюдается наводка, возникающая предположительно из-за электрооптического затвора Поккельса, который управляет работой регенеративного усилителя.
Рис. 4. Типичный сигнал пьезоэлектрического приемника в оптоакустическом режиме на экране осциллографа.
Амплитуда акустического сигнала, генерируемого непосредственно пьезоэлектрической пластиной, не превышала 0.2 мВ. Спектральный анализ показал, что полезный сигнал находится в диапазоне частот от 0 до 2 МГц, что объясняется резонансным характером пьезоприемника. Чтобы уменьшить уровень шумов, мы провели низкочастотную фильтрацию сигнала с отсечением частот выше 2.3 МГц и вычли сигнал наводки.
Как видно на рис. 4, оптоакустический сигнал представлял собой импульс с четко выраженным фронтом, за которым следовал сигнал в виде квазисинусоидального отклика с нестационарной огибающей. Как отмечалось выше, такой характер сигнала был обусловлен резонансным откликом пьезоприемника. Отметим, что, наряду с первым (самым сильным) сигналом, видны последующие всплески, которые возникают из-за прихода различных переотражений в акустическом тракте. Однако они не являются помехой для проведения измерений, поскольку приходят позже основного импульса. В силу линейности пьезоэлектрического преобразователя пиковое значение напряжения в первом импульсе пропорционально амплитуде сигнала акустического давления и поэтому оно может быть использовано в качестве информативного параметра. Исходя из этого, в качестве экспериментально измеряемой величины мы выбрали размах первого импульса Up−p = Umax − Umin (peak-to-peak value) [8], а в качестве оценки ошибки измерения использовали размах паразитного шума на участке от 0 до 4 мкс, в котором акустический сигнал заведомо не достигал пьезодатчика.
РЕЗУЛЬТАТЫ И ОБСУЖДЕНИЕ
Как отмечалось выше, в одномерном приближении выражение для пикового давления в акустическом импульсе представляется в виде формулы (1). В реальности сигнал испытывает ослабление на пути от области генерации к пьезоприемнику. Однако общая закономерность в виде линейной связи pmax ~ αE0 при этом сохраняется. Поэтому при анализе экспериментальных данных можно исходить из линейной зависимости вида
Up−p = KαE0, (2)
где K – инструментальный фактор, учитывающий свойства растворителя и геометрические параметры установки, E0 – энергия лазерного импульса, α – коэффициент поглощения. Отметим, что параметр K трудно рассчитать количественно, поэтому при сравнительных измерениях в разных растворах важно поддерживать его одинаковым. В частности, при высокой оптической плотности он начинает от нее зависеть, т. е. необходимо так подбирать концентрацию растворов, чтобы оптическая плотность сравниваемых растворов была одной и той же.
На рис. 5 показана амплитуда оптоакустического сигнала Up−p для чистого стирилового красителя Кр.1 и того же красителя при наличии комплекса с кукурбитурилом CB[7]. Для обеспечения одинаковости инструментального фактора K путем подбора концентрации красителя задавалась одинаковая оптическая плотность образцов D = 0.55. При этом значение концентрации для чистого стирилового красителя Кр.1 составляло C = 5 · 10–5 моль/л, а для красителя с комплексом – C = 2.5 · 10–5 моль/л. Примечательно, что при введении комплекса амплитуда оптоакустического сигнала уменьшилась более, чем вдвое, хотя оптическая плотность (т. е. затухание энергии лазерного импульса) была той же самой. Этот экспериментальный результат отчетливо указывает на заметный рост излучательной релаксации после введения в краситель комплекса с кукурбитурилом CB[7].
Рис. 5. Амплитуда оптоакустического сигнала Up–p для чистого стирилового красителя Кр. 1 и того же красителя при наличии комплекса с кукурбитурилом CB [7].
Как отмечалось выше, амплитуда оптоакустического сигнала пропорциональна доле поглощенной лазерной энергии, выделяемой в среде в виде тепла. В растворах низких концентраций соответствующий коэффициент поглощения линейно зависит от концентрации: α = γC, где C – концентрация, γ – коэффициент поглощения, нормированный на концентрацию. Именно он несет информацию об относительной доле энергии, переходящей в тепло в результате безызлучательной релаксации. Чтобы показать, как влияет введение комплекса на безылучательный (т. е. тепловой) канал затухания света в растворе, на рис. 6 мы изобразили те же зависимости, но при нормировке оптоакустического сигнала на концентрацию красителя.
Рис. 6. Амплитуда сигнала Up–p, нормированная на концентрацию C красителя в растворе.
Видно, что в пределах точности измерений две линейные зависимости практически не различаются, что указывает на то, что безызлучательная часть потерь энергии импульса накачки слабо зависит от наличия комплекса с кукурбитурилом CB[7], т. е. введение последнего влияет преимущественно на потери, связанные с излучательной релаксацией. Полученный результат находится в согласии с тем фактом, что квантовый выход флуоресценции красителя Кр.1 довольно низок (0.0025). Согласно результатам работы [9], добавление в раствор кукурбитурила CB[7] практически не изменяет эффективность безызлучательного канала релаксации, при том что квантовый выход флуоресценции увеличивается приблизительно в 5 раз. Кроме того, методами пикосекундной флуорецентной спектроскопии ранее было показано, что кукурбитурил CB[7] вмешивается в процесс сольватации (гидратации) красителя Кр.1 [10]. При фотовозбуждении краситель за счет кулоновских сил, возникающих при внутримолекулярном фотопереносе электрона, вдвигается в полость CB[7] за времена порядка нескольких пикосекунд, что, в принципе, могло бы уменьшить оптоакустический сигнал. Однако мы не наблюдали существенного уменьшения, по-видимому, ввиду того, что характерное время колебательного охлаждения имеет порядок 100 фс, что существенно меньше времени структурных изменений комплекса включения.
ФИНАНСИРОВАНИЕ РАБОТЫ
Работа выполнена в рамках государственного задания НИЦ “Курчатовский институт”.
Об авторах
И. В. Крюков
Национальный исследовательский центр “Курчатовский институт”
Email: igor.v.kryukov@gmail.com
Россия, Москва
О. А. Сапожников
Московский государственный университет им. М.В. Ломоносова
Email: igor.v.kryukov@gmail.com
Россия, Москва
Д. А. Иванов
Национальный исследовательский центр “Курчатовский институт”
Email: igor.v.kryukov@gmail.com
Россия, Москва
Н. Х. Петров
Национальный исследовательский центр “Курчатовский институт”; Московский физико-технический институт (национальный исследовательский университет)
Автор, ответственный за переписку.
Email: igor.v.kryukov@gmail.com
Россия, Москва; Долгопрудный, Московская обл.
Список литературы
- Гусев В.Э., Карабутов А.А. Лазерная оптоакустика. Москва: Наука, 1991.
- Jabben M., Heihoff K., Braslavsky S.E., Schaffner K.// Photochemistry and Photobiology.1984. V. 40. №. 3. Р. 361.
- Lee J.W., Samal S., Selvapalam N., Kim H.-J., Kim K. // Acc. Chem. Res. 2003. V. 36. P. 621.
- Dsouza R.N., Pischel U., Nau W.M. // Chem. Rev. 2011. 111. P. 7941.
- Иванов Д.А., Свирида А.Д., Петров Н.Х. // Химия высоких энергий. 2022. Т. 56. № 3. С. 171.
- Кайно Г. Акустические волны. Устройства, визуализация и аналоговая обработка сигналов. Москва: Мир, 1990.
- Залесский В.В. Анализ и синтез пьезоэлектрических преобразователей. Ростов: Изд. Ростовского ун-та, 1971.
- Heihoff K., Braslavsky S.E., Schaffner K. // Biochemistry. 1987.V. 26. P. 1422.
- Ivanov D.A., Petrov N.Kh., Nikitina E.A., Basilevsky M.V., Vedernikov A.I., Gromov S.P., Alfimov M.V. // The Journal of Physical Chemistry A. 2011. V. 115. №. 17. P. 4505.
- Petrov N.Kh., Ivanov D.A., Shandarov Yu.A., Kryukov I.V., Ivanov A.A., Alfimov M.V., Lobova N.A., Gromov S.P. // Chem. Phys. Let. 2016. Mar. V. 647. P. 157.
Дополнительные файлы








